Konserwacja
Note: Określ lewą i prawą stronę maszyny ze standardowego stanowiska operatora.
Zalecany harmonogram konserwacji
| Częstotliwość serwisowania | Procedura konserwacji |
|---|---|
| Po pierwszych 8 godzinach |
|
| Po każdym zastosowaniu |
|
| Co 25 godzin |
|
| Co 100 godzin |
|
Ostrzeżenie
Jeśli pozostawisz kluczyk w stacyjce, maszyna może zostać przypadkowo uruchomiona przez osobę postronną, co może grozić poważnymi obrażeniami ciała operatora lub innych osób.
Przed wykonaniem jakichkolwiek czynności konserwacyjnych wyjmij kluczyk ze stacyjki i odłącz przewód od świecy zapłonowej. Odłóż przewód na bok, tak by przypadkowo nie zetknął się ze świecą zapłonową.
Ostrzeżenie
Podczas pracy silnika nagrzewa się on do wysokiej temperatury. Kontakt z gorącymi powierzchniami może spowodować poważne oparzenia.
Przed dotknięciem odczekaj, aż silnik (a w szczególności tłumik) ostygnie.
Ostrzeżenie
Zanieczyszczenia, takie jak liście, trawa lub fragmenty krzewów mogą zapalić się. Powstanie pożaru w obszarze silnika może spowodować obrażenia ciała i zniszczenie mienia.
-
Należy pilnować, aby w obszarze silnika i tłumika nie gromadziły się zanieczyszczenia.
-
Podczas otwierania pokrywy zestawu workującego należy uważać, aby zanieczyszczenia nie spadały do obszaru silnika i tłumika.
-
Przed odstawieniem do magazynu poczekaj, aż maszyna ostygnie.
Przygotowanie do konserwacji
Przed przystąpieniem do konserwacji maszyny wykonaj następujące czynności:
-
Zatrzymaj maszynę na równym podłożu.
-
Odłącz WOM i ustaw dźwignie sterowania jazdą w zablokowanym położeniu NEUTRALNYM ZABLOKOWANYM.
-
Wyłącz silnik maszyny i wyjmij kluczyk zapłonu.
-
Oczyść kosiarkę z wszelkich zanieczyszczeń zalegających na podwoziu tnącym lub z tyłu maszyny; ułatwi to wykonanie czynności konserwacyjnych.
Czyszczenie siatki pokrywy zestawu workującego
| Częstotliwość serwisowania | Procedura konserwacji |
|---|---|
| Po każdym zastosowaniu |
|
-
Otwórz pokrywę zestawu workującego.
-
Oczyść siatkę z zanieczyszczeń.
-
Zamknij pokrywę zestawu workującego.
Czyszczenie zestawu workującego i worków
| Częstotliwość serwisowania | Procedura konserwacji |
|---|---|
| Po każdym zastosowaniu |
|
-
Umyj od zewnątrz oraz od wewnątrz pokrywę zestawu workującego, worki, kanały oraz spód kosiarki.
Note: Do usunięcia zanieczyszczeń użyj środka czyszczącego o łagodnym działaniu do zastosowań motoryzacyjnych.
-
Upewnij się, że usunięte są wszystkie przyklejone pozostałości trawy.
-
Po umyciu wszystkich części odczekaj, aż wyschną.
Note: Po zamontowaniu wszystkich części uruchom maszynę. Maszyna powinna pracować przez kilka minut, aby szybciej wyschła.
Kontrola paska dmuchawy
| Częstotliwość serwisowania | Procedura konserwacji |
|---|---|
| Po pierwszych 8 godzinach |
|
| Co 25 godzin |
|
Sprawdź paski pod kątem pęknięć, postrzępionych brzegów, śladów przypalenia lub innych uszkodzeń. Wymień uszkodzone paski.
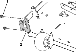
Wymiana paska dmuchawy
-
Zdemontuj plastikową osłonę paska.
-
Pociągnij w tył sprężynowe jałowe koło pasowe, aby zlikwidować naprężenie paska (Rysunek 36).

-
Zdejmij dotychczasowy pasek zestawu workującego z koła pasowego podwozia tnącego.
-
Zdemontuj dmuchawę z podwozia tnącego.
-
Zdejmij dotychczasowy pasek zestawu workującego z kół pasowych dmuchawy.
-
Załóż nowy pasek na koła pasowe dmuchawy (Rysunek 36).
-
Zamontuj dmuchawę na wsporniku dmuchawy.
-
Załóż nowy pasek na koło pasowe podwozia tnącego (Rysunek 36).
-
Naciągnij sprężynę napinającą jałowe koło pasowe i załóż pasek na jałowe koło pasowe z napinaczem (Rysunek 36).
Inspekcja zestawu workującego
| Częstotliwość serwisowania | Procedura konserwacji |
|---|---|
| Po pierwszych 8 godzinach |
|
| Co 100 godzin |
|
-
Sprawdź kanał górny, kanał dolny, pokrywę zestawu workującego oraz zespół dmuchawy.
Note: Wymień elementy, jeżeli są popękane lub uszkodzone.
-
Sprawdź worki, siatkę oraz ramę zestawu workującego.
Note: Wymień elementy, które są pęknięte lub uszkodzone.
-
Dokręć wszystkie nakrętki, śruby i wkręty.
Sprawdzenie ostrzy kosiarki
-
Sprawdzaj ostrza kosiarki regularnie oraz po każdym uderzeniu ostrza w przeszkodę.
-
Jeżeli ostrza są mocno zużyte lub uszkodzone, należy je wymienić na nowe. Procedury konserwacji ostrzy opisano w instrukcji obsługi maszyny.





































