Entretien
Note: Les côtés gauche et droit de la machine sont déterminés d'après la position d'utilisation normale.
Programme d'entretien recommandé
| Périodicité d'entretien | Procédure d'entretien |
|---|---|
| Après les 8 premières heures de fonctionnement |
|
| Après chaque utilisation |
|
| Toutes les 25 heures |
|
| Toutes les 100 heures |
|
Attention
Si vous laissez la clé dans le commutateur d'allumage, quelqu'un pourrait mettre la machine en marche accidentellement et vous blesser gravement, ainsi que toute personne à proximité.
Avant tout entretien, enlevez la clé de contact et débranchez le fil de la bougie. Écartez le fil pour éviter tout contact accidentel avec la bougie.
Attention
Les moteurs peuvent devenir très chauds quand ils sont en marche. Vous pouvez vous brûler gravement au contact des surfaces chaudes.
Laissez refroidir les moteurs, en particulier le silencieux, avant de vous approcher.
Attention
Des débris (feuilles, herbe ou broussailles) peuvent prendre feu. Un feu dans le compartiment moteur peut causer des brûlures et des dommages matériels.
-
Débarrassez le moteur et le silencieux des débris qui y sont déposés.
-
Lors de l'ouverture du couvercle du système de ramassage, veillez à ne pas faire tomber de débris sur le moteur et le silencieux.
-
Laissez refroidir la machine avant de la remiser.
Préparation à l'entretien
Effectuez les opérations suivantes avant de procéder à l'entretien de la machine :
-
Garez la machine sur une surface plane et horizontale.
-
Désengagez la PDF et amenez les leviers de commande de déplacement à la position de BLOCAGE DU POINT MORT.
-
Coupez le moteur et enlevez la clé de contact.
-
Nettoyez la tondeuse ou la partie arrière du plateau de coupe pour faciliter l'entretien.
Nettoyage de la grille du capot
| Périodicité d'entretien | Procédure d'entretien |
|---|---|
| Après chaque utilisation |
|
-
Ouvrez le capot du système de ramassage.
-
Nettoyez les débris éventuellement accumulés sur la grille.
-
Fermez le capot du système de ramassage.
Nettoyage du système de ramassage et des bacs
| Périodicité d'entretien | Procédure d'entretien |
|---|---|
| Après chaque utilisation |
|
-
Lavez l'intérieur et l'extérieur du couvercle du système de ramassage, des bacs et du tube, ainsi que le dessous du plateau de coupe.
Note: Utilisez un détergent automobile doux pour éliminer les saletés.
-
Veillez à bien débarrasser toutes les pièces de l'herbe agglomérée.
-
Laissez sécher complètement toutes les pièces qui ont été lavées.
Note: Une fois toutes les pièces remises en place, mettez le moteur en marche et laissez-le tourner pendant une minute pour aider au séchage.
Contrôle de la courroie du ventilateur
| Périodicité d'entretien | Procédure d'entretien |
|---|---|
| Après les 8 premières heures de fonctionnement |
|
| Toutes les 25 heures |
|
Vérifiez si les courroies sont fissurées, présentent des bords effilochés, des traces de brûlures ou d'autres dommages. Remplacez les courroies endommagées.
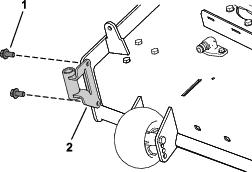
Remplacement de la courroie du ventilateur
-
Déposez le protège-courroie en plastique.
-
Tirez sur la poulie de tension rappelée par ressort pour détendre la courroie (Figure 36).

-
Enlevez la courroie existante du système de ramassage qui se trouve sur la poulie du plateau de coupe.
-
Déposez le ventilateur du plateau de coupe.
-
Enlevez la courroie existante du système de ramassage qui se trouve sur les poulies de ventilateur.
-
Faites passer la courroie neuve autour des poulies de ventilateur (Figure 36).
-
Installez le ventilateur sur son support.
-
Faites passer la courroie neuve autour de la poulie du plateau de coupe (Figure 36).
-
Tirez la poulie de tension rappelée par ressort en arrière et chaussez la courroie dessus (Figure 36).
Contrôle du système de ramassage
| Périodicité d'entretien | Procédure d'entretien |
|---|---|
| Après les 8 premières heures de fonctionnement |
|
| Toutes les 100 heures |
|
-
Contrôlez le tube supérieur, le tube inférieur, le capot du système de ramassage et le ventilateur.
Note: Remplacez-les s'ils sont fendus ou cassés.
-
Contrôlez les bacs, le cadre du système de ramassage et la grille.
Note: Remplacez les pièces fissurées ou cassées.
-
Serrez tous les écrous, boulons et vis.
Contrôle des lames de coupe
-
Examinez les lames régulièrement, ainsi qu'après avoir heurté un obstacle.
-
Si les lames sont très usées ou endommagées, remplacez-les par des neuves ; voir la procédure complète d'entretien des lames dans le manuel de l'utilisateur de la machine.





































