Vedlikehold
Note: Fastslå hva som er høyre og venstre side på maskinen ved å stå i normal arbeidsstilling.
Anbefalt vedlikeholdsplan
| Vedlikeholdsintervall | Vedlikeholdsprosedyre |
|---|---|
| Etter de 8 første timene |
|
| Etter hver bruk |
|
| Hver 25. driftstime |
|
| Hver 100. driftstime |
|
Advarsel
Dersom du lar nøkkelen stå i nøkkelbryteren, kan noen utilsiktet starte maskinen, noe som kan påføre deg eller andre personer alvorlige skader.
Ta nøkkelen ut av tenningen, og koble kabelen fra tennpluggen før du utfører vedlikehold. Legg kabelen til side, slik at den ikke kan komme i kontakt med tennpluggen ved et uhell.
Advarsel
Motorene kan bli varme under drift. Kontakt med varme overflater kan resultere i alvorlige brannskader.
La motorene, særlig lyddemperen, kjøle seg ned før du rører dem.
Advarsel
Rusk, som løv, gress eller buskrester, kan ta fyr. En brann i motorområdet kan forårsake personskade eller eiendomsskade.
-
Pass på at det ikke samler seg rusk i motor- og lyddemperområdet.
-
Vær forsiktig når du åpner oppsamlerdekselet slik at ikke rusk faller ned i motor- og lyddemperområdet.
-
La motoren kjøle seg ned før oppbevaring.
Gjøre klar til vedlikehold
Følg denne fremgangsmåten før du utfører vedlikehold på maskinen:
-
Parker maskinen på en jevn flate.
-
Koble fra kraftuttaket, og flytt bevegelseskontrollspakene til NøYTRAL, LåST stilling.
-
Slå av maskinen og ta ut nøkkelen.
-
Fjern rusk fra gressklipperen og bakre del av enheten slik at det blir enklere å utføre vedlikehold.
Rengjøre dekselskjermen
| Vedlikeholdsintervall | Vedlikeholdsprosedyre |
|---|---|
| Etter hver bruk |
|
-
Åpne oppsamlerdekselet.
-
Fjern rusk fra skjermen.
-
Steng oppsamlerdekselet.
Rengjøre oppsamler og poser
| Vedlikeholdsintervall | Vedlikeholdsprosedyre |
|---|---|
| Etter hver bruk |
|
-
Vask inn- og utsiden av oppsamlerdekselet, poser, rør og gressklipperens underside.
Note: Bruk et mildt rengjøringsmiddel for biler på smuss.
-
Påse at du fjerner gresstufser fra alle deler.
-
La delene tørke godt etter vask.
Note: Når alle delene er montert, slår du på maskinen i ett minutt for at tørkingen skal gå raskere.
Inspisere vifteremmen
| Vedlikeholdsintervall | Vedlikeholdsprosedyre |
|---|---|
| Etter de 8 første timene |
|
| Hver 25. driftstime |
|
Kontroller at remmene ikke har sprekker, frynsete kanter, brennmerker eller annen skade. Skift ut ødelagte remmer.
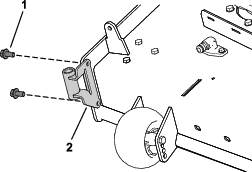
Skifte vifteremmen
-
Fjern remdekselet i plast.
-
Trekk den fjærbelastede lederullen bakover slik at remspenningen løsner (Figur 36).

-
Fjern først eksisterende oppsamlerrem fra remskiven på klippeenheten.
-
Fjern viften fra klippeenheten.
-
Fjern først eksisterende oppsamlerrem fra vifteremskivene.
-
Fest den nye remmen rundt vifteremskivene (Figur 36).
-
Monter viften på viftestøtten.
-
Fest den nye remmen rundt vifteremskiven (Figur 36).
-
Skyv den fjærbelastede lederullen bakover, og fest remmen til den fjærbelastede lederullen (Figur 36).
Inspisere oppsamleren
| Vedlikeholdsintervall | Vedlikeholdsprosedyre |
|---|---|
| Etter de 8 første timene |
|
| Hver 100. driftstime |
|
-
Kontroller øvre rør, nedre rør, oppsamlerdeksel og vifteenheten.
Note: Skift ut disse delene hvis de er sprukne eller ødelagte.
-
Kontroller poser, oppsamlerramme og skjerm.
Note: Erstatt deler som er sprukket eller ødelagt.
-
Stram alle muttere, bolter og skruer.
Undersøke knivbladene
-
Inspiser knivbladene regelmessig og hver gang en kniv treffer en gjenstand.
-
Hvis knivene er svært slitt eller skadet, monter nye kniver. Du finner fullstendig informasjon om vedlikehold av knivene i brukerhåndboken for maskinen.





































