Manutenção
Note: Determine os lados direito e esquerdo da máquina a partir da posição normal de utilização.
Plano de manutenção recomendado
| Intervalo de assistência | Procedimento de manutenção |
|---|---|
| Após as pimeiras 8 horas |
|
| Após cada utilização |
|
| A cada 25 horas |
|
| A cada 100 horas |
|
Aviso
Se deixar a chave na ignição, alguém pode ligar acidentalmente a máquina e feri-lo a si ou às pessoas que se encontrarem junto da máquina.
Retire a chave e desligue o cabo da vela antes de efetuar qualquer tarefa de manutenção. Mantenha o cabo longe da máquina para evitar qualquer contacto acidental com a vela.
Aviso
Os motores podem aquecer quando estão em funcionamento. Podem ocorrer queimaduras graves pelo contacto com superfícies quentes.
Deixe arrefecer os motores, especialmente o escape, antes de lhe tocar.
Aviso
Os detritos, por exemplo as folhas, relva ou vegetação podem incendiar-se. Um incêndio na zona do motor pode causar ferimentos pessoais e danos materiais.
-
Mantenha a área do motor e do escape livre de acumulação de detritos.
-
Tenha cuidado ao operar a cobertura do depósito de recolha para impedir que os detritos caiam na área do motor e do escape.
-
Deixe a máquina arrefecer antes de a guardar.
Preparação para a manutenção
Efetue os seguintes passos antes de efetuar a manutenção da máquina:
-
Estacione a máquina numa superfície nivelada.
-
Desengate a tomada de força (PTO), desloque as alavancas de controlo do movimento para a posição de NEUTRAL-LOCK (bloqueadas em ponto-morto).
-
Desligue o motor e retire a chave da ignição.
-
Elimine qualquer detrito presente na plataforma ou parte posterior do cortador para facilitar a manutenção.
Limpeza do filtro do capot
| Intervalo de assistência | Procedimento de manutenção |
|---|---|
| Após cada utilização |
|
-
Abra o capot do depósito de recolha.
-
Limpe os detritos do filtro.
-
Feche o capot da tremonha.
Limpeza do depósito de recolha e dos sacos
| Intervalo de assistência | Procedimento de manutenção |
|---|---|
| Após cada utilização |
|
-
Lave o interior e o exterior do capot do depósito de recolha, os sacos, o tubo e a parte inferior do cortador.
Note: Utilize um detergente automóvel suave para remover a sujidade.
-
Certifique-se de que remove relva comprimida de todas as peças.
-
Depois de lavar todas as peças, deixe-as secar completamente.
Note: Com todas as peças instaladas, ligue e deixe funcionar a máquina durante um minuto para ajudar à secagem.
Inspeção da correia do soprador
| Intervalo de assistência | Procedimento de manutenção |
|---|---|
| Após as pimeiras 8 horas |
|
| A cada 25 horas |
|
Verifique se existem rachas, extremidades desfiadas, marcas de queimaduras e outros danos nas correias. Substitua as correias danificadas.
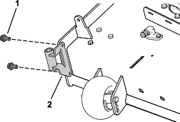
Substituição da correia do soprador
-
Retire a cobertura da correia de plástico.
-
Empurre a polia intermédia da mola para trás para aliviar a tensão da correia (Figura 36).

-
Retire a correia existente do depósito da polia da plataforma do cortador.
-
Retire o soprador da plataforma do cortador.
-
Retire a correia existente do depósito das polias do soprador.
-
Instale a nova correia em redor das polias do soprador (Figura 36).
-
Instale o soprador no suporte do soprador.
-
Instale a nova correia em redor da polia da plataforma do cortador (Figura 36).
-
Puxe a polia intermédia da mola para trás e instale a correia na polia intermédia da mola (Figura 36).
Inspeção do depósito de recolha
| Intervalo de assistência | Procedimento de manutenção |
|---|---|
| Após as pimeiras 8 horas |
|
| A cada 100 horas |
|
-
Verifique o tubo superior, o tubo inferior, o capot do depósito de recolha e a estrutura do soprador.
Note: Substitua estas peças, se estiverem rachadas ou partidas.
-
Verifique os sacos, a estrutura do depósito de recolha e o filtro.
Note: Substitua quaisquer peças que estejam rachadas ou partidas.
-
Aperte todas as porcas e parafusos.
Inspeção das lâminas do cortador
-
Inspecione as lâminas do cortador regularmente e sempre que uma lâmina bater num objeto estranho.
-
Se as lâminas estiverem muito gastas ou danificadas, instale lâminas novas; consulte o Manual do utilizador da máquina para obter informações completas sobre a manutenção da lâmina.





































