Техническое обслуживание
Note: Определите левую и правую стороны машины относительно места оператора.
Рекомендуемый график(и) технического обслуживания
| Периодичность технического обслуживания | Порядок технического обслуживания |
|---|---|
| Через первые 8 часа |
|
| После каждого использования |
|
| Через каждые 25 часов |
|
| Через каждые 100 часов |
|
Предупреждение
Если вы оставите ключ в замке зажигания, кто-нибудь может случайно запустить машину и нанести серьезные травмы вам и окружающим.
Перед выполнением любого технического обслуживания извлеките ключ и отсоедините провода от свечей зажигания. Отложите провод так, чтобы он не мог случайно коснуться свечи зажигания.
Предупреждение
Двигатели могут нагреваться во время работы. Контакт c горячими поверхностями может привести к сильным ожогам.
Прежде чем прикасаться к двигателям, в особенности к глушителю, дождитесь их остывания.
Предупреждение
Мусор, такой как листья, трава или хворост, может загореться. Пожар в области двигателя может привести к травме и повреждению имущества.
-
Не допускайте скопления мусора в области двигателя и глушителя.
-
Будьте осторожны при открытии крышки травосборника, чтобы мусор не попал в область двигателя и глушителя.
-
Перед постановкой машины на хранение, дайте машине остыть.
Подготовка к техническому обслуживанию
Перед проведением технического обслуживания машины выполните следующие действия:
-
Установите машину на ровной поверхности.
-
Выключите механизм отбора мощности (PTO) и переместите рычаги управления движением в нейтральное фиксированное положение .
-
Выключите машину и извлеките ключ.
-
Очистите деку и заднюю часть газонокосилки от всего мусора для облегчения выполнения технического обслуживания.
Очистка решетки крышки
| Периодичность технического обслуживания | Порядок технического обслуживания |
|---|---|
| После каждого использования |
|
-
Откройте крышку травосборника.
-
Удалите мусор с решетки.
-
Закройте крышку травосборника.
Очистка травосборника и мешков
| Периодичность технического обслуживания | Порядок технического обслуживания |
|---|---|
| После каждого использования |
|
-
Промойте внутреннюю и наружную поверхности кожуха травосборника, мешков, трубки, а также нижнюю поверхность газонокосилки.
Note: Для удаления грязи используйте мягкое автомобильное моющее средство.
-
Убедитесь, что спутанная трава полностью удалена со всех компонентов.
-
После промывки всех деталей дайте им полностью высохнуть.
Note: Установив все детали на машину, запустите ее и дайте ей поработать в течение минуты, чтобы ускорить высыхание.
Осмотр ремня вентилятора
| Периодичность технического обслуживания | Порядок технического обслуживания |
|---|---|
| Через первые 8 часа |
|
| Через каждые 25 часов |
|
Проверьте ремни на наличие трещин, потертостей на краях, следов прижога или других повреждений. Замените поврежденные ремни.
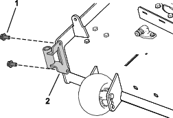
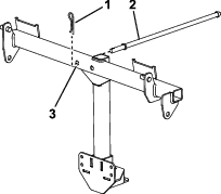
Замена ремня вентилятора
-
Снимите пластмассовую крышку ремня.
-
Потяните подпружиненный натяжной шкив назад, чтобы снять натяжение ремня (Рисунок 36)

-
Снимите имеющийся ремень травосборника со шкива деки газонокосилки.
-
Снимите вентилятор с деки газонокосилки.
-
Снимите имеющийся ремень травосборника со шкивов вентилятора.
-
Наденьте новый ремень на шкивы вентилятора (Рисунок 36).
-
Установите вентилятор на опору вентилятора.
-
Установите новый ремень на шкив деки газонокосилки (Рисунок 36).
-
Потяните подпружиненный натяжной шкив назад и наденьте на него ремень (Рисунок 36)
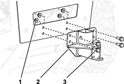
Осмотр травосборника
| Периодичность технического обслуживания | Порядок технического обслуживания |
|---|---|
| Через первые 8 часа |
|
| Через каждые 100 часов |
|
-
Проверьте верхнюю трубку, нижнюю трубку, кожух травосборника и вентилятор в сборе.
Note: Заменяйте эти компоненты, если они имеют трещины или сломаны.
-
Проверьте мешки, раму травосборника и сетку.
Note: Замените любые детали с трещинами или повреждениями.
-
Затяните все гайки, болты и винты.
Осмотр ножей газонокосилки
-
Осматривайте ножи газонокосилки регулярно, а также после удара ножа об инородный предмет.
-
Если ножи сильно изношены или повреждены, установите новые ножи; см. полное техническое обслуживание ножейв Руководстве оператора вашей машины.





































