Manutenzione
Note: Stabilite i lati sinistro e destro della macchina rispetto alla normale posizione di guida.
Programma di manutenzione raccomandato
| Cadenza di manutenzione | Procedura di manutenzione |
|---|---|
| Dopo le prime 8 ore |
|
| Dopo ogni utilizzo |
|
| Ogni 25 ore |
|
| Ogni 100 ore |
|
Avvertenza
Se lasciate la chiave nel relativo interruttore, qualcuno potrebbe accidentalmente avviare la macchina e ferire gravemente voi o gli astanti.
Rimuovete la chiave e scollegate il cappellotto dalla candela prima di eseguire operazioni di manutenzione e riponetelo in un luogo sicuro, perché non tocchi accidentalmente la candela.
Avvertenza
I motori possono riscaldarsi durante l’uso. Il contatto con le superfici calde può causare ustioni gravi.
Lasciate raffreddare i motori, soprattutto la marmitta, prima di toccarli.
Avvertenza
I detriti, quali foglie, erba o spazzole possono incendiarsi. Un incendio nell’area del motore può causare infortuni e danni.
-
Mantenete l’area del motore e della marmitta libera da accumulo di detriti.
-
Nel rimuovere il coperchio del sistema di raccolta fate attenzione a non far cadere i detriti nell’area del motore e della marmitta.
-
Lasciate raffreddare la macchina prima del rimessaggio.
Preparazione per la manutenzione
Eseguite i seguenti passaggi prima di eseguire la manutenzione della macchina:
-
Parcheggiate la macchina su terreno pianeggiante.
-
Disinnestate la PDF e spostate le leve di controllo del movimento in posizione di BLOCCO IN FOLLE.
-
Spegnete la macchina e togliete la chiave.
-
Eliminate i detriti dal tosaerba a livello della scocca o della parte posteriore del tosaerba per agevolare la manutenzione.
Pulizia della griglia del cofano
| Cadenza di manutenzione | Procedura di manutenzione |
|---|---|
| Dopo ogni utilizzo |
|
-
Aprite il cofano del sistema di raccolta.
-
Togliete i detriti dalla griglia.
-
Chiudete il cofano del sistema di raccolta.
Pulizia del sistema di raccolta e dei cesti
| Cadenza di manutenzione | Procedura di manutenzione |
|---|---|
| Dopo ogni utilizzo |
|
-
Lavate, dentro e fuori, il cofano del sistema di raccolta, i cesti, il tubo e il sottoscocca del tosaerba.
Note: Rimuovete la morchia con un detersivo neutro per automobili.
-
Non dimenticate di eliminare l’erba feltrata da tutti i componenti.
-
Dopo avere lavato tutti i componenti, lasciateli asciugare completamente.
Note: Quando avete montato tutti i componenti, avviate la macchina e lasciatela in moto per un minuto, perché si asciughi meglio.
Ispezione della cinghia del soffiatore.
| Cadenza di manutenzione | Procedura di manutenzione |
|---|---|
| Dopo le prime 8 ore |
|
| Ogni 25 ore |
|
Verificate che non ci siano incrinature, bordi usurati per sfregamento, segni di bruciato o altri danni. Sostituite le cinghie avariate.
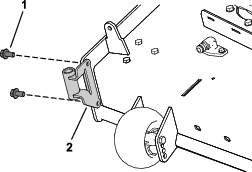
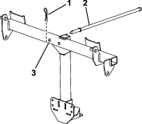
Sostituzione della cinghia del soffiatore
-
Togliete il copricinghia in plastica.
-
Tirate indietro la puleggia tendicinghia a molla, per allentare la tensione della cinghia (Figura 36).

-
Rimuovete la cinghia del sistema di raccolta preesistente dalla puleggia del piatto di taglio.
-
Rimuovete il soffiatore dal piatto di taglio.
-
Rimuovete la cinghia del sistema di raccolta preesistente dalle pulegge del soffiatore.
-
Montate la nuova cinghia attorno alle pulegge del soffiatore (Figura 36).
-
Montate il soffiatore sul supporto del soffiatore.
-
Montate la nuova cinghia attorno alla puleggia del piatto di taglio (Figura 36).
-
Tirate indietro la puleggia tendicinghia caricata a molla e montate la cinghia sulla puleggia tendicinghia caricata a molla (Figura 36).
Controllo del sistema di raccolta
| Cadenza di manutenzione | Procedura di manutenzione |
|---|---|
| Dopo le prime 8 ore |
|
| Ogni 100 ore |
|
-
Controllate il tubo superiore, il tubo inferiore, il cofano e il gruppo soffiatore;
Note: se sono incrinati o rotti, sostituiteli.
-
Controllate i cesti, il telaio del sistema di raccolta e la griglia.
Note: Se un qualunque componente è rotto o incrinato, sostituitelo.
-
Serrate tutti i dadi, i bulloni e le viti.
Controllo delle lame del tosaerba
-
Controllate periodicamente le lame del tosaerba ed ogni volta che una lama colpisce un corpo estraneo.
-
Se le lame sono molto usurate o danneggiate, montate delle lame nuove; fate riferimento al Manuale dell'operatore della vostra macchina per la manutenzione completa delle lame.





































