Underhåll
Note: Vänster och höger sida på maskinen är lika med förarens vänstra respektive högra sida vid normal körning.
Rekommenderat underhåll
| Underhållsintervall | Underhållsförfarande |
|---|---|
| Efter de första 8 timmarna |
|
| Efter varje användning |
|
| Var 25:e timme |
|
| Var 100:e timme |
|
Varning
Om du lämnar nyckeln i tändningslåset kan någon oavsiktligt starta maskinen och skada dig eller någon kringstående allvarligt.
Ta ut nyckeln och lossa tändkabeln från tändstiftet innan du utför något underhåll. För kabeln åt sidan så att den inte oavsiktligt kan komma i kontakt med tändstiftet.
Varning
Motorer kan bli varma under drift. Varma ytor kan ge allvarliga brännskador.
Låt hela motorn, och speciellt ljuddämparen, svalna innan du rör vid den.
Varning
Skräp, som löv, gräs och buskar, kan fatta eld. En motorbrand kan orsaka person- och egendomsskador.
-
Håll motorn och ljuddämparen rena från skräp.
-
Var försiktig när du använder uppsamlarlocket så att skräp inte faller ner på motorn eller ljuddämparen.
-
Låt maskinen svalna innan du ställer den i förvar.
Underhållsförberedelser
Utför följande steg innan du utför underhåll på maskinen:
-
Parkera maskinen på ett plant underlag.
-
Koppla ur kraftuttaget och för rörelsereglagespakarna till det NEUTRALA LåSLäGET.
-
Stäng av maskinen och ta ut nyckeln.
-
Ta bort eventuellt skräp från däcket och den bakre delen av klipparen för att underlätta underhållet.
Rengöra huvskärmen
| Underhållsintervall | Underhållsförfarande |
|---|---|
| Efter varje användning |
|
-
Öppna uppsamlarhuven.
-
Ta bort skräpet från skärmen.
-
Stäng uppsamlarhuven.
Rengöra uppsamlaren och påsarna
| Underhållsintervall | Underhållsförfarande |
|---|---|
| Efter varje användning |
|
-
Tvätta uppsamlarhuvens insida och utsida, påsar, rör och klipparens undersida.
Note: Använd ett milt fordonstvättmedel för att avlägsna smuts.
-
Se till att du får bort allt ihopklumpat gräs från alla delar.
-
Låt samtliga delar torka ordentligt efter rengöring.
Note: Starta och kör maskinen i en minut för att påskynda torkningen när du har monterat alla delar.
Kontrollera blåsarremmen
| Underhållsintervall | Underhållsförfarande |
|---|---|
| Efter de första 8 timmarna |
|
| Var 25:e timme |
|
Kontrollera att remmarna inte är spruckna eller har fransiga kanter, brännmärken eller andra skador. Byt ut skadade remmar.
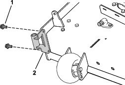
Byta ut blåsarremmen
-
Ta bort remmens plastskydd.
-
Dra den fjäderbelastade mellanremskivan bakåt för att minska remspänningen (Figur 36).

-
Ta bort den befintliga uppsamlarremmen från klippdäcksskivan.
-
Ta bort blåsaren från klippdäcket.
-
Ta bort den befintliga uppsamlarremmen från blåsarremskivorna.
-
Montera den nya remmen runt blåsarremskivorna (Figur 36).
-
Montera blåsaren på blåsarstödet.
-
Montera den nya remmen runt blåsarremskivan (Figur 36).
-
Dra den fjäderbelastade remskivan bakåt och montera remmen på den (Figur 36).
Kontrollera uppsamlaren
| Underhållsintervall | Underhållsförfarande |
|---|---|
| Efter de första 8 timmarna |
|
| Var 100:e timme |
|
-
Kontrollera det övre och nedre röret, uppsamlarhuven och blåsarenheten.
Note: Byt ut dessa delar om de är spruckna eller trasiga.
-
Kontrollera påsarna, uppsamlarramen och skärmen.
Note: Ersätt spruckna eller trasiga delar.
-
Dra åt alla muttrar, bultar och skruvar.
Kontrollera gräsklipparknivarna
-
Kontrollera gräsklipparknivarna regelbundet samt om en kniv slår emot någonting.
-
Om knivarna är slitna eller skadade ska du montera nya knivar. Se maskinens bruksanvisning för fullständigt underhållsförfarande för knivar.





































