Onderhoud
Note: Bepaal vanuit de normale bedieningspositie de linker- en rechterzijde van de machine.
Aanbevolen onderhoudsschema
| Onderhoudsinterval | Onderhoudsprocedure |
|---|---|
| Na de eerste 8 bedrijfsuren |
|
| Na elk gebruik |
|
| Om de 25 bedrijfsuren |
|
| Om de 100 bedrijfsuren |
|
Waarschuwing
Als u het sleuteltje in het contact laat, bestaat de kans dat iemand de machine per ongeluk start, waardoor u en andere omstanders ernstig letsel kunnen oplopen.
Verwijder het sleuteltje en maak de bougiekabel los voordat u onderhoudswerkzaamheden uitvoert aan de machine. Druk de kabel opzij, zodat deze niet onbedoeld contact kan maken met de bougie.
Waarschuwing
Motoren kunnen tijdens het gebruik heet worden. Aanraking met hete oppervlakken kan ernstige brandwonden veroorzaken.
Laat motoren en vooral de geluiddemper afkoelen voordat u ze aanraakt.
Waarschuwing
Afval zoals bladeren, gras of struiken kunnen vlam vatten. Brand in het motorgedeelte kan letsel en materiële schade veroorzaken.
-
Zorg ervoor dat er zich geen vuil rond de motor en de geluiddemper verzamelt.
-
Pas op dat er bij het openen van de klep van de grasvanger geen afval op de motor en de geluiddemper valt.
-
Laat de motor afkoelen voordat u de machine stalt.
Vóór onderhoudswerkzaamheden
Bereid onderhoud van de machine als volgt voor:
-
Parkeer de machine op een horizontaal oppervlak.
-
Schakel de aftakas uit en zet de rijhendels in de VERGRENDELDE NEUTRAALSTAND.
-
Schakel de machine uit en verwijder het contactsleuteltje.
-
Verwijder eventueel vuil van het maaidek of de achterzijde van de maaier om het onderhoud te vergemakkelijken.
Het scherm van de kap reinigen.
| Onderhoudsinterval | Onderhoudsprocedure |
|---|---|
| Na elk gebruik |
|
-
Open de kap van de grasvanger.
-
Verwijder het vuil van het scherm.
-
Sluit de kap van de grasvanger.
Grasvanger en graszakken reinigen
| Onderhoudsinterval | Onderhoudsprocedure |
|---|---|
| Na elk gebruik |
|
-
Reinig de binnenzijde en buitenzijde van de kap van de grasvanger, de zakken, de buis en de onderzijde van de maaimachine.
Note: Gebruik een mild reinigingsmiddel voor auto's om vuil te verwijderen.
-
Let erop dat u aangekoekt gras van alle onderdelen verwijdert.
-
Laat alle onderdelen na het reinigen grondig drogen.
Note: Nadat alle onderdelen gemonteerd zijn, kunt u de machine starten en een minuut laten lopen om de machine sneller te laten drogen.
De riem van de blazer inspecteren
| Onderhoudsinterval | Onderhoudsprocedure |
|---|---|
| Na de eerste 8 bedrijfsuren |
|
| Om de 25 bedrijfsuren |
|
Controleer de riemen op scheuren, gerafelde randen, schroeiplekken of andere schade. Vervang beschadigde riemen.
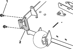
Riem van blazer vervangen
-
Verwijder de plastic riemkap.
-
Trek aan de veerbelaste spanpoelie om de riemspanning te verminderen (Figuur 36).

-
Verwijder de oude grasvangerriem van de poelie van het maaidek.
-
Verwijder de blazer van het maaidek.
-
Verwijder de oude grasvangerriem van de poelies van de blazer.
-
Leg de nieuwe riem rond de poelies van de blazer (Figuur 36).
-
Monteer de blazer op de blazersteun.
-
Leg de nieuwe riem rond de poelie van het maaidek (Figuur 36).
-
Trek de veerbelaste spanpoelie terug en plaats de riem op de veerbelaste spanpoelie (Figuur 36).
De grasvanger controleren.
| Onderhoudsinterval | Onderhoudsprocedure |
|---|---|
| Na de eerste 8 bedrijfsuren |
|
| Om de 100 bedrijfsuren |
|
-
Controleer de bovenste buis, onderste buis, de kap van de grasvanger en de blazerconstructie.
Note: Vervang deze onderdelen als zij gebarsten of gebroken zijn.
-
Controleer de zakken, het frame van de grasvanger en het scherm.
Note: Vervang onderdelen die gebarsten of gebroken zijn.
-
Draai alle moeren, bouten en schroeven goed aan.
De maaimessen controleren
-
Controleer de maaimessen regelmatig, en altijd als het mes een vreemd voorwerp heeft geraakt.
-
Versleten en beschadigde messen moet u vervangen. Raadpleeg de Gebruikershandleiding van uw maaimachine voor het volledige onderhoud van de messen.





































