Mantenimiento
Note: Los lados derecho e izquierdo de la máquina se determinan desde la posición normal del operador.
Calendario recomendado de mantenimiento
| Intervalo de mantenimiento y servicio | Procedimiento de mantenimiento |
|---|---|
| Después de las primeras 8 horas |
|
| Después de cada uso |
|
| Cada 25 horas |
|
| Cada 100 horas |
|
Advertencia
Si deja la llave en el interruptor de encendido, alguien podría arrancar la máquina accidentalmente y causar lesiones graves a usted o a otras personas.
Retire la llave y desconecte el cable de la bujía antes de realizar cualquier operación de mantenimiento. Aparte el cable para evitar su contacto accidental con la bujía.
Advertencia
Los motores pueden calentarse mientras están en marcha. El contacto con superficies calientes puede causar graves quemaduras.
Deje que los motores, sobre todo el silenciador, se enfríen antes de tocarlos.
Advertencia
Los residuos como hojas, hierba y maleza pueden incendiarse. Un incendio en la zona del motor puede causar lesiones personales y daños materiales.
-
Mantenga la zona del motor y el silenciador libres de residuos.
-
Tenga cuidado al abrir la tapa del ensacador que no caigan residuos sobre la zona del motor y el silenciador.
-
Deje que se enfríe la máquina antes de almacenarla.
Preparación para el mantenimiento
Realice los pasos siguientes antes de realizar tareas de mantenimiento en la máquina:
-
Aparque la máquina en una superficie nivelada.
-
Desengrane la TDF y mueva las palancas de control de movimiento a la posición de BLOQUEO/PUNTO MUERTO.
-
Apague la máquina y retire la llave.
-
Elimine cualquier residuo de la carcasa y de la parte trasera de la segadora para facilitar el mantenimiento.
Limpieza de la rejilla de la tapa
| Intervalo de mantenimiento y servicio | Procedimiento de mantenimiento |
|---|---|
| Después de cada uso |
|
-
Abra la tapa del ensacador.
-
Limpie la rejilla de residuos.
-
Cierre la tapa del ensacador.
Limpieza del ensacador y de las bolsas
| Intervalo de mantenimiento y servicio | Procedimiento de mantenimiento |
|---|---|
| Después de cada uso |
|
-
Lave el interior y el exterior de la tapa del ensacador, las bolsas, el tubo y los bajos de la segadora.
Note: Utilice un detergente suave para automóviles para eliminar la suciedad.
-
Asegúrese de eliminar la hierba apelmazada de todas las piezas.
-
Después de lavar todas las piezas, deje que se sequen del todo.
Note: Con todas las piezas instaladas, arranque el motor y deje funcionar la máquina durante un minuto para facilitar el secado.
Inspección de la correa de soplador
| Intervalo de mantenimiento y servicio | Procedimiento de mantenimiento |
|---|---|
| Después de las primeras 8 horas |
|
| Cada 25 horas |
|
Compruebe que las correas no tienen grietas, bordes deshilachados, marcas de quemaduras u otros daños. Sustituya cualquier correa dañada.
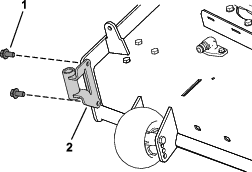
Sustitución de la correa del soplador
-
Retire la cubierta de plástico de la correa.
-
Tire hacia atrás de la polea tensora tensada con muelle para aliviar la tensión de la correa (Figura 36).

-
Retire la correa de ensacador existente de la polea de la carcasa de corte.
-
Retire el soplador de la carcasa de corte.
-
Retire la correa de ensacador existente de las poleas del soplador.
-
Instale la correa nueva alrededor de las poleas del soplador (Figura 36).
-
Instale el soplador en el soporte del soplador.
-
Instale la correa nueva alrededor de la polea de la carcasa de corte (Figura 36).
-
Tire hacia atrás de la polea tensada con muelle e instale la correa en la polea (Figura 36).
Inspección del ensacador
| Intervalo de mantenimiento y servicio | Procedimiento de mantenimiento |
|---|---|
| Después de las primeras 8 horas |
|
| Cada 100 horas |
|
-
Compruebe el tubo superior, el tubo inferior, la tapa del ensacador y el conjunto del soplador.
Note: Cambie estas piezas si están agrietadas o rotas.
-
Compruebe las bolsas, el bastidor del ensacador y la rejilla.
Note: Cambie cualquier pieza agrietada o rota.
-
Apriete todos los pernos, tuercas y tornillos.
Inspección de las cuchillas de la segadora
-
Inspeccione las cuchillas de la segadora regularmente, y siempre que una cuchilla haya golpeado algún objeto extraño.
-
Si las cuchillas están muy desgastadas o dañadas, instale cuchillas nuevas; consulte el Manual del operador de la máquina los procedimientos completos de mantenimiento de las cuchillas.





































