Wartung
Note: Bestimmen Sie die linke und rechte Seite der Maschine anhand der üblichen Einsatzposition.
Empfohlener Wartungsplan
| Wartungsintervall | Wartungsmaßnahmen |
|---|---|
| Nach acht Betriebsstunden |
|
| Nach jeder Verwendung |
|
| Alle 25 Betriebsstunden |
|
| Alle 100 Betriebsstunden |
|
Warnung:
Wenn Sie den Schlüssel im Schlüsselschalter stecken lassen, könnte eine andere Person den Motor versehentlich starten und Sie und Unbeteiligte schwer verletzen.
Ziehen Sie vor dem Beginn von Wartungsarbeiten den Schlüssel und den Kerzenstecker ab. Schieben Sie außerdem den Kerzenstecker zur Seite, damit er nicht versehentlich die Zündkerze berührt.
Warnung:
Motoren werden beim Betrieb heiß. Wenn Sie heiße Oberflächen berühren, können Sie schwere Verbrennungen erleiden.
Fassen Sie Motoren, besonders Auspuffe, erst nach dem Abkühlen an.
Warnung:
Rückstände, wie Laub, Gras oder Grünabfälle können Feuer fangen. Ein Brand im Motorraum kann schwere Verletzungen und Sachschäden verursachen.
-
Halten Sie den Motor und Auspuff von Rückständen frei.
-
Passen Sie beim Öffnen der Abdeckung des Heckfangsystems auf, dass keine Rückstände in den Motor- und Auspuffbereich fallen.
-
Lassen Sie die Maschine abkühlen, bevor Sie sie einlagern.
Vorbereiten für die Wartung
Führen Sie folgende Schritte vor dem Ausführen von Wartungsarbeiten an der Maschine aus:
-
Stellen Sie die Maschine auf eine ebene Fläche.
-
Kuppeln Sie die Zapfwelle aus und stellen die Fahrantriebshebel in die arretierte NEUTRAL-Stellung.
-
Stellen Sie den Motor ab und ziehen Sie den Zündschlüssel ab.
-
Entfernen Sie Rückstände auf dem Mähwerk oder am Heck des Mähwerks, um die Wartung zu erleichtern.
Reinigen des Abdeckungsgitters
| Wartungsintervall | Wartungsmaßnahmen |
|---|---|
| Nach jeder Verwendung |
|
-
Öffnen Sie die Abdeckung des Heckfangsystems.
-
Entfernen Sie den Schmutz vom Gitter.
-
Schließen Sie die Abdeckung des Heckfangsystems.
Reinigen des Heckfangsystems und der Grasfangkörbe
| Wartungsintervall | Wartungsmaßnahmen |
|---|---|
| Nach jeder Verwendung |
|
-
Waschen Sie die Abdeckung des Heckfangsystems, das Rohr, und die Unterseite des Mähwerks innen und außen.
Note: Festsitzenden Schmutz können Sie mit einem milden Autoshampoo entfernen.
-
Sie sollten auf jeden Fall alle Teile von festgeklebtem Gras befreien.
-
Lassen Sie alle Teile nach dem Waschen gut austrocknen.
Note: Montieren Sie alle Teile und starten Sie dann den Motor. Lassen Sie ihn für eine Minute laufen, um das Trocknen zu beschleunigen.
Prüfen des Gebläseriemens
| Wartungsintervall | Wartungsmaßnahmen |
|---|---|
| Nach acht Betriebsstunden |
|
| Alle 25 Betriebsstunden |
|
Prüfen Sie die Riemen auf Risse, zerfranste Ränder, Versengungsanzeichen und irgendwelche anderen Defekte. Tauschen Sie beschädigte Riemen aus.
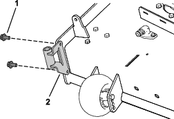
Austauschen des Gebläseriemens
-
Entfernen Sie die Riemenabdeckung aus Kunststoff.
-
Ziehen Sie an der gefederten Spannscheibe, um die Riemenspannung zu lösen (Bild 36).

-
Ziehen Sie den vorhandenen Heckfangsystemriemen von der Mähwerkriemenscheibe ab.
-
Nehmen Sie das Gebläse vom Mähwerk ab.
-
Nehmen Sie den vorhandenen Heckfangsystemriemen von den Riemenscheiben des Gebläses ab.
-
Legen Sie den neuen Riemen um die Riemenscheiben des Gebläses (Bild 36).
-
Befestigen Sie das Gebläse an der Gebläsestütze.
-
Legen Sie den neuen Riemen um die Mähwerkriemenscheibe (Bild 36).
-
Ziehen Sie die gefederte Spannscheibe zurück und verlegen den Riemen auf der gefederten Spannscheibe (Bild 36).
Prüfen des Grasfangsystems
| Wartungsintervall | Wartungsmaßnahmen |
|---|---|
| Nach acht Betriebsstunden |
|
| Alle 100 Betriebsstunden |
|
-
Prüfen Sie das obere und untere Rohr, die Abdeckung des Heckfangsystems und das Gebläse.
Note: Tauschen Sie diese Teile aus, wenn sie Risse aufweisen oder kaputt sind.
-
Prüfen Sie die Grasfangkörbe, den Rahmen des Heckfangsystems und das Gitter.
Note: Ersetzen Sie beschädigte oder kaputte Teile.
-
Ziehen Sie alle Schrauben und Muttern an.
Prüfen der Schnittmesser
-
Prüfen Sie die Schnittmesser regelmäßig, besonders wenn ein Messer einen Fremdkörper berührt.
-
Montieren Sie neue Messer, wenn sie stark abgenutzt oder beschädigt sind; komplette Anweisungen zur Schnittmesserwartung finden Sie in der Bedienungsanleitung der Maschine.





































