Vedligeholdelse
Note: Maskinens venstre og højre side er som set fra den normale betjeningsposition.
Skema over anbefalet vedligeholdelse
| Vedligeholdelsesintervaller | Vedligeholdelsesprocedure |
|---|---|
| Efter de første 8 timer |
|
| Efter hver anvendelse |
|
| For hver 25 timer |
|
| For hver 100 timer |
|
Advarsel
Hvis du lader nøglen sidde i tændingskontakten, kan andre personer utilsigtet komme til at starte maskinen og forårsage alvorlig personskade på dig eller andre omkringstående.
Tag nøglen ud af tændingen, og tag tændrørskablet af tændrøret, før du udfører vedligeholdelsesarbejde. Flyt tændrørskablet til side, så det ikke kommer i berøring med tændrøret ved et uheld.
Advarsel
Motorer kan blive varme under brug. Man kan få alvorlige forbrændinger fra kontakt med varme overflader.
Lad motorer, især lydpotten, køle ned før berøring.
Advarsel
Affald, f.eks. blade, græs eller krat, kan bryde i brand. En brand i motorområdet kan forårsage personskade og tingskade.
-
Hold motor- og lydpotteområdet fri fra ophobning af affald.
-
Ved åbning af opsamlerdækslet skal du sørge for, at affald ikke falder ned på motor- og lydpotteområdet.
-
Lad maskinen køle af, før den stilles til opbevaring.
Klargøring til vedligeholdelsesarbejde
Gør følgende, før du udfører vedligeholdelse på maskinen:
-
Parker maskinen på en plan flade.
-
Udkobl kraftudtaget, og flyt bevægelseshåndtagene til positionen NEUTRAL-LOCK (neutral låseposition).
-
Sluk for maskinen, og tag nøglen ud.
-
Fjern snavs på skjoldet eller bagenden af plæneklipperen for at gøre vedligeholdelsen nemmere.
Rengøring af hjelmskærmen
| Vedligeholdelsesintervaller | Vedligeholdelsesprocedure |
|---|---|
| Efter hver anvendelse |
|
-
Åbn opsamlerhjelmen.
-
Fjern snavset fra skærmen.
-
Luk opsamlerhjelmen.
Rengøring af opsamleren og poserne
| Vedligeholdelsesintervaller | Vedligeholdelsesprocedure |
|---|---|
| Efter hver anvendelse |
|
-
Vask inder- og ydersiden af opsamlerhjelmen, poserne, røret og undersiden af plæneklipperen.
Note: Brug en mild bilshampoo til at fjerne snavs.
-
Sørg for at fjerne sammenklumpet græs fra alle dele.
-
Lad alle delene tørre grundigt efter vask.
Note: Start, og kør maskinen i et minut, når alle delene er monteret. Derved tørrer de hurtigere.
Eftersyn af blæserremmen
| Vedligeholdelsesintervaller | Vedligeholdelsesprocedure |
|---|---|
| Efter de første 8 timer |
|
| For hver 25 timer |
|
Kontroller remmene for revner, flossede kanter, brændemærker eller andre skader. Udskift beskadigede remme.
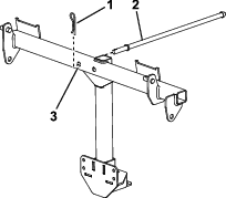
Udskiftning af blæserremmen
-
Fjern remskærmen af plastik.
-
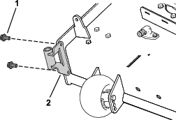
Træk i den fjederbelastede styreremskive for at løsne remspændingen (Figur 36).

-
Afmonter den eksisterende opsamlerrem på plæneklipperskjoldets remskive.
-
Afmonter blæseren på plæneklipperskjoldet.
-
Afmonter den eksisterende opsamlerrem på blæserremskiverne.
-
Monter den nye rem rundt om blæserremskiverne (Figur 36).
-
Monter blæseren på blæserstøtten.
-
Monter den nye rem rundt om plæneklipperskjoldets remskive (Figur 36).
-
Træk tilbage i den fjederbelastede styreremskive, og monter remmen på den fjederbelastede styreremskive (Figur 36).
Eftersyn af opsamleren
| Vedligeholdelsesintervaller | Vedligeholdelsesprocedure |
|---|---|
| Efter de første 8 timer |
|
| For hver 100 timer |
|
-
Kontroller det øverste rør, det nederste rør, opsamlerhjelmen og blæserenheden.
Note: Udskift disse dele, hvis de er revnet eller gået i stykker.
-
Kontroller poserne, opsamlerrammen og skærmen.
Note: Udskift alle revnede eller beskadigede dele.
-
Tilspænd alle møtrikker, bolte og skruer.
Eftersyn af skæreknivene
-
Efterse skæreknivene jævnligt, og når en skærekniv rammer et fremmedlegeme.
-
Hvis skæreknivene er meget slidte eller beskadigede, skal der monteres nye skæreknive. Se, hvordan du vedligeholder skæreknivene, i maskinens betjeningsvejledning.





































