| 유지보수 서비스 간격 | 유지보수 절차 |
|---|---|
| 매번 사용하기 전 또는 매일 |
|
이 장비는 비탈길, 기복이 심한 지형, 물이 가까이 있는 장소, 벙커 가장자리 등에서 잔디를 관리할 때 전문 외주 용역 작업자가 사용하도록 제작되었습니다. 이 제품을 지정되지 않은 용도로 사용하면 작업자나 주변 사람들이 위험해질 수 있습니다.
이 정보를 주의 깊게 읽고 제품을 제대로 조작 및 유지관리하는 방법과 부상 및 제품 손상을 방지하는 방법에 대해 익히십시오. 사용자는 제품을 제대로 안전하게 조작해야 할 책임이 있습니다.
안전 요령, 교육 자료, 액세서리 정보 등의 자세한 정보를 찾거나 판매점 위치를 찾거나 제품을 등록하는 경우 www.https://www.toro.com/en-GB을 방문하십시오.
서비스, Toro 순정 부품 또는 추가 정보가 필요하면 지정 서비스점 또는 Toro 고객 서비스에 연락하여 제품의 모델 번호와 일련 번호를 알려 주십시오. 그림 1은 제품의 모델 번호와 일련번호의 위치를 보여 줍니다. 마련된 빈칸에 이 번호를 적어 두십시오.
Important: 모바일 기기에서는 일련번호 데칼(장착한 경우)의 QR 코드를 스캔하여 보증, 부품 및 기타 제품 정보를 열어볼 수 있습니다.

아래 공간에 제품 모델번호와 일련번호를 적으십시오.
본 설명서는 잠재적인 위험에 대해 설명하고 있으며, 권장 예방 조치를 따르지 않을 경우 심각한 부상이나 사망을 초래할 수 있는 위험에 대해서는 안전 경고 기호(그림 2)로 표시합니다.

본 설명서에서는 2가지 단어를 사용하여 정보를 강조합니다. 중요는 특별한 기계적 정보에 대한 주의를 환기시키며 참고는 특별한 주의를 기울일 필요가 있는 일반 정보를 강조합니다.
이 제품은 모든 관련 유럽 지침을 준수합니다. 자세한 내용은 별도의 제품별 적합성 선언서(DOC)를 참조하시기 바랍니다.
총 토크 또는 순 토크: 본 엔진의 총 토크 또는 순 토크는 SAE(Society of Automotive Engineers) J1940 또는 J2723를 준수하여 엔진 제조사가 지정한 실험실 등급입니다. 안전성, 배기 가스 및 작동 요건을 충족하도록 구성되어 있기 때문에 이 등급 모어의 실제 엔진 토크는 훨씬 낮을 것입니다. 장비에 포함된 엔진 제조사의 정보를 참조하십시오.
Important: 장비를 사용하기 전에 이러한 지침을 주의 깊게 읽고 향후 참조하기 위해 보관해두십시오.
이 제품으로 인해 손이나 발을 다칠 수 있으며 물체가 튕겨나올 수도 있습니다. 항상 모든 안전 지침을 준수하여 중상 사고를 방지하십시오.
엔진을 시동하기 전에 이 사용 설명서의 내용을 읽고 숙지하십시오.
장비의 움직이는 부품 근처에 손이나 발을 두지 마십시오.
장비에 모든 보호 장치 및 기타 안전 보호 장치가 제자리에 장착되어 제대로 작동하지 않는 상태에서는 장비를 운전하지 마십시오.
주변 사람들과 아이들이 작업 반경에 들어오지 못하게 하십시오. 아이들이 장비를 작동하지 못하게 마십시오. 책임감 있고 훈련을 받았고 지침을 잘 알고 있는 사람들, 그리고 신체적으로 장비를 작동할 수 있는 능력이 있는 사람들만 장비를 작동하게 하십시오. 현지 규정에 따라 운전 연령이 제한될 수 있습니다.
엔진을 끄고 키를 뺀 다음(꽂혀 있는 경우) 모든 움직임이 멈출 때까지 기다려 운전석에서 내리십시오. 장비가 식은 후에 장비를 조정, 정비, 청소 또는 보관하십시오.
이 장비를 잘못 사용하거나 정비하면 사람이 다치는 사고가 생길 수 있습니다. 부상 위험을 줄이려면 여기에 나와
있는 안전 지침을 따르고 주의, 경고 또는 위험과 같은 개인 안전 지침을 의미하는 안전 경고 기호(
)에 항상 유의하십시오. 이 지침을 따르지
않으면 사람이 다치거나 사망하는 사고가 발생할 수 있습니다.
![]() |
안전 문구 데칼과 지침은 운전자의 눈에 쉽게 보이며 잠재적인 위험이 있는 모든 부분에 부착되어 있습니다. 손상되거나 유실된 데칼은 교체하십시오. |




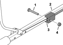
이 절차를 수행하는 데 필요한 부품:
| 하단 핸들바 | 1 |
| 발턱 | 1 |
| 볼트(6 x 35 mm) | 1 |
| 와셔(6 mm) | 3 |
| 록너트(6 mm) | 1 |
Note: 103.4 cm의 하단 위치에 핸들바를 조립할 때 밭턱을 사용하여 핸들바를 수직 위치로 지지할 수 있습니다.

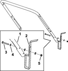
이 절차를 수행하는 데 필요한 부품:
| T-부싱 | 4 |
| 볼트(6 x 55 mm) | 2 |
| 와셔(6 mm) | 6 |
| 록너트(6 mm) | 2 |
| 노브 | 2 |
| U-볼트 | 2 |
| 핸들바 피팅 | |
| 상단 핸들바 | 1 |
| 볼트(¼ x 1¾ 인치) | 1 |
| 록너트(¼ 인치) | 1 |
상단 핸들바의 구멍을 하단 핸들바의 구멍에 맞춥니다(그림 8).

U-볼트 2개, 와셔(6 mm) 2개, 노브 2개로 상단 핸들바를 하단 핸들바에 조립합니다.
Important: 장비는 처음 구매 시 엔진에 오일이 들어 있지 않습니다. 엔진의 시동을 걸기 전에 엔진에 오일을 보충하십시오.
API 서비스 분류: SJ 이상 등급
오일 점도: 10W-30 오일
오일 용량: 0.40 L
평평한 곳으로 장비를 옮깁니다.
오일 주입구에서 계량봉을 빼어 계량봉을 깨끗한 헝겊으로 닦습니다(그림 14).

오일 주입구(그림 15)에 지정된 엔진 오일을 천천히 주입하고 3분 정도 기다립니다.

계량봉을 오일 주입구에 끼운 다음 계량봉을 분리합니다.
계량봉의 오일 레벨을 확인합니다(그림 16).
Note: 엔진 오일을 너무 많이 채웠을 경우에는 과도한 오일을 배출합니다. 엔진 오일 배출을 참조하십시오.

오일 레벨이 상한보다 낮을 경우, 깨끗한 천으로 계량봉을 닦은 다음 엔진 오일 레벨이 상한 마크에 도달할 때까지 3~5 단계를 반복합니다.
계량봉을 오일 주입구에 끼운 다음 계량봉을 손으로 단단히 고정합니다.



운전자 감지 베일(그림 19)은 플라이휠 브레이크와 엔진 점화를 제어합니다.
베인을 핸들바 쪽으로 눌러 엔진을 작동합니다.
베인을 핸들바에서 놓아서 엔진을 정지합니다.
연료 차단 밸브(그림 19)를 사용하여 엔진의 연료 흐름을 제어합니다.
장비를 운송하거나 보관할 때 연료 차단 밸브를 닫습니다.
연료 차단 밸브를 열어서 엔진을 작동합니다.
|
모델 |
작업폭 |
제품 폭 |
|---|---|---|
|
02616 |
457 mm |
574 mm |
Toro가 승인한 부착 장치와 액세서리를 사용하여 장비의 성능을 확장하거나 향상시킬 수 있습니다. 승인된 부착 장치와 액세서리 전체 목록을 보려면 지정 서비스점이나 Toro 지정 판매 대리점에 연락하거나 www.https://www.toro.com/en-GB를 방문하십시오.
장비를 최적 성능으로 사용하거나 안전 인증을 계속 보장 받으려면 순정 Toro 교체 부품과 액세서리만 사용하십시오. 다른 제조사에서 만든 교체 부품 및 액세서리는 위험할 수 있으며, 그러한 제품을 사용하면 제품 보증이 무효가 될 수 있습니다.
Note: 정상 운전 위치에서 장비의 좌측과 우측을 판단하십시오.
엔진을 끄고 키를 뺀 다음(꽂혀 있는 경우) 모든 움직임이 멈출 때까지 기다려 운전석에서 내리십시오. 장비가 식은 후에 장비를 조정, 정비, 청소 또는 보관하십시오.
장비 안전 운전, 운전자 제어 장치 및 안전 표시를 잘 알아 두십시오.
모든 보호 장치 및 안전 장치가 부착되어 있고 올바르게 작동하는지 확인하십시오.
항상 장비를 점검하여 커팅 디스크, 볼트, 스페이서 및 리테이너가 닳거나 손상되지 않았는지 확인하십시오.
장비를 사용할 장소를 점검하고 장비 작동을 방해하거나 장비에서 튕겨 나올 수 있는 물체를 전부 제거하십시오.
예고를 조정할 경우 신체가 움직이는 커팅 디스크에 닿아 심각한 부상을 입을 수도 있습니다.
고장난 머플러를 교체하십시오.
연료는 가연성이 매우 높으며 쉽게 폭발할 수 있습니다. 연료로 인한 화재나 폭발로 자신과 타인에게 화상을 입힐 수 있으며 재산상의 피해를 초래할 수도 있습니다.
연료 점화 시 정전기를 방지하려면 주유하기 전에 연료통이나 장비를 차량 안이나 사물 위가 아닌 땅 위에 직접 놓아야 합니다.
연료는 야외의 개방된 공간에서 엔진이 식었을 때 보충하거나 배출하십시오. 흘린 연료가 있으면 모두 닦아 내십시오.
연료는 야외의 개방된 공간에서 엔진이 식었을 때 채우십시오. 흘린 연료가 있으면 모두 닦아 내십시오.
흡연 중이거나 주변에 화염이나 불꽃이 있는 곳에서는 연료를 다루지 마십시오.
엔진이 작동 중이거나 뜨거운 상태에서 연료 캡을 분리하거나 탱크에 급유하지 마십시오.
연료를 엎지르는 경우, 엔진을 시동하려고 하지 마십시오. 연료 증기가 사라질 때까지 점화원이 생기지 않게 하십시오.
연료는 허가된 용기에 보관하고 아이들이 접근하지 못하도록 하십시오.
연료 탱크와 모든 연료 컨테이너의 캡을 다시 단단히 끼웁니다.
연료를 삼키면 인체에 유해하거나 치명적일 수 있습니다. 증기에 장기간 노출되면 심각한 부상이나 질병을 초래할 수 있습니다.
증기를 장시간 흡입하지 마십시오.
손 및 얼굴을 노즐 및 연료 탱크 개구부에서 멀리 하십시오.
연료가 눈과 피부에 닿지 않게 하십시오.
| 유형 | 무연 휘발유 |
| 최소 옥탄가 | 87(미국) 또는 91(Research 옥탄가, 미국 이외의 지역) |
| 에탄올 | 부피당 10% 이하 |
| 메탄올 | 해당 없음 |
| MTBE(메틸 제3 부틸 에테르) | 부피당 15% 미만 |
| 오일 | 연료에 첨가하지 않음 |
브랜드가 있는 청결하고 신선한(30일 이하) 연료만을 사용하십시오.
Important: 시동 문제를 줄이려면, 연료 안정제/조정제 제조사에서 지시하는 대로 연료 안정제/조정제를 새 연료에 추가합니다.
Note: 자세한 내용은 엔진 사용 설명서를 참조하십시오.
연료 탱크 캡 주위를 깨끗이 닦은 다음 탱크에서 캡을 뺍니다.
그림 20와 같이 지정된 연료로 연료 탱크를 채웁니다.

캡을 연료 탱크에 단단히 고정합니다.
엔진 오일 레벨 점검를 참조하십시오.
보안경, 긴 바지, 잘 미끄러지지 않는 튼튼한 신발 및 청력 보호구를 포함하여, 적절한 의복을 착용하십시오. 긴 머리는 뒤로 묶고 헐렁한 옷이나 보석류는 착용하지 마십시오.
장비를 작동하는 동안에는 온전히 주의를 기울이십시오. 주의력을 산만하게 하는 활동을 하면, 사람이 다치거나 자산이 손상될 수 있습니다.
아프거나 지친 상태, 또는 음주나 약물 복용 후에는 장비를 운전하지 마십시오.
엔진을 시동을 걸기 전에 커팅 디스크와 모든 구동 클러치를 분리합니다.
지침에 따라 엔진의 시동을 걸고 운전자의 발은 커팅 디스크에서 멀리 떨어져 있어야 합니다.
엔진을 시동하기에 필요한 것 이상으로 장비를 기울이지 말고 운전자로부터 멀리 떨어진 부분만을 위로 들어야 합니다.
엔진을 끄고 키를 뺀 다음(꽂혀 있는 경우) 모든 움직임이 멈출 때까지 기다려 운전석에서 내리십시오. 장비가 식은 후에 장비를 조정, 정비, 청소 또는 보관하십시오.
운전자 감지 제어 장치를 해제하면 엔진이 정지하고 커팅 디스크가 3초 이내에 멈추어야 합니다. 그렇게 되지 않으면 장비 사용을 즉시 중단하고 지정 서비스점에 문의하십시오.
주변 사람들, 특히 아이들과 애완 동물들이 작업 반경에 들어오지 못하게 하십시오. 어린 아이들이 작업 반경에 들어오지 못하게 하고 장비를 작동하지 않는 책임감 있는 성인이 지켜 보게 하십시오. 작업 반경으로 들어오는 사람이 있으면 장비를 정지하십시오.
가시성이 좋고 기상 상태가 적절한 경우에만 장비를 운전하십시오. 번개가 칠 위험이 있는 상태에서는 장비를 운전하지 마십시오.
젖은 잔디나 잎을 밟고 미끄러져 커팅 디스크에 닿으면 심각한 부상을 입을 수 있습니다. 가능하다면, 젖은 상태에서는 예초하지 마십시오.
사각 지대, 관목, 나무 또는 기타 시야를 가릴 수 있는 물체에 접근할 때에는 특히 주의하십시오.
구덩이, 바퀴 자국, 융기, 돌, 그 밖의 숨겨진 사물에 주의하십시오. 고르지 않은 지형으로 인해 작업자가 균형을 잃거나 발을 헛디딜 수 있습니다.
장비가 물체에 부딪히거나 떨리기 시작하면 즉시 엔진을 멈추고 움직이는 부품이 전부 멈출 때까지 기다려서 점화 플러그 선을 분리한 다음, 장비의 손상 여부를 점검하십시오. 다시 운전하기 전에 필요한 모든 수리를 시행하십시오.
엔진이 작동 중인 상태에서는 절대로 장비를 들거나 운반하지 마십시오.
엔진이 작동 중이었다면 뜨거우므로 작업자가 심한 화상을 입을 수 있습니다. 뜨거운 엔진과 거리를 두십시오.
엔지 배기 가스는 흡입하면 치명적인 결과를 유발하는 일산화탄소를 함유하고 있습니다. 실내나 밀폐된 곳에서 엔진을 가동하지 마십시오.
Toro가 승인한 액세서리 및 부착장치만 사용하십시오.
통제력을 잃으면서 발생하는 심하게 다치거나 사망하는 사고는 주로 비탈길에서 일어납니다. 작업자는 경사로 작업을 안전하게 할 책임이 있습니다. 비탈길에서 장비를 운전할 때에는 특별히 주의해야 합니다. 경사로에서 장비를 사용하기 전에 다음 조치를 취하십시오.
설명서의 경사로 지침을 검토하고 이해하십시오.
작업일에 현장 조건을 평가하여 경사로가 장비 작동에 안전한지 판단하십시오. 평가할 때 상식과 올바른 판단을 사용하십시오. 물기 등 지형의 변화로 인해 경사로에서 수행하는 장비의 작업이 영향을 받을 수 있습니다.
항상 발을 잘 디디고 핸들을 단단히 잡으시기 바랍니다. 뛰지 말고 걸으시기 바랍니다.
비탈면을 가로질러 잔디를 손질하되 절대 위아래로 예초하지 마십시오.
비탈길에서 방향을 바꿀 때에는 극도로 주의하십시오.
가파른 비탈길에서는 잔디를 다듬지 마십시오.
장비를 후진시키거나 작업자 본인 쪽으로 끌 때 매우 조심해야 합니다.
젖은 잔디에서는 예초하지 마십시오. 발을 제대로 디디지 않으면 미끄러지거나 넘어지는 사고가 생길 수 있습니다.
배수로, 파인 부분, 바퀴 자국, 융기, 돌, 그 밖의 숨겨진 물체 등 장애물이 있으면 제거하거나 표시하십시오. 긴 풀 때문에 장애물이 보이지 않을 수 있습니다.
급경사면, 도랑 또는 둑 근처에서는 주의하여 예초하십시오.
장비를 사용할 때에는 항상 양손으로 핸들을 잡으십시오.
비탈길을 위에서부터 예초할 때 장비가 더 멀리까지 닿아야 한다면 승인된 연장 핸들을 사용하십시오.

연료 차단 밸브의 핸들을 수평으로 돌려 밸브를 여십시오.
연료 차단 밸브의 핸들을 수직으로 돌려 밸브를 닫으십시오.
| 유지보수 서비스 간격 | 유지보수 절차 |
|---|---|
| 매번 사용하기 전 또는 매일 |
|
엔진을 정지하려면 운전자 감지 베일을 해제하십시오(그림 24).
Important: 운전자 감지 베일을 놓으면 엔진과 커팅 디스크를 모두 3초 이내에 멈추어야 합니다. 제대로 멈추지 않을 경우에는 장비 사용을 즉시 중단하고 지정 서비스점 또는 Toro 공인 판매 대리점에 연락하십시오.

Note: 하단 핸들바 위치 103.4 cm에 조립한 경우 발턱을 사용하여 핸들바를 수직 위치로 지지합니다.

핸들바를 해제하려면 핸들바를 들어 올리고 발턱을 앞으로 돌립니다(그림 25).
핸들바를 지지하려면 핸들바를 들어 올리고 발턱을 뒤로 돌립니다.
예고를 조정할 경우 신체가 커팅 디스크에 닿아 심각한 부상을 입을 수도 있습니다.
엔진을 멈추고 움직이는 모든 부품이 정지할 때까지 기다립니다.
커팅 디스크를 다룰 때에는 보호 장갑을 끼십시오.
엔진이 작동 중이었다면 머플러가 뜨거우므로 심한 화상을 입을 수 있습니다.
뜨거운 머플러에서 떨어지십시오.
예고를 조정할 때에는 커팅 디스크 어셈블리를 검사하십시오. 커팅 디스크 어셈블리가 손상되었으면 즉시 교체하십시오.
커팅 디스크를 제거할 때에는 커팅 디스크 어셈블리를 검사하십시오. 커팅 디스크 어셈블리가 손상되었으면 즉시 교체하십시오.
연료 차단 밸브를 닫습니다. 연료 차단 밸브를 참조하십시오.
점화 플러그의 선을 분리합니다.
계량봉을 내린 상태에서 장비를 옆으로 기울입니다.
Important: 항상 계량봉을 아래로 내린 상태에서 장비를 옆으로 기울이십시오. 장비를 다른 방향으로 기울이면 오일이 밸브 트레인을 채우게 될 수 있습니다. 그런 경우 최소 30분 이상 배출해야 합니다.

스페이서의 위치를 기록합니다.

장비와 함께 제공된 렌치를 사용하여 볼트를 반시계 방향으로 회전함으로써 커팅 디스크를 제거하고(그림 29) 모든 장착 하드웨어를 보관하십시오.
Important: 커팅 디스크를 분리할 때는 보안경과 절단 방지 장갑을 착용하십시오.
Important: 커팅 디스크 어셈블리를 제대로 설치하려면 토크 렌치가 필요합니다. 토크 렌치가 없거나 이 절차를 따르기가 여의치 않으면 지정 서비스점 또는 Toro 공식 판매대리점에 연락하십시오.
볼트를 사용하여 리테이너, 커팅 디스크, 스페이서, 원추형 스페이서를 임펠러에 조립합니다(그림 30).
Important: 항상 원추형 스페이서를 임펠러 바로 아래에 조립하고 리테이너를 볼트 헤드 아래에 조립하십시오.

볼트를 25 N∙m 토크로 조입니다.
Note: 볼트를 25 N·m의 토크로 조이면 매우 단단히 조여집니다. 임펠러를 고정한 상태에서 토크 렌치 뒤에 체중을 싣고 볼트를 조이십시오.
장비를 똑바로 기울이고 점화 플러그 와이어를 점화 플러그에 연결한 다음 연료 차단 밸브를 엽니다.
발턱의 후프를 업스톱 아래에 놓아 장비의 핸들링을 향상시킵니다.

장비를 사용할 장소를 점검하고 장비에 의해 튕겨 나갈 가능성이 있는 모든 물체를 제거하십시오.
커팅 줄이 단단한 물체에 부딪히지 않도록 하십시오. 어떤 물체든 고의로 예초하지 마십시오.
장비가 물체에 부딪히거나 떨리기 시작하면 즉시 엔진을 멈추고 점화 플러그 선을 분리한 다음, 장비의 손상 여부를 확인하십시오.
성능을 최대한 이끌어 내려면 예초할 계절이 시작하기 전에 새 커팅 줄을 설치하십시오.
필요할 경우 Toro 교체용 커팅 줄로 커팅 줄을 교체하십시오.
교체할 커팅 줄이 손상되지 않은 커팅 줄과 동일한 길이인지 확인하십시오.
한 번에 풀잎의 3분의 1만 자르십시오. 잔디가 드문드문 나 있는 경우나 잔디 성장이 느려지기 시작하는 늦가을을 제외하고는 최고 설정치(30 mm) 이하로 예초하지 마십시오. 예고 조정을 참조하십시오.
장비가 막혔거나 엔진이 멈출 수 있으므로 길이가 15 cm 이상인 잔디를 깎지 마십시오.
젖은 잔디나 잎은 뭉치는 경향이 있어 장비를 막히게 하거나 엔진을 멎게 할 수 있습니다. 가능하다면 마른 상태에서만 예초하십시오.
젖은 잔디나 잎에서 미끄러져 커팅 줄에 닿으면 심각한 부상을 입을 수 있습니다.
가능하다면 마른 상태에서만 예초하십시오.
매우 건조한 상태에서는 화재가 발생할 가능성이 있다는 점에 주의하고, 현지의 모든 화재 방지 규정을 따르고, 장비에 마른 잔디나 나뭇잎 잔해물이 닿지 않게 하십시오.
마무리된 잔디의 모양이 마음에 들지 않으면 다음 중 하나를 시도해 보십시오.
커팅 유닛을 점검하고/하거나 커팅 라인을 교체하십시오.
좀 더 느리게 걸으면서 예초하십시오.
장비의 예고를 높이십시오.
좀 더 자주 잔디를 깎으십시오.
매번 새로 깎으면서 지나가는 대신 기존에 깎은 자리에 겹쳐 깎으십시오.
예초 후 잘린 낙엽들 사이로 잔디가 반쯤 보이는지 확인하십시오. 낙엽 위로 몇차례 지나가야 할 수도 있습니다.
길이가 15cm가 넘는 잔디를 깎는 것은 권장하지 않습니다. 낙엽이 너무 두껍게 덮여 있으면 장비에 끼여 엔진이 멎을 수 있습니다.
장비가 낙엽을 충분히 잘게 자르지 못할 경우에는 예초 속도를 늦추십시오.
엔진을 끄고 키를 뺀 다음(꽂혀 있는 경우) 모든 움직임이 멈출 때까지 기다려 운전석에서 내리십시오. 장비가 식은 후에 장비를 조정, 정비, 청소 또는 보관하십시오.
장비에 붙어 있는 잔디와 잔해물을 청소하여 화재를 예방하십시오. 흘린 오일이나 연료를 청소하십시오.
노출된 화염, 불꽃, 온수기나 기타 기구의 점화용 불씨가 있는 곳에는 절대로 장비나 연료통을 보관하지 마십시오.
장비를 고정하십시오.
장비에 짐을 싣고 내릴 때 주의하십시오.
| 유지보수 서비스 간격 | 유지보수 절차 |
|---|---|
| 매번 사용 후 |
|
장비 하우징 아래에서 물질이 튀어나올 수 있습니다.
보안경을 착용하십시오.
운전 위치(핸들 뒤)에 계십시오.
주변에 사람이 없도록 하십시오.
계량봉을 내린 상태에서 장비를 옆으로 기울입니다.
Important: 항상 계량봉을 아래로 내린 상태에서 장비를 옆으로 기울이십시오. 장비를 다른 방향으로 기울이면 오일이 밸브 트레인을 채우게 될 수 있습니다. 그런 경우 최소 30분 이상 배출해야 합니다.
솔이나 압축 공기를 사용하여 배기 가드, 상단 덮개 및 데크 주위의 잔디와 잔해물을 제거합니다.
냉각 시스템을 청소하십시오. 엔진 공랭 지느러미 핀과 시동기에서 잔디 예지물, 잔해물 또는 먼지를 제거하십시오.
Note: 먼지나 잡풀이 많은 환경에서는 냉각 시스템을 좀 더 자주 청소하십시오.
Note: 정상 운전 위치에서 장비의 좌측과 우측을 판단하십시오.
| 유지보수 서비스 간격 | 유지보수 절차 |
|---|---|
| 처음 5시간 후 |
|
| 매번 사용하기 전 또는 매일 |
|
| 매번 사용 후 |
|
| 매 25시간 |
|
| 매 100시간 |
|
| 매년 |
|
엔진을 끄고 키를 뺀 다음(꽂혀 있는 경우) 모든 움직임이 멈출 때까지 기다려 운전석에서 내리십시오. 장비가 식은 후에 장비를 조정, 정비, 청소 또는 보관하십시오.
유지관리 작업을 수행하기 전에 점화 플러그에서 점화 플러그 선을 분리하십시오.
장비를 정비할 때에는 장갑과 눈 보호 장비를 착용하십시오.
정기적으로 장비를 점검하고 마모되거나 손상된 부품은 교체하십시오. 장비의 운전 속도에 사용하기에 적합한 커팅 요소만을 사용하십시오.
안전장치에 함부로 손대지 마십시오. 제대로 작동되는지 정기적으로 확인하십시오.
장비를 기울이면 연료가 샐 수 있습니다. 연료는 가연성과 폭발성이 있어서 사람이 다칠 수 있습니다. 연료가 마를 때까지 엔진을 작동하거나 수동 펌프로 연료를 제거하십시오. 절대 사이펀으로 연료를 빼내지 마십시오.
장비가 안전한 작업 상태를 유지하도록 모든 패스너를 견고하게 고정하십시오.
엔진 조속기 설정을 변경하거나 엔진 속도를 과도하게 올리지 마십시오.
장비의 최적 성능을 보장 받으려면 순정 Toro 교체 부품과 액세서리만 사용하십시오. 다른 제조사에서 만든 교체 부품 및 액세서리는 위험할 수 있으며, 그러한 제품을 사용하면 제품 보증이 무효가 될 수 있습니다.
장비를 기울이면 연료가 샐 수 있습니다. 연료는 가연성과 폭발성이 있어서 사람이 다칠 수 있습니다.
휘발유가 마를 때까지 엔진을 작동시키거나 수동 펌프로 휘발유를 제거하십시오. 절대 사이펀으로 빼내지 마십시오.
Important: 항상 계량봉을 아래로 내린 상태에서 장비를 옆으로 기울이십시오. 계량봉을 위로 산 상태에서 장비를 기울이면 오일이 밸브 트레인을 채우게 될 수 있습니다. 그런 경우 최소 30분 이상 배출해야 합니다.
| 유지보수 서비스 간격 | 유지보수 절차 |
|---|---|
| 매년 |
|
에어 필터 덮개 상단에 있는 래치 탭을 아래로 누릅니다(그림 33).

덮개를 제거합니다.
필터 부재를 제거합니다(그림 33).
종이 에어 필터를 점검합니다.
필터가 손상된 경우, 오일이나 연료로 적시고 과도하게 더러워진 경우, 교체합니다.
필터가 더러울 경우에는 단단한 표면에 가볍게 몇 번 두드리거나 엔진을 바라보는 필터 측면을 통해 2.07bar 미만의 압축 공기를 불어서 터십시오.
Note: 필터의 먼지를 솔로 털어 내지 마십시오. 솔질하면 먼지가 섬유에 엉깁니다.
젖은 헝겊으로 에어 필터 베이스와 덮개의 먼지를 청소합니다. 에어 덕트 쪽으로 먼지를 닦지 마십시오.
필터 베이스에 필터를 삽입합니다.
덮개를 닫습니다.
API 서비스 분류: SJ 이상 등급
오일 점도: 10W-30 오일
| 유지보수 서비스 간격 | 유지보수 절차 |
|---|---|
| 매번 사용하기 전 또는 매일 |
|
유지관리를 위해 장비를 준비합니다. 유지보수 준비를 참조하십시오.
오일 주입구에서 계량봉을 빼어 계량봉을 깨끗한 헝겊으로 닦습니다.
계량봉을 오일 주입구에 끼운 다음 계량봉을 분리합니다.
Important: 주입구에 계량봉을 돌려서 끼우지 마십시오.
계량봉의 오일 레벨을 확인합니다.

오일 레벨이 계량봉의 하한 마크 부근이거나 미만인 경우(그림 34), 오일 주입구에 지정된 엔진 오일을 천천히 주입하고 3분 정도 기다립니다(그림 35).

깨끗한 천으로 계량봉을 닦은 다음 엔진 오일 레벨이 상한 마크에 도달할 때까지 3~5 단계를 반복합니다.
계량봉을 오일 주입구에 끼운 다음 계량봉을 손으로 단단히 고정합니다.
| 유지보수 서비스 간격 | 유지보수 절차 |
|---|---|
| 처음 5시간 후 |
|
| 매 25시간 |
|
엔진이 차가운 경우, 1~2분 동안 가동하여 오일을 데웁니다.
장비를 옆으로 기울일 때 연료가 새 나가지 않도록 연료 탱크에 연료를 조금만 남기거나 아예 비웁니다.
유지관리를 위해 장비를 준비합니다. 유지보수 준비를 참조하십시오.
오일 주입구에서 계량봉을 빼어 계량봉을 깨끗한 헝겊으로 닦습니다.
드레인 팬을 장비의 오일 주입구 측면에 데크 옆 지면에 놓습니다(그림 35).

오일 주입구 측면으로 장비를 기울여 주입구로 오일을 배출합니다.
Important: 항상 계량봉을 아래로 내린 상태에서 장비를 옆으로 기울이십시오. 장비를 다른 방향으로 기울이면 오일이 밸브 트레인을 채우게 될 수 있습니다. 그런 경우 최소 30분 이상 배출해야 합니다.
장비를 작동 자세로 되돌립니다.
장비에서 삐져 나온 오일을 닦아냅니다.
Note: 사용한 오일은 현지 재활용 센터에서 적절히 폐기합니다.
오일 용량: 0.40 L
오일 주입구(그림 35)에 지정된 엔진 오일을 천천히 주입하고 3분 정도 기다립니다.

계량봉을 오일 주입구에 끼운 다음 계량봉을 분리합니다.
Important: 주입구에 계량봉을 돌려서 끼우지 마십시오.
계량봉의 오일 레벨을 확인합니다(그림 38).
Note: 엔진 오일을 너무 많이 채웠을 경우에는 과도한 오일을 배출합니다. 엔진 오일 배출을 참조하십시오.

오일 레벨이 상한보다 낮을 경우, 깨끗한 천으로 계량봉을 닦은 다음 엔진 오일 레벨이 상한 마크에 도달할 때까지 1~3 단계를 반복합니다.
계량봉을 오일 주입구에 끼운 다음 계량봉을 손으로 단단히 고정합니다.
| 유지보수 서비스 간격 | 유지보수 절차 |
|---|---|
| 매 100시간 |
|
점화 플러그 규격: Champion RN9YC 또는 동급 제품.
엔진을 끄고 키를 뺀 다음(꽂혀 있는 경우) 모든 움직임이 멈출 때까지 기다려 운전석에서 내리십시오. 장비가 식은 후에 장비를 조정, 정비, 청소 또는 보관하십시오.
장비를 밀폐된 곳에 보관하기 전에 엔진을 식히십시오.
장비를 밀폐된 곳에 보관하기 전에 엔진을 식히십시오.
노출된 화염, 불꽃, 온수기나 기타 기구의 점화용 불씨가 있는 곳에는 절대로 장비나 연료통을 보관하지 마십시오.
머플러와 엔진룸에서 잔디, 나뭇잎, 잔해물을 제거하여 화재를 방지합니다.
휘발유 증기는 폭발할 수 있습니다.
휘발유를 30일 넘게 보관하지 마십시오.
화염에서 가까운 밀폐된 곳에 장비를 보관하지 마십시오.
장비를 보관하기 전에는 엔진을 식히십시오.
한 해의 마지막 급유 시 엔진 제조업체의 지침에 따라 연료에 연료 안정제를 첨가합니다.
연료가 떨어져 엔진이 멈출 때까지 장비를 작동합니다.
엔진의 시동을 다시 걸고 멈출 때까지 작동합니다. 엔진의 시동이 더 이상 걸리지 않으면 연료 시스템이 비워진 것입니다.
점화 플러그의 선을 분리합니다.
점화 플러그를 빼고, 점화 플러그 구멍을 통해 30 ml의 오일을 보충한 다음, 리코일 스타터 그립을 천천히 몇 번 잡아당겨 오일이 실린더 구석구석 골고루 퍼지게 합니다.
점화 플러그를 장착하고 20 N∙m 토크로 조입니다.
커팅 디스크의 마모 상태나 손상 여부를 점검하십시오. 커팅 디스크가 손상되었거나 트림 선이 닳았다면 교체하십시오.
모든 너트, 볼트 및 나사를 조입니다.
장비는 서늘하고 청결하며 건조한 곳에 보관하십시오.
| Problem | Possible Cause | Corrective Action |
|---|---|---|
| 엔진이 시동되지 않습니다. |
|
|
| 엔진을 시동하기 어렵거나 힘이 떨어집니다. |
|
|
| 엔진이 거칠게 작동함. |
|
|
| 장비 또는 엔진이 과도하게 떨림. |
|
|
| 예초 패턴이 고르지 않음. |
|
|