Important: Komplet za zaštitnu rešetku (Model 07145) ne može se upotrebljavati ili postaviti s ovim kompletom.
Note: Odredite lijevu i desnu stranu uređaja s uobičajenog vozačeva položaja.
Parkirajte vozilo na ravnoj površini.
Aktivirajte ručnu kočnicu.
Ugasite motor i izvadite ključ.

Gurnite sklop sjedala prema naprijed u podignuti položaj.
Pomaknite sklop sjedala u stranu i izvan klinova te ga podignite prema gore (Slika 2).

Odspojite akumulatore; pročitajte Upute za upotrebu uređaja.
Note: Ispravno pratite postupak za odspajanje akumulatora. Odspojite glavni negativni (crni) kabel akumulatora i zatim odspojite glavni pozitivni (crveni) kabel akumulatora.
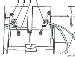
Uklonite punjač i kabel punjača iz nosača punjača (Slika 5).

Uklonite 4 vijka sa zvjezdastom glavom (M 6,0 × 22 mm) koji pričvršćuju nosač punjača za lijevu bočnu ploču (Slika 6).

Uklonite 4 vijka sa zvjezdastom glavom (M 6,0 × 22 mm) iz lijeve bočne ploče i uklonite bočnu ploču (Slika 7).

Ponovite korak 5 na desnoj strani.
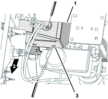
Odspojite cijev za odzračivanje i cijev za dovod goriva sa spremnika za gorivo (Slika 8).
U određenim uvjetima gorivo je vrlo zapaljivo i eksplozivno. Požar ili eksplozija uzrokovana gorivom mogu uzrokovati opekline kod vas i drugih ljudi i oštetiti imovinu.
Ispustite gorivo iz spremnika za gorivo kad je motor hladan. Učinite to na otvorenom. Obrišite gorivo ako se prolije.
Nikad nemojte pušiti dok rukujete gorivom i držite se podalje od otvorenog plamena ili mjesta na kojima bi se pare goriva mogle zapaliti iskrom.
Uklonite 2 vijka koji pričvršćuju držač na lijevu bočnu ploču i uklonite držač (Slika 8).
Uklonite prirubni vijak koji pričvršćuje spremnik za gorivo na korito spremnika za gorivo i uklonite spremnik (Slika 8).

Uklonite 6 vijaka sa zvjezdastom glavom (M 6,0 × 22 mm) iz lijeve bočne ploče i uklonite bočnu ploču (Slika 9).

Odspojite negativni (–) kabel od akumulatora, a zatim odspojite pozitivni (+) kabel akumulatora kako prikazuje Slika 10.

Uklonite 2 prirubna vijka (5/16 × ¾ inča) koji pričvršćuju podlogu za akumulator za okvir i 4 vijka sa zvjezdastom glavom (M 6,0 × 22 mm) koji pričvršćuju desnu bočnu ploču te uklonite desnu bočnu ploču (Slika 11).
Note: Akumulator se uklanja zajedno s desnom bočnom pločom kako prikazuje Slika 11.


Uklonite 10 plastičnih zakovica i vezicu za kabel sa svakog gumenog pokrova i uklonite gumene pokrove (Slika 13).

Dijelovi potrebni za ovaj postupak:
| Podni nosač | 2 |
| Prirubni vijci (5/16 × 1 inč) | 20 |
| Prirubna matica (5/16 inča) | 20 |

Poravnajte podni nosač na uređaju kako slijedi:
Poravnajte prirubnice podnog nosača tako da je u ravnini sa žlijebom bočnog okvira, prednjim podnim žlijebom i žlijebom stražnjeg okvira uređaja (Slika 15).
Poravnajte podni nosač paralelno s podom (Slika 15).

Pričvrstite podni nosač na žlijeb bočnog okvira i podne žljebove.
Koristeći se podnim nosačem kao predloškom označite lokacije rupa na žlijebu bočnog okvira i podnim žljebovima (Slika 15, Slika 16, i Slika 17).


Uklonite podni nosač s uređaja.
Izbušite 10 oznaka koje ste napravili u koraku 3 u odjeljku Bušenje žljebova okvira.

Izbušite bočne i podne žljebove na označenim mjestima bušilicom od 8 mm (5/16 inča) (Slika 18).
Ponovite korake od 1 do 6 za podni nosač na drugoj strani uređaja.
Poravnajte rupe u podnom nosaču s rupama koje ste izbušili u bočnim i podnim žljebovima (Slika 19).

Postavite podni nosač na bočne i podne žljebove s pomoću 10 prirubnih vijaka (5/16 × 1 inč) i 10 prirubnih matica (5/16 inča) kako prikazuje Slika 19.
Pritegnite prirubne vijke i prirubne matice na 19,8 do 25,4 Nm.
Ponovite korake od 2 do 3 za podni nosač na drugoj strani uređaja.
Dijelovi potrebni za ovaj postupak:
| Lijevi nosač ROPS-a | 1 |
| Desni nosač ROPS-a | 1 |
| Prirubni vijak (½ × 3 inča) | 6 |
| Ravna podloška (½ inča) | 10 |
| Sigurnosna matica (½ inča) | 6 |
| Zaštitni luk | 1 |
| Prirubni vijak (½ × 3½ inča) | 4 |
| Sigurnosna matica (½ inča) | 4 |
| Vezica za kabel | 2 |
| Plastična zakovica | 4 |
Budite oprezni prilikom bušenja rupa na desnoj strani okvira električnog uređaja.
Ako bušite preduboko, možete oštetiti akumulatore ili druge dijelove.
Poravnajte nosač ROPS-a s dvjema rupama iza konzole sjedala i rupom prema prednjem dijelu šipke okvira kako prikazuje Slika 20.

Pričvrstite nosač ROPS-a s pomoću stezaljke.
Označite lokacije rupa na nosaču ROPS-a (Slika 20).
Izbušite 3 rupe (13,5 mm) u okviru koristeći se nosačem ROPS-a kao vodičem (Slika 21).

Ponovite taj postupak s druge strane.
Odrežite gumene pokrove u skladu s mjerama koje prikazuje Slika 22.
Note: Rezovi u gumenom pokrovu osiguravaju prostor za postavljanje nosača ROPS-a.

Postavite svaki gumeni pokrov s pomoću prethodno uklonjenih 10 plastičnih zakovica i vezice za kabel (Slika 23).
Note: Ako su prethodno uklonjene zakovice oštećene ili ako neka nedostaje, zamijenite ih zakovicama isporučenim u ovom kompletu.

Podrežite bočne ploče u skladu s mjerama koje prikazuje Slika 24.

Postavite nosač ROPS-a s pomoću 3 prirubna vijka (½ × 3 inča), 5 ravnih podloški (½ inča) i 3 sigurnosne matice (½ inča) kako prikazuje Slika 25.
Note: Pobrinite se da su 2 ravne podloške (½ inča) s vanjske strane kako prikazuje Slika 25.

Pritegnite 3 prirubna vijka (½ × 3 inča) na 94 do 108 N∙m.
Ponovite taj postupak s druge strane.
Pričvrstite jednu stranu zaštitnog luka na nosač ROPS-a s pomoću 2 prirubna vijka (½ × 3½ inča) i 2 sigurnosne matice (½ inča) kako prikazuje Slika 26.

Pritegnite 2 prirubna vijka (½ × 3½ inča) na 94 do 108 N∙m.
Ponovite taj postupak s druge strane.
Dijelovi potrebni za ovaj postupak:
| Sigurnosni pojas | 2 |
| Zapor sjedala | 2 |
| Vijak sa šesterokutnom glavom (7/16 × 1 inč) | 4 |
| Ravna podloška(7/16 inča) | 8 |
| Sigurnosna matica (7/16 inča) | 4 |
Za električne uređaje
Postavite lijevu bočnu ploču s pomoću prethodno uklonjena 4 vijka sa zvjezdastom glavom (M 6,0 × 22 mm) kako prikazuje Slika 7.
Pričvrstite nosač punjača na lijevu bočnu ploču s pomoću prethodno uklonjena 4 vijka sa zvjezdastom glavom (M 6,0 × 22 mm) kako prikazuje Slika 6.
Pričvrstite punjač i kabel punjača na nosač punjača (Slika 5).
Ponovite korak 1 na desnoj strani.
Za uređaje na benzin
Postavite svaku bočnu ploču služeći se prethodno uklonjenim vijcima sa zvjezdastom glavom (M 6,0 × 22 mm) kako prikazuje Slika 9 i Slika 11.
Pričvrstite spremnik za gorivo na korito spremnika s pomoću prirubnog vijka koji ste ranije uklonili (Slika 8).
Pričvrstite držač na lijevu bočnu ploču s pomoću 2 vijka koja ste ranije uklonili (Slika 8).
Spojite cijev za odzračivanje i cijev za dovod goriva na spremnik za gorivo (Slika 8).
Postavite zapor sjedala s pomoću šesterokutnog vijka (7/16 × 1 inč), 2 ravne podloške (7/16 inča) i sigurnosne matice (7/16 inča) kako prikazuje Slika 27.

Pritegnite šesterokutni vijak (7/16 × 1 inč) na 68 do 81 N∙m.
Ponovite korake 1 i 2 za postavljanje drugog zapora sjedala.
Postavite sigurnosni pojas s pomoću šesterokutnog vijka (7/16 × 1 inč), 2 ravne podloške (7/16 inča) i sigurnosne matice (7/16 inča) kako prikazuje Slika 28.

Pritegnite šesterokutni vijak (7/16 × 1 inč) na 68 do 81 N∙m.
Ponovite korake 4 i 5 za postavljanje drugog sigurnosnog pojasa.
Dijelovi potrebni za ovaj postupak:
| Lijevi potporanj za vjetrobransko staklo | 1 |
| Desni potporanj za vjetrobransko staklo | 1 |
| Prednji potporanj | 1 |
| Stražnji potporanj za nadstrešnicu | 1 |
| Lijevo, prednji montažni nosač | 1 |
| Desno, prednji montažni nosač | 1 |
| Lijevo, stražnji montažni nosač | 1 |
| Desno, stražnji montažni nosač | 1 |
| Lijevo, stražnji kutni umetak | 1 |
| Desno, stražnji kutni umetak | 1 |
| Lijevo, prednji kutni umetak | 1 |
| Desno, prednji kutni umetak | 1 |
| Prednji poprečni spoj | 1 |
| Cijev poprečnog spoja | 2 |
| Prirubna matica (5/16 inča) | 30 |
| Matica (¼ inča) | 2 |
| Prirubni vijak sa šesterokutnom glavom (¼ × 1½ inča) | 2 |
| Noseći vijak (5/16 × 1¾ inča) | 16 |
| Prirubni vijak sa šesterokutnom glavom (5/16 × 1 inč) | 2 |
| Noseći vijak (5/16 × 2¾ inča) | 6 |
| Noseći vijak (5/16 × 1 inč) | 4 |
Note: Nemojte pritezati pričvrsnice osim ako ste dobili takvu uputu.
Služeći se mjerama koje prikazuje Slika 29, izbušite 2 rupe (5/16 inča) s vanjske strane podne ploče na lijevoj i desnoj strani uređaja.

Služeći se mjerama koje prikazuje Slika 30, izbušite 1 rupu (5/16 inča) s vanjske strane podnožja na lijevoj i desnoj strani uređaja.

Pričvrstite srednji nosač lijevog i desnog potpornja za vjetrobransko staklo na uređaj s pomoću 2 prirubna vijka sa šesterokutnom glavom (5/16 × 1 inč) i 2 matice (5/16 inča) u rupe koje ste izbušili (Slika 31).

Pričvrstite donji nosač lijevog i desnog potpornja za vjetrobransko staklo na uređaj s pomoću 4 noseća vijka (5/16 × 1 inč) i 4 prirubne matice (5/16 inča) u rupe koje ste izbušili u koraku 1 (Slika 32).

Pričvrstite stražnji potporanj nadstrešnice i stražnju masku na zaštitni luk s pomoću 2 noseća vijka (5/16 × 2¾ inča) i 2 prirubne matice (5/16 inča) (Slika 33).

Pričvrstite stražnje montažne nosače i stražnje kutne umetke na zaštitni luk s pomoću 4 noseća vijka (5/16 × 2¾ inča) i 4 matice (5/16 inča) (Slika 34).

Pričvrstite stražnju masku za zaštitni luk s pomoću 2 noseća vijka (5/16 × 2¾ inča) i 2 matice (5/16 inča) (Slika 34)
Labavo postavite cijevi poprečnog spoja na stražnje montažne nosače i stražnje kutne umetke s pomoću 4 noseća vijka (5/16 × 1¾ inča) i 4 prirubne matice (5/16 inča) kako prikazuje Slika 35.

Labavo postavite prednje montažne nosače i prednje kutne umetke na cijevi poprečnog spoja i potpornje za vjetrobransko staklo s pomoću 8 nosećih vijaka (5/16 × 1¾ inča) i 8 prirubnih matica (5/16 inča) kako prikazuje Slika 35.
Labavo postavite prednji poprečni spoj na prednje montažne nosače i kutne umetke s pomoću 4 noseća vijka (5/16 × 1¾ inča) i 4 prirubne matice (5/16 inča) kako prikazuje Slika 36.

Pričvrstite prednji potporanj za prednji poprečni spoj s pomoću 2 prirubna vijka sa šesterokutnom glavom (¼ × 1½ inča) i 2 matice (¼ inča) (Slika 37).

Pritegnite sve olabavljene pričvršćivače.
Pomaknite sklop sjedala na klinove i spustite ga (Slika 65).

Dijelovi potrebni za ovaj postupak:
| Sklop desnih vratašca | 1 |
| Sklop lijevih vratašca | 1 |
| Nastavak za vratašca | 2 |
| Šarka na desnim vratašcima | 2 |
| Šarka na lijevim vratašcima | 2 |
| Noseći vijak (5/16 × 2¾ inča) | 4 |
| Vijak s osloncem (5/16 × ½ inča) | 4 |
| Odstojnik | 4 |
| Prirubna matica (5/16 inča) | 8 |
Slika 39 sadržava potrebne informacije za izvođenje sljedećih koraka.
Pričvrstite šarke na desnim i lijevim vratašcima na zaštitni luk s pomoću 4 noseća vijka (5/16 × 2¾ inča) i 4 prirubne matice (5/16 inča).
Note: Ova oprema također pričvršćuje desnu i lijevu stranu stražnje maske na zaštitni luk.
Postavite odstojnik na svaku šarku na vratašcima.
Nanesite tanak sloj maziva na svaku šarku na vratašcima.
Postavite svaki sklop vratašca tako da pogurnete vratašca na šarke.
Note: Vratašca se moraju neometano otvarati. Prilagodite osovinu zasuna vratašca tako da je centrirana u ručici zasuna vratašca.
Pričvrstite nastavke za vratašca na sklopove vratašca i cijevi poprečnog spoja s pomoću 4 vijka s osloncem (5/16 × ½ inča) i 4 prirubne matice (5/16 inča).

Podignite ručicu gumenih zasuna s obiju strana poklopca motora (Slika 40).

Okrenite poklopac motora prema naprijed.
Pridržite poklopac i pogurnite okretni zasun prema unutra i gurajte poklopac prema natrag tako da udaljite svornjak s poprečnim provrtom od zasuna (Slika 41).

Ponovite korak 3 na drugoj strani poklopca motora.
Uklonite poklopac s uređaja.
Pridržite branik i uklonite 8 prirubnih vijaka koji pričvršćuju branik na nosače branika i prednjih svjetala (Slika 42).

Uklonite branik s uređaja.
Dijelovi potrebni za ovaj postupak:
| Zaštita za prednja svjetla | 2 |
| Prirubni vijak (5/16 × ⅝ inča) | 4 |
Uklonite 2-pinski ženski konektor kabelskog svežnja uređaja iz 2-pinskog konektora na stražnjoj strani prednjeg svjetla (Slika 43).
Note: Sačuvajte zakačke za sastavljanje.

Uklonite 3 zakačke iz 3 matice za podešavanje prednjeg svjetla, zatim uklonite prednje svjetlo iz nosača prednjeg svjetla (Slika 43).
Provjerite postoje li na montažnom nosaču prednjeg svjetla rupe za montažu zaštite za prednja svjetla.
Ako montažni nosači prednjeg svjetla nemaju rupe za montažu, poslužite se mjerama koje prikazuje Slika 44 i izbušite 2 rupe od 11 mm (7/16 inča) u svakom montažnom nosaču prednjeg svjetla.

Postavite zaštitu za prednja svjetla na prednja svjetla kako prikazuje Slika 45.

Poravnajte 3 matice za podešavanje prednjeg svjetla s rupama u montažnom nosaču prednjeg svjetla i pričvrstite s pomoću matica sa zakačkama (Slika 43) koje ste uklonili u koraku 2.

Spojite 2-pinski ženski konektor kabelskog svežnja uređaja na 2-pinski konektor na stražnjoj strani prednjeg svjetla (Slika 46).
Pričvrstite zaštitu za prednja svjetla na montažne nosače prednjih svjetala (Slika 45) s pomoću 4 prirubna vijka (5/16 × ⅝ inča).

Dijelovi potrebni za ovaj postupak:
| Nosač sakupljača loptica | 1 |
| Donji nosač | 1 |
| Prirubni vijak (⅜ × 1 inč) | 14 |
| Prirubna matica (⅜ inča) | 14 |
Postavite nosač sakupljača loptica na potporanj branika kako prikazuje Slika 48.

Labavo postavite donji nosač na nosač sakupljača loptica (Slika 49) s pomoću 4 prirubna vijka (⅜ × 1 inč) i 4 prirubne matice (⅜ inča).

Poravnajte krajnji stražnji rub donjeg nosača s rubom pristupnog otvora u ploči središnjeg žlijeba (Slika 50).

Označite 4 lokacije rupa s donjeg nosača na ploču središnjeg žlijeba kako prikazuje Slika 50.
Uklonite 4 prirubna vijka (⅜ × 1 inč), 4 prirubne matice (⅜ inča) i donji nosač s nosača sakupljača loptica (Slika 49).
Izbušite 4 rupe na mjestima koja ste označili na ploči središnjeg žlijeba u koraku 4.
Izbušite 4 rupe od 10 mm u ploči središnjeg žlijeba na mjestima koja ste označili za bušenje u koraku 6 kako prikazuje Slika 51.

Labavo postavite donji nosač, nosač sakupljača loptica i ploču središnjeg žlijeba kako prikazuje Slika 52 s pomoću 8 prirubnih vijaka (⅜ × 1 inč) i 8 prirubnih matica (⅜ inča).

Označite 6 lokacije rupa s donjeg nosača na ploču središnjeg žlijeba kako je prikazuju slike Slika 53, Slika 54 i Slika 55.



Uklonite 8 prirubnih vijaka (⅜ × 1 inč), 8 prirubnih matica (⅜ inča), donji nosač i nosač sakupljača loptica s uređaja (Slika 52).
Izbušite 6 rupa na mjestima koja ste označili na ploči središnjeg žlijeba u koraku 2.
Izbušite 6 rupa od 10 mm u ploči središnjeg žlijeba na mjestima koja ste označili za bušenje u koraku 4.

Na stražnjoj strani branika označite 2,5 cm iznad donjeg dijela branika u udubljenom središnjem području kako prikazuje Slika 60.

Izrežite označeno područje kako biste oslobodili prostor za nosač sakupljača loptica.
Poravnajte branik s nosačem branika i prednjih svjetala kako prikazuje Slika 42.
Postavite branik s pomoću 8 prirubnih vijaka uklonjenih u odjeljku Uklanjanje poklopca motora i branika.
Dok je prednji dio poklopca okrenut prema naprijed, poravnajte svornjak s poprečnim provrtom s prednje strane poklopca s odgovarajućim opružnim zasunom kako prikazuje Slika 41 u odjeljku Uklanjanje poklopca motora i branika.
Umetnite svornjak s poprečnim provrtom u utor tako da ga pričvršćuje okretni zasun.
Ponovite korak 2 na drugoj strani poklopca motora.
Spustite poklopac i pričvrstite ga gumenim zasunima s obiju strana kako prikazuje Slika 40.
Dijelovi potrebni za ovaj postupak:
| Vjetrobransko staklo | 1 |
| Vijak s osloncem (5/16 × 1¼ inča) | 8 |
| Prirubni vijak sa šesterokutnom glavom (¼ × 1½ inča) | 5 |
| Gumena čahura | 16 |
| Zamjenska podloška | 8 |
| Sklop potpornja vjetrobranskog stakla | 1 |
| Nosač vjetrobranskog stakla | 1 |
| Matica (5/16 inča) | 8 |
| Matica (¼ inča) | 5 |
Pričvrstite nosač vjetrobranskog stakla na sklop potpornja vjetrobranskog stakla s pomoću 1 prirubnog vijka sa šesterokutnom glavom (¼ × 1½ inča) i 1 matice (¼ inča) (Slika 61).

Pričvrstite sklop potpornja vjetrobranskog stakla na desni i lijevi potporanj za vjetrobransko staklo s pomoću 4 prirubna vijka sa šesterokutnom glavom (¼ × 1½ inča) i 4 matice (¼ inča) (Slika 61).
Postavite vjetrobransko staklo s pomoću 8 vijaka s osloncem (5/16 × 1¼ inča), 8 zamjenskih podloški, 16 gumenih čahura i 8 matica (5/16 inča) kako prikazuje Slika 62.

Dijelovi potrebni za ovaj postupak:
| Osovina zasuna | 2 |
| Aksijalna podloška | 4 |
| Zaštita za osovinu zasuna | 2 |
| Protumatica | 2 |
Poravnajte osovinu zasuna i zaštitu za osovinu s otvorom na montažnom nosaču kako prikazuje Slika 63.
Umetnite osovinu zasuna (isprva bez podloški) u zaštitu za osovinu (Slika 63).
Note: Ako osovina zasuna nije centrirana u zasunu vratašca, dodajte 1 ili 2 aksijalne podloške. Poravnajte osovinu zasuna s ručicom zasuna vratašca s pomoću aksijalnih podloški.

Poravnajte osovinu zasuna s protumaticom sa stražnje strane otvora na montažnom nosaču (Slika 63).
Ručno pritegnite protumaticu na osovinu zasuna (Slika 63).
Dijelovi potrebni za ovaj postupak:
| Zaštita od sunca | 1 |
| Zakačka | 2 |
| Brtvena podloška | 4 |
| Prirubni vijak sa šesterokutnom glavom (¼ × 1 inč) | 4 |
| Podloška protiv trenja | 2 |
| Plastična podloška | 4 |
| Prirubna čahura | 2 |
Postavite zaštitu od sunca na prednje ploče s pomoću 2 zakačke, 2 brtvene podloške i 2 prirubna vijka sa šesterokutnom glavom (¼ × 1 inč) kako prikazuje Slika 64.
Important: Prije postavljanja nanesite sredstvo za fiksiranje navoja na prirubne vijke sa šesterokutnom glavom.

Postavite zaštitu od sunca na stražnji poprečni spoj s pomoću 2 prirubna vijka sa šesterokutnom glavom (¼ × 1 inč), 2 brtvene podloške, 2 podloške protiv trenja, 4 plastične podloške i 2 prirubne čahure (Slika 65).
Important: Prije postavljanja nanesite sredstvo za fiksiranje navoja na prirubne vijke sa šesterokutnom glavom.
Important: Plastični podlošci moraju biti postavljeni na vrh i dno zaštite od sunca jer se time sprječava oštećivanje zaštite od sunca.

Za električne uređaje
Spojite akumulator; pročitajte Upute za upotrebu uređaja.
Note: Ispravno pratite postupak za spajanje akumulatora. Spojite glavni pozitivni (crveni) kabel akumulatora, zatim spojite glavni negativni (crni) kabel akumulatora.
Za uređaje na benzin
Pričvrstite kućište akumulatora na desnu stranu s pomoću 2 prethodno uklonjena prirubna vijka (5/16 × ¾ inča) kako prikazuje Slika 11 u odjeljku Uklanjanje bočnih ploča.
Spojite pozitivni (+) kabel akumulatora na akumulator s pomoću vijka i matice (Slika 10).
Spojite negativni (–) kabel akumulatora na akumulator s pomoću vijka i matice (Slika 10).