Important: Ne možete da koristite niti da instalirate komplet štitnika četki (model 07145) sa ovim kompletom.
Note: Utvrdite levu i desnu stranu mašine iz uobičajenog položaja operatera.
Parkirajte mašinu na ravnoj površini.
Aktivirajte parkirnu kočnicu.
Zaustavite motor i uklonite ključ.

Gurnite sklop sedišta unapred u podignut položaj.
Prevucite sklop sedišta u stranu da ga izvučete iz osovinica i podignite sklop sedišta naviše (Слика 2).

Isključite akumulatore; pogledajte Uputstvo za operatera za mašinu.
Note: Pravilno pratite proceduru za isključivanje akumulatora. Isključite glavni negativni kabl akumulatora (crni), a zatim glavni pozitivni kabl akumulatora (crveni).
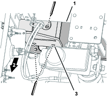
Uklonite punjač i kabl punjača iz nosača punjača (Слика 5).

Uklonite 4 Torx zavrtnja (M6,0 x 22 mm) koji fiksiraju nosač punjača na levu bočnu tablu (Слика 6).

Uklonite 4 Torx zavrtnja (M6,0 x 22 mm) sa leve bočne table i uklonite je (Слика 7).

Ponovite korak 5 na desnoj strani.
Otkačite cev za ventilaciju i cev za gorivo sa rezervoara (Слика 8).
U određenim uslovima, gorivo je lako zapaljivo i vrlo eksplozivno. Požar ili eksplozija goriva može da izazove opekotine kod vas i drugih osoba i može oštetiti imovinu.
Praznite gorivo iz rezervoara kada je motor hladan. Radite to napolju i na otvorenom prostoru. Obrišite gorivo koje se prospe.
Nikada nemojte pušiti prilikom rukovanja gorivom, i udaljite se od otvorenog plamena i mesta gde varnica može da zapali isparenja od goriva.
Uklonite 2 zavrtnja koji fiksiraju držač na levu bočnu tablu i uklonite držač (Слика 8).
Uklonite zavrtanj sa prirubnicom koji fiksira rezervoar za gorivo na ležište rezervoara i uklonite rezervoar za gorivo (Слика 8).

Uklonite 6 Torx zavrtanja (M6,0 x 22 mm) sa leve bočne table i uklonite bočnu tablu (Слика 9).

Isključite negativni kabl akumulatora (–) sa akumulatora, a zatim pozitivni (+) kabl akumulatora, kao što je prikazano na Слика 10.

Uklonite 2 zavrtnja sa prirubnicom (5/16 x ¾") koji fiksiraju ležište baterije na ram i 4 Torx zavrtnja (M6,0 x 22 mm) koji fiksiraju desnu bočnu tablu, a zatim uklonite desnu bočnu tablu (Слика 11).
Note: Akumulator se odvaja sa desnom bočnom tablom, kao što je prikazano na Слика 11.


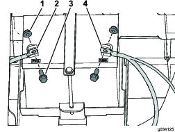
Uklonite 10 plastičnih zakivki i vezicu za kablove sa svakog gumenog poklopca i uklonite gumene poklopce (Слика 13).

Делови потребни за овај поступак:
| Podni nosač | 2 |
| Zavrtnji sa prirubnicom (5/16 x 1") | 20 |
| Kontranavrtka sa prirubnicom (5/16") | 20 |

Poravnajte podni nosač sa mašinom na sledeći način:
Poravnajte prirubnice podnog nosača direktno uz kanal na bočnom ramu, prednjem podnom kanalu i zadnjem podnom kanalu mašine (Слика 15).
Poravnajte podni nosač paralelno sa podom (Слика 15).

Zakačite podni nosač za kanal na bočnom ramu i podne kanale.
Upotrebite podni nosač kao šablon i označite lokacije rupa na kanalu na bočnom ramu i podnim kanalima (Слика 15, Слика 16 i Слика 17).


Uklonite podni nosač sa mašine.
Izbušite rupe na 10 oznaka koje ste napravili u koraku 3 u odeljku Bušenje kanala na ramu.

Izbušite bočne i podne kanale na oznakama pomoću burgije od 8 mm (Слика 18).
Ponovite korake od 1 do 6 za podni nosač na drugoj strani mašine.
Poravnajte rupe na podnom nosaču sa rupama koje ste izbušili na bočnim i podnim kanalima (Слика 19).

Montirajte podni nosač na bočne i podne kanale pomoću 10 zavrtanja sa prirubnicom (5/16 x 1") i 10 navrtki sa prirubnicom (5/16"), kao što je prikazano na Слика 19.
Zategnite zavrtnje sa prirubnicom i navrtke sa prirubnicom momentom od 19,8 do 25,4 N∙m.
Ponovite korake od 2 do 3 za podni nosač na drugoj strani mašine.
Делови потребни за овај поступак:
| Levi nosač sistema za zaštitu od prevrtanja | 1 |
| Desni nosač sistema za zaštitu od prevrtanja | 1 |
| Zavrtanj sa prirubnicom (½ x 3") | 6 |
| Ravna podloška (½") | 10 |
| Kontranavrtka (½") | 6 |
| Zaštitni ram | 1 |
| Zavrtanj sa prirubnicom (½ x 3½") | 4 |
| Kontranavrtka (½") | 4 |
| Vezica | 2 |
| Plastična zakivka | 4 |
Budite oprezni kada bušite otvore na desnoj strani okvira na električnoj mašini.
Ako bušite preduboko, možete oštetiti akumulatore ili druge komponente.
Poravnajte nosač sistema za zaštitu od prevrtanja sa 2 rupe iza osnove sedišta i rupom prema prednjoj strani šine rama, kao što je prikazano na Слика 20.

Fiksirajte nosač sistema za zaštitu od prevrtanja pomoću hvataljke.
Označite lokacije rupa na nosaču sistema za zaštitu od prevrtanja (Слика 20).
Pomoću nosača sistema za zaštitu od prevrtanja kao vodiča izbušite 3 rupe (13,5 mm) na ramu (Слика 21).

Ponovite ovaj postupak sa druge strane.
Isecite gumene poklopce pomoću mera prikazanih na Слика 22.
Note: Sečenjem gumenog poklopca ostavljate prostor za montiranje nosača sistema za zaštitu od prevrtanja.

Postavite svaki gumeni poklopac pomoću prethodno uklonjenih 10 plastičnih zakivaka i vezice za kablove (Слика 23).
Note: Ako su prethodno uklonjeni zakivci oštećeni ili nedostaju, zamenite ih zakivcima iz ovog kompleta.

Opsecite bočne table pomoću mera prikazanih na Слика 24.

Montirajte nosač sistema za zaštitu od prevrtanja pomoću 3 zavrtnja sa prirubnicom (½ x 3"), 5 ravnih podloški (½") i 3 kontranavrtke (½"), kao što je prikazano na Слика 25.
Note: Obavezno montirajte 2 ravne podloške (½") sa spoljne strane, kao što je prikazano na Слика 25.

Zategnite 3 zavrtnja sa prirubnicom (½ x 3") momentom od 94 do 108 N∙m.
Ponovite ovaj postupak sa druge strane.
Pričvrstite 1 stranu zaštitnog rama na nosač sistema za zaštitu od prevrtanja pomoću 2 zavrtnja sa prirubnicom (½ x 3½") i 2 kontranavrtke (½"), kao što je prikazano na Слика 26.

Zategnite 2 zavrtnja sa prirubnicom (½ x 3½") momentom od 94 do 108 N∙m.
Ponovite ovaj postupak sa druge strane.
Делови потребни за овај поступак:
| Sigurnosni pojas | 2 |
| Brava sedišta | 2 |
| Zavrtanj sa šestougaonom glavom (7/16 x 1") | 4 |
| Ravna podloška(7/16") | 8 |
| Kontranavrtka (7/16") | 4 |
Za električne mašine
Montirajte levu tablu pomoću prethodno uklonjena 4 Torx zavrtnja (M6,0 x 22 mm), kao što je prikazano na Слика 7.
Fiksirajte nosač punjača na levu tablu pomoću prethodno uklonjena 4 Torx zavrtnja (M6,0 x 22 mm), kao što je prikazano na Слика 6.
Fiksirajte punjač i kabl punjača na nosač punjača (Слика 5).
Ponovite korak 1 na desnoj strani.
Za benzinske mašine
Montirajte table sa obe strane pomoću prethodno uklonjenih Torx zavrtanja (M6,0 x 22 mm), kao što je prikazano na Слика 9 i Слика 11.
Fiksirajte rezervoar za gorivo na ležište rezervoara pomoću prethodno uklonjenog zavrtnja sa prirubnicom (Слика 8).
Fiksirajte držač na levu bočnu tablu pomoću prethodno uklonjena 2 zavrtnja (Слика 8).
Povežite cev za ventilaciju i cev za gorivo na rezervoar za gorivo (Слика 8).
Montirajte bravu sedišta pomoću zavrtnja sa šestougaonom glavom (7/16 x 1"), 2 ravne podloške (7/16") i kontranavrtke (7/16"), kao što je prikazano na Слика 27.

Zategnite zavrtanj sa šestougaonom glavom (7/16 x 1") momentom od 68 do 81 N∙m.
Ponovite korake 1 i 2 da biste montirali drugu bravu sedišta.
Montirajte sigurnosni pojas pomoću zavrtnja sa šestougaonom glavom (7/16 x 1"), 2 ravne podloške (7/16") i kontranavrtke (7/16"), kao što je prikazano na Слика 28.

Zategnite zavrtanj sa šestougaonom glavom (7/16 x 1") momentom od 68 do 81 N∙m.
Ponovite korake 4 i 5 da biste montirali drugi sigurnosni pojas.
Делови потребни за овај поступак:
| Leva potpora vetrobrana | 1 |
| Desna potpora vetrobrana | 1 |
| Prednja potpora | 1 |
| Potpora zadnje nastrešnice | 1 |
| Levi prednji nosač za montiranje | 1 |
| Desni prednji nosač za montiranje | 1 |
| Levi zadnji nosač za montiranje | 1 |
| Desni zadnji nosač za montiranje | 1 |
| Levi zadnji ugaoni podupirač | 1 |
| Desni zadnji ugaoni podupirač | 1 |
| Levi prednji ugaoni podupirač | 1 |
| Desni prednji ugaoni podupirač | 1 |
| Prednja ukrštena veza | 1 |
| Cev ukrštene veze | 2 |
| Navrtka sa prirubnicom (5/16") | 30 |
| Navrtka (¼") | 2 |
| Zavrtanj sa prirubnicom i šestougaonom glavom (¼ x 1½") | 2 |
| Zavrtanj sa poluokruglom kapom (5/16 x 1¾") | 16 |
| Zavrtanj sa prirubnicom i šestougaonom glavom (5/16 x 1") | 2 |
| Zavrtanj sa poluokruglom kapom (5/16 x 2¾") | 6 |
| Zavrtanj sa poluokruglom kapom (5/16 x 1") | 4 |
Note: Nemojte da zatežete nijedan pričvršćivač, osim ako se to izričito ne traži.
Pomoću dimenzija prikazanih na Слика 29, izbušite 2 rupe (8 mm) na spoljašnjoj strani podne ploče sa leve i desne strane mašine.

Pomoću dimenzija prikazanih na Слика 30, izbušite 1 rupu (8 mm) na spoljašnjoj strani nožne ploče sa leve i desne strane mašine.

Fiksirajte srednji nosač leve i desne potpore vetrobrana na mašinu pomoću 2 zavrtnja sa prirubnicom i šestougaonom glavom (5/16 x 1") i 2 navrtke (5/16") u rupama koje ste izbušili (Слика 31).

Fiksirajte donji nosač leve i desne potpore vetrobrana na mašinu pomoću 4 zavrtnja sa poluokruglom kapom (5/16 x 1") i 4 navrtke sa prirubnicom (5/16") u rupama koje ste izbušili u koraku 1 (Слика 32).

Pomoću 2 zavrtnja sa poluokruglom kapom (5/16 x 2¾") i 2 navrtke sa prirubnicom (5/16") fiksirajte potporu zadnje nadstrešnice i zadnju masku na zaštitni ram (Слика 33).

Pomoću 4 zavrtnja sa poluokruglom kapom (5/16 x 2¾") i 4 navrtke sa prirubnicom (5/16") fiksirajte zadnje nosače za montiranje i zadnje ugaone podupirače na zaštitni ram (Слика 34).

Pomoću 2 zavrtnja sa poluokruglom kapom (5/16 x 2¾") i 2 navrtke sa prirubnicom (5/16") fiksirajte zadnju masku na zaštitni ram (Слика 34)
Labavo montirajte cevi ukrštene veze na zadnje nosače za montiranje i zadnje ugaone podupirače pomoću 4 zavrtnja sa poluokruglom kapom (5/16 x 1¾") i 4 navrtke sa prirubnicom (5/16"), kao što je prikazano na Слика 35.

Labavo montirajte prednje nosače za montiranje i prednje ugaone podupirače na cevi ukrštene veze i potpore vetrobrana pomoću 8 zavrtanja sa poluokruglom kapom (5/16 x 1¾") i 8 navrtki sa prirubnicom (5/16"), kao što je prikazano na Слика 35.
Labavo montirajte prednju ukrštenu vezu na prednje nosače za montiranje i ugaone podupirače pomoću 4 zavrtnja sa poluokruglom kapom (5/16 x 1¾") i 4 navrtke sa prirubnicom (5/16"), kao što je prikazano na Слика 36.

Pomoću 2 zavrtnja sa prirubnicom i šestougaonom glavom (¼ x 1½") i 2 navrtke (¼") fiksirajte prednju potporu na prednju ukrštenu vezu (Слика 37).

Zategnite sve labave pričvršćivače.
Prevucite sklop sedišta na osovinice i spustite sklop sedišta (Слика 65).

Делови потребни за овај поступак:
| Sklop desnih vrata | 1 |
| Sklop levih vrata | 1 |
| Veza vrata | 2 |
| Šarka desnih vrata | 2 |
| Šarka levih vrata | 2 |
| Zavrtanj sa poluokruglom kapom (5/16 x 2¾") | 4 |
| Zavrtanj sa osloncem (5/16 x ½") | 4 |
| Odstojnik | 4 |
| Navrtka sa prirubnicom (5/16") | 8 |
Pogledajte Слика 39 dok budete obavljali sledeće korake.
Pomoću 4 zavrtnja sa poluokruglom kapom (5/16 x 2¾") i 4 navrtke sa prirubnicom (5/16") fiksirajte šarke levih i desnih vrata na zaštitni ram.
Note: Ovaj hardver takođe fiksira levu i desnu stranu zadnje maske na zaštitni ram.ta
Postavite odstojnik na šarku svakih vrata.
Nanesite tanak sloj maziva na svaku šarku vrata.
Montirajte sklop svakih vrata tako što ćete postaviti vrata na šarke vrata.
Note: Proverite da li se svaka vrata slobodno pomeraju. Podesite čiviju reze vrata tako da bude centrirana u ručki brave vrata
Pomoću 4 zavrtnja sa osloncem (5/16 x ½") i 4 navrtke sa prirubnicom (5/16") fiksirajte veze vrata na sklopove vrata i cevi ukrštenih veza.

Podignite ručice gumenih sigurnosnih brava sa obe strane haube (Слика 40).

Okrenite haubu ka napred.
Dok podupirete haubu, gurnite obrtnu sigurnosnu bravu ka unutra i pomerite haubu ka nazad dok se cilindrični osigurač haube ne oslobodi iz sigurnosne brave (Слика 41).

Ponovite korak 3 sa druge strane haube.
Uklonite haubu sa mašine.
Dok podupirete branik, uklonite 8 zavrtanja sa prirubnicom koji fiksiraju branik na nosače branika i nosače prednjih svetala (Слика 42)

Uklonite branik sa mašine.
Делови потребни за овај поступак:
| Štitnik prednjeg svetla | 2 |
| Zavrtanj sa prirubnicom (5/16 x ⅝") | 4 |
Uklonite konektor sa 2 ulaza snopa kablova mašine sa 2-pinskog konektora sa zadnje strane prednjeg svetla (Слика 43).
Note: Sačuvajte kopče za sklapanje.

Uklonite 3 kopče sa 3 navrtke za podešavanje prednjeg svetla, pa uklonite prednje svetlo iz nosača prednjeg svetla (Слика 43).
Potražite rupe za montiranje štitnika prednjeg svetla na nosaču za montiranje prednjeg svetla.
Ako na nosačima za montiranje prednjeg svetla nema rupa za montiranje, upotrebite mere iz odeljka Слика 44 da biste izbušili 2 rupe od 11 mm na svakom od nosača za montiranje prednjeg svetla.

Postavite štitnike prednjih svetala na prednja svetla, kao što je prikazano na Слика 45.

Poravnajte 3 navrtke za podešavanje prednjeg svetla sa otvorima na nosaču za montiranje prednjeg svetla i fiksirajte navrtke kopčama (Слика 43) koje ste uklonili u koraku 2 .

Povežite konektor sa 2 ulaza snopa kablova mašine sa 2-pinskim konektorom sa zadnje strane prednjeg svetla (Слика 46).
Fiksirajte štitnik prednjeg svetla na nosače za montiranje prednjih svetala (Слика 45) pomoću 4 zavrtnja sa prirubnicom (5/16 x ⅝").

Делови потребни за овај поступак:
| Nosač sakupljača loptica | 1 |
| Donji nosač | 1 |
| Zavrtanj sa prirubnicom (⅜ × 1") | 14 |
| Kontranavrtka sa prirubnicom (⅜") | 14 |
Montirajte nosač sakupljača loptica na potporu na braniku, kao što je prikazano na Слика 48.

Labavo montirajte donji nosač na nosač sakupljača loptica (Слика 49) pomoću 4 zavrtnja sa prirubnicom (⅜ × 1") i 4 kontranavrtke sa prirubnicom (⅜").

Poravnajte zadnju ivicu donjeg nosača sa ivicom pristupnog otvora na ploči centralnog kanala (Слика 50).

Obeležite lokacije 4 rupe donjeg nosača na ploči centralnog kanala, kao što je prikazano na Слика 50.
Uklonite 4 zavrtnja sa prirubnicom (⅜ × 1"), 4 kontranavrtke sa prirubnicom (⅜") i donji nosač sa nosača sakupljača loptica (Слика 49).
Probušite rupe na lokacijama 4 oznake koje ste napravili na ploči centralnog kanala u koraku 4.
Izbušite 4 rupe od 10 mm na oznakama na ploči centralnog kanala koje ste napravili u koraku 6, kao što je prikazano na Слика 51.

Labavo montirajte donji nosač, nosač sakupljača loptica i ploču centralnog kanala, kao što je prikazano na Слика 52, pomoću 8 zavrtanja sa prirubnicom (⅜ × 1") i 8 kontranavrtki sa prirubnicom (⅜").

Obeležite lokacije 6 rupa donjeg nosača na ploči centralnog kanala, kao što je prikazano na slikama Слика 53, Слика 54 i Слика 55.



Uklonite 8 zavrtanja sa prirubnicom (⅜ × 1"), 8 kontranavrtki sa prirubnicom (⅜"), donji nosač i nosač sakupljača loptica sa mašine (Слика 52).
Probušite rupe na lokacijama 6 oznaka koje ste napravili na ploči centralnog kanala u koraku 2.
Izbušite 6 rupa od 10 mm na oznakama na ploči centralnog kanala koje ste napravili u koraku 4.

Sa zadnje strana branika obeležite 2,5 cm iznad donje ivice branika u udubljenom centralnom delu, kao što je prikazano na Слика 60.

Isecite označenu oblast da biste oslobodili mesto za nosač sakupljača loptica.
Poduprite branik tako da bude poravnat sa nosačem branika i prednjih svetala, kao što je prikazano na Слика 42.
Montirajte branik pomoću 8 zavrtanja sa prirubnicom koje ste uklonili u koraku Uklanjanje haube i branika.
Dok je prednja strana haube okrenuta ka napred, poravnajte cilindrični osigurač sa prednje strane haube sa odgovarajućom sigurnosnom bravom sa oprugom, kao što je prikazano na Слика 41 u odeljku Uklanjanje haube i branika.
Uvucite cilindrični osigurač u zarez tako da ga obrtna sigurnosna brava fiksira.
Ponovite korak 2 sa druge strane haube.
Spustite haubu i fiksirajte je pomoću gumenih sigurnosnih brava sa obe strane haube, kao što je prikazano na Слика 40.
Делови потребни за овај поступак:
| Vetrobran | 1 |
| Zavrtanj sa osloncem (5/16 x 1¼") | 8 |
| Zavrtanj sa prirubnicom i šestougaonom glavom (¼ x 1½") | 5 |
| Gumena čaura | 16 |
| Rezervna podloška | 8 |
| Sklop potpore vetrobrana | 1 |
| Nosač vetrobrana | 1 |
| Navrtka (5/16") | 8 |
| Navrtka (¼") | 5 |
Pomoću 1 zavrtnja sa prirubnicom i šestougaonom glavom (¼ x 1½") i 1 navrtke (¼") fiksirajte nosač vetrobrana na sklop potpore vetrobrana (Слика 61).

Pomoću 4 zavrtnja sa prirubnicom i šestougaonom glavom (¼ x 1½") i 4 navrtke (¼") fiksirajte sklop potpore vetrobrana na levu i desnu potporu vetrobrana (Слика 61).
Montirajte vetrobran pomoću 8 zavrtanja sa osloncem (5/16 x 1¼"), 8 rezervnih podloški, 16 gumenih čaura i 8 navrtki (5/16"), kao što je prikazano na Слика 62.

Делови потребни за овај поступак:
| Čivija reze | 2 |
| Noseća podloška | 4 |
| Štitnik čivija | 2 |
| Sigurnosna navrtka | 2 |
Poravnajte čiviju reze i štitnik čivija sa otvorom na nosaču za montiranje, kao što je prikazano na Слика 63.
Umetnite čiviju reze (prvo bez podloški) u štitnik čivija (Слика 63).
Note: Ako čivija reze nije centrirana na sigurnosnoj bravi vrata, dodajte 1 ili 2 noseće podloške. Pomoću nosećih podloški poravnajte čiviju reze sa sigurnosnom bravom ručke vrata.

Poravnajte čiviju reze i sigurnosnu navrtku sa zadnje strane otvora na nosaču za montiranje (Слика 63).
Rukom zategnite sigurnosnu navrtku na čiviju reze (Слика 63).
Делови потребни за овај поступак:
| Štitnik od sunca | 1 |
| Kopča | 2 |
| Zaptivna podloška | 4 |
| Zavrtanj sa prirubnicom i šestougaonom glavom (¼ x 1") | 4 |
| Frikciona podloška | 2 |
| Plastična podloška | 4 |
| Prirubnička čaura | 2 |
Montirajte štitnik od sunca na prednje ploče pomoću 2 kopče, 2 zaptivne podloške i 2 zavrtnja sa prirubnicom i šestougaonom glavom (¼ x 1"), kao što je prikazano na Слика 64.
Important: Nanesite sredstvo za učvršćivanje navoja na zavrtnje sa prirubnicom i šestougaonom glavom pre montiranja.

Montirajte štitnik od sunca na zadnju ukrštenu vezu pomoću 2 zavrtnja sa prirubnicom i šestougaonom glavom (¼ x 1"), 2 zaptivne podloške, 2 frikcione podloške, 4 plastične podloške i 2 prirubničke čaure (Слика 65).
Important: Nanesite sredstvo za učvršćivanje navoja na zavrtnje sa prirubnicom i šestougaonom glavom pre montiranja.
Important: Proverite da li su plastične podloške montirane sa gornje i donje strane štitnika od sunca, pošto se time sprečava oštećivanje štitnika od sunca.

Za električne mašine
Povežite akumulator; pogledajte Uputstvo za operatera za mašinu.
Note: Pravilno pratite proceduru za priključivanje akumulatora. Povežite glavni pozitivni kabl akumulatora (crveni), a zatim povežite glavni negativni kabl akumulatora (crni).
Za benzinske mašine
Fiksirajte osnovu akumulatora sa desne strane pomoću prethodno uklonjena 2 zavrtnja sa prirubnicom (5/16 x ¾"), kao što je prikazano na Слика 11 u odeljku Uklanjanje bočnih tabli.
Povežite pozitivni (+) kabl na akumulator pomoću zavrtnja i navrtke (Слика 10).
Povežite negativni (–) kabl na akumulator pomoću zavrtnja i navrtke (Слика 10).