Important: Skupaj s tem kompletom ne morete uporabiti ali namestiti kompleta za zaščito pred vejami (model 07145).
Note: Ugotovite, katera stran je leva in katera desna, gledano s položaja za upravljanje stroja.
Parkirajte stroj na ravni površini.
Vklopite parkirno zavoro.
Ugasnite motor in odstranite ključ.

Sklop sedežev potisnite naprej do dvignjenega položaja.
Sklop sedežev potisnite vstran, da ga sprostite z zatičev, in ga dvignite (Diagram 2).

Odklopite akumulatorje; glejte uporabniški priročnik.
Note: Natančno upoštevajte postopek za odklop akumulatorjev. Odklopite glavni negativni kabel akumulatorja (črn) in nato glavni pozitivni kabel akumulatorja (rdeč).
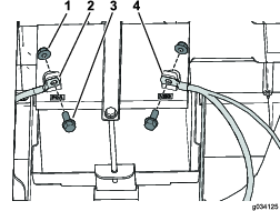
Odstranite polnilnik in kabel polnilnika z nosilca polnilnika (Diagram 5).

Odstranite 4 vijake torx (M6,0 x 22 mm), s katerimi je nosilec polnilnika pritrjen na levo stransko ploščo (Diagram 6).

Z leve stranske plošče odstranite 4 vijake torx (M6,0 x 22 mm) in odstranite ploščo (Diagram 7).

Korak 5 ponovite še na desni strani.
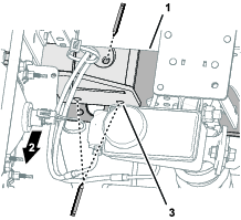
Odklopite oddušno cev in cev za gorivo z rezervoarja za gorivo (Diagram 8).
V določenih pogojih je gorivo zelo vnetljivo in eksplozivno. Požar ali eksplozija zaradi goriva ima lahko hude posledice za vas in druge osebe v bližini, kot so opekline in premoženjska škoda.
Gorivo izpustite iz rezervoarja za gorivo, ko je motor hladen. To delo izvajajte na prostem. Pobrišite razlito gorivo.
Pri rokovanju z gorivom ne smete kaditi in stati blizu odprtega plamena ali kjer lahko iskra vname hlape goriva.
Odstranite 2 vijaka, s katerima je vpenjalno letev pritrjeno na levo stransko ploščo, in odstranite vpenjalno letev (Diagram 8).
Odstranite vijak s prirobnico, s katerim je rezervoar za gorivo pritrjen na podstavek za rezervoar, in odstranite rezervoar za gorivo (Diagram 8).

Z leve stranske plošče odstranite 6 vijakov torx (M6,0 x 22 mm) in odstranite stransko ploščo (Diagram 9).

Z akumulatorja odklopite negativni (–) in nato še pozitivni (+) kabel, kot prikazuje Diagram 10.

Odstranite 2 vijaka s prirobnico (5/16 x ¾"), s katerima je podstavek akumulatorja pritrjen na ogrodje, in 4 vijake torx (M6,0 x 22 mm), s katerimi je pritrjena desna stranska plošča, ter odstranite desno stransko ploščo (Diagram 11).
Note: Akumulator odstranite skupaj z desno stransko ploščo, kot prikazuje Diagram 11.


Odstranite 10 plastičnih zakovic in kabelsko vezico z vsake od gumijastih krovnih plošč ter odstranite gumijasti krovni plošči (Diagram 13).

Deli potrebni za ta postopek:
| Vpenjalo talne plošče | 2 |
| Vijaki s prirobnico (5/16 x 1") | 20 |
| Varovalna matica s prirobnico (5/16") | 20 |

Vpenjalo talne plošče namestite na stroj:
Prirobnici vpenjal talne plošče poravnajte s stranskim profilom ogrodja, sprednjim profilom talne plošče in zadnjim profilom ogrodja stroja (Diagram 15).
Vpenjalo talne plošče poravnajte vzporedno z dnom (Diagram 15).

Vpenjalo talne plošče z objemkami pritrdite na stranski profil ogrodja in profila talne plošče.
Vpenjalo talne plošče uporabite kot šablono označite mesta lukenj na stranskem profilu orodja in profilih talne plošče (Diagram 15, Diagram 16 in Diagram 17).


S stroja odstranite vpenjalo talne plošče.
S prebijalom označite 10 lukenj, ki ste jih označili v koraku 3 od Vrtanje v profile ogrodja.

V stranska profila in profila talne plošče na sredinski oznaki izvrtajte luknje z 8-mm (5/16") svedrom (Diagram 18).
Ponovite korake od 1 do 6 še za vpenjalo talne plošče na drugi strani stroja.
Luknje na vpenjalu talne plošče poravnajte z luknjami, ki ste jih izvrtali v stranska profila in profila talne plošče (Diagram 19).

Vpenjalo talne plošče pritrdite na stranski profil in profila talne plošče z 10 vijaki s prirobnico (5/16 x 1") in 10 maticami s prirobnico (5/16"), kot prikazuje Diagram 19.
Vijake s prirobnico in varovalne matice s prirobnico zategnite z zateznim momentom od 19,8 do 25,4 N∙m.
Ponovite korake od 2 do 3 še za vpenjalo talne plošče na drugi strani stroja.
Deli potrebni za ta postopek:
| Levi nosilec varnostnega loka ROPS | 1 |
| Desni nosilec varnostnega loka ROPS | 1 |
| Vijak s prirobnico (½ x 3") | 6 |
| Ploska podložka (½") | 10 |
| Varovalna matica (½") | 6 |
| Varnostni lok | 1 |
| Vijak s prirobnico (½ x 3½") | 4 |
| Varovalna matica (½") | 4 |
| Kabelska vezica | 2 |
| Plastična zakovica | 4 |
Pri vrtanju lukenj na desni strani okvirja električnega stroja bodite zelo previdni.
Če zavrtate pregloboko, lahko poškodujete akumulatorje ali druge sestavne dele.
Nosilec varnostnega loka ROPS poravnajte z luknjama za podnožjem sedežev in z luknjo na sprednjem delu ogrodja, kot prikazuje Diagram 20.

Z objemko pritrdite nosilec varnostnega loka ROPS.
Označite mesta lukenj na varnostnem loku ROPS (Diagram 20).
Varnostni lok ROPS uporabite kot šablono in v okvir izvrtajte 3 luknje (13,5 mm oz. 17/32") (Diagram 21).

Postopek ponovite še na drugi strani.
Gumijasti krovni plošči izrežite skladno z meritvami, ki jih navaja Diagram 22.
Note: Izreza na gumijastih krovnih ploščah bosta omogočila prostor za namestitev nosilcev varnostnega loka ROPS.

Vsako od gumijastih krovnih plošč pritrdite s predhodno odstranjenimi 10 plastičnimi zakovicami in kabelsko vezico (Diagram 23).
Note: Če so predhodno odstranjene zakovice poškodovane ali manjkajo, jih zamenjajte z zakovicami iz tega kompleta.

Stranski plošči obrežite skladno z meritvami, ki jih navaja Diagram 24.

Nosilec varnostnega loka ROPS pritrdite s 3 vijaki s prirobnico (½ x 3"), 5 ploskimi podložkami (½") in 3 varovalnimi maticami (½"), kot prikazuje Diagram 25.
Note: Pazite, da bosta 2 ploski podložki (½") nameščeni na zunanji strani, kot prikazuje Diagram 25.

Tri vijake s prirobnico (½ x 3") privijte z zateznim momentom od 94 do 108 N∙m.
Postopek ponovite še na drugi strani.
Eno stran varnostnega loka pritrdite na nosilec varnostnega loka ROPS z 2 vijakoma s prirobnico (½ x 3½") in 2 varovalnima maticama (½"), kot prikazuje Diagram 26.

Dva vijaka s prirobnico (½ x 3½") privijte z zateznim momentom od 94 do 108 N∙m.
Postopek ponovite še na drugi strani.
Deli potrebni za ta postopek:
| Varnostni pas | 2 |
| Zapah sedeža | 2 |
| Vijak s šestkotno glavo (7/16 x 1") | 4 |
| Ploska podložka(7/16") | 8 |
| Varovalna matica (7/16") | 4 |
Za električne stroje
Levo stransko ploščo pritrdite s 4 predhodno odstranjenimi vijaki torx (M6,0 x 22 mm), kot prikazuje Diagram 7.
Nosilec polnilnika pritrdite na levo stransko ploščo s 4 predhodno odstranjenimi vijaki torx (M6,0 x 22 mm), kot prikazuje Diagram 6.
Pritrdite polnilnik in kabel polnilnika na nosilec polnilnika (Diagram 5).
Korak 1 ponovite še na desni strani.
Za stroje z bencinskim motorjem
Vsako od stranskih plošč pritrdite s predhodno odstranjenimi vijaki torx (M6,0 x 22 mm), kot prikazujeta Diagram 9 in Diagram 11.
Rezervoar za gorivo pritrdite na podstavek rezervoarja za gorivo s prej odstranjenima vijakoma s prirobnico (Diagram 8).
Vpenjalno letev pritrdite na levo stransko ploščo s predhodno s odstranjenima 2 vijakoma (Diagram 8).
Priklopite oddušno cev in cev za gorivo na rezervoar za gorivo (Diagram 8).
Zapah sedeža pritrdite z vijakom s šestkotno glavo (7/16 x 1"), 2 ploskima podložkama (7/16") in varovalno matico (7/16"), kot prikazuje Diagram 27.

Vijak s šestkotno glavo (7/16 x 1") privijte z zateznim momentom od 68 do 81 N∙m.
Koraka 1 in 2 ponovite še za namestitev drugega zapaha sedeža.
Varnostni pas pritrdite z vijakom s šestkotno glavo (7/16 x 1"), 2 ploskima podložkama (7/16") in varovalno matico (7/16"), kot prikazuje Diagram 28.

Vijak s šestkotno glavo (7/16 x 1") privijte z zateznim momentom od 68 do 81 N∙m.
Koraka 4 in 5 ponovite še za namestitev drugega varnostnega pasu.
Deli potrebni za ta postopek:
| Levi podpornik vetrobranskega stekla | 1 |
| Desni podpornik vetrobranskega stekla | 1 |
| Sprednji podpornik | 1 |
| Zadnji podpornik ponjave | 1 |
| Levi sprednji montažni nosilec | 1 |
| Desni sprednji montažni nosilec | 1 |
| Levi zadnji montažni nosilec | 1 |
| Desni zadnji montažni nosilec | 1 |
| Leva zadnja vogalna vezna ploščica | 1 |
| Desna zadnja vogalna vezna ploščica | 1 |
| Leva sprednja vogalna vezna ploščica | 1 |
| Desna sprednja vogalna vezna ploščica | 1 |
| Sprednji prečnik | 1 |
| Profil prečnika | 2 |
| Matica s prirobnico (5/16") | 30 |
| Matica (¼") | 2 |
| Vijak s šestkotno glavo (¼ x 1½") | 2 |
| Nosilni vijak (5/16 x 1¾") | 16 |
| Vijak s šestkotno glavo in prirobnico (5/16 x 1") | 2 |
| Nosilni vijak (5/16 x 2¾") | 6 |
| Nosilni vijak (5/16 x 1") | 4 |
Note: Vijake in matice zategujte samo skladno z navodili.
Izvrtajte po 2 luknji (5/16") v zunanjo stran talne plošče na levi in desni strani stroja; upoštevajte mere, ki jih navaja Diagram 29.

Izvrtajte po 1 luknjo (5/16") v zunanjo stran talne plošče na levi in desni strani stroja; upoštevajte mere, ki jih navaja Diagram 30.

Srednji nosilec levega in desnega podpornika vetrobranskega stekla pritrdite v izvrtane luknje na stroju z 2 vijakoma s šestkotno glavo in prirobnico (5/16 x 1") in 2 maticama (5/16") (Diagram 31).

Spodnji nosilec levega in desnega podpornika vetrobranskega stekla pritrdite v luknje, ki ste jih na stroju izvrtali v koraku 1 (Diagram 32), s 4 nosilnimi vijaki (5/16 x 1") in 4 maticami s prirobnico (5/16").

Zadnji podpornik ponjave in zadnjo zaščitno mrežo pritrdite na varnostni lok z 2 nosilnima vijakoma (5/16 x 2¾") in 2 maticama s prirobnico (5/16") (Diagram 33).

S 4 vijaki (5/16 x 2¾") in 4 maticami (5/16") pritrdite zadnja montažna nosilca in zadnji vogalni vezni ploščici na varnostni lok (Diagram 34).

Zadnjo zaščitno mrež pritrdite na varnostni lok z 2 nosilnima vijakoma (5/16 x 2¾") in 2 maticama s prirobnico (5/16") (Diagram 34).
Ohlapno pritrdite prečnika na zadnja montažna nosilca in zadnji vogalni vezni ploščici s 4 nosilnimi vijaki (5/16 x 1¾") in 4 maticami s prirobnico (5/16"), kot prikazuje Diagram 35.

Ohlapno pritrdite sprednja montažna nosilca in sprednji vogalni vezni ploščici na prečnika in podpornika vetrobranskega stekla z 8 nosilnimi vijaki (5/16 x 1¾") in 8 maticami s prirobnico (5/16"), kot prikazuje Diagram 35.
Ohlapno pritrdite sprednji prečnik na zadnja montažna nosilca in zadnji vogalni vezni ploščici s 4 nosilnimi vijaki (5/16 x 1¾") in 4 maticami s prirobnico (5/16"), kot prikazuje Diagram 36.

Za pritrditev sprednjega podpornika na sprednji prečnik uporabite 2 vijaka s šestkotno glavo in prirobnico (¼ x 1½") in 2 matici (¼") (Diagram 37).

Privijte vse razrahljane vijake in matice.
Sklop sedeža potisnite na zatiče in spustite sklop sedeža (Diagram 65).

Deli potrebni za ta postopek:
| Sklop desnih vrat | 1 |
| Sklop levih vrat | 1 |
| Privez vrat | 2 |
| Tečaj desnih vrat | 2 |
| Tečaj levih vrat | 2 |
| Nosilni vijak (5/16 x 2¾") | 4 |
| Vijak z delnim navojem (5/16 x ½") | 4 |
| Distančnik | 4 |
| Matica s prirobnico (5/16") | 8 |
Pri izvajanju postopka v nadaljevanju glejte Diagram 39.
Tečaja levih in desnih vrat pritrdite na varnostni lok s 4 nosilnimi vijaki (5/16 x 2¾") in 4 maticami s prirobnico (5/16").
Note: S temi vijaki sta tudi leva in desna stran zadnje zaščitne mreže pritrjeni na varnostni lok.
Na vsak tečaj vrat namestite distančnik.
Vsak tečaj vrat rahlo namažite z mastjo.
Vsak sklop vrat namestite tako, da vrata nasadite na tečaje vrat.
Note: Prepričajte se, da se vrata neovirano premikajo. Zatič zapaha vrat nastavite tako, da bo na sredini ročaja ključavnice vrat.
S 4 vijaki z delnim navojem (5/16 x ½") in 4 maticami s prirobnico (5/16") pritrdite priveze vrat na sklopa vrat in prečnika.

Odpnite gumijasta zapaha na vsaki strani pokrova motorja (Diagram 40).

Pokrov obrnite naprej.
Držite pokrov motorja in hkrati potisnite tečajni zatič navznoter in premaknite pokrov motorja nazaj, da varovalni sornik pokrova motorja odmaknete od tečaja (Diagram 41).

Ponovite korak 3 še na drugi strani pokrova motorja.
Odstranite pokrov motorja s stroja.
Podprite odbijač in odstranite 8 vijakov s prirobnico, s katerimi je odbijač pritrjen na nosilca odbijača in žarometov (Diagram 42).

Odbijač odstranite s stroja.
Deli potrebni za ta postopek:
| Zaščitna mrežica žarometa | 2 |
| Vijak s prirobnico (5/16 x ⅝") | 4 |
2-delni vtič kabelskega snopa stroja odklopite iz 2-delne vtičnice na zadnji strani žarometa (Diagram 43).
Note: Sponke shranite za kasnejšo montažo.

Odstranite 3 sponke s 3 nastavitvenih matic žarometa in žaromet odstranite z nosilca žarometa (Diagram 43).
Na montažnih nosilcih žarometov preverite luknje za pritrditev zaščitnih mrežic žarometov.
Če montažna nosilca žarometov nimata lukenj za pritrditev, skladno z meritvami, ki jih navaja Diagram 44, izvrtajte 2 luknji po 11 mm (7/16") v vsakega od montažnih nosilcev žarometov.

Zaščitni mrežici žarometov namestite na žarometa, kot prikazuje Diagram 45.

3 nastavitvene matice žarometov poravnajte na luknje v montažnem nosilcu žarometov in jih pritrdite s sponkami (Diagram 43), ki ste jih odstranili v koraku 2.

2-delni vtič kabelskega snopa stroja priklopite v 2-delno vtičnico na zadnji strani žarometa (Diagram 46).
Zaščitni mrežici žarometov pritrdite na montažna nosilca žarometov (Diagram 45) s 4 vijaki s prirobnico (5/16 x ⅝").

Deli potrebni za ta postopek:
| Nosilec pobiralca žogic | 1 |
| Spodnji nosilec | 1 |
| Vijak s prirobnico (⅜ x 1") | 14 |
| Varovalna matica s prirobnico (⅜") | 14 |
Nosilec pobiralca žogic pritrdite na podpornik odbijača, kot prikazuje na Diagram 48.

S 4 vijaki s prirobnico (⅜ x 1") in 4 maticami s prirobnico (⅜") ohlapno pritrdite spodnji nosilec na montažni nosilec pobiralca žogic (Diagram 49).

Poravnajte skrajni zadnji rob spodnjega nosilca z robom odprtine za dostop na plošči sredinskega profila (Diagram 50).

Označite mesta 4 lukenj na spodnjem nosilcu na plošči srednjega profila, kot prikazuje Diagram 50.
Odstranite 4 vijake s prirobnico (⅜ x 1"), 4 matice s prirobnico (⅜") in spodnji nosilec z montažnega nosilca pobiralca žogic (Diagram 49).
S prebijalom preluknjajte 4 oznake, ki ste jih naredili na plošči sredinskega profila v koraku 4.
V ploščo sredinskega profila izvrtajte 4 luknje velikosti 10 mm (⅜") na oznakah, ki ste jih naredili s prebijalom v koraku 6, kot prikazuje Diagram 51.

Z 8 vijaki s prirobnico (⅜ x 1") in 8 maticami s prirobnico (⅜") ohlapno pritrdite spodnji nosilec, montažni nosilec pobiralca žogic in ploščo sredinskega profila, kot prikazuje Diagram 52.

Označite mesta 6 lukenj na spodnjem nosilcu na plošči srednjega profila, kot prikazujejo Diagram 53, Diagram 54 in Diagram 55.



Odstranite 8 vijakov s prirobnico (⅜ x 1"), 8 matic s prirobnico (⅜"), spodnji nosilec in montažni nosilec pobiralca žogic (Diagram 52).
S prebijalom preluknjajte 6 oznak, ki ste jih naredili na plošči sredinskega profila v koraku 2.
V ploščo sredinskega profila izvrtajte 6 lukenj velikosti 10 mm (⅜") na oznakah, ki ste jih naredili s prebijalom v koraku 4.

Na zadnji strani odbijača označite mesto 2,54 cm nad spodnjim delom odbijača, na predelu sredinske vdolbine, kot prikazuje Diagram 60.

Izrežite označeno območje, da ustvarite prostor za pritrditev pobiralca žogic.
Podprite odbijač tako, da bo z nosilcem odbijača in žarometov, kot prikazuje Diagram 42.
Odbijač pritrdite z 8 vijaki s prirobnico, ki ste jih odstranili v Odstranjevanje pokrova motorja in odbijača.
Sprednji del pokrova motorja obrnite naprej in poravnajte zatič na sprednjem delu pokrova motorja z ustreznim vzmetnim zapahom, kot prikazuje Diagram 41, Odstranjevanje pokrova motorja in odbijača.
Varovalni sornik potisnite v zarezo tako, da ga pritrdite s tečajni zatičem.
Ponovite korak 2 še na drugi strani pokrova motorja.
Zaprite pokrov motorja in ga pritrdite z gumijastima zapahoma na obeh straneh pokrova motorja, kot prikazuje Diagram 40.
Deli potrebni za ta postopek:
| Vetrobransko steklo | 1 |
| Vijak z delnim navojem (5/16 x 1¼") | 8 |
| Vijak s šestkotno glavo (¼ x 1½") | 5 |
| Gumijasta puša | 16 |
| Rezervna podložka | 8 |
| Sklop podpornikov vetrobranskega stekla | 1 |
| Nosilec vetrobranskega stekla | 1 |
| Matica (5/16") | 8 |
| Matica (¼") | 5 |
Za pritrditev nosilca vetrobranskega stekla na sklop podpornikov vetrobranskega stekla uporabite 1 vijak s šestkotno glavo in prirobnico (¼ x 1½") in 1 matico (¼") (Diagram 61).

Za pritrditev sklopa podpornikov vetrobranskega stekla na levi in desni podpornik vetrobranskega stekla uporabite 4 vijake s šestkotno glavo in prirobnico (¼ x 1½") in 4 matice (¼") (Diagram 61).
Vetrobransko steklo pritrdite z 8 vijaki z delnim navojem (5/16 x 1¼"), 8 rezervnimi podložkami, 16 gumijastimi pušami in 8 maticami (5/16"), kot prikazuje Diagram 62.

Deli potrebni za ta postopek:
| Zatič zapaha | 2 |
| Potisna podložka | 4 |
| Varovalo zatiča | 2 |
| Protimatica | 2 |
Poravnajte zatič zapaha in varovalo zatiča z odprtino na nosilcu, kot prikazuje Diagram 63.
Vstavite zatič zapaha (najprej brez podložk) v varovalo zatiča (Diagram 63).
Note: Če zatič zapaha ni na sredini ključavnice, dodajte 1 ali 2 potisni podložki. S pomočjo potisnih podložk poravnajte zatič zapaha z zaklepom vratne kljuke.

Poravnajte zatič zapaha in protimatico na zadnji strani odprtine na montažnem nosilcu (Diagram 63).
Ročno zategnite protimatico na zatič zapaha (Diagram 63).
Deli potrebni za ta postopek:
| Senčnik | 1 |
| Sponka | 2 |
| Tesnilna podložka | 4 |
| Vijak s šestkotno glavo in prirobnico (¼ x 1") | 4 |
| Torna podložka | 2 |
| Plastična podložka | 4 |
| Puša s prirobnico | 2 |
Senčnik namestite na sprednji plošči z 2 sponkama, 2 tesnilnima podložkama in 2 vijakoma s šestkotno glavo s prirobnico (¼ x 1"), kot prikazuje Diagram 64.
Important: Pred namestitvijo vijake s šestkotno glavo s prirobnico namažite s sredstvom za blokiranje navojev.

Senčnik namestite na zadnji prečnik z 2 vijakoma s šestkotno glavo s prirobnico (¼ x 1"), 2 tesnilnima podložkama, 2 tornima podložkama, 4 plastičnimi podložkami in 2 pušama s prirobnico (Diagram 65).
Important: Pred namestitvijo vijake s šestkotno glavo s prirobnico namažite s sredstvom za blokiranje navojev.
Important: Prepričajte se, da so plastične podložke nameščene na zgornji in spodnji strani senčnika, saj s tem preprečite poškodbe senčnika.

Za električne stroje
Priključite akumulator; glejte uporabniški priročnik stroja.
Note: Natančno upoštevajte postopek za priključitev akumulatorjev. Najprej priključite glavni pozitivni kabel akumulatorja (rdeči), nato pa glavni negativni kabel akumulatorja (črni).
Za stroje z bencinskim motorjem
Podnožje akumulatorja na desni strani pritrdite s prej odstranjenima 2 vijakoma s prirobnico (5/16 x ¾"), kot prikazuje Diagram 11, Odstranjevanje stranskih plošč.
Priključite pozitivni (+) kabel akumulatorja na akumulator z vijakom in matico (Diagram 10).
Priključite negativni (–) kabel akumulatorja na akumulator z vijakom in matico (Diagram 10).