Important: Cu acest set nu puteți să utilizați sau să instalați setul de protecție pentru perie (model 07145).
Note: Determinaţi partea stângă şi dreaptă a maşinii din poziţia de operare normală.
Parcați mașina pe o suprafață uniformă.
Cuplați frâna de parcare.
Opriți motorul și scoateți cheia.

Împingeți ansamblul scaunului înainte, în poziția ridicată.
Glisați ansamblul scaunului în lateral, în afara știfturilor, și ridicați ansamblul scaunului în sus (Figura 2).

Deconectați bateriile; consultați Manualul operatorului aferent mașinii dumneavoastră.
Note: Respectați întocmai procedura de deconectare a bateriilor. Deconectați cablul negativ principal al bateriei (negru), apoi deconectați cablul pozitiv principal al bateriei (roșu).
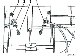
Îndepărtați încărcătorul și cablul încărcătorului din suportul încărcătorului (Figura 5).

Îndepărtați cele 4 șuruburi cu cap imbus (M6,0 x 22 mm) fixând suportul încărcătorului la panoul lateral din stânga (Figura 6).

Scoateți cele 4 șuruburi cu cap imbus (M6,0 x 22 mm) din panoul lateral din stânga și îndepărtați-le (Figura 7).

Repetați pașii 5 pe partea dreaptă.
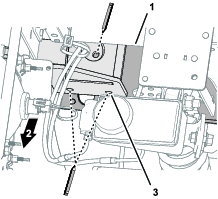
Deconectați tubul de aerisire și conducta de combustibil de la rezervorul de combustibil (Figura 8).
În anumite condiții, combustibilul este extrem de inflamabil și foarte exploziv. Un incendiu sau o explozie cauzată de combustibil vă poate cauza arsuri dumneavoastră și celor din jur și poate provoca pagube materiale.
Goliți combustibilul din rezervor când motorul este rece. Faceți acest lucru la exterior, într-un spațiu deschis. Ștergeți orice urme de combustibil vărsat.
Nu fumați niciodată când manipulați combustibil și stați departe de flăcări deschise sau de locuri în care o scânteie ar putea aprinde vaporii de combustibil.
Scoateți cele 2 șuruburi care fixează elementul de fixare la panoul lateral din stânga și îndepărtați elementul de fixare (Figura 8).
Scoateți șurubul cu guler care fixează rezervorul de combustibil pe compartimentul acestuia și îndepărtați rezervorul de combustibil (Figura 8).

Scoateți cele 6 șuruburi cu cap imbus (M6,0 x 22 mm) de la panoul lateral din stânga și îndepărtați panoul lateral (Figura 9).

Deconectați de la baterie cablul negativ (–) și apoi cablul pozitiv (+) după cum este indicat în Figura 10.

Scoateți cele 2 șuruburi cu guler (5/16 x ¾") care fixează compartimentul bateriei pe cadru și cele 4 șuruburi cu cap imbus (M6,0 x 22 mm) care fixează panoul lateral din dreapta, și îndepărtați panoul lateral din dreapta (Figura 11).
Note: Bateria se scoate împreună cu panoul lateral din dreapta așa după cum este indicat în Figura 11.


Îndepărtați cele 10 nituri de plastic și colierul pentru cablu de la fiecare capac de cauciuc și îndepărtați capacele de cauciuc (Figura 13).

Piese solicitate pentru această procedură:
| Bară de suport pentru podea | 2 |
| Șuruburi cu guler (5/16 x 1") | 20 |
| Contrapiuliță cu guler (5/16") | 20 |

Aliniați bara de suport pentru podea la mașină, după cum urmează:
Aliniați flanșele barei de suport pentru podea la același nivel cu canalul cadrului lateral, canalul podelei anterioare și canalul cadrului posterior al mașinii (Figura 15).
Aliniați bara de suport pentru podea paralel cu podeaua (Figura 15).

Prindeți bara de suport pentru podea de canalul cadrului lateral și canalele podelei.
Utilizând bara de suport podea ca șablon, marcați locațiile orificiilor pe canalul cadrului lateral și pe canalele podelei (Figura 15, Figura 16, și Figura 17).


Îndepărtați bara de suport pentru podea de la mașină.
Perforați cele 10 marcaje pe care le-ați realizat la pasul 3 din Realizarea orificiilor pentru canalele cadrului.

Realizați orificii în canalele laterale și de la nivelul podelei la marcajele perforate cu un vârf de burghiu de 8 mm (Figura 18).
Repetați pașii 1 prin 6 pentru bara de suport pentru podea din partea cealaltă a mașinii.
Aliniați orificiile din bara de suport pentru podea cu orificiile pe care le-ați realizat în canalele laterale și canalele de la nivelul podelei (Figura 19).

Montați bara de suport pentru podea la canalele laterale și canalele de la nivelul podelei cu 10 șuruburi cu guler (5/16 x 1") și 10 contrapiulițe cu guler (5/16") după cum este indicat în Figura 19.
Strângeți șuruburile cu guler și contrapiulițele cu guler la 19,8 – 25,4 N·m.
Repetați pașii 2 prin 3 pentru bara de suport pentru podea din partea cealaltă a mașinii.
Piese solicitate pentru această procedură:
| Suport ROPS stânga | 1 |
| Suport ROPS dreapta | 1 |
| Șurub cu guler (½ x 3") | 6 |
| Șaibă plată (½") | 10 |
| Contrapiuliță (½") | 6 |
| Bară antiruliu | 1 |
| Șurub cu guler (½ x 3 ½") | 4 |
| Contrapiuliță (½") | 4 |
| Colier de cablu | 2 |
| Nit de plastic | 4 |
Aveți grijă când efectuați orificiile în partea dreaptă a cadrului la o mașină electrică.
Dacă găuriți prea mult, puteți deteriora bateriile sau alte componente.
Aliniați suportul ROPS cu cele 2 orificii în spatele bazei scaunului și orificiul orientat către partea din față a șinei cadrului după cum este indicat în Figura 20.

Utilizând o clemă, fixați suportul ROPS la loc.
Marcați locațiile orificiilor pe suportul ROPS (Figura 20).
Utilizând suportul ROPS drept ghid, realizați 3 orificii (13,5 mm) în cadru (Figura 21).

Repetați această procedură în partea cealaltă.
Tăiați capacele de cauciuc utilizând măsurătorile prezentate în Figura 22.
Note: Tăieturile efectuate în capacul de cauciuc lasă spațiu pentru instalarea suporturilor ROPS.

Instalați fiecare capac de cauciuc utilizând cele 10 nituri de plastic îndepărtate anterior și un colier pentru cablu (Figura 23).
Note: În cazul în care niturile care au fost îndepărtate sunt deteriorate sau lipsesc, înlocuiți-le cu niturile furnizate în acest set.

Ajustați panourile laterale utilizând măsurătorile prezentate în Figura 24.

Instalați un suport ROPS utilizând 3 șuruburi cu guler (½ x 3"), 5 șaibe plate (½") și 3 contrapiulițe (½") după cum este indicat în Figura 25.
Note: Asigurați-vă că instalați cele 2 șaibe plate (½") la exterior după cum este indicat în Figura 25.

Strângeți cele 3 șuruburi cu guler (½ x 3 ") la un cuplu de 94 – 108 N∙m.
Repetați această procedură în partea cealaltă.
Fixați o parte a barei antiruliu la un suport ROPS utilizând 2 șuruburi cu guler (½ x 3 –½") și 2 contrapiulițe (½") după cum este indicat în Figura 26.

Strângeți cele 2 șuruburi cu guler (½ x 3 ½") la un cuplu de 94 – 108 N∙m.
Repetați această procedură în partea cealaltă.
Piese solicitate pentru această procedură:
| Centură de siguranță | 2 |
| Element de fixare scaun | 2 |
| Șurub cu cap hexagonal (7/16 x 1") | 4 |
| Şaibă plată(7/16") | 8 |
| Contrapiuliță (7/16") | 4 |
Pentru mașini electrice
Instalați panoul lateral din stânga utilizând cele 4 șuruburi cu cap imbus (M6,0 x 22 mm) îndepărtate anterior după cum este indicat în Figura 7.
Fixați suportul încărcătorului la panoul lateral din stânga utilizând cele 4 șuruburi cu cap imbus (M6,0 x 22 mm) îndepărtate anterior după cum este indicat în Figura 6.
Fixați încărcătorul și cablul încărcătorului la suportul încărcătorului (Figura 5).
Repetați pașii 1 pe partea dreaptă.
Pentru mașini pe benzină
Instalați fiecare panou lateral utilizând șuruburile cu cap imbus (M6,0 x 22 mm) îndepărtate anterior după cum este indicat în Figura 9 și Figura 11.
Fixați rezervorul de combustibil în compartimentul acestuia utilizând șurubul cu guler îndepărtat anterior (Figura 8).
Fixați elementul de fixare în panoul lateral din stânga utilizând cele 2 șuruburi îndepărtate anterior (Figura 8).
Conectați tubul de aerisire și conducta de combustibil la rezervorul de combustibil (Figura 8).
Instalați elementul de fixare a scaunului utilizând un șurub cu cap hexagonal (7/16 x 1"), 2 șaibe plate (7/16") și o contrapiuliță (7/16") după cum este indicat în Figura 27.

Strângeți șurubul cu cap hexagonal (7/16 x 1") la un cuplu de 68 – 81 N∙m.
Repetați pașii 1 și 2 pentru a instala celălalt element de fixare a scaunului.
Instalați o centură de siguranță utilizând un șurub cu cap hexagonal (7/16 x 1"), 2 șaibe plate (7/16") și o contrapiuliță (7/16")după cum este indicat în Figura 28.

Strângeți șurubul cu cap hexagonal (7/16 x 1") la un cuplu de 68 – 81 N∙m.
Repetați pașii 4 și 5 pentru a instala cealaltă centură de siguranță.
Piese solicitate pentru această procedură:
| Suportul din partea stângă a parbrizului | 1 |
| Suportul din partea dreaptă a parbrizului | 1 |
| Tijă de sprijin frontală | 1 |
| Suport apărătoare posterioară | 1 |
| Consolă de montare frontală, stânga | 1 |
| Consolă de montare frontală, dreapta | 1 |
| Consolă de montare posterioară, stânga | 1 |
| Consolă de montare posterioară, dreapta | 1 |
| Guseu colț posterior, stânga | 1 |
| Guseu colț posterior, dreapta | 1 |
| Guseu colț frontal, stânga | 1 |
| Guseu colț frontal, dreapta | 1 |
| Bară transversală frontală | 1 |
| Tub bară transversală | 2 |
| Piuliță cu guler (5/16") | 30 |
| Piuliță (¼") | 2 |
| Șurub cu guler și cap hexagonal (¼ × 1 ½") | 2 |
| Șurub de fixare (5/16 x 1 ¾") | 16 |
| Șurub cu guler și cap hexagonal (5/16 x 1") | 2 |
| Șurub de fixare (5/16 x 2 ¾") | 6 |
| Șurub de fixare (5/16 x 1") | 4 |
Note: Nu strângeți niciun element de fixare cu excepția cazului în care este indicat să faceți acest lucru.
Utilizând dimensiunile indicate în Figura 29, realizați 2 orificii (5/16") în exteriorul panoului de podea în partea stângă și partea dreaptă a mașinii.

Folosind dimensiunile indicate în Figura 30, realizați un orificiu (5/16") în exteriorul plăcii pentru picioare în partea stângă și partea dreaptă a mașinii.

Fixați la nivelul mașinii suportul din mijloc al suporturilor din partea stângă și din partea dreaptă a parbrizului utilizând 2 șuruburi cu guler și cap hexagonal (5/16 x 1") și 2 piulițe (5/16"), în orificiile pe care le-ați realizat (Figura 31).

Fixați la nivelul mașinii suportul inferior al suporturilor din partea stângă și din partea dreaptă a parbrizului utilizând 4 șuruburi de fixare (5/16 x 1") și 4 piulițe cu guler (5/16"), în orificiile pe care le-ați realizat la pasul 1 (Figura 32).

Utilizați 2 șuruburi de fixare (5/16 x 2 ¾") și două piulițe cu guler (5/16") pentru a fixa suportul apărătoarei posterioare și ecranul din spate al barei antiruliu (Figura 33).

Utilizați 4 șuruburi de fixare (5/16 x 2 ¾") și 4 piulițe (5/16") pentru a fixa consolele de montare posterioare și guseurile de colț posterioare la bara antiruliu (Figura 34).

Instalați 2 șuruburi de fixare (5/16 x 2 ¾") și 2 piulițe (5/16") pentru a fixa ecranul din spate la bara antiruliu (Figura 34)
Instalați fără a strânge tuburile barei transversale la consolele de montare posterioare și guseurile de colț posterioare utilizând 4 șuruburi de fixare (5/16 x 1 ¾") și 4 piulițe cu guler (5/16") după cum este indicat în Figura 35.

Instalați fără a strânge consolele de montare frontale și guseurile de colț frontale la tuburile barei transversale și suporturile pentru parbriz utilizând 8 șuruburi de fixare (5/16 x 1 ¾") și 8 piulițe cu guler (5/16") după cum este indicat în Figura 35.
Instalați fără a strânge bara transversală frontală la consolele de montare posterioare și guseurile de colț utilizând 4 șuruburi de fixare (5/16 x 1 ¾") și 4 piulițe cu guler (5/16") după cum este indicat în Figura 36.

Utilizați 2 șuruburi cu guler și cap hexagonal (¼ x 1 ½") și 2 piulițe (¼") pentru a fixa suportul frontal la bara transversală frontală (Figura 37).

Strângeți orice elemente de fixare slăbite.
Glisați ansamblul scaunului pe știfturi și coborâți ansamblul scaunului (Figura 65).

Piese solicitate pentru această procedură:
| Ansamblu ușă partea dreaptă | 1 |
| Ansamblu ușă partea stângă | 1 |
| Prindere suport tether pentru ușă | 2 |
| Balama ușă partea dreaptă | 2 |
| Balama ușă partea stângă | 2 |
| Șurub de fixare (5/16 x 2 ¾") | 4 |
| Șurub cu umăr (5/16 x ½") | 4 |
| Distanțier | 4 |
| Piuliță cu guler (5/16") | 8 |
Pentru efectuarea pașilor următori, consultați Figura 39.
Utilizați 4 șuruburi de fixare (5/16 x 2 ¾") și 4 piulițe cu guler (5/16") pentru a fixa balamalele ușilor din partea dreaptă și partea stângă la bara antiruliu.
Note: Această componentă fixează, de asemenea, părțile din dreapta și din stânga ale ecranului din spate de bara antiruliu.
Montați un distanțier pe fiecare balama a ușii.
Aplicați un strat subțire de lubrifiant pe fiecare balama a ușii.
Montați fiecare ansamblu al ușii prin glisarea ușilor pe balamalele acestora.
Note: Asigurați-vă că fiecare ușă se balansează liber. Ajustați știftul de blocare al ușii astfel încât acesta să fie centrat în mânerul elementului de fixare
Utilizați 4 șuruburi cu umăr (5/16 x ½") și 4 piulițe cu guler (5/16") pentru a fixa elementele de prindere ale suportului tether la nivelul ușii la ansamblurile ușii și la tuburile barei transversale.

Ridicați mânerul clicheților din cauciuc de pe fiecare parte a capotei (Figura 40).

Rotiți capota spre înainte.
În timp ce susțineți capota, împingeți clichetul pivotant spre interior și mișcați capota spre înainte până când știftul cu cap și gaură pentru cui spintecat al capotei eliberează clichetul (Figura 41).

Repetați pasul 3 pentru cealaltă parte a capotei.
Îndepărtați capota de la mașină.
În timp ce susțineți bara de protecție, îndepărtați cele 8 șuruburi cu guler care fixează bara de protecție de suporturile acesteia și consolele farurilor (Figura 42)

Îndepărtați bara de protecție de la mașină.
Piese solicitate pentru această procedură:
| Apărătoare pentru faruri | 2 |
| Șurub cu guler (5/16 x ⅝") | 4 |
Îndepărtați conectorul cu 2 mufe al fasciculului de cabluri al mașinii de la conectorul cu 2 pini din spatele farului (Figura 43).
Note: Păstrați clemele pentru asamblare.

Îndepărtați cele 3 cleme de la cele 3 piulițe de reglare a farului și îndepărtați farul din consola acestuia (Figura 43).
Verificați dacă există orificii de montare a apărătorii pentru far în consolele de montare ale farurilor.
În cazul în care consolele de montare ale farurilor nu sunt prevăzute cu orificii de montare, utilizați măsurătorile din Figura 44 pentru a realiza 2 orificii – 11 mm în fiecare dintre consolele de montare ale farurilor.

Asamblați apărătoarele pentru faruri la nivelul farurilor după cum este indicat în Figura 45.

Aliniați cele 3 piulițe de reglare a farului prin orificiile din suportul de montare a farului și fixați piulițele cu clemele (Figura 43) pe care le-ați îndepărtat la pasul 2.

Conectați conectorul cu 2 pini al fasciculului de cabluri al mașinii la conectorul cu 2 pini din spatele farului.(Figura 46).
Fixați apărătoarea farului la consolele de montare ale farurilor (Figura 45) cu cele 4 șuruburi cu guler (5/16 x ⅝").

Piese solicitate pentru această procedură:
| Suport de colectare a mingiilor | 1 |
| Suport inferior | 1 |
| Șurub cu guler (⅜ x 1") | 14 |
| Contrapiuliță cu guler (⅜") | 14 |
Montați suportul de colectare a mingiilor pe suportul barei de protecție după cum este indicat în Figura 48.

Instalați fără a strânge suportul inferior pe suportul de colectare a mingiilor (Figura 49) folosind 4 șuruburi cu guler (⅜ x 1") și 4 contrapiulițe cu guler (⅜").

Aliniați marginea cea mai din spate a suportului inferior cu marginea orificiului de acces din placa de canal central (Figura 50).

Marcați 4 locații pentru orificii ale suportul inferior pe placa de canal central după cum este indicat în Figura 50.
Îndepărtați cele 4 șuruburi cu guler (⅜ x 1"), cele 4 contrapiulițe cu guler (⅜") și suportul inferior de la suportul de colectare a mingiilor (Figura 49).
Găuriți cele 4 marcaje pe care le-ați realizat pe placa de canal central, la pasul 4.
Realizați 4 găuri de 10 mm în placa de canal central, în marcajele găurite la pasul 6 după cum este indicat în Figura 51.

Instalați fără a strânge suportul inferior, suportul de colectare a mingiilor și placa de canal central după cum este indicat în Figura 52 folosind 8 șuruburi cu guler (⅜ x 1") și 8 contrapiulițe cu guler (⅜").

Marcați cele 6 locații ale suportului inferior pe placa de canal central după cum este indicat în figurile Figura 53, Figura 54, și Figura 55.



Îndepărtați cele 8 șuruburi cu guler (⅜ x 1 "), cele 8 contrapiulițe cu guler (⅜ ") și suportul inferior de la suportul de colectare a mingiilor (Figura 52).
Găuriți cele 6 marcaje pe care le-ați realizat pe placa de canal central, la pasul 2.
Realizați 6 găuri de 10 mm în placa de canal central, în marcajele găurite la pasul 4.

Pe partea din spate a barei de protecție, efectuați un marcaj la o distanță de 1" deasupra părții inferioare a acesteia, în zona centrală denivelată după cum este indicat în Figura 60.

Decupați zona marcată pentru a face loc suportului de colectare a mingiilor.
Fixați bara de protecție astfel încât să se alinieze cu bara de protecție și suportul farului după cum este indicat în Figura 42.
Montați bara de protecție cu cele 8 șuruburi cu guler care au fost îndepărtate în Îndepărtarea capotei și a barei de protecție.
Cu partea din față a capotei rotită în față, aliniați un știft cu cap și gaură pentru cui spintecat în partea din față a capotei cu închizătorul cu arc corespunzător după cum este indicat în Figura 41 din Îndepărtarea capotei și a barei de protecție.
Glisați știftul cu cap și gaură pentru cui spintecat în interiorul canelurii astfel încât să fie fixat clichetul pivotant.
Repetați pasul 2 pentru cealaltă parte a capotei.
Coborâți capota și fixați-o cu clicheții de cauciuc de pe fiecare parte a capotei, după cum este indicat în Figura 40.
Piese solicitate pentru această procedură:
| Parbriz | 1 |
| Șurub cu umăr (5/16 x 1 ¼") | 8 |
| Șurub cu guler și cap hexagonal (¼ × 1 ½") | 5 |
| Bucșă din cauciuc | 16 |
| Șaibă de rezervă | 8 |
| Ansamblu de suport pentru parbriz | 1 |
| Suport pentru parbriz | 1 |
| Piuliță (5/16") | 8 |
| Piuliță (¼") | 5 |
Utilizați 1 șurub cu guler și cap hexagonal (¼ x 1 ½") și 1 piuliță (¼") pentru a fixa suportul pentru parbriz la ansamblul suportului pentru parbriz (Figura 61).

Utilizați 4 șuruburi cu guler și cap hexagonal (¼ x 1 ½") și 4 piulițe (¼") pentru a fixa ansamblul suportului pentru parbriz la suporturile din partea dreaptă și partea stângă a parbrizului (Figura 61).
Instalați parbrizul utilizând 8 șuruburi cu umăr (5/16 x 1 ¼"), 8 șaibe de rezervă, 16 bucșe din cauciuc și 8 piulițe (5/16") după cum este indicat în Figura 62.

Piese solicitate pentru această procedură:
| Știft de blocare | 2 |
| Șaibă de presiune | 4 |
| Știft de protecție | 2 |
| Contrapiuliță | 2 |
Aliniați știftul de blocare și știftul de protecție cu deschiderea consolei de montare după cum este indicat în Figura 63.
Introduceți știftul de blocare (mai întâi fără șaibe) în știftul de protecție (Figura 63).
Note: Dacă știftul de blocare nu este centrat în elementul de fixare a ușii, adăugați 1 sau 2 dintre șaibele de presiune. Utilizați șaibele de presiune pentru a alinia știftul de blocare la elementul de blocare a mânerului ușii.

Aliniați știftul de blocare și contrapiulița pe partea din spate a deschiderii de la consola de montare (Figura 63).
Strângeți cu mâna contrapiulița pe știftul de blocare (Figura 63).
Piese solicitate pentru această procedură:
| Parasolar | 1 |
| Clemă | 2 |
| Șaibă de etanșare | 4 |
| Șurub cu guler și cap hexagonal (1/4 x 1") | 4 |
| Șaibă de frecare | 2 |
| Șaibă din plastic | 4 |
| Bucșă cu flanșă | 2 |
Instalați parasolarul pe plăcile frontale folosind 2 cleme, 2 șaibe de etanșare și 2 șuruburi cu guler și cap hexagonal (¼ x 1") după cum este indicat în Figura 64.
Important: Aplicați agent de blocare a filetului pe șuruburile cu guler și cap hexagonal, înainte de instalare.

Montați parasolarul la tubul posterior ale barei transversale utilizând 2 șuruburi cu guler și cap hexagonal (¼ x 1"), 2 șaibe de etanșare, 2 șaibe de frecare, 4 șaibe de plastic, și 2 bucșe cu flanșă (Figura 65).
Important: Aplicați agent de blocare a filetului pe șuruburile cu guler și cap hexagonal, înainte de instalare.
Important: Asigurați-vă că șaibele de plastic sunt instalate pe partea superioară și inferioară a parasolarului, pentru a preveni deteriorarea parasolarului.

Pentru mașini electrice
Conectați bateria; consultați Manualul operatorului mașinii dumneavoastră.
Note: Respectați întocmai procedura de conectare a bateriilor. Conectați cablul principal pozitiv al bateriei (roșu), apoi conectați cablul principal negativ al bateriei (negru).
Pentru mașini pe benzină
Fixați baza bateriei pe partea dreaptă utilizând cele 2 șuruburi cu guler (5/16 x ¾") îndepărtate anterior după cum este indicat în Figura 11 din Îndepărtarea panourilor laterale.
Conectați cablul pozitiv (+) al bateriei la baterie utilizând șurubul și piulița (Figura 10).
Conectați cablul negativ (–) al bateriei la baterie utilizând șurubul și piulița (Figura 10).