| 유지보수 서비스 간격 | 유지보수 절차 |
|---|---|
| 매번 사용하기 전 또는 매일 |
|
이 장비는 승용식, 로터리 블레이드 잔디 예초기이며, 상업적인 작업에서 전문가가 사용하는 장비입니다. 기본적으로 공원, 경기장 및 상업지의 잘 관리된 잔디를 깎는 용도로 설계되었습니다. 이 제품을 지정되지 않은 용도로 사용하면 작업자나 주변 사람들이 위험해질 수 있습니다.
이 정보를 주의 깊게 읽고 제품을 제대로 조작 및 유지관리하는 방법과 부상 및 제품 손상을 방지하는 방법에 대해 익히십시오. 사용자는 제품을 제대로 안전하게 조작해야 할 책임이 있습니다.
제품 안전성과 사용법 교육 자료, 액세서리 관련 정보 등이 필요하거나 판매점 연락처 정보를 얻거나 제품을 등록하려면 www.Toro.com을 방문하십시오.
서비스, Toro 순정 부품 또는 추가 정보가 필요하면 지정 서비스점이나 Toro 고객 서비스에 연락하여 제품의 모델 번호와 일련 번호를 알려 주십시오. 그림 1은 제품의 우측 전면 프레임에 있는 모델번호와 일련번호 위치를 보여 줍니다. 이들 번호를 다음 칸에 적어 두십시오.
Important: 모바일 기기에서는 일련번호판(장착한 경우)의 QR 코드를 스캔하여 보증, 부품 및 기타 제품 정보를 액세스할 수 있습니다.

본 설명서는 잠재적인 위험에 대해 설명하고 있으며, 권장 예방 조치를 따르지 않을 경우 심각한 부상이나 사망을 초래할 수 있는 위험에 대해서는 안전 경고 기호(그림 2)로 표시합니다.

본 설명서에서는 2가지 단어를 사용하여 정보를 강조합니다. 중요는 특별한 기계적 정보에 대한 주의를 환기시키며 참고는 특별한 주의를 기울일 필요가 있는 일반 정보를 강조합니다.
장비에 포함된 엔진 제조사의 정보를 참조하십시오.
이 제품으로 인해 손이나 발이 절단될 수 있으며 물체가 튕겨나올 수도 있습니다. 항상 모든 안전 지침을 준수하여 중상을 방지하십시오.
엔진을 시동하기 전에 이 사용 설명서의 내용을 읽고 숙지하십시오.
장비를 작동하는 동안에는 온전히 주의를 기울이십시오. 주의력을 산만하게 하는 활동을 하면, 부상 또는 재산 피해가 발생할 수 있습니다.
장비에 모든 보호 장치 및 기타 안전 보호 장치가 제자리에 장착되어 제대로 작동하지 않는 상태에서는 장비를 운전하지 마십시오.
손과 발이 회전하는 부품에 닿지 않게 하십시오. 배출구에서 거리를 유지하십시오.
주변 사람들과 아이들은 작업 공간에 들어오지 못하게 하십시오. 절대로 아이들이 장비를 작동하게 하지 마십시오.
엔진을 끄고 키를 뺀 다음 모든 움직임이 멈출 때까지 기다려 운전석에서 내리십시오. 장비가 식은 후에 장비를 조정, 정비, 청소 또는 보관하십시오.
이 장비를 잘못 사용하거나 정비하면 사람이 다치는 사고가 생길 수 있습니다. 부상 위험을 줄이려면 여기에 나와
있는 안전 지침을 따르고 주의, 경고 또는 위험과 같은 개인 안전 지침을 의미하는 안전 경고 기호(
)에 항상 주의를 기울이십시오. 이 지침을
따르지 않을 경우 사람이 다치거나 사망하는 사고가 발생할 수 있습니다.
![]() |
안전 문구 데칼과 지침은 작업자의 눈에 쉽게 보이며 잠재적인 위험이 있는 모든 부분에 부착되어 있습니다. 손상되거나 유실된 데칼은 교체하십시오. |




















Note: 정상 운전 위치에서 장비의 좌측과 우측을 판단하십시오.
옵션으로 제공되는 후방 롤러 스크레이퍼는 스크레이퍼와 롤러 사이의 간격이 0.5~1 mm로 고른 경우 가장 잘 작동합니다.
구리스 피팅과 장착 나사를 느슨하게 풉니다(그림 3).

로드와 롤러 사이의 간격이 0.5~1 mm가 될 때까지 스크레이퍼를 위나 아래로 밉니다.
엇갈리는 순서로 진행하면서 구리스 피팅과 나사를 41 N∙m로 조입니다.
적합한 멀칭 배플은 Toro 공식 판매 대리점에 문의하십시오.
챔버의 후방 벽과 좌측 벽에 있는 장착 구멍에서 잔해물을 말끔히 청소합니다.
멀칭 배플을 후방 개구부에 장착하고 5개의 플랜지 헤드 볼트로 고정합니다(그림 4).

멀칭 배플이 블레이드의 끝에 걸리지 않는지 확인하고 챔버 후방 벽체 표면 안쪽으로 돌출되지 않는지 확인합니다.
하이 리프트 블레이드를 멀칭 배플과 함께 사용하면 블레이드가 깨져, 사람이 다치거나 사망하는 사고가 날 가능성이 있습니다.
하이 리프트 블레이드를 배플과 함께 사용하지 마십시오.
장비를 평지에 주차합니다.
Groundsmaster 4500 및 4700 장비의 경우, 4번 및 5번 커팅 유닛 케이블을 분리합니다(그림 29).
Groundsmaster 4700 장비의 경우, 6번 및 7번 커팅 유닛 래치를 분리합니다(그림 32).
커팅 유닛을 내립니다.
주차 브레이크를 체결합니다.
엔진을 끄고 키를 뺍니다.
사용하기 전에 타이어 공기압을 점검합니다. 타이어 공기압 점검을 참조하십시오.
Important: 양호한 커팅 품질과 적절한 장비 성능을 보장하려면 모든 타이어에서 압력을 유지하십시오. 타이어의 공기를 과도하게 빼지 마십시오.
엔진을 처음 시동하기 전에 후방 차축 윤활유 레벨을 점검합니다. 후방 차축 윤활유 점검을 참조하십시오.
엔진을 시동하기 전에 엔진 오일 레벨을 점검합니다. 엔진 오일 레벨 점검을 참조하십시오.
엔진을 시동하기 전에 유압 오일 레벨을 점검합니다. 유압 오일 레벨 점검을 참조하십시오.
엔진을 시동하기 전에 냉각 시스템을 점검합니다. 냉각 시스템 점검을 참조하십시오.
사용 전에 장비에 그리스를 바릅니다. 베어링과 부싱에 그리스 칠하기을 참조하십시오.
Important: 장비에 그리스를 적절하게 바르지 않으면 중요 부품이 조기에 고장날 수 있습니다.

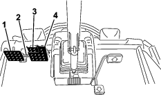
트랙션 페달(그림 5)은 전진 및 후진을 제어합니다. 페달 위쪽을 밟으면 앞으로 움직이고 아래쪽을 밟으면 뒤로 움직입니다. 커팅 유닛을 완전히 올린 상태에서 페달은 엔진과 구동 속도를 차량 처럼 제어합니다.
Note: 긴급 제동 상황에서, 트랙션 페달에서 발을 뗀 다음 브레이크 페달을 밟으십시오. 이것은 장비를 정지하는 가장 빠른 방법입니다.
회전 보조, 주차, 경사로의 구동력 향상을 보조하기 개별 휠 브레이크를 작동하는 2개의 풋 페달이 있습니다. 래치가 주차 브레이크 작동과 이동을 위해 페달을 연결합니다(그림 5).
페달 잠금 래치를 페달과 연결하여 주차 브레이크를 체결합니다(그림 5).
주차 브레이크를 체결하려면 (그림 5) 페달과 페달 잠금 래치를 연결하고 오른쪽 주차 페달을 밟으면서 토 페달을 체결합니다. 주차 브레이크를 풀려면 주차 브레이크 래치가 풀릴 때까지 브레이크 페달 중 하나를 밟으십시오.
스티어링 휠이 작업자 쪽으로 기울어지게 하려면 풋 페달을 밟고 작업자에게 가장 편한 위치로 스티어링을 당긴 후 페달에서 발을 떼십시오(그림 5). 스티어링 휠을 작업자로부터 멀리 이동하려면 풋 페달을 누르고 스티어링 휠이 원하는 운전 위치에 도달할 때 놓습니다.
키 스위치(그림 6)에는 3개 위치 즉 OFF(꺼짐), ON/PREHEAT(켜짐/예열) 및 START(시동) 위치가 있습니다.

PTO 스위치의 2 위치: OUT(체결) 및 IN(정지). PTO 버튼을 당겨서 커팅 유닛 블레이드를 결합합니다. 버튼을 눌러 커팅 유닛 블레이드 결합을 해제합니다(그림 6).
이 스위치(그림 6)는 장비를 2개의 속도 레인지 즉 고속 및 저속으로 제어합니다.
H/L AUTO(자동) 위치에 놓으면 장비가 고속 또는 저속을 자동으로 선택합니다.
LOW(저속) 위치를 선택하면 수동으로 전환되어 저속으로만 주행합니다.
스위치 위치를 언제든 변경할 수 있지만, 트랙션 페달이 중립에 있고 장비가 정지한 상태에서만 장비를 속도 레인지 사이에서 전환할 수 있습니다.
Note: H/L AUTO(자동) 위치에서 고속 운전을 하려면 PTO을 분리하고 커팅 유닛을 완전히 올립니다.
Note: 스위치를 H/L AUTO(자동) 위치에 놓은 경우, 트랙션 페달을 중립에 놓고 장비를 멈추지 않은 경우 데크를 완전히 올린 위치에서 내릴 수 없습니다.
리프트 스위치는 커팅 유닛을 올리고 내립니다(그림 6). 스위치 앞쪽을 눌러 커팅 유닛을 내리고 뒤쪽을 눌러 커팅 유닛을 올립니다. 커팅 유닛을 내린 상태에서 장비를 시동할 때, 리프트 스위치를 아래로 눌러 커팅 유닛을 플로팅 및 예초합니다.
Note: 고속 레인지에 있을 때는 커팅 유닛이 내려가지 않으며 운전석을 벗어나면 올라가거나 내려가지 않습니다. 또한, 키를 ON(켜짐) 위치에 놓고 운전석에 앉으면 커팅 유닛이 내려갑니다.
라이트 스위치를 위쪽으로 누르면 라이트가 ON(켜짐) 위치에 놓입니다(그림 6).
라이트 스위치를 아래쪽으로 누르면 라이트가 OFF(꺼짐) 위치에 놓입니다.
12V 전기 액세서리(옵션)에 전원을 공급하려면 전원 단자(그림 8)를 사용하십시오.

보관하려면 백 홀더를 사용하십시오(그림 8).
시트 측면에 있는 시트 조정 레버를 바깥쪽으로 움직여 시트를 원하는 위치까지 밀고 나서 레버를 놓아 시트를 고정합니다(그림 9).

이 노브를 돌려 팔걸이 각도를 조정합니다(그림 9).
등받이 각도를 조정하려면 이 레버를 움직입니다(그림 9).
중량 게이지는 작업자의 체중에 맞게 시트가 조정되었는지 알려줍니다(그림 9). 녹색 범위 내에서 서스펜션의 위치를 조정하여 높이를 조정합니다.
이 레버를 사용하여 체중에 따라 시트를 조정합니다(그림 9). 공기 압력을 높이려면 레버를 위로 당기고 공기 압력을 낮추려면 아래로 내립니다. 중량 게이지가 녹색 범위에 속하면 적절하게 조정된 것입니다.
InfoCenter LCD 디스플레이(그림 6)는 작동 상태, 다양한 진단 및 기타 장비 정보를 표시합니다.
표시되는 화면은 선택하는 버튼에 따라 다릅니다. 각 버튼의 목적은 필요에 따라 그때그때 달라질 수 있습니다.

| 설명 | 4500-D | 그림 10 참고 문헌 | 4700-D | 그림 10 참고 문헌 | |
|---|---|---|---|---|---|
| 작업폭 | 280 cm | D | 380 cm | F | |
| 전폭 | |||||
| 커팅 유닛 내림 | 286 cm | E | 391 cm | G | |
| 커팅 유닛 올림(이동) | 224 cm | A | 224 cm | A | |
| 트랙 폭 | |||||
| 전면 | 224 cm | B | 224 cm | B | |
| 후면 | 141 cm | M | 141 cm | M | |
| ROPS 포함 높이 | 226 cm | C | 226 cm | C | |
| 전장 | |||||
| 커팅 유닛 내림 | 370 cm | H | 370 cm | H | |
| 커팅 유닛 올림(이동) | 370 cm | L | 370 cm | L | |
| 지상고 | 15 cm | 15 cm | |||
| 휠 베이스 | 171 cm | K | 171 cm | K | |
| 순 중량 | 1937 kg | 2277 kg | |||
| (커팅 유닛 포함, 연료 제외) | |||||
Note: 규격과 설계는 통보 없이 변경될 수 있습니다.
| 길이 | 86.4 cm |
| 폭 | 86.4 cm |
| 높이 | 캐리어 마운트까지 24.4 cm |
| 1.9 cm 예고에서 26.7 cm | |
| 10 cm 예고에서 34.9 cm | |
| 중량 | 88 kg |
Toro가 승인한 부착 장치와 액세서리를 사용하여 장비의 성능을 확장하거나 향상시킬 수 있습니다. 승인된 부착 장치와 액세서리 전체 목록을 보려면 지정 서비스점이나 Toro 공식 판매 대리점에 연락하거나 www.Toro.com을 방문하십시오.
순정 Toro 교체 부품 및 액세서리만 사용하십시오. 다른 제조사에서 만든 교체 부품 및 액세서리는 위험할 수 있으며, 그러한 제품을 사용하면 제품 보증이 무효가 될 수 있습니다.
Note: 정상 운전 위치에서 장비의 좌측과 우측을 판단하십시오.
아이들이나 교육받지 않은 사람이 장비를 운전하거나 정비하는 것은 절대로 허용하지 마십시오. 현지 규정에 의해 작업자의 나이가 제한될 수 있습니다. 소유자는 모든 작업자 및 기술자를 교육할 책임이 있습니다.
장비 안전 운전, 작업자 제어 장치 및 안전 표시를 잘 알아 두십시오.
엔진을 끄고 키를 뺀 다음 모든 움직임이 멈출 때까지 기다려 운전석에서 내리십시오. 장비가 식은 후에 장비를 조정, 정비, 청소 또는 보관하십시오.
장비를 정지하고 엔진을 신속하게 멈추는 방법을 숙지하십시오.
작업자 감지 제어 장치, 안전 스위치 및 가드가 제대로 부착되어 작동하고 있는지 확인하십시오. 이들 장치가 제대로 작동하지 않으면 운전하지 마십시오.
예초하기 전에, 항상 장비를 점검하여 블레이드, 블레이드 볼트 및 커팅 어셈블리가 양호한 작업 상태인지 확인하십시오. 균형을 유지할 수 있도록 닳거나 손상된 블레이드와 볼트는 세트로 교체하십시오.
장비를 사용할 장소를 점검하고 장비에 의해 튕겨 나갈 가능성이 있는 모든 물체를 제거하십시오.
이 제품은 전자기장을 발생시킵니다. 이식형 전자의료기기를 착용하고 있다면 이 제품을 사용하기 전에 의료전문가와 상담하십시오.
연료를 다룰 때에는 특히 주의하십시오. 가연성이 높고 증기가 폭발할 수 있기 때문입니다.
일반 담배, 시가, 파이프 담배 및 그 밖의 점화원을 모두 제거하십시오.
승인된 연료 용기만 사용하십시오.
엔진이 작동 중이거나 뜨거운 상태에서 연료 캡을 제거하거나 연료 탱크에 급유하지 마십시오.
밀폐된 공간에서는 연료를 추가하거나 비우지 마십시오.
온수기나 기타 기구 등 노출된 화염, 불꽃, 점화용 불씨 등이 있는 곳에는 장비나 연료통을 보관하지 마십시오.
연료를 엎질렀을 때에는 엔진을 시동하지 말고 연료 증기가 사라질 때까지 발화원이 생기지 않도록 하십시오.
엔진을 시동하여 장비를 사용하기 전에, 엔진 크랭크케이스의 오일 레벨을 확인하십시오. 엔진 오일 레벨 점검 참조.
엔진을 시동하여 장비를 사용하기 전에, 냉각 시스템을 점검하십시오. 냉각 시스템 점검 참조.
엔진을 시동하여 장비를 사용하기 전에, 유압 시스템을 점검하십시오. 유압 오일 레벨 점검 참조.
수분 분리기에서 물 또는 기타 오염 물질을 비우십시오. 연료/수분 분리기에서 배수를 참조하십시오.
후방 차축과 기어박스에 누출이 있는지 점검하십시오. 후방 차축과 기어박스의 누출 점검을 참조하십시오.
연료 탱크 용량: 83 L
Important: 저황 디젤 연료를 사용하십시오.다음 주의 사항을 지키지 않으면 엔진이 손상될 수 있습니다.
절대로 디젤 연료 대신 등유나 휘발유를 사용하지 마십시오.
절대로 디젤 연료에 등유나 사용한 엔진 오일을 혼용하지 마십시오.
절대로 연료를 안쪽에 아연 도금이 된 용기에 보관하지 마십시오.
연료 첨가제를 사용하지 마십시오.
세탄가: 45 이상
황 함량: 저황(<500 ppm)
| 디젤 연료 규격 | 위치 |
| ASTM D975 | 미국 |
| No. 1-D S15 | |
| No. 2-D S15 | |
| EN 590 | 유럽 연합 |
| ISO 8217 DMX | 국제 |
| JIS K2204 Grade No. 2 | 일본 |
| KSM-2610 | 한국 |
깨끗하고 오래되지 않은 디젤 연료 또는 바이오디젤 연료만 사용하십시오.
연료의 신선도를 위해 180일 이내에 사용할 수 있을 정도의 양만 구매하십시오.
-7°C 이상의 온도에서는 하절기용 디젤 연료(No. 2-D)를 사용하고, 이 온도 아래에서는 동절기용 연료(No. 1-D 또는 No. 1-D/2-D 혼합유)를 사용하십시오.
Note: 낮은 온도에서 동절기용 연료를 사용하면 인화점이 낮아지고 냉간 유량 특성이 감소하여 시동이 쉽게 걸리며 연료 필터 막힘 현상도 줄어듭니다.-7°C 이상에서 하절기용 연료를 사용하면 동절기용 연료에 비해 연료 펌프의 수명이 늘어나고 동력이 향상되는 효과를 얻을 수 있습니다.
또한 이 장비에는 바이오디젤 혼합 연료를 B20(바이오디젤 20%, 일반 석유디젤 80%)까지 사용할 수 있습니다.
황 함량: 초저황 (<15 ppm)
바이오디젤 연료 규격: ASTM D6751 또는 EN14214
혼합 연료 규격: ASTM D975, EN590 또는 JIS K2204
Important: 석유디젤 부분은 초저황이어야 합니다.
다음과 같은 예방 조치를 취하십시오:
바이오디젤 혼합유는 도장면을 손상시킬 수 있습니다.
추운 날씨에는 B5(바이오디젤 5% 함유)나 이보다 바이오디젤이 덜 섞인 혼합유를 사용하십시오.
연료와 닿는 씰, 호스, 개스킷 등은 시간이 지나면서 상태가 저하되므로 면밀히 주시하십시오.
바이오디젤 혼합유로 바꾸고 나면 한동안 연료 필터가 막힐 수 있습니다.
바이오 디젤에 대한 자세한 내용은 Toro 공식 판매 대리점에 문의하십시오.


No. 2-D 디젤 연료로 주입구가 아니라 탱크 상단 약 6~13 mm 아래까지 탱크를 채웁니다.
Note: 가능하면 사용 후 연료 탱크를 채웁니다. 이렇게 하면 연료 탱크 내부에 생길 수 있는 응축 현상을 최소로 줄일 수 있습니다.
| 유지보수 서비스 간격 | 유지보수 절차 |
|---|---|
| 매번 사용하기 전 또는 매일 |
|
타이어의 올바른 공기압은 1.38 bar입니다.
Important: 양호한 커팅 품질과 본연의 장비 성능을 위해 모든 타이어의 공기압을 권장 수치로 유지하십시오. 타이어의 공기를 과도하게 빼지 마십시오.장비 작동 전에 모든 타이어의 공기압을 점검하십시오.

Important: 로터리 커팅 유닛은 종종 벤치 설정이 동일한 상태에서 릴 커팅 유닛에 비해 6 mm 정도 낮게 예초합니다. 따라서 로터리 커팅 유닛의 벤치 측정값을 동일한 영역의 릴 커팅 유닛의 벤치 측정값보다 6 mm 위로 설정해야 할 수 있습니다.
Important: 장비에서 커팅 유닛을 떼어내면 후방 커팅 유닛 접근성이 크게 향상됩니다.
수평면에 장비를 주차하고 주차 브레이크를 체결하고 커팅 유닛을 지면으로 내리고 엔진을 끄고 키를 뺍니다.
그림 15에 나온 것처럼, 각 예고 브래킷을 예고 플레이트에 고정하는 볼트를 풉니다(전방과 각 측면).
전방부터 조정하면서 볼트를 뺍니다.

챔버를 받치면서 스페이서를 제거합니다(그림 15).
챔버를 원하는 예고에 맞추고 지정된 예고 구멍과 슬롯에 스페이서를 장착합니다(그림 16).

탭형 플레이트의 위치를 스페이서에 나란히 맞춥니다.
볼트를 손가락으로 단단히 장착합니다.
각 측면 조정을 위하여 4 단계에서 7 단계를 반복합니다.
모든 3개의 볼트를 41 N∙m의 토크로 조입니다. 항상 전방 볼트를 먼저 조입니다.
Note: 3.8 cm 이상 조정하려면 중간 높이로 잠시 조립하여 결합이 되지 않게 해야 할 것입니다(예: 예고를 3.1 cm에서 7 cm로 변경).
| 유지보수 서비스 간격 | 유지보수 절차 |
|---|---|
| 매번 사용하기 전 또는 매일 |
|
안전 인터록 스위치가 끊어지거나 손상된 경우 장비가 예기치 않게 작동되어 다칠 수 있습니다.
인터록 스위치를 함부로 만지지 마십시오.
인터록 스위치의 작동 상태를 매일 점검하고 손상된 스위치가 있으면 장비를 운전하기 전에 교체하십시오.
인터록 스위치는 트랙션 페달을 밟은 상태에서 운전석에서 일어날 때 장비를 정지시키도록 고안되었습니다. 그러나, 엔진이 가동 중이고 트랙션 페달이 NEUTRAL(중립)인 상태에서 운전석에서 일어날 수 있습니다. PTO 스위치를 체결 해제하고 트랙션 페달을 놓을 때 엔진이 계속 가동하지만 운전석에서 일어나기 전에 엔진을 정지하십시오.
평지에 장비를 주차하고 주차 브레이크를 체결하고 커팅 유닛을 내린 다음 키를 OFF(꺼짐) 위치로 돌립니다.
트랙션 페달을 밟고 키를 ON(켜짐) 위치로 돌립니다.
Note: 엔진이 크랭킹하면 인터록 시스템이 고장난 것입니다. 장비를 운전하기 전에 이 고장을 수리하십시오.
키를 ON(켜짐) 위치로 돌리고, 운전석에서 일어난 다음 PTO 스위치를 ON(켜짐) 위치에 놓습니다.
Note: PTO가 체결되지 않아야 합니다. PTO가 체결되면 인터록 시스템이 고장난 것입니다. 장비를 운전하기 전에 이 고장을 수리하십시오.
주차 브레이크를 체결하고, 키를 ON(켜짐) 위치로 돌린 다음 트랙션 페달을 NEUTRAL(중립) 위치에서 다른 위치로 옮깁니다.
Note: InfoCenter에 "트랙션 거부"가 표시되고 장비가 움직이지 않아야 합니다. 장비가 움직이면 인터록 시스템이 고장난 것입니다. 장비를 운전하기 전에 이 고장을 수리하십시오.
| 유지보수 서비스 간격 | 유지보수 절차 |
|---|---|
| 매번 사용하기 전 또는 매일 |
|
Note: 커팅 유닛을 잔디의 깔끔한 부분이나 단단한 표면으로 내려 먼지와 잔해물이 튀어나오지 않게 합니다.
정지 시간을 확인하기 위해 운전석에 착석하고 PTO를 해제합니다. 회전 블레이드의 소리를 듣고 블레이드가 완전히 멈출 때까지 걸린 시간을 기록합니다. 7초보다 오래 걸리면 제동 밸브를 조정하십시오. 이 조정을 하려면 Toro 공식 판매 대리점에 도움을 요청하십시오.
이 블레이드는 거의 모든 조건에서 뛰어난 리프트와 분산 능력을 제공하도록 구성되어 있습니다. 리프트 속도와 배출 속도가 어느 정도 필요한 경우 다른 블레이드를 고려하십시오.
속성: 대부분의 조건에서 리프트와 분산 속성이 뛰어납니다
이 블레이드는 일반적으로 예고가 낮을수록(1.9~6.4 cm) 성능이 더 좋습니다.
특성:
배출물은 예고가 낮아도 더 고르게 유지됩니다.
배출물은 왼쪽으로 배출되는 경향이 더 적어 벙커와 페어웨이 주변이 더 깔끔해 보입니다.
키가 작고 무성한 잔디에서 필요한 파워가 더 적습니다.
이 블레이드는 일반적으로 예고가 높을 수록(7~10 cm) 성능이 더 좋습니다.
특성:
더 많이 들어 올리고 배출 속도가 더 빠릅니다
예고를 더 높여서 듬성듬성 난 잔디나 비정상적인 잔디를 상당히 잘 골라냅니다
젖거나 끈적거리는 예지물을 더 효율적으로 배출하므로 커팅 유닛이 혼잡해지는 일이 줄어듭니다.
구동하는 데 더 많은 마력이 필요합니다.
더 왼쪽으로 배출하는 경향이 있으며 더 낮은 예고에서도 배출물이 지면에 줄지어 놓이는 경향이 있을 수 있습니다.
하이 리프트 블레이드를 멀칭 배플과 함께 사용하면 블레이드가 깨져, 사람이 다치거나 사망하는 사고가 날 가능성이 있습니다.
하이 리프트 블레이드를 멀칭 배플과 함께 사용하지 마십시오.
이 블레이드는 뛰어난 리프 멀칭 능력을 제공하도록 구성되었습니다.
속성: 리프 멀칭이 뛰어남
| 앵글 세일 블레이드 | 하이 리프트 패럴렐 세일 블레이드(멀칭 배플과 함께 사용하지 말 것) | 멀칭 배플 | 롤러 스크레이퍼 | |
| 잔디 커팅: 1.9~4.4 cm 예고 | 대부분의 작업에 적합함 | 가볍거나 듬성듬성 난 잔디에서도 잘 작동할 수 있음 | 매주 3회 이상 예초를 하며 잔디 풀잎의 1/3 미만만 잘라내는 북부 지역의 잔디에서 분산력 및 예초 후 성능을 개선하는 것으로 나타났습니다. 하이 리프트 패럴렐 세일 블레이드와 함께 사용하지 말 것 | 롤러에 잔디가 쌓이거나 잔디가 크고 평평하게 뭉쳐지는 현상이 나타나면 언제든지 사용하십시오. 스크레이퍼로 인해 특정한 작업에서는 잔디가 뭉치는 현상이 증가할 수 있습니다. |
| 잔디 커팅: 5~6.4 cm 예고 | 두껍고 무성한 잔디에 적합함 | 가볍고 듬성듬성 난 잔디에 적합함 | ||
| 잔디 커팅: 7~10 cm 예고 | 무성한 잔디에서 잘 작동함 | 대부분의 작업에 적합함 | ||
| 리프 멀칭 | 멀칭 배플과 함께 사용하기에 적합함 | 허용되지 않음 | 컴비네이션 세일, 아토믹 블레이드(Atomic Blade)나 앵글 세일 블레이드와만 함께 사용 | |
| 장점 | 예고를 낮추어도 고르게 배출됨, 벙커와 페어웨이 주변이 더욱 깔끔해짐, 필요한 전력이 줄어듬 | 더 많이 들어 올리고 배출 속도가 더 빠름, 높은 예고에서 듬성듬성 난 잔디나 비정상적인 잔디를 골라냄, 젖거나 끈적거리는 예지물을 효율적으로 배출함 | 특정한 잔디 커팅 작업에서 분산력과 외형이 향상될 수 있음, 리프 멀칭에 매우 좋음 | 특정한 작업에서 롤러에 쌓이는 풀이 줄어듬 |
| 단점 | 예고가 높은 작업에서 잔디를 잘 들어 올리지 못함. 젖거나 끈적거리는 잔디가 챔버에 쌓이는 경향이 있어서 예초 품질이 좋지 않게 되며 필요한 파워도 더 커짐 | 일부 작업의 경우 구동하는 데 더 많은 파워가 필요함, 무성한 잔디에서 예고를 낮추면 낙엽 찌꺼기 줄이 남는 경향이 있음, 멀칭 배플과 함께 사용하지 말 것 | 배플을 장착한 상태로 잔디를 너무 많이 잘라내려고 하면 챔버에 잔디가 쌓임 |
디스플레이는 작동 상태, 다양한 진단 정보 및 기타 장비 정보를 표시합니다. 디스플레이에는 여러 가지 화면이 있습니다. 언제든지 아무 디스플레이 버튼을 누르고 적절한 방향 화살표를 선택하면 화면 사이를 전환할 수 있습니다.

Note: 각 버튼의 목적은 필요에 따라 그때그때 달라질 수 있습니다. 각 버튼에는 현재 기능을 나타내는 아이콘이 표시됩니다.
![]() | 사용 시간 |
![]() | 가상 페달 정지 설정 |
![]() | 작업자가 착석해야 합니다. |
![]() | 주차 브레이크가 걸려 있습니다. |
![]() | 엔진 냉각수 온도(°C 또는 °F) |
![]() | 트랙션 또는 트랙션 페달 |
![]() | 크루즈 컨트롤이 체결되어 있습니다. |
![]() | 동력 인출 장치가 비활성화되었습니다. |
![]() | PTO가 체결되었습니다. |
![]() | 배터리 |
![]() | 경고 |
![]() | 활성 |
![]() | 비활성 |
![]() | 이전 |
![]() | 다음 |
![]() | 증가 |
![]() | 감소 |
![]() | 이전 화면 |
![]() | 다음 화면 |
![]() | 값 증가 |
![]() | 값 감소 |
![]() | 메뉴 |
![]() | 스크롤을 아래 위로 |
![]() | 스크롤을 좌우로 |
![]() | 유압 오일 온도(°C 또는 °F) |
![]() | 고속 또는 높은 예고(이동) |
![]() | 저속 또는 낮은 예고(예초) |
![]() | 팬(팬 역회전) |
![]() | 모든 커팅 유닛 상승 |
![]() | 모든 커팅 유닛 하강 |
![]() | 중앙 커팅 유닛 상승 |
![]() | 중앙 커팅 유닛 하강 |
![]() | 왼쪽 커팅 유닛 상승 |
![]() | 왼쪽 커팅 유닛 하강 |
![]() | 오른쪽 커팅 유닛 상승 |
![]() | 오른쪽 커팅 유닛 하강 |
![]() | 잠김 |
PIN을
입력해야만 액세스 가능
InfoCenter 메뉴 시스템에 접근하려면 주 화면에서 메뉴 접근 버튼을 누르십시오. 주 메뉴가 나타납니다. 메뉴에서 사용할 수 있는 옵션은 다음 표를 참고하십시오.
| 메인 메뉴 - 메뉴 항목 | 설명 |
| Faults(고장) | Faults(고장) 메뉴에는 최근의 장비 고장 목록이 포함되어 있습니다. Faults 메뉴 및 그 안에 포함된 내용에 대한 자세한 정보는 정비 설명서를 참조하거나 Toro 지정 판매 대리점에 문의하십시오. |
| Service(정비) | Service(정비) 메뉴에는 사용 시간, 카운터 및 그 밖의 유사한 수치 등 장비에 대한 정보가 포함되어 있습니다. |
| Diagnostics(진단) | Diagnostics(진단) 메뉴에는 각 장비 스위치, 센서 및 제어 출력 단자의 상태가 표시됩니다. 이 메뉴를 사용하면 어떤 제어장치가 ON(켜져) 있고 어떤 제어장치가 OFF(꺼져) 있는지 빠르게 알 수 있기 때문에 특정 문제를 해결할 수 있습니다. |
| Settings(설정) | Settings(설정) 메뉴를 사용하면 디스플레이의 구성 변수를 사용자 지정하거나 수정할 수 있습니다. |
| Machine Settings(장비 설정) | Machine Settings(장비 설정) 메뉴를 사용하면 가속, 속도, 평형력 임계값을 조정할 수 있습니다. |
| About(정보) | About(정보) 메뉴는 장비의 모델 번호, 일련번호 및 소프트웨어 버전을 나열합니다. |
| 정비 - 메뉴 항목 | 설명 |
| Hours(시간) | 장비, 엔진 및 PTO가 작동된 총 시간과 장비의 이동 및 정비 시간을 나열합니다. |
| Counts(카운트) | 장비와 관련한 수많은 수치를 나열합니다. |
Traction Pedal(트랙션 페달)![]() | |
Traction Pump(트랙션 펌프)![]() | |
| Fan(팬) | 다음 경우에 팬이 활상화되면 표시: 엔진 온도 높음, 오일 온도 높음, 엔진 또는 유압 온도 높음, 및 팬이 켜짐 |
| Fuel Rate(연료 유량) | 사용되는 연료 유량이 표시됩니다. |
| DPF Regeneration | 디젤 매연 필터(DPF) 재생 옵션 및 DPF 하위 메뉴 |
| 진단 - 메뉴 항목 | 설명 |
| Left Cutting Unit | Engine Run(엔진 작동) 메뉴 및 그 안에 포함된 내용에 대한 자세한 정보는 정비 설명서를 참조하거나 Toro 공식 판매 대리점에 문의하십시오. |
| Center Cutting Unit(중앙 커팅 유닛) | |
| Right Cutting Unit(오른쪽 커팅 유닛) | |
| Traction(트랙션) | |
| HI/LO Range(고속/저속) | |
| PTO | |
| Engine(엔진) | |
CAN Statistics(CAN 통계) ![]() |
| 설정 - 메뉴 항목 | 설명 |
| Enter PIN(PIN 입력) | PIN 코드로 회사가 승인한 사람(감독관/정비공)이 보호 메뉴로 들어가는 것을 허용합니다. |
| Backlight(백라이트) | LCD 디스플레이의 밝기를 제어합니다. |
| Language(언어) | InfoCenter에서 사용되는 언어를 제어합니다*. |
| Font Size(글꼴 크기) | 디스플레이의 글꼴 크기를 제어합니다. |
| Units(단위) | InfoCenter에서 사용되는 단위를 제어합니다(영국식 또는 미터법). |
Protected Menus(보호 메뉴)![]() | PIN 코드로 회사가 승인한 사람이 보호 메뉴로 들어가는 것을 허용합니다 |
Protect Settings(보호 설정)![]() | 보호 설정의 설정을 변경할 수 있습니다. |
Note: 장비 설정 메뉴는 PIN을 입력했을 경우에만 표시됩니다.
장비 설정 - 메뉴 항목![]() | 설명 |
Mow Speed(예초 속도) ![]() | 예초 중 최고 속도를 제어합니다(저속 레인지) |
Trans. Speed(이동 속도) ![]() | 이동 중 최고 속도를 제어합니다(고속 레인지) |
Smart Power(스마트 파워) ![]() | 스마트 파워를 켜고 끕니다. |
Counterbalance(평형) ![]() | 커팅 유닛에 적용되는 평형을 제어합니다. |
Turnaround(선회) ![]() | 선회 기능을 켜고 끕니다 |
Acceleration(가속) ![]() | 저속, 중간, 고속 설정을 통해 트랙션 페달을 이동할 때 구동 속도가 반응하는 속도를 제어할 수 있습니다. |
Protected
Menus(보호 메뉴)로 보호 - PIN을 입력해야만 액세스 가능
| 정보 - 메뉴 항목 | 설명 |
| Model(모델) | 장비의 모델 번호를 나열합니다. |
| SN | 장비의 일련번호를 나열합니다. |
| Machine Controller Revision(장비 컨트롤러 수정) | 마스터 컨트롤러의 소프트웨어 수정을 나열합니다. |
| S/W Revsion (소프트웨어 개정) | 기본 컨트롤러의 소프트웨어 개정을 나열합니다. |
InfoCenter Revision(버전)![]() | InfoCenter의 소프트웨어 버전을 나열합니다 |
Secondary software(보조 소프트웨어)![]() | Groundsmaster 4700 모델에 대한 파트 번호와 커팅 유닛 컨트롤러의 버전을 표시합니다. |
| Stage V(스테이지 V) | 엔진의 상태에 따라 예 또는 아니요가 표시됩니다. |
InfoCenter의 SETTINGS(설정)에서 조정할 수 있는 작동 구성 설정이 있습니다. 이 설정 항목을 잠그려면 PROTECTED MENU(보호 메뉴)를 사용합니다.
Note: 장비 인도 시 최초 암호는 유통업체에 의해 설정되어 있습니다.
Note: 장비 제작 시 기본 PIN 코드는 0000 또는 1234입니다.PIN 코드를 변경한 후 코드를 잊었다면, Toro 공식 판매 대리점에 연락하여 도움을 받으십시오.
MAIN MENU(메인 메뉴)에서 아래로 스크롤하여 SETTINGS(설정) 메뉴로 이동한 다음 오른쪽 버튼(그림 18)을 누르십시오.

SETTINGS(설정) 메뉴에서 ENTER PIN(PIN 입력)으로 스크롤한 다음 선택 버튼을 누릅니다(그림 19A).

PIN 코드를 입력하려면 올바른 첫 번째 숫자가 나타날 때까지 위쪽/아래쪽 탐색 버튼을 누른 후 오른쪽 탐색 버튼을 눌러 다음 숫자로 이동합니다(그림 19B 및 그림 19C). 마지막 숫자를 입력할 때까지 이 단계를 반복합니다.
선택 버튼을 누릅니다.
Note: 디스플레이가 PIN 코드를 승인하여 보호 메뉴가 잠금 해제되면 화면 우측 상단 모서리에 "PIN"이라고 표시됩니다.
보호 메뉴를 잠그려면 키 스위치를 OFF(꺼짐) 위치로 돌린 다음 ON(켜짐) 위치로 돌립니다.
SETTINGS(설정)에서 아래로 스크롤하여 PROTECT SETTINGS(보호 설정)으로 이동합니다.
PIN 코드를 입력하지 않거나 설정 내용을 보고 변경하려면, 선택 버튼을 사용하여 PROTECT SETTINGS(보호 설정)를
(꺼짐)으로 변경합니다.
PIN 코드를 사용하여 설정을 열어 보고 변경하려면, 선택 버튼을 사용하여 PROTECT SETTINGS(보호 설정)를
(켜짐)으로 변경하고, PIN 코드를 설정하고,
시동 스위치의 키를 OFF(꺼짐) 위치로 돌렸다가 ON(켜짐) 위치로 돌립니다.
서비스 예정 타이머는 예정된 유지관리 절차를 수행한 후 정비 예정 시간을 초기화합니다.
SETTINGS(설정)에서 ENTER PIN(PIN 입력)으로 스크롤한 다음 선택 버튼을 누릅니다.
PIN을 입력합니다. 보호 메뉴 액세스 섹션을 참조하십시오.
SERVICE(정비)에서 HOURS(시간)으로 이동한 다음 선택 버튼을 누릅니다.
SERVICE DUE(정비 일정 도래)까지 스크롤 다운합니다.
Note: 현재 정비 일정이 도래한 경우, SERVICE DUE(정비 일정 도래) 다음에 NOW(지금)이 표시됩니다.
정비 주기를 강조 표시하고 선택 버튼을 누릅니다.
Note: 정비 주기(250시간, 500시간)는 SERVICE DUE(정비 일정 도래) 알림 옆에 표시됩니다.정비 주기는 보호 메뉴 항목입니다.
RESET SERVICE TIMER? (정비 타이머 재설정?) 화면이 표시되면 YES(예)에 대해 선택 버튼을 누르거나 NO(아니요)에 대해 뒤로 가지 버턴을 누릅니다.
YES(예)를 선택하면 정비 주기 화면이 사라지면서 Service Hours(정비 시간) 선택으로 돌아갑니다.
선택한 설정은 크루즈 컨트롤 및 페달 정지 설정과 함께 구동 속도 막대 그래프에 X자로 표시됩니다. 막대의 X자는 최고 속도가 감독자에 의해 제한되었음을 나타냅니다(그림 24).
Note: 이 설정은 메모리에 저장되고 변경 전까지 구동 속도에 적용됩니다.
MACHINE SETTINGS(장비 설정)에서 아래로 스크롤하여 MOW SPEED(예초 속도)로 이동합니다.
왼쪽 및 오른쪽 탐색 버튼을 사용하여 메인 화면에서 5% 단위로 최고 예초 속도를 조정하고 MACHINE SETTINGS(장비 설정) 메뉴에서 10% 단위로 조정합니다. 메인 메뉴의 범위는 10~100%이며 MACHINE SETTINGS(장비 설정) 범위는 30~100%입니다.
선택한 설정은 크루즈 컨트롤 및 페달 정지 설정과 함께 구동 속도 막대 그래프에 X자로 표시됩니다. 막대의 X자는 최고 속도가 감독자에 의해 제한되었음을 나타냅니다(그림 24).
Note: 이 설정은 메모리에 저장되고 변경 전까지 구동 속도에 적용됩니다.
MACHINE SETTINGS(장비 설정)에서 아래로 스크롤하여 TRANSPORT SPEED(이동 속도)로 이동합니다.
왼쪽 및 오른쪽 탐색 버튼을 사용하여 메인 화면에서 5% 단위로 최고 예초 속도를 조정하고 MACHINE SETTINGS(장비 설정) 메뉴에서 10% 단위로 조정합니다. 메인 메뉴의 범위는 10~100%이며 MACHINE SETTINGS(장비 설정) 범위는 30~100%입니다.
SETTINGS(설정)에서 아래로 스크롤하여 SMART POWER(스마트 파워)로 이동합니다.
오른쪽 탐색 버튼을 누르면 ON(켜짐)과 OFF(꺼짐) 사이에서 전환합니다.
MACHINE SETTINGS(장비 설정(에서 아래로 스크롤하여 COUNTERBALANCE(평형)로 이동합니다.
오른쪽 탐색 버튼을 눌러 평형을 선택하고 LOW(낮음), MEDIUM(중간) 및 HIGH(높음) 설정 사이에서 전환합니다.
MACHINE SETTINGS(장비 설정)에서 아래로 스크롤하여 ACCELERATION(가속)으로 이동합니다.
오른쪽 탐색 버튼을 눌러 LOW(낮음), MEDIUM(중간) 및 HIGH(높음) 사이에서 전환합니다.
SETTINGS MENU(설정 메뉴_에서 아래로 스크롤하여 TURNAROUND(선회)로 이동합니다.
오른쪽 버튼을 누르면 ON(켜짐)과 OFF(꺼짐) 사이에서 전환합니다.
Note: 간편하게 작동할 수 있도록, 그을음 부착률이 100%에 도달하기 전에 주차 재생을 실행하기로 결정할 수도 있습니다. 단, 마지막으로 성공한 리셋 재생, 주차 재생 또는 회수 재생 이후 엔진이 50시간 이상 구동되었어야 합니다.
기술 메뉴를 사용하여 엔진 재생 제어의 현재 상태 및 현재 그을음량을 검토합니다.
SETTINGS(설정)에서 DPF REGENERATION(DPF 재생)으로 아래로 스크롤한 다음 선택 버튼을 누릅니다.
DPF REGENERATION(DPF 재생)에서 TECHNICIAN(기술)로 아래로 스크롤한 다음 선택 버튼을 누릅니다.


빨간색으로 깜박임 - 고장 발생
빨간색으로 켜짐 - 주의 요망 상태
파란색으로 켜짐 - 보정/대화 상자 메시지
녹색으로 켜짐 - 정상 작동
이 장비는 추정 트랙션 속도가 백분율로 표시됩니다.
크루즈 및 가상 페달 정지 화면에서는 10~100% 사이로 표시되고 MACHINE SETTINGS(장비 설정) 메뉴에서는 30~100% 사이로 표시됩니다.
추운 날씨에서 장비의 시동을 걸 경우, 엔진의 시동을 건 후 워밍업 모드가 짧은 시간 동안 엔진 속도를 저속 공회전으로 제한하여 차가운 오일에서 장비를 작동할 때의 구성품 손상 가능성을 방지합니다.
InfoCenter 화면에 눈송이 아이콘
이 표시되면서 워밍업 모드가 활성화되었음을 알립니다. 워밍업 시간이 끝날 때까지 장비를
작동하지 마십시오.
소유자/작업자는 사람이 다치거나 재산이 손상되는 사고를 막을 수 있으며, 이에 대해 책임이 있습니다.
보안경, 긴 바지, 잘 미끄러지지 않는 튼튼한 신발 및 청력 보호구를 포함하여, 적절한 의복을 착용하십시오. 긴 머리는 뒤로 묶고 헐렁한 옷이나 보석류는 착용하지 마십시오.
아프거나 지친 상태, 또는 음주나 약물 복용 후에는 장비를 운전하지 마십시오.
장비를 작동하는 동안에는 온전히 주의를 기울이십시오. 주의력을 산만하게 하는 활동을 하면, 부상 또는 재산 피해가 발생할 수 있습니다.
엔진을 시동하기 전에 모든 구동 장치가 중립 위치에 있고 주차 브레이크가 걸려 있는지 확인하고, 운전 위치에 앉으십시오.
장비에 탑승자를 태우지 말고 주변 사람이나 아이들이 작업 반경에 들어오지 못하게 하십시오.
시야가 잘 보이는 곳에서만 장비를 운전하고 움푹 패인 곳이나 숨겨진 위험 요소를 피하십시오.
젖은 잔디에서는 예초하지 마십시오. 마찰력이 감소하여 장비가 미끄러질 수 있습니다.
손과 발이 회전하는 부품에 닿지 않게 하십시오. 배출구에서 거리를 유지하십시오.
후진 시에는 후방과 아래쪽을 주시하여 장애물이 없는지 확인하십시오.
사각 지대, 관목, 나무 또는 그 외의 시야를 방해하는 물체에 접근할 때에는 주의하십시오.
잔디를 깎지 않을 경우에는 항상 블레이드를 멈추십시오.
장비가 물체에 부딪히거나 장비에 비정상적인 진동이 있으면, 장비를 멈추고 키를 뺀 다음, 움직이는 모든 부품이 멈추기를 기다려 장비를 점검합니다. 다시 운전하기 전에 필요한 모든 수리를 시행하십시오.
방향을 바꾸거나 장비를 가지고 차도나 인도를 건널 때에는 속도를 줄이고 주의를 기울이십시오. 항상 다른 차량에 양보하십시오.
드라이브를 커팅 유닛에서 분리하고 엔진을 끄고 키를 뺀 다음, 모든 움직임이 멈추기를 기다려 예고를 조정합니다(작동 위치에서 조정할 수 없는 경우).
환기가 잘되는 곳에서만 엔진을 작동하십시오. 배기 가스에는 일산화탄소가 함유되어 있어 흡입 시 치명적입니다.
장비를 작동한 채 자리를 뜨지 마십시오.
운전석을 떠나기 전에 다음을 이행하십시오:
장비를 평지에 주차합니다.
동력 인출 장치를 해제하고 부속 장치를 내립니다.
주차 브레이크를 체결합니다.
엔진을 끄고 키를 뺍니다.
모든 움직임이 멈출 때까지 기다립니다.
시야가 좋을 때에만 장비를 작동하십시오. 번개가 칠 위험이 있는 상태에서는 장비를 운전하지 마십시오.
장비를 견인 차량으로 사용하지 마십시오.
Toro에서 승인한 액세서리, 부착 장치 및 교체용 부품만 사용하십시오.
장애물이 없으며 장비가 방해를 받지 않고 일정한 속도로 움직일 수 있는 개방된 평지에서 운전할 때에만 크루즈 제어장치(장착된 경우)를 사용하십시오.
ROPS는 꼭 필요하며 효과적인 안전 장치입니다.
장비에서 ROPS 구성품을 제거하지 마십시오.
안전 벨트가 장비에 부착되었는지 확인하십시오.
무릎 위로 벨트 스트랩을 당겨서 벨트를 시트의 다른 측면에 있는 버클에 끼웁니다.
안전 벨트를 분리하려면, 벨트를 잡고 버클 버튼을 눌러 벨트를 푼 다음 벨트를 자동 수축구까지 접히도록 합니다. 긴급 상황이 발생하면 벨트를 즉시 풀 수 있는지 확인하십시오.
머리 위의 장애물을 주의 깊게 확인하고 닿지 않게 하십시오.
손상 여부를 주기적으로 철저하게 검사하고 모든 장착 패스너를 단단히 조여 ROPS를 안전하게 작동하는 상태로 관리하십시오.
손상된 ROPS 구성품을 교체합니다. 수리 또는 개조하지 마십시오.
Toro가 장착한 캡은 롤 바입니다.
항상 좌석 벨트를 착용하십시오.
접이식 롤바를 올려서 잠근 상태로 유지하고, 롤바를 올린 상태로 장비를 작동할 때 안전 벨트를 착용하십시오.
접이식 롤바는 꼭 필요한 경우에만 일시적으로 내리십시오. 롤바를 접은 상태에서는 안전 벨트를 착용하지 마십시오.
접이식 롤바가 내려진 상태에서는 전복 방지가 되지 않는다는 점에 유의하십시오.
예초할 영역을 확인하고 경사로, 급경사로, 물 등이 있는 곳에서는 접이식 롤바를 접지 마십시오.
통제력을 잃거나 뒤집혀서 심하게 다치거나 사망하는 사고는 주로 비탈길에서 일어납니다. 작업자는 경사로 작업을 안전하게 할 책임이 있습니다. 비탈길에서 장비를 운전할 때에는 특별히 주의해야 합니다.
작업자는 현장 측량을 포함하여 현장 조건을 평가하여 경사로가 장비 운전에 안전한지 판단해야 합니다. 측량할 때 항상 상식과 좋은 판단력을 사용하십시오.
경사로에서 장비를 작동하기 위한 아래의 경사로 지침을 검토하고 해당 시점에 해당 장소에서 해당 조건에서 장비를 작동할 수 있는지 판단해야 합니다. 지형이 바뀌면 장비의 경사로 운전에 변화가 생길 수 있습니다.
경사로에서는 장비를 시동하거나 정지하거나 회전하지 마십시오. 속도나 방향을 갑자기 변경하지 마십시오. 방향 전환은 천천히 점진적으로 하십시오.
트랙션, 스티어링, 안정성 등에 의문이 있으면 어떤 경우에도 장비를 작동하지 마십시오.
배수로, 파인 부분, 바퀴 자국, 융기, 돌, 그 밖의 숨겨진 물체 등 장애물이 있으면 제거하거나 표시하십시오. 잔디가 길어서 장애물이 보이지 않을 수 있습니다. 지형이 고르지 않으면 장비가 뒤집힐 수 있습니다.
젖은 잔디에서 장비를 작동하거나 경사로를 가로지르거나 내리막에서 장비를 작동하면 장비가 구동력을 잃게 될 수 있다는 점에 유의하십시오. 구동 휠이 구동력을 잃으면 미끄러져 제동이 되지 않고 스티어링도 되지 않을 수 있습니다.
급경사로, 배수로, 둑, 물웅덩이 또는 기타 위험 요소 근처에서 장비를 작동할 때 매우 주의하십시오. 바퀴가 가장자리를 넘어가거나 가장자리가 함몰하면 장비가 갑자기 뒤집힐 수 있습니다. 장비와 위험 요소 사이에 안전 영역을 정하십시오.
경사로의 아랫 부분에 있는 위험 요소를 확인하십시오. 위험 요소가 있으면, 보행자를 통제한 장비로 경사로를 예초하십시오.
가능한 경우, 경사로에서 작업하는 동안 커팅 유닛(들)을 지면으로 내린 상태로 유지하십시오. 경사로에서 작업하는 동안 커팅 유닛(들)을 올리면 장비가 불안정해질 수 있습니다.
잔디 수거 시스템 또는 기타 부착 장치를 다룰 때 매우 주의하십시오. 그런 것이 있으면 장비 안정성이 바뀌어 통제할 수 없게 될 수 있습니다.
이 장비에는 트랙션 페달이 제어하는 자동 스로틀이 장착되어 있습니다.
별도 스로틀 스위치 또는 스로틀 레버가 장착되어 있지 않습니다.
트랙션 페달에서 발을 떼면 장비가 동적으로 제동하여 정지합니다.
페달 컨트롤은 빠르지만 안정적으로 반응하도록 최적화되어 거친 지형에서도 일정한 통제력을 발휘하면서도 빠르고 부드러운 제동이 가능합니다.
이동 중일 때 트랙션 페달은 자동차와 유사하게 작동하며 트랙션 페달 위치에 따라 엔진 및 구동 속도를 변경합니다.
예초 작업 중에 엔진 속도는 자동으로 고속 공회전으로 올라갑니다.
엔진이 저속 공회전이라면 커팅 유닛을 올리거나 트랙션 페달을 밟는 등의 최소 작업 속도로 엔진 속도를 올려 작업 수행에 충분한 출력을 확보하십시오.
디젤 미립자 필터(DPF) 재생을 위해 권장하는 시간으로 장비 공회전 시간을 제한합니다. 장비를 멈춰 공회전 시간이 더 길어지지 않도록 하십시오.
장비의 최고 구동 속도를 제한하기 위해 감독자가 PIN 보호 설정의 최고 속도를 설정합니다.
트랙션 페달 사용 정도, 크루즈 컨트롤, 페달 정지 구동 속도는 모두 PIN 보호 메뉴에서 설정한 최고 속도로 제한됩니다.
엔진을 시동할 때 유압 오일 온도가 낮으면 엔진 속도가 자동으로 높아져 운전을 최적화하고 장비를 예열합니다. 유압 오일 온도가 정상 운전 범위에 속하면 엔진 속도는 자동으로 저속 공회전으로 돌아갑니다.
정상 운전 조건에서 이 장비는 속도 레인지 스위치가 H/L AUTO(H/L 자동) 위치에서 작동하도록 고안되었습니다(그림 22). 이 위치에 놓을 때 장비의 예초 또는 이동 사용에 따라 장비는 저속 레인지와 및 고속 레인지 사이에서 자동으로 전환됩니다.
속도 레인지 스위치를 LOW(저속) 위치로 선택하면(그림 22), 장비는 항상 저속 레인지에서 작동합니다. 이 설정은 장비가 정비장에 있거나, 트레일러의 적재 또는 하역, 급경사로 오르기, 기타 고속 레인지의 고속 구동 속도가 바람직하지 않을 때 선호됩니다.
도중에 장애물이 나타나면 커팅 유닛을 올려 주위를 예초하십시오.
장비가 작업 구역 사이를 이동할 때, AUTO HI/LOW(자동 고속/저속) 레인지를 체결하고, PTO를 정지한 다음 커팅 유닛을 완전한 상향 위치로 올립니다. 이 모드에서 트랙션 페달을 사용하여 자동차와 같이 운전할 수 있습니다.
거친 지형에서는 항상 서행하십시오.
장비의 기능을 익히기 위해 장비 운전을 연습하십시오.
커팅 유닛을 들어 올리고 주차 브레이크를 해제하고 전진 트랙션 페달을 밟아 사방이 트인 곳으로 주의하여 운전하십시오.
유체 정역학 변속기가 장착되어 있으며 다른 잔디 관리 장비와 기능이 다를 수 있으므로 장비 운전을 연습해야 합니다.
전진 및 후진, 엔진 시동 및 정지를 연습하십시오. 장비를 멈추려면 트랙션 페달에서 발을 떼서 페달이 NEUTRAL(중립) 위치로 돌아가게 하십시오.
Note: 내리막길에서는 후진 페달을 사용해서 멈춰야 할 수도 있습니다.
트랙션 페달에서 발을 떼고 브레이크 페달을 밟아 빠르게 정지시키십시오.
커팅 유닛을 올리거나 내린 채로 장애물 주위를 운전하는 연습을 하십시오. 좁은 물체 사이를 운행할 때에는 장비나 커팅 유닛이 손상되지 않도록 주의하십시오.
이 장비는 저속과 고속의 2가지 구동 속도 레인지를 사용할 수 있습니다. 속도 레인지 스위치를 사용하여 다음 위치를 선택합니다(그림 22).
고속/저속 자동 레인지:
H/L AUTO(H/L 자동) 위치를 선택하면 장비가 고속 레인지와 저속 레인지를 자동으로 선택합니다. H/L AUTO(H/L 자동) 위치는 자동 변속기 차량에서 D(주행)를 선택하는 것과 유사합니다.
Note: 잔디 손상을 방지하기 위해, 장비는 트랙션 페달이 NEUTRAL(중립) 위치에 있고 바퀴가 완전히 움직임을 멈췄을 때에만 저속 레인지와 고속 레인지 사이에서만 변속합니다.
Note: 장비를 고속 레인지에서 운전하는 동안 커팅 유닛을 이동 위치에서 내릴 수 없습니다.
H/L AUTO(H/L 자동) 위치를 선택하고 예초를 위해 커팅 유닛이 내려가면, 속도 레인지가 저속 레인지로 제한됩니다.
고속 레인지로 이동하려면, 속도 레인지 스위치에서 H/L AUTO(H/L 자동) 위치를 선택하고, PTO를 해제하고 커팅 유닛을 완전히 올립니다.
H/L AUTO(H/L 자동) 위치를 선택하면, 장비가 커팅 유닛의 위치 및/또는 PTO 스위치의 위치에 따라 고속 구동 레인지와 저속 구동 레인지 사이에서 자동으로 전환합니다.
저속 레인지:
스위치의 LOW(저속) 위치를 선택하면 장비가 항상 저속 레인지로 유지됩니다. LOW(저속) 위치는 자동 변속기 차량에서 2단, 1단 또는 L을 선택하는 것과 유사합니다.
LOW(저속) 위치를 선택하면 장비가 저속 레인지로만 주행합니다.
트레일러에 장비를 적재하거나, 정비소 같은 좁은 장소를 이동할 때 LOW(저속) 위치를 사용하십시오.

이 페달은 장비의 전진 및 후진 속도, 중립으로 돌아갈 때의 동적 제동을 제어합니다.
트랙션 페달은 자동차 방식의 스로틀을 작동하며 엔진 속도 및 장비 속도가 페달 움직임에 반응합니다.
이동 중일 때 트랙션 페달은 자동차와 유사하게 작동하며 트랙션 페달 위치에 따라 엔진 및 구동 속도를 변경합니다.
예초 작업 중일 때, 엔진 속도가 자동으로 고속 공회전으로 높아져 예초 성능을 최적화하며 트랙션 페달은 구동 속도만 제어합니다.
페달을 앞쪽으로 또는 뒤쪽으로 더 깊이 밟을수록 장비가 더 빨리 움직입니다.
이동하거나 예초하면서 장비를 부드럽게 정지하도록 제어하려면, 원하는 속도에서 발을 사용하여 트랙션 페달을 중립으로 돌아가게 하십시오.
최대 제동을 작동하려면 트랙션 페달에서 발을 떼서 트랙션 페달이 중립으로 돌아가게 하십시오. 장비가 동적으로 제동하여 정지합니다.
트랙션 시스템을 사용하여 작업자의 편의성과 및 코스 상태를 위해 가속 설정을 사용자 지정할 수 있습니다. 설정 변경은 가속 모드 이해를 참조하십시오.

가속 페달 정지(VPS) 기능을 통해 예초 및 이동 범위에서 일시적인 최고 트랙션 속도 제한을 설정할 수 있습니다.
이 기능에 액세스하려면 InfoCenter의 메인 화면에서 위아래 탐색 버튼을 선택합니다(그림 24).
VPS를 사용하여 최고 트랙션 속도를 조정하여 편안한 수준으로 맞추거나 작업 분야에 적합하도록 합니다.
감독관에 의해 보호되는 최고 트랙션 속도 이상으로 VPS 속도 제한을 조정할 수 없습니다.
VPS는 일시적인 설정입니다. 키를 OFF(끄기) 위치로 돌이면 이 기능은 감독관 속도 설정값으로 되돌아갑니다.
보호 메뉴 설정에서 감독관이 트랙션 속도를 변경하거나 , VPS를 통해 운전자가 변경하면, 중립에서 새로운 최고 속도 설정 사이에서 전체 페달 스트로크를 사용하도록 트랙션 페달이 자동으로 재프로그래밍됩니다.
최고 트랙션 속도 설정을 낮추면 트랙션 시스템을 정밀하게 제어할 수 있습니다.

VPS를 사용할 경우, 다음 작업에서 최고 속도가 일시적으로 낮아집니다.
페어웨이의 정리 경로에서 예초 작업할 경우.
정비소 근방에서 운전할 경우.
트레일러에 장비를 적재할 경우.
Note: 낮은 최고 속도를 사용하면 상기 작업을 수행하면서 제어력을 향상할 수 있습니다.행
Important: 긴급 제동 상황에서, 트랙션 페달에서 발을 뗀 다음 브레이크 페달을 밟으십시오.
저속 레인지에서만 회전을 위해 또는 구동력을 향상시키기 위해 브레이크를 개별적으로 사용할 수 있습니다. 브레이크를 개별적으로 사용할 때 다음을 수행하십시오.
페달 잠금 래치를 분리합니다(그림 25).
회전 보조를 위해, 회전하는 쪽으로 해당 브레이크 페달을 밟습니다. 회전 반경이 작을 때 도움이 됩니다.
Note: 특히 부드럽거나 젖은 잔디에서는 개별 브레이크를 주의하여 사용하십시오. 잔디가 우발적으로 손상될 수 있기 때문입니다.
구동력 보조를 위해, 미끄러지는 전방 타이어에 해당하는 브레이크 페달을 가볍게 밟으십시오. 예를 들어 경사진 곳에서 오르막 쪽의 바퀴가 미끄러져 구동력을 잃을 수 있습니다. 이러한 상황이 발생하면 오르막 쪽 바퀴의 미끄러짐이 멈출 때까지 오르막 쪽 브레이크 페달을 간헐적으로 서서히 밟으십시오. 이렇게 하면 내리막 쪽 바퀴의 구동력이 증가합니다.

크루즈 컨트롤 스위치는 크루즈 컨트롤를 잠가 원하는 지면 속도를 유지합니다. 스위치 뒤쪽을 누르면 크루즈 컨트롤이 꺼지고, 스위치의 중간을 누르면 크루즈 컨트롤 기능이 작동하고, 스위치의 앞쪽을 누르면 원하는 이동 속도를 설정합니다.
크루즈 컨트롤 스위치를 작동하고 속도를 설정한 다음(그림 26) InfoCenter를 사용하여 크루즈 컨트롤의 속도 설정을 조정합니다(그림 6 및 그림 27).
크루즈 컨트롤을 해제하려면 다음과 같이 하십시오.
고속 주행 모드에서 후진 트랙션 페달을 밟은 다음 주 브레이크를 밟거나 크루즈 컨트롤 스위치를 OFF(꺼짐) 위치로 누릅니다.
저속 레인지에서 후진 트랙션 페달을 밟은 다음 주 브레이크를 밟거나, PTO 스위치를 끄거나, 크루즈 컨트롤 스위치를 OFF(꺼짐) 위치로 누릅니다.

장애물이 없는 장거리를 주행할 때 크루즈 속도를 설정합니다.
거친 지형에서 InfoCenter를 사용하여 속도를 제어합니다.
선회할 때 크루즈 컨트롤를 다음과 같이 사용하십시오.
선회할 때 편안하고 안전한 저속으로 크루즈 컨트롤를 설정합니다.
예초 동작 중에 예초 속도를 높이기 위해 트랙션 페달을 밟습니다.
다음 예초 동작을 위해 선회할 때 페달에서 발을 뗍니다.
장비가 저속 크루즈 컨트롤 설정으로 감속하면 일정한 속도로 효율적으로 선회할 수 있습니다.
선회 후, 트랙션 페달을 사용하여 다음 예초 동작을 위해 장비 속도를 다시 높입니다.
이 설정은 장비가 구동 속도를 얼마나 빠르게 변경하는지 결정하고 저속 레인지에서 장비의 감속에 영향을 줍니다. InfoCenter에서 보호 메뉴로 들어가서 가속 모드를 변경합니다. 가속 모드에는 다음과 같은 3개 위치가 있습니다.
저속—낮은 수준의 가속 및 감속
중간—중간 정도의 가속 및 감속
고속—높은 수준의 가속 및 감속
선회 모드를 사용하면 편리한 원터치 제어를 사용하여 블레이드를 잠시 멈춘 상태에서 또는 다른 장애물을 피하면서 커팅 유닛을 잔디 위로 올릴 수 있기 때문에 예초 동작 종료 시 장비 운전에 집중할 수 있습니다.
Note: 선회 모드는 보호 설정에 포함된 기능입니다.
선회 모드를 ON(켜짐) 위치로 설정하면, 리프트 스위치를 뒤쪽으로 잠시 눌러(그림 6) 모든 커팅 유닛을 플로팅 위치에서 사전 설정 높이로 자동으로 올리고 PTO를 자동으로 해제할 수 있습니다. 예초 작업을 재개하려면 리프트 스위치를 앞쪽으로 누릅니다. 그러면 모든 커팅 유닛이 하강하고 PTO가 다시 기동합니다.
선회 모드를 OFF(꺼짐) 위치로 설정하면, 커팅 유닛이 원하는 높이로 올라갈 때까지 모든 리프트 스위치를 뒤쪽으로 길게 눌러 커팅 유닛을 플로팅 위치에서 수동으로 올릴 수 있습니다. Groundsmaster 4700 장비의 경우, 3개의 리프트 스위치 모두를 눌러 7개의 커팅 유닛 모두를 올립니다(그림 6). 선전 모드를 ON(켜짐)으로 설정하면 커팅 유닛이 사전 설정한 높이로 올라갈 때까지 PTO가 해제되지 않습니다.
Note: 선회 모드의 기본값은 ON(켜짐)입니다.
평형 시스템은 커팅 유닛 리프트 실린더에서 유압 배압을 유지합니다. 평형 시스템은 실시간 구동 압력을 모니터링하고 리프트 실린더 배압을 동적으로 변경하여 구동력과 예초 후 외관을 최적화합니다. 출고 시 평형 압력은 대부분의 잔디에서 예초 후 외관과 구동력이 최적의 균형을 이루도록 설정되어 있습니다. 평형 설정을 낮추면 커팅 유닛이 좀 더 안정되지만 구동력은 감소할 수 있습니다. 평형 설정을 높이면 구동력은 높아지지만 예초 후 외관 문제가 생길 수 있습니다. 평형 설정을 참조하십시오.
사용자 지정 가능 평형 설정 컨트롤은 다음과 같습니다.
낮음—커팅 유닛의 최고 중량과 구동 휠의 최저 중량
중간—커팅 유닛과 구동 휠의 중간 중량
높음—커팅 유닛의 최저 중량과 장비 구동 휠의 최고 중량
스마트 파워를 사용하면 작업자는 고부하 상태에서 엔진 속도의 소리를 들을 필요가 없습니다. 스마트 파워는 장비 속도를 자동으로 제어하고 커팅 성능을 최적화하여 엔진이 고부하 예초 상태에 고착되는 것을 방지합니다.
Note: 스마트 파워 기능의 기본값은 ON(켜짐)입니다.
Important: 다음 중 하나의 상황이라도 발생하면 연료 시스템을 비워야 합니다:
연료 부족으로 엔진이 꺼진 경우.
연료 시스템 부품에 대해 유지 관리 작업을 수행한 경우.
트랙션 페달에서 발을 떼고 NEUTRAL(중립) 위치에 있는지 확인합니다. 주차 브레이크가 체결되었는지 확인합니다.
키를 RUN(작동) 위치로 돌립니다. 예열 표시등이 켜져야 합니다.
예열 표시등이 어두워지면 키를 START(시동) 위치로 돌립니다.
Important: 한 번에 15초 이상 시동 모터를 돌리지 마십시오. 그렇게 하면 시동 장치가 빨리 망가질 수 있습니다. 15초 후에도 엔진의 시동이 걸리지 않으면 키를 OFF(꺼짐) 위치로 돌리고 컨트롤 및 절차를 확인하고 15초를 더 기다린 뒤 시동을 다시 걸어 보십시오.
엔진이 시동되면 바로 키를 놓아 RUN(작동) 위치로 돌아가게 합니다.
온도가 -7°C 이하이면 시동 모터를 30초 동안 돌린 뒤 60초 동안 끄는 작업을 2번 시도하십시오.
Important: 엔진을 정지하고 오일 누출, 느슨한 부품, 기타 고장 상태를 확인하기 전에 엔진을 식힙니다.
Important: 최대 부하로 작동한 후에는 엔진을 끄기 전에 5분 동안 엔진이 공회전하게 합니다. 이렇게 해서 엔진을 끄기 전에 터보차저를 식히십시오. 이를 이행하지 않을 경우 터보차저 문제가 조기에 발생할 수 있습니다.
Note: 장비를 주차할 때는 커팅 유닛을 지면까지 내립니다. 유닛을 내리면 시스템의 유압 부하를 해제하고, 부품의 마모를 방지하고, 커팅 유닛이 실수로 내려오는 것을 방지합니다.
PTO 스위치를 OFF(꺼짐) 위치로 이동합니다.
주차 브레이크를 체결합니다.
시동 키를 OFF(꺼짐) 위치로 돌립니다.
뜻하지 않게 출발하지 않도록 스위치에서 키를 뽑습니다.
Note: 엔진에 부하가 작용하는 속도로 잔디를 깎으면 DPF 재생이 촉진됩니다.
브레이크를 풀고 PTO를 해제하고 커팅 유닛을 올립니다.
속도 레인지 스위치로 H/L AUTO(H/L 자동) 또는 LOW(저속) 위치를 선택합니다. 고속 및 저속 레인지 스위치 사용을 참조하십시오.
Note: H/L AUTO(H/L 자동) 위치를 선택하고 커팅 유닛을 올리면, 장비가 자동으로 고속 레인지를 선택합니다.
트랙션 페달을 자동차의 가속 페달처럼 사용하여 장비를 작업 현장까지 운전할 수 있습니다.
첫 번째 예초 동작을 위해 장비를 예초 구역 외부에서 정렬합니다.
로커 스위치 또는 스위치로 커팅 유닛을 내립니다.
리프트 스위치(GM4500) 또는 중간 리프트 스위치(GM4700)를 뒤쪽으로 눌러 커팅 유닛을 선회 위치로 올립니다.
Note: InfoCenter의 보호 메뉴에서 활성화되었을 때에만 선회 위치를 사용할 수 있습니다. 로커 스위치를 짧게 누르면, 커팅 유닛이 선회 위치로 올라가고 커팅 유닛이 내려갈 때까지 블레이드 회전이 정지합니다.
PTO 스위치를 당겨서 커팅 유닛을 작동합니다.
Note: 커팅 유닛을 내리고 PTO 스위치를 작동하면 엔진 속도가 고속 공회전으로 자동으로 높아집니다.
트랙션 페달을 사용하여 예초 구역에 천천히 접근하면서 전방 커팅 유닛이 예초 구역 위에 들어가면 로커 스위치로 커팅 유닛을 내립니다.
Note: 커팅 유닛을 빨리 내리거나 비작업 구역을 깎지 않도록 연습하십시오.
구역의 예초를 시작합니다.
예초 동작을 완료하면 리프트 스위치(GM4500) 또는 중간 리프트 스위치(GM4700)를 뒤쪽으로 눌러 커팅 유닛을 선회 위치로 올립니다.
눈물 형상 회전을 하여 다음 경로에 맞추어 빠르게 줄을 맞춥니다.
리프트 스위치(GM4500) 또는 중간 리프트 스위치(GM4700)를 누르면 커팅 유닛을 선회 위치에서 자동으로 내려 예초를 계속합니다.
엔진 냉각팬은 평소에 장비가 제어합니다. 장비는 후방 스크린에서 잔해물을 불어내기 위해 팬을 역회전시킬 수 있습니다. 정상 작동 조건에서는, 장비가 냉각수와 유압 오일 온도를 기반으로 팬 속도와 방향을 제어하고 팬이 자동으로 역회전하여 후방 스크린에서 잔해물을 불어 냅니다.
InfoCenter 내부에 있는 좌우 버튼 2개를 2초 동안 눌러 수동으로 팬을 반대로 돌릴 수 있으며(그림 28) 팬은 수동으로 시작한 역회전 사이클을 완료합니다 후방 스크린이 막혔을 때 또는 장비를 정비소 또는 보관 창고까지 이동하기 전에 팬을 역회전시키십시오.

한 방향으로만 반복적으로 움직여 예초 후 외관이 나빠지는 것을 최소화하려면 종종 예초 패턴을 바꾸십시오.
www.Toro.com에서 예초 후 외관 문제 해결 가이드(After-cut Appearance Troubleshooting Guide)를 참조하십시오.
잔디를 깎으려면 커팅 유닛을 체결한 다음 잔디를 깎을 곳으로 서서히 접근하십시오. 전방 커팅 유닛이 잔디 깎을 영역에 도달하면 커팅 유닛을 내리십시오.
일부 용도에 바람직한 전문가급의 직선 깎기 및 줄무늬 효과를 내려면 먼 거리에 있는 나무나 기타 물체를 기준으로 삼아 그쪽을 향해 똑바로 모십시오.
전방 커팅 유닛이 예초 영역 가장자리에 도달하면 즉시 커팅 유닛을 들어 올리고 눈물방울 모양으로 회전한 다음 예초 작업을 준비하십시오.
커팅 유닛용 볼트 조임 방식 멀칭 배플을 구할 수 있습니다. 이 멀칭 배플은 매번 커팅할 때마다 잔디가 25 mm 이내로 잘리도록 잔디를 주기적으로 관리했을 때 가장 성과가 좋습니다. 멀칭 배플을 장착한 채로 너무 길게 커팅하면 예초 후 외관이 나빠질 수 있고 잔디를 깎은 티가 두드러질 수 있습니다. 멀칭 배플은 또한 가을철에 낙엽을 분쇄하는 용도로도 잘 동작합니다.
예초할 때 약 25mm 또는 잔디 풀잎의 1/3이 넘지 않게 깎으십시오. 유별나게 무성하거나 빽빽한 잔디에서는 예고 설정을 높여야 할 것입니다.
날카로운 블레이드는 무딘 블레이드처럼 잔디를 뜯거나 분쇄하지 않고 깨끗하게 잘라 냅니다. 잔디가 뜯기거나 분쇄되면 가장자리가 갈색으로 변하면서 성장에 악영향을 주고 질병에 걸릴 위험이 커집니다. 블레이드 상태가 양호하고 날이 모두 서 있는지 확인하십시오. 커팅 유닛 검사 및 연마를 참조하십시오.
커팅 챔버 상태가 양호한지 확인하십시오. 챔버 구성 요소에 굽은 부분이 있으면 모두 펴서 블레이드 팁/챔버 간격을 정확하게 맞추십시오. 모든 롤러 및 피벗팅 조인트에 유격이 없게 하여 잔디 손상 또는 예초 후 외관 불량을 방지합니다.
예초 작업이 끝나면 과도한 수압으로 씰이나 베어링이 오염 및 손상되지 않도록 노즐이 없는 정원용 호스를 사용하여 장비를 꼼꼼히 세척하십시오. 라디에이터와 오일 쿨러에는 이물질이나 잔디 예지물이 없어야 합니다. 청소가 끝나고 나면 유압 오일이 새는지, 유압 장치나 기계 장치가 손상 또는 마모되었는지 점검하고 커팅 유닛 블레이드가 예리한지 점검하십시오.
엔진을 끄고 키를 뺀 다음 모든 움직임이 멈출 때까지 기다려 운전석에서 내리십시오. 장비가 식은 후에 장비를 조정, 정비, 청소 또는 보관하십시오.
커팅 유닛, 머플러 및 엔진에 붙어 있는 잔디와 부스러기를 제거하여 화재를 예방하십시오. 흘린 오일이나 연료를 청소하십시오.
커팅 유닛이 이동 위치인 경우, 장비에 아무도 없을 때에는 포지티브 메커니컬 록(사용 가능한 경우)을 사용하십시오.
장비를 밀폐된 곳에 보관하기 전에 엔진을 식히십시오.
장비를 보관하거나 운송하기 전에 키를 빼고 연료를 차단하십시오(꽂혀 있는 경우).
노출된 화염, 불꽃, 온수기나 기타 기구의 점화용 불씨가 있는 곳에는 절대로 장비나 연료통을 보관하지 마십시오.
필요한 경우 안전 벨트(들)을 정비하고 청소하십시오
장비를 밤새 주차하거나 장기 보관할 경우 커팅 유닛 보관 로프를 사용하여 전방 외부 커팅 유닛이 움직이는 것을 방지합니다. 또한 장비가 예초 작업 구역 사이에서 이동하는 동안 커팅 유닛 보관 로프를 사용하여 커팅 유닛이 움직이는 것을 방지할 수 있습니다.

Note: 로프를 사용하지 않을 때 집어넣습니다.
PTO가 해제되어 있는지 확인합니다.
장비를 평지에 주차합니다.
주차 브레이크를 체결합니다.
커팅 유닛을 내린 상태에서 롤러 지지대 보강판의 슬롯에 로프 고리를 밀어 넣습니다(그림 31).

장비를 밤새 주차해 놓거나, 장비를 장거리 이동하거나, 거친 지형에서 이동하거나, 장비를 운송하거나 보관할 때 6번 및 7번 커팅 유닛(그림 10)에 있는 2개의 후방 이동 래치를 사용하여 움직이는 것을 방지합니다.

장비를 보관하거나 운송하기 전에 키를 빼고 연료를 차단하십시오(꽂혀 있는 경우).
트레일러나 트럭에 장비를 싣거나 내릴 때에는 주의하십시오.
트레일러나 트럭에 장비를 싣는 경우 전폭 램프를 사용하십시오.
장비를 단단히 매십시오.
비상 시에는 가변 변위 유압 펌프의 바이패스 기능을 작동시킨 후 장비를 밀거나 견인하여 전진 이동할 수 있습니다.
Important: 장비를 3~4.8 km/h보다 빠르게 밀거나 견인하지 마십시오. 더 빠른 속도로 밀거나 견인하는 경우, 내부 변속기가 손상될 수 있습니다.릴리프 밸브는 장비를 밀거나 견인할 때마다 반드시 열려 있어야 합니다.
후드를 열고 배터리/보관함 뒤에 있는 펌프 상단의 릴리프 밸브(그림 33)를 찾습니다.
각 밸브를 반시계 방향으로 3바퀴 돌려 열고 오일이 내부를 우회하도록 합니다.
Note: 밸브를 3바퀴를 초과하여 돌리지 마십시오.오일이 우회하므로 변속기 손상 없이 장비를 천천히 옮길 수 있습니다.


장비를 앞으로 밀거나 견인합니다.
Important: 장비를 뒤로 밀거나 견인해야 할 경우, 후진 견인 키트(부품 번호 136-3620)를 참조하십시오.
장비를 밀거나 견인하는 작업을 마치면 릴리프 밸브를 닫습니다. 밸브를 70 N∙m 토크로 조입니다.
Note: 정상 운전 위치에서 장비의 좌측과 우측을 판단하십시오.
Important: 추가 유지보수 절차는 엔진 사용 설명서를 참조하십시오.
Note: www.Toro.com을 방문하여 홈 페이지의 Manual(설명서) 링크를 이용해 자신의 장비를 검색하여 전기나 유압 도면 무료 사본을 다운로드하십시오.
운전석을 떠나기 전에 다음을 이행하십시오:
장비를 평지에 주차합니다.
동력 인출 장치를 해제하고 부속 장치를 내립니다.
주차 브레이크를 체결합니다.
엔진을 끄고 키를 뺍니다.
모든 움직임이 멈출 때까지 기다립니다.
스위치에 키를 꽂아 두면 누군가 우발적으로 엔진을 작동시켜 운전자나 주변에 있는 사람에게 중상을 입힐 수 있습니다. 유지보수를 실시하기 전에 스위치에서 키를 빼십시오.
장비를 관리하기 전에 장비 구성 부품을 식히십시오.
커팅 유닛이 이동 위치인 경우, 장비에 아무도 없을 때에는 포지티브 메커니컬 록(장착된 경우)을 사용하십시오.
가능하다면, 엔진 작동 중에는 장비를 정비하지 마십시오. 움직이는 부품에서 떨어지십시오.
기기 아래에서 작업할 때마다 잭 스탠드로 장비를 받치십시오.
에너지가 축적된 부품의 압력은 조심스럽게 빼십시오.
장비의 모든 부품을 양호한 작동 상태로 유지하고 모든 기계 부품, 특히 블레이드 부속 장치 부품을 단단히 조이십시오.
닳거나 손상된 데칼은 모두 교체하십시오.
장비가 안전하게 최적 성능으로 작동하게 하려면, 순정 Toro 교체 부품만 사용하십시오. 다른 제조사에서 만든 교체 부품은 위험할 수 있으며, 그렇게 사용하면 제품 보증이 무효가 될 수 있습니다.
| 유지보수 서비스 간격 | 유지보수 절차 |
|---|---|
| 처음 1시간 후 |
|
| 처음 10시간 후 |
|
| 처음 50시간 후 |
|
| 처음 200시간 후 |
|
| 매번 사용하기 전 또는 매일 |
|
| 매 50시간 |
|
| 매 100시간 |
|
| 매 200시간 |
|
| 매 250시간 |
|
| 매 400시간 |
|
| 매 800시간 |
|
| 매 1,000시간 |
|
| 매 2,000시간 |
|
| 보관하기 전 |
|
| 매 2년 |
|
이 페이지를 복사하여 사용하십시오.
| 유지보수 점검 항목 | 주 시작 날짜: | ||||||
|---|---|---|---|---|---|---|---|
| 월요일 | 화요일 | 수요일 | 목요일 | 금요일 | 토요일 | 일요일 | |
| 안전 인터록 작동 점검. | |||||||
| 브레이크 작동 상태 점검. | |||||||
| 엔진 오일 레벨 점검. | |||||||
| 냉각 시스템 오일 레벨 점검. | |||||||
| 수분/연료 분리기 비움. | |||||||
| 공기 필터, 더스트 컵 및 버프 밸브 점검. | |||||||
| 엔진 소음 이상 점검.1 | |||||||
| 라디에이터 및 스크린에 붙은 잔해물 제거. | |||||||
| 엔진 작동 소음 이상 점검. | |||||||
| 유압 오일 레벨 점검. | |||||||
| 유압 호스 손상 여부 점검. | |||||||
| 오일 누출 점검. | |||||||
| 연료 레벨 점검. | |||||||
| 타이어 공기압 점검. | |||||||
| 계기 작동 점검. | |||||||
| 예고 조정 점검. | |||||||
| 모든 구리스 피팅 윤활2 | |||||||
| 장비 청소. | |||||||
| 벗겨진 페인트 복원. | |||||||
|
1시동이 힘들거나 지나친 매연, 거친 작동이 감지되면 예열 플러그와 분사기 노즐을 점검하십시오. 2표시된 주기와 상관없이 매번 세척 후 즉시 시행. |
|||||||
Important: 추가 유지보수 절차는 엔진 사용 설명서를 참조하십시오.
| 검사자: | ||
| 항목 | 날짜 | 정보 |
| 유지보수 서비스 간격 | 유지보수 절차 |
|---|---|
| 매 50시간 |
|
그리스 규격: 리튬 그리스 2호
구리스 피팅 위치와 개수는 다음과 같습니다.
그림 40에 표시된 브레이크 샤프트 피벗 베어링(5)

그림 41에 표시된 후방 차축 피벗 부싱(2)

그림 42에 표시된 스티어링 실린더 볼 조인트(2)

그림 42에 표시된 타이 로드 볼 조인트(2)
그림 42에 표시된 킹핀 부싱(2)
Important: 킹핀의 상단 피팅을 연간 1회 이하로 윤활하십시오(펌프 2개).
그림 43에 표시된 리프트 암 부싱(커팅 유닛당 1개)

그림 43에 표시된 리프트 실린더 부싱(커팅 유닛당 2개)
그림 44에 표시된 커팅 유닛 스핀들 샤프트 베어링(커팅 유닛당 2개)
Note: 어느 쪽 피팅이든 접근하기가 더 쉬운 것을 사용할 수 있습니다. (커팅 유닛 밑에 있는) 스핀들 하우징의 하단에 약간의 그리스가 보일 때까지 피팅에 그리스를 펌핑해 넣습니다.

그림 44에 표시된 커팅 유닛 캐리어 암 부싱(커팅 유닛당 1개)
그림 45에 표시된 후방 롤러 베어링(커팅 유닛당 2개)

Important: 각 롤러 마운트의 그리스 홈이 롤러 샤프트 끝에 있는 그리스 구멍과 일치하는지 확인하십시오. 홈과 구멍을 나란히 맞출 수 있도록 롤러 샤프트의 한쪽 끝에 맞춤용 표시도 있습니다.
오일을 점검하거나 크랭크케이스에 오일을 보충하기 전에 엔진을 끄고 키를 뺍니다.
엔진 조속기 속도를 변경하거나 엔진 속도를 과도하게 올리지 마십시오.
| 유지보수 서비스 간격 | 유지보수 절차 |
|---|---|
| 매 400시간 |
|
에어 클리너 바디에 공기 누출을 유발할 수 있는 손상이 있는지 점검하십시오. 손상된 경우 교체하십시오. 흡입 시스템 전체에 걸쳐 누출, 손상 또는 느슨한 호스 클램프 유무를 점검하십시오.
에어 클리너 필터는 정비 표시기(그림 46)에서 요구할 때에만 정비하십시오. 필요하기 전에 에어 필터를 교체하면 필터를 제거했을 때 먼지가 엔진에 유입될 가능성만 커집니다.

Important: 커버가 제대로 닫혀 있는지 확인하고 에어 클리너 바디를 밀봉합니다.
다음 규격을 충분히 충족하는 고품질 저회분 엔진 오일을 사용하십시오.
API 서비스 범주 CJ-4 이상
ACEA 서비스 범주 E6
JASO 서비스 범주 DH-2
Important: API CJ-4 이상, ACEA E6, 또는 JASO DH-2 이외의 엔진 오일을 사용하면 디젤 미립자 필터가 막히거나 엔진을 손상시킬 수 있습니다.
사용할 엔진 오일 점도 등급:
권장 오일: SAE 15W-40 (0°F 초과)
대체 오일: SAE 10W-30 또는 5W-30(모든 온도에서)
Toro 공식 판매 대리점에서는 점도 등급이 15W-40 또는 10W-30인 Toro 프리미엄 엔진 오일을 판매합니다. 부품 번호는 부품 카탈로그를 참조하십시오.
| 유지보수 서비스 간격 | 유지보수 절차 |
|---|---|
| 매번 사용하기 전 또는 매일 |
|
엔진은 크랭크케이스에 오일을 채운 상태로 출하됩니다. 하지만, 엔진을 처음 시동하기 전과 후에 반드시 오일 레벨을 확인해야 합니다.
Important: 엔진 오일을 매일 점검합니다. 엔진 오일 레벨이 계량봉의 Full(가득 참) 표시 위인 경우, 엔진 오일이 연료로 희석될 수 있습니다.엔진 오일 레벨이 계량봉의 Full(가득 참) 표시 위인 경우, 엔진 오일을 교환하십시오.
엔진 오일을 점검하기에 가장 좋은 시간은 일과 시작 전 엔진이 식어 있을 때입니다. 엔진이 이미 작동되었다면 점검하기 최소 10분 전에 오일이 기름통으로 다시 빠져나가도록 하십시오. 오일 레벨이 계량봉의 Add(추가) 표시에 있거나 그 밑에 있다면 Full(가득 참) 표시까지 오일을 보충하십시오. 엔진에 오일을 과다 주입하지 마십시오.
Important: 엔진 오일 레벨을 계량봉의 상한 및 하한 사이로 유지하십시오. 오일이 너무 많거나 너무 적은 상태로 가동하면 엔진이 고장날 수 있습니다.
엔진 오일 레벨을 점검합니다. 그림 49을 참조하십시오.


Note: 다양한 오일을 사용한다면 새 오일을 추가하기 전에 크랭크케이스에서 기존의 모든 오일을 배출하십시오.
약 5.7 L(필터 포함).
| 유지보수 서비스 간격 | 유지보수 절차 |
|---|---|
| 매 250시간 |
|
Note: InfoCenter에 정비 표시기를 재설정하려면 정비 시한 타이머 설정을 참조하십시오.
엔진을 시동하고 5분간 가동하여 오일을 예열합니다.
평지에 장비를 주차하고 주차 브레이크를 체결하고 엔진을 멈춘 다음 키를 뺍니다.
엔진 오일과 필터를 교환하십시오(그림 50).


크랭크케이스에 오일을 보충합니다. 크랭크케이스 오일 용량 및 엔진 오일 레벨 점검을 참조하십시오.
특정 환경에서 디젤 연료와 연료 증기는 가연성이 매우 높으며 폭발할 수 있습니다. 연료로 인한 화재나 폭발은 자신과 타인에게 화상을 입힐 수 있으며 재산상의 피해를 초래할 수도 있습니다.
연료를 채울 때는 야외의 개방된 공간에서 엔진이 꺼져 있고 식어 있을 때 깔대를 사용하여 채우십시오. 흘린 연료가 있으면 모두 닦아 내십시오.
연료 탱크를 가득 채우지 마십시오. 레벨이 주입구 하단 6~13 mm에 도달할 때까지 연료 탱크에 연료를 추가하십시오. 탱크 내의 이 빈 공간은 연료가 팽창하는 데 필요합니다.
연료를 취급할 때 절대 담배를 피워서는 안 되며, 화염이 있는 곳이나 불꽃으로 인해 연료 가스에 불이 붙을 수 있는 곳에서 멀리 떨어지십시오.
연료는 깨끗하고 안전 승인을 받은 용기에 보관하고 캡은 닫아 두십시오.
| 유지보수 서비스 간격 | 유지보수 절차 |
|---|---|
| 매 800시간 |
|
| 보관하기 전 |
|
명시된 정비 주기 이외에도, 연료 시스템이 오염되거나 장비를 장기간 보관하는 경우 탱크를 비우고 청소하십시오. 깨끗한 연료를 사용하여 탱크를 씻어 내십시오.
| 유지보수 서비스 간격 | 유지보수 절차 |
|---|---|
| 매 400시간 |
|
연료 라인에 노후화, 손상 또는 느슨하게 연결된 부분이 있는지 점검하십시오.

| 유지보수 서비스 간격 | 유지보수 절차 |
|---|---|
| 매번 사용하기 전 또는 매일 |
|
그림 52와 같이 연료/수분 분리기에서 물을 배출합니다.
물을 배수한 후 필터와 라인을 고압 펌프로 프라이밍합니다. 연료 시스템 프라이밍을 참조하십시오.

| 유지보수 서비스 간격 | 유지보수 절차 |
|---|---|
| 매 400시간 |
|
그림 53과 같이 연료 필터 캐니스터를 교체하십시오.
필터를 교체한 후 필터와 라인을 고압 펌프로 프라이밍합니다. 연료 시스템 프라이밍을 참조하십시오.

| 유지보수 서비스 간격 | 유지보수 절차 |
|---|---|
| 매 400시간 |
|
연료 필터 헤드(그림 54) 주위를 청소합니다.

필터를 제거하고 필터 헤드 장착 면을 청소합니다(그림 54).
필터 개스킷을 깨끗한 윤활 엔진 오일로 윤활합니다. 자세한 내용은 엔진 사용 설명서를 참조하십시오.
개스킷이 필터 헤드에 닿을 때까지 손으로 마른 필터 캐니스터를 장착한 다음 1/2바퀴 더 돌립니다.
필터와 라인을 고압 펌프로 프라이밍합니다. 연료 시스템 프라이밍을 참조하십시오.
엔진을 시동하고 필터 헤드 주위에 누출이 없는지 검사합니다.
연료 탱크 안쪽에 있는 연료 픽업 튜브에는 잔해물이 연료 시스템에 유입하는 것을 방지하는 막이 장착되어 있습니다. 연료 흡입 튜브를 제거하고, 필요한 경우 스크린을 청소합니다.
연료 공급 호스를 연료 픽업 튜브 피팅에 고정하는 호스 클램프를 제거합니다(그림 55).

피팅에서 호스를 분리합니다(그림 55).
연료 탱크에서 연료 픽업 튜브를 들어 올립니다(그림 55).
Note: 탱크의 부싱에서 튜브를 직선으로 들어 올립니다.
연료 픽업 튜브 말단의 스크린에서 잔해물을 청소합니다(그림 55).
고무 부싱을 통해 연료 픽업 튜브를 탱크에 삽입합니다(그림 55).
Note: 연료 픽업 튜브가 고무 부싱에 완전히 안착하도록 하십시오.
공급 호스를 연료 픽업 튜브 피팅에 장착하고 1 단계에서 제거한 호스 클램프로 호스를 고정합니다.
엔진을 처음 시동하기 전, 연료가 고갈된 후, 또는 연료 시스템 유지보수 작업(예: 필터/수분 분리기 배수, 연료 호스 교체) 후에 연료 시스템을 프라이밍하십시오.
연료 시스템을 프라이밍하려면 다음 단계를 수행하십시오.
연료 탱크에 연료가 있는지 확인합니다.
다음 단계를 수행하며 필터 및 라인을 고압 펌프로 프라이밍하여 펌프의 마모나 손상을 방지합니다.
키를 ON(켜짐) 위치로 15~20초 정도 돌립니다.
키를 OFF(꺼짐) 위치로 30~40초 정도 돌립니다.
Note: 그러면 ECU의 전원이 꺼집니다.
키를 ON(켜짐) 위치로 15~20초 정도 돌립니다.
필터와 호스 주변의 누출 여부를 검사합니다.
Important: 엔진 스타터 모터를 사용하여 엔진을 크랭킹하여 연료 시스템을 프라이밍하지 마십시오.
장비를 수리하기 전에 배터리 연결을 해제하십시오. 먼저 음극 단자의 연결을 해제한 다음 양극 단자의 연결을 해제하십시오. 먼저 양극 단자를 연결한 다음 음극 단자를 마지막으로 연결하십시오.
불똥이나 화염이 없으며 통풍이 잘 되는 개방된 곳에서 배터리를 충전하십시오. 충전기를 배터리에 연결하거나 연결 해제하기 전에 충전기 플러그를 뽑으십시오. 보호복을 입고 절연된 도구를 사용하십시오.
| 유지보수 서비스 간격 | 유지보수 절차 |
|---|---|
| 매 50시간 |
|
Important: 장비에 용접하기 전에 배터리에서 음극 케이블을 분리하여 전기 시스템의 손상을 방지하십시오. 또한, 장비에 용접 작업을 하기 전에 엔진, InfoCenter, 장비 컨트롤러를 배터리에서 분리해야 합니다.
Note: 배터리에 이물질이 끼면 느리게 방전되므로 단자와 배터리 케이스 전체를 깨끗하게 유지하십시오. 배터리를 청소하려면 베이킹소다와 물을 섞은 용액으로 케이스 전체를 닦으십시오. 깨끗한 물로 헹궈 내십시오. 부식 방지를 위해 Grafo 112X(스킨오버) 그리스(Toro 부품 번호: 505-47) 또는 바셀린을 배터리 포스트와 케이블 커넥터에 바르십시오.
우측 보관 박스의 커버에 있는 래치를 느슨하게 하고 커버를 올립니다(그림 58).
배터리 전해액에 포함된 황산은 치명적인 독극물이며, 심한 화상을 입힐 수 있습니다.
전해액을 마시거나 피부, 눈 또는 옷에 닿지 않도록 하십시오. 보안경과 고무 재질의 장갑을 착용하여 눈과 손을 보호하십시오.
배터리는 피부를 씻을 수 있는 깨끗한 물이 항상 있는 곳에서 충전하십시오.
양극 단자에서 고무 부트를 제거하고 배터리를 점검합니다.
배터리의 음극(-) 단자에서 음극 케이블(검은색)을 제거하고, 양극(+) 단자에서 양극 케이블(적색)을 제거합니다(그림 56).
배터리 케이블을 잘못 배선하면 장비와 케이블이 손상되어 불똥이 튈 수 있으며, 불꽃이 배터리 가스를 폭발시켜 개인 상해로 이어질 수 있습니다.
항상 음극(검은색) 배터리 케이블을 분리한 다음 양극(적색) 케이블을 분리하십시오.
항상 양극(적색) 배터리 케이블을 연결한 다음 음극(검은색) 케이블을 연결하십시오.
배터리 단자나 금속 도구가 금속 구성품에 닿으면 단락되어 불똥이 튈 수 있습니다. 불꽃이 배터리 가스를 폭발시켜 개인 상해로 이어질 수 있습니다.
배터리를 제거하거나 장착할 때에는 배터리 단자가 장비의 금속 부품에 닿지 않도록 하십시오.
배터리 단자와 장비의 금속 부품 사이에서 금속 도구가 단락되지 않도록 하십시오.

배터리 포스트에 3~4암페어의 배터리 충전기를 연결합니다. 3~4암페어로 4~8시간 동안 배터리를 충전합니다.
배터리를 충전하면 폭발성 가스가 생성됩니다.
배터리 근처에서는 절대 흡연하지 않아야 하며 불꽃이나 화염에서 배터리를 멀리 하십시오.
배터리가 충전되면 충전기를 전기 콘센트와 배터리 포스트에서 분리합니다.
양극 케이블(적색)은 배터리 양극(+) 단자에, 음극 케이블(검은색)은 배터리 음극(–) 단자에 연결합니다(그림 56).
볼트와 너트로 케이블을 포스트에 고정합니다.
Note: 양극(+) 단자를 포스트에 똑바로 고정하고 케이블을 말끔히 정리합니다. 케이블이 배터리 커버에 닿지 않아야 합니다.
부식 방지를 위해 Grafo 112X(스킨 오버) 그리스(부품 번호 505-47), 바셀린 또는 연성 그리스를 양쪽 배터리 연결부 모두에 바릅니다.
양극 단자에 고무 부트를 씌웁니다.
제어판을 닫고 래치를 고정합니다.

| 유지보수 서비스 간격 | 유지보수 절차 |
|---|---|
| 매 400시간 |
|
유성 드라이브/드라이브에 유격이 없어야 합니다(즉, 차축에 평행하게 밀거나 당기면 휠이 움직이지 않아야 합니다).
수평면에 장비를 주차하고 주차 브레이크를 체결하고 커팅 유닛을 내리고 엔진을 끄고 키를 뺍니다.
후방 휠을 괴고 장비 전방을 올리고, 잭 스탠드로 전방 차축/프레임을 지지합니다.
잭에 걸린 장비는 불안정하며 잭에서 미끄러지면 아래에 있는 사람이 부상당할 수 있습니다.
장비가 잭에 걸려 있을 때 엔진을 시동하지 마십시오.
항상 장비를 떠나기 전에 스위치에서 키를 빼십시오.
잭으로 장비를 올릴 때 타이어를 블록으로 받칩니다.
잭 스탠드로 장비를 지지합니다.
전방 구동 휠 중 한 개를 잡고 장비 방향으로 앞뒤로 밀고 당겨서 움직이는지 확인합니다.

다른 구동 휠에 대해 3 단계를 반복합니다.
휠이 움직이면 Toro 공식 판매 대리점에 연락하여 유성 드라이브를 다시 구축하십시오.
| 유지보수 서비스 간격 | 유지보수 절차 |
|---|---|
| 매 400시간 |
|
오일 규격: 고품질 SAE 85W-140 기어 오일
장비를 평지에 주차한 다음 주입 플러그는 12시 방향에, 점검 플러그는 3시 방향에, 배출 플러그는 6시 방향에 오도록 휠을 조정합니다 (그림 62).

3시 방향의 점검 플러그를 제거합니다(그림 62).
오일 레벨이 점검 플러그 구멍 하단이어야 합니다.

오일 레벨이 낮으면 12시 방향의 주입 플러그를 제거하고 3시 방향의 구멍에서 오일이 흘러나올 때까지 오일을 보충합니다.
플러그의 O-링이 마모되거나 손상되지 않았는지 점검하십시오.
Note: 필요한 경우 O-링을 교체하십시오.
플러그를 장착합니다.
장비의 반대쪽 유성 기어 어셈블리에서 1에서 5 단계까지 반복합니다.
| 유지보수 서비스 간격 | 유지보수 절차 |
|---|---|
| 처음 50시간 후 |
|
| 매 800시간 |
|
오일 규격: 고품질 SAE 85W-140 기어 오일
유성 및 브레이크 하우징 윤활 용량: 0.65 L
장비를 평지에 주차한 다음 주입 플러그는 12시 방향에, 점검 플러그는 3시 방향에, 배출 플러그는 6시 방향에 오도록 휠을 조정합니다. 유성 기어 드라이브 오일 점검의 그림 62을 참조하십시오.
12시 방향의 주입 플러그 및 3시 방향의 점검 플러그를 제거합니다(그림 64).

드레인 팬을 유성 허브 아래에 놓은 다음 6시 방향의 배출 플러그를 제거하여 오일이 완전히 배출되게 합니다(그림 64).
주입, 점검 및 배출 플러그의 O-링이 마모되거나 손상되지 않았는지 점검하십시오.
Note: 필요한 경우 O-링을 교체하십시오.
유성 하우징의 배출 구멍에 배출 플러그를 장착합니다(그림 64).
드레인 팬을 브레이크 하우징 아래에 놓은 다음 배출 플러그를 제거하여 오일이 완전히 배출되게 합니다(그림 65).

플러그의 O-링이 마모되거나 손상되지 않았는지 점검하고 배출 플러그를 브레이크 하우징에 장착합니다.
Note: 필요한 경우 O-링을 교체하십시오.
주입 플러그 구멍을 통해 유성 기어에 고품질 SAE 85W-140 wt 기어 오일 0.65 L를 서서히 채웁니다.
Important: 0.65 L의 오일을 보충하기 전에 유성 기어가 가득 차면 한 시간을 기다리거나 플러그를 장착하고 장비를 약 3.05 m 옮겨 오일이 브레이크 시스템을 통해 분산되게 하십시오. 그런 다음 플러그를 제거하고 남은 오일을 보충합니다.

주입 플러그 및 점검 플러그를 장착합니다.
유성 기어 및 브레이크 하우징을 깨끗하게 닦아냅니다(그림 67).

장비의 반대쪽에서 유성 기어/브레이크 어셈블리에 대해 유성 기어 드라이브 배출에 설명된 1에서 7 단계까지, 이 절차의 1에서 3 단계까지 반복합니다.
| 유지보수 서비스 간격 | 유지보수 절차 |
|---|---|
| 매번 사용하기 전 또는 매일 |
|
후방 차축과 기어박스에 누출이 있는지 육안으로 검사합니다.

| 유지보수 서비스 간격 | 유지보수 절차 |
|---|---|
| 매 400시간 |
|
후방 차축에는 SAE 85W-140 기어 오일이 채워져 있습니다. 용량은 2.4 L입니다. 매일 육안으로 누출 여부를 검사하십시오.
수평면에 장비를 주차하고 주차 브레이크를 체결하고 커팅 유닛을 내리고 엔진을 끄고 키를 뺍니다.
차축 한 끝의 점검 플러그를 제거하고 윤활유가 구멍 하단까지 차 있는지 확인합니다(그림 69).
Note: 레벨이 낮으면 주입 플러그를 제거하고 레벨이 점검 플러그 구멍 하단까지 오도록 윤활유를 충분히 보충합니다.

| 유지보수 서비스 간격 | 유지보수 절차 |
|---|---|
| 처음 200시간 후 |
|
| 매 800시간 |
|
윤활유 규격: 고품질 SAE 85W-140 기어 윤활유
차축 용량: 2.4 L
수평면에 장비를 주차하고 주차 브레이크를 체결하고 커팅 유닛을 내리고 엔진을 끄고 키를 뺍니다.
양쪽 끝에 1개씩 있고 중앙에 1개가 있는 총 3개의 배출 플러그 주변을 깨끗이 닦습니다(그림 70).

기어 윤활유가 쉽게 배출되도록 오일 레벨 점검 플러그 및 기본 차축 통풍 캡을 제거합니다.
배출 플러그를 제거하여 기어 윤활유를 팬에 배출합니다.
플러그를 장착합니다.
점검 플러그를 제거하고 차축에 85W-140 기어 윤활유를 약 2.4 L, 혹은 구멍 하단까지 오도록 채웁니다.
점검 플러그를 장착합니다.
| 유지보수 서비스 간격 | 유지보수 절차 |
|---|---|
| 매 400시간 |
|
기어 박스에는 SAE 85W-140 기어 윤활유가 채워져 있습니다. 용량은 0.5 L입니다. 매일 육안으로 누출 여부를 검사하십시오.
수평면에 장비를 주차하고 주차 브레이크를 체결하고 커팅 유닛을 내리고 엔진을 끄고 키를 뺍니다.
기어 박스의 왼쪽에서 점검/주입 플러그를 제거하고 오일이 구멍 하단까지 차 있는지 확인합니다(그림 71).
Note: 레벨이 낮으면 레벨이 구멍 아래까지 오도록 충분한 양의 오일을 보충합니다.

| 유지보수 서비스 간격 | 유지보수 절차 |
|---|---|
| 매 800시간 |
|
수평면에 장비를 주차하고 주차 브레이크를 체결하고 커팅 유닛을 내리고 엔진을 끄고 키를 뺍니다.
차축 높이를 기준으로 조향 타이어의 앞쪽과 뒤쪽에서 중심부터 중심까지의 거리를 측정합니다(그림 72).
Note: 앞쪽 수치가 뒤쪽 수치보다 3 mm 짧아야 합니다.

조정하려면 둘 중 한 쪽의 타이 로드 볼 조인트에서 코터 핀과 너트를 제거합니다(그림 73). 차축 케이스 지지대에서 타이 로드 볼 조인트를 제거합니다.

타이 로드 양쪽 끝의 클램프를 풉니다(그림 73).
분리된 볼 조인트를 안쪽 또는 바깥쪽으로 1바퀴 완전히 돌리고 타이 로드의 느슨한 쪽에 있는 클램프를 조입니다.
전체 타이 로드 어셈블리를 같은 방향(안쪽 또는 바깥쪽)으로 1바퀴 완전히 돌리고 타이 로드의 연결된 쪽에 있는 클램프를 조입니다.
차축 케이스 지지대에 볼 조인트를 장착하고, 너트를 손가락으로 단단히 조인 다음 토우인을 측정합니다.
필요하다면 이 과정을 반복합니다.
조정이 제대로 되었으면 너트를 조이고 새 코터 핀을 장착합니다.
반대쪽 타이 로드를 점검하고 필요 시 이 절차를 반복합니다.
엔진 냉각수를 삼키면 중독될 수 있으므로, 아이들과 애완 동물의 손이 닿지 않게 하십시오.
압력이 가해진 뜨거운 냉각수가 방출되거나 뜨거운 라디에이터 및 주변 부품을 건드리면 심한 화상을 입을 수 있습니다.
엔진을 끈 후 15분 이상 냉각시킨 다음에 라디에이터 캡을 여십시오.
라디에이터 캡을 열 때에는 천 조각을 사용하고 증기가 빠져나가도록 천천히 캡을 여십시오.
커버를 장착하지 않은 상태에서는 장비를 작동하지 마십시오.
손가락, 손, 옷 등이 회전하는 팬 및 구동 벨트에 닿지 않게 하십시오.
공장 출하 시 냉각수 탱크에는 물과 에틸렌 글리콜 50/50 용액 계열의 수명 연장 냉각수가 채워져 있습니다.
Important: 수명 연장 냉각수 표준 표에 명시된 사양에 부합하는 상용 냉각수만 사용하십시오.전통적인(녹색) 무기산 기술(IAT) 냉각수를 사용하지 마십시오. 전통적인 냉각수와 수명 연장 냉각수를 혼합하지 마십시오.
|
에틸렌 글리콜 유형 |
부식 방지 유형 |
|
수명 연장 부동액 |
유기산 기술(OAT) |
|
Important: 전통적인(녹색) 유기산 기술(IAT) 냉각수와 수명 연장 냉각수 사이의 차이를 식별할 때 냉각수 색깔을 기준으로 삼지 마십시오.냉각수 제조업체가 수명 연장 냉각수를 빨간색, 핑크색, 오렌지색, 노란색, 파란색, 청록색, 보라색, 녹색 중 하나로 염색할 수 있습니다. 수명 연장 냉각수 표준 표에 명시된 사양에 부합하는 냉각수를 사용하십시오. |
|
|
ATSM 국제 표준 |
SAE 국제 표준 |
|
D3306 및 D4985 |
J1034, J814, 및 1941 |
Important: 냉각수 농도는 냉각수와 물의 50/50 혼합액이어야 합니다.
선호 사항: 농축액에 냉각수를 혼합할 때 증류수를 혼합하십시오.
선호 옵션: 증류수를 사용할 수 없을 경우, 농축액 대신 미리 혼합된 냉각수를 사용하십시오.
최소 요구 사항: 증류수 및 사전 혼합된 냉각수를 사용할 수 없는 경우, 농축 냉각수를 깨끗한 음용수와 혼합하십시오.
| 유지보수 서비스 간격 | 유지보수 절차 |
|---|---|
| 매번 사용하기 전 또는 매일 |
|
냉각수 규격: 물과 에틸렌 글리콜 부동액 50/50 혼합액
냉각 시스템 용량: 8.5 L
회전 팬과 구동 벨트로 인해 부상을 당할 수 있습니다.
보호대를 장착하지 않은 상태에서는 장비를 작동하지 마십시오.
손가락, 손, 옷 등이 회전하는 팬 및 구동 벨트에 닿지 않게 하십시오.
엔진을 끄고 키를 뺀 다음 유지관리 작업을 하십시오.
수평면에 장비를 주차하고 주차 브레이크를 체결하고 커팅 유닛을 내리고 엔진을 끄고 키를 뺍니다.
라디에이터 캡을 주의해서 제거합니다.

라디에이터의 냉각수 레벨을 확인합니다. 라디에이터는 주입구 상단까지, 팽창 탱크는 FULL(가득 참) 표시까지 냉각수가 채워져 있어야 합니다(그림 74).
냉각수가 낮으면 물과 에틸렌 글리콜 부동액을 50대 50으로 섞은 냉각수를 추가합니다. 냉각 시스템에 물 또는 알코올/메탄올 기반 냉각수만을 사용하지 마십시오.
라디에이터 캡과 팽창 탱크 캡을 장착합니다.
| 유지보수 서비스 간격 | 유지보수 절차 |
|---|---|
| 매번 사용하기 전 또는 매일 |
|
이 장비에는 오일 쿨러/라디에이터 및 스크린의 잔해물 축적을 줄이기 위해 자동으로(또는 수동으로) 역회전하는 유압 구동식 팬 구동 시스템이 장착되어 있습니다. 이 기능은 필요한 오일 쿨러/라디에이터 청소 시간을 줄여주지만 주기적 청소를 대체하지는 않습니다. 라디에이터/쿨러의 주기적 청소 및 점검은 필수적입니다.
수평면에 장비를 주차하고 주차 브레이크를 체결하고 커팅 유닛을 내리고 엔진을 끄고 키를 뺍니다.
장비를 식힙니다. 유지관리 안전성 및 냉각 시스템 안전성을 참조하십시오.
래치를 풀고 후방 스크린을 흔들어서 엽니다(그림 75).
Note: 스크린을 제거하려면 힌지 핀을 들어 올립니다.
스크린에서 모든 잔해물을 말끔히 제거합니다.

압축 공기로 오일 쿨러와 라디에이터 양쪽을 말끔히 청소합니다(그림 76).
Note: 라디에이터의 앞쪽에서 시작하여 잔해물을 뒤쪽으로 날려 보냅니다. 그런 다음 뒤쪽부터 청소하여 앞쪽으로 날려 보냅니다. 잡풀과 찌꺼기가 전부 제거될 때까지 이 절차를 여러 차례 반복합니다.

Important: 오일 쿨러/라디에이터를 물로 청소하면 조기 부식으로 인한 구성품의 손상이 촉진되며 잔해물이 눌립니다.
후방 스크린을 닫고 래치로 고정합니다.
브레이크 페달의 자유 이동 거리가 25 mm 이상이거나 브레이크가 제대로 작동하지 않으면 주 브레이크를 조정하십시오. 자유 이동이란 작업자가 브레이크 페달을 밟고 나서 브레이크의 저항을 느낄 때까지의 거리입니다.
수평면에 장비를 주차하고 주차 브레이크를 체결하고 커팅 유닛을 내리고 엔진을 끄고 키를 뺍니다.
브레이크 페달의 잠금 래치를 풀어 양쪽 페달이 독립적으로 작동하게 합니다.
브레이크 페달의 자유 이동 거리를 줄이려면 다음과 같이 브래킷을 고정합니다.
브레이크 케이블의 나사산 끝에 있는 전방 너트를 풉니다(그림 77).

후방 너트를 조여 브레이크 페달의 자유 이동 거리가 13~25 mm가 될 때까지 케이블을 뒤로 이동시킵니다.
브레이크가 올바르게 조정된 후 앞너트를 조입니다.
| 유지보수 서비스 간격 | 유지보수 절차 |
|---|---|
| 매 100시간 |
|
벨트의 장력이 적당하면 두 풀리 중간에 있는 벨트에 4.5 kg의 힘을 가했을 때 10 mm의 휨이 발생합니다.
10 mm가 휘지 않을 경우 교류 발전기 장착 볼트를 풉니다(그림 78).
Note: 교류 발전기 벨트 장력을 높이거나 낮춘 다음 볼트를 조이십시오. 벨트의 휨량을 다시 점검하여 장력이 적당한지 확인합니다.

유압 오일이 피부에 침투하면 즉시 의학적 치료를 받으십시오. 주입된 오일은 몇 시간 내에 의사가 수술 방식으로 제거해야 합니다.
모든 유압 오일 호스 및 라인의 상태가 양호하고 모든 유압 연결부 및 피팅이 단단히 조여 있는지 확인한 후에 유압 시스템에 압력을 가하십시오.
고압의 유압 오일이 분출되는 핀 홀 구멍이나 노즐 근처에 손이나 신체를 두지 마십시오.
유압 오일 누출 지점은 판지나 종이를 사용하여 찾으십시오.
유압 시스템에 어떤 작업이라도 수행하기 전에 유압 시스템의 모든 압력을 배출하십시오.
탱크는 출고 시 고품질 유압 오일로 채워져 있습니다. 엔진을 처음 시동하기 전, 그리고 그 후에는 매일 유압 오일 레벨을 점검합니다. 유압 오일 레벨 점검를 참조하십시오.
권장 유압 오일: Toro PX 수명 연장 유압 오일. 19 L들이 통이나 208 L들이 드럼으로 구입할 수 있습니다.
Note: 권장 교체 오일을 사용하는 장비는 오일과 필터를 교체해야 하는 빈도가 적습니다.
대체 유압 오일:Toro PX 수명 연장 유압 오일을 구할 수 없는 경우, 다음 모든 물질 속성에 대해 명시된 범위 내이며 산업 표준을 충족하는 규격의 기존에 사용하던 다른 석유계 유압 오일을 사용할 수 있습니다. 합성유는 사용하지 마십시오. 적절한 제품을 알아보려면 오일 판매 대리점에 문의하십시오.
Note: Toro는 부적절한 대체 제품으로 인해 발생하는 손상에 대해 책임지지 않습니다. 따라서 권장 제품을 보증하는 유명 제조사의 제품만 사용하십시오.
| 물질 속성: | ||
| 점도, ASTM D445 | cSt @ 40 °C 44 ~ 48 | |
| 점도 지수 ASTM D2270 | 140 이상 | |
| 유동점, ASTM D97 | -37 °C ~ -45 °C | |
| 업계 표준: | Eaton Vickers 694(I-286-S, M-2950-S/35VQ25 또는 M-2952-S) | |
Note: 많은 유압 오일이 거의 무색이어서 누출 여부를 알기 어렵습니다. 유압 오일용 붉은색 첨가제는 20 ml들이 병으로 판매됩니다. 한 병이면 유압 오일 15 ~ 22 L에 충분히 사용할 수 있습니다. Toro 공식 판매 대리점에서 부품 번호가 44-2500인 부품을 주문하십시오.
Important: Toro 프리미엄 합성 생분해성 유압 오일은 Toro에서 승인한 유일한 합성 생분해성 오일입니다. 이 유압 오일은 Toro 유압 시스템에 사용되는 엘라스토머와 호환이 가능하며, 다양한 온도 조건에 적합합니다. 이 유압 오일은 기존의 광유와도 호환이 가능하지만, 최고의 생분해성과 성능을 내기 위해서는 유압 시스템에서 기존 오일을 완전히 씻어내야 합니다. 이 오일은 Toro 공식 판매 대리점에서 19 L들이 통이나 208 L들이 드럼으로 구입하실 수 있습니다.
| 유지보수 서비스 간격 | 유지보수 절차 |
|---|---|
| 매번 사용하기 전 또는 매일 |
|
수평면에 장비를 주차하고 주차 브레이크를 체결하고 커팅 유닛을 내리고 엔진을 끄고 키를 뺍니다.
유압 오일 레벨을 점검합니다(그림 79).


| 유지보수 서비스 간격 | 유지보수 절차 |
|---|---|
| 매 800시간 |
|
| 매 2,000시간 |
|
| 매 2년 |
|
유압 오일 용량: 28.4 L
오일이 오염되었다면 시스템을 세척해야 하므로 Toro 공식 판매 대리점에 문의하십시오. 오염된 유압 오일은 우윳빛 또는 검은색을 띱니다.
수평면에 장비를 주차하고 주차 브레이크를 체결하고 커팅 유닛을 내리고 엔진을 끄고 키를 뺍니다.
후드를 올립니다.
탱크 하단에서 케이스 반환 라인을 분리하여 유압 오일이 대형 드레인 팬으로 흐르게 합니다.
유압 오일의 흐름이 멈추면 호스를 연결합니다.
탱크에 유압 오일을 채웁니다. 유압 오일 레벨 점검을 참조하십시오.
Important: 지정된 유압 오일만 사용하십시오. 다른 유압 오일을 사용하면 시스템이 손상될 수 있습니다.
탱크 캡을 장착합니다.
키 스위치의 키를 ON(켜짐) 위치로 돌리고 엔진을 시동합니다. 모든 유압 컨트롤을 사용하여 유압 오일을 시스템 전체에 분산시키고 누출 여부를 점검합니다.
키 스위치의 키를 OFF(꺼짐) 위치로 돌립니다.
유압 오일 레벨을 확인하고 계량봉의 FULL(가득 참) 표시까지 차도록 충분한 양의 유압 오일을 보충합니다. 넘치지 않도록 하십시오.
| 유지보수 서비스 간격 | 유지보수 절차 |
|---|---|
| 매 800시간 |
|
| 매 1,000시간 |
|
장비의 후방(커팅 유닛)에 대해 Toro 교체 필터 부품 번호 94-2621, 장비의 전방(충전)에 대해 부품 번호 75-1310을 사용하십시오.
Important: 지정된 유형이 아닌 필터를 사용할 경우 일부 구성 요소에 대한 보증이 무효가 됩니다.
운전석을 기울여서 모어 압력 필터에 접근합니다. 유압 리프트 컴파트먼트 접근을 참조하십시오.

그림 81와 같이 유압 리프트 컴파트먼트에 있는 충전 유압 필터를 교환합니다.


운전석을 내리고 고정합니다.
장비 우측에 있는 반환 필터를 교환합니다(그림 81).
엔진을 시동하고 약 2분간 작동되도록 두어 시스템에서 공기를 방출합니다. 엔진을 멈추고 누출 여부를 확인합니다.
| 유지보수 서비스 간격 | 유지보수 절차 |
|---|---|
| 매번 사용하기 전 또는 매일 |
|
| 매 2년 |
|
유압 라인과 호스의 누출, 꼬인 라인, 느슨한 장착 지지대, 마모, 느슨한 부품, 기상 악화 및 화학적 노화 여부를 매일 검사하십시오. 장비를 작동하기 전에 필요한 모든 수리를 시행하십시오.
압력에 의해 분출되는 유압 오일은 피부에 침투하여 부상을 입힐 수 있습니다.
유압 오일이 피부에 침투하면 즉시 의학적 치료를 받으십시오.
모든 유압 오일 호스 및 라인의 상태가 양호하고 모든 유압 커넥터 및 피팅이 단단히 조여 있는지 확인한 후에 유압 시스템에 압력을 가하십시오.
고압의 유압 오일이 분출되는 핀 홀 구멍이나 노즐 근처에 손이나 신체를 두지 마십시오.
유압 오일 누출 지점은 판지나 종이를 사용하여 찾으십시오.
유압 시스템에 어떤 작업이라도 수행하기 전에 유압 시스템의 모든 압력을 배출하십시오.
마모, 과다한 떨림 또는 결합이 있는지 전방 롤러를 점검하십시오. 이런 조건이 존재하면 롤러나 구성품을 정비하거나 교체하십시오.
첫 번째 베어링을 롤러 하우징에 눌러서 넣습니다(그림 84). 바깥쪽 레이스만 누르거나 안쪽과 바깥쪽 레이스를 똑같이 누릅니다.
스페이서를 삽입합니다(그림 84).
두 번째 베어링을 롤러 하우징에 눌러서 넣습니다(그림 84). 안쪽 레이스가 스페이서에 닿을 때까지 안쪽 및 바깥쪽 레이스를 균등하게 누릅니다.
롤러 어셈블리를 커팅 유닛 프레임에 장착합니다.
롤러 어셈블리와 커팅 유닛 프레임의 롤러 마운트 브래킷 사이의 간격이 1.5 mm 이상이 아닌지 확인합니다. 간격이 1.5 mm 이상이면, 직경이 ⅝인치가 충분히 되는 와셔를 장착하여 빈틈을 메웁니다.
Important: 1.5 mm 이상의 간격으로 롤러 어셈블리를 고정하면 베어링에 측면 하중이 생기며 베어링이 조기에 고장나게 될 수 있습니다.
장착 볼트를 108 N·m 토크로 조입니다.
주기적으로 블레이드의 마모 상태나 손상 여부를 점검하십시오.
블레이드를 점검할 때에는 주의하십시오. 블레이드를 정비할 때에는 블레이드를 옷감 등으로 둘러싸거나 장갑을 착용하고 주의를 기울여야 합니다. 블레이드를 교체하거나 가는 작업만 하십시오. 절대 블레이드를 펴거나 용접하지 마십시오.
다중 블레이드 장비에서는 한 블레이드의 회전이 다른 블레이드의 회전을 초래하므로 주의를 기울이십시오.
커팅 유닛은 제작 시에 예고 5 cm와 블레이드 레이크 7.9 mm로 사전 설정되어 출고됩니다. 좌측 예고와 우측 예고도 반대쪽에 비해 ± 0.7 mm의 범위 내에서 사전 설정됩니다.
커팅 유닛은 챔버 변형 없이 블레이드 충격을 감당할 수 있도록 설계되어 있습니다. 블레이드가 단단한 물체에 부딪힌 경우 블레이드에 손상이 없는지 점검하고 블레이드 플레인이 정확하게 작동하는지 점검합니다.
유압 모터를 커팅 유닛에서 제거하고 커팅 유닛을 장비에서 제거합니다.
호이스트(또는, 최소 2명의 사람)를 사용하여 커팅 데크를 평평한 탁자에 놓습니다.
블레이드의 한쪽에 페인트 펜이나 마커로 표시합니다. 블레이드의 이쪽을 사용하여 모든 높이를 점검합니다.
블레이드의 표시된 쪽의 절단날을 12시 방향(잔디를 깎는 방향으로 똑바르게 전진하는 방향)(그림 85)으로 맞추고 테이블에서 블레이드의 절단날까지의 높이를 측정합니다.

블레이드의 표시된 쪽을 3시 방향과 9시 방향으로 돌리고(그림 85) 높이를 측정합니다.
12시 방향에서 측정한 높이를 예고 설정과 비교합니다. 차이는 0.7 mm 이내여야 합니다. 3시 방향 높이와 9시 방향 높이는 12시 방향 설정보다 1.6~6.0 mm 더 높아야 하며, 서로 2.2 mm 이내이어야 합니다.
이 측정값 중에 규격을 벗어나는 것이 있으면, 블레이드 플레인 조정로 진행합니다.
전방 조정부터 시작합니다(한 번에 한 브래킷씩 변경).
커팅 유닛 프레임에서 예고 브래킷(전방, 좌측 또는 우측)을 제거합니다(그림 86).
데크 프레임과 브래킷 사이에 1.5 mm 심 및/또는 0.7 mm 심을 삽입하여 원하는 높이 설정이 이루어지도록 합니다(그림 86).

나머지 심이 전부 예고 브래킷 밑에 조립된 상태로 예고 브래킷을 커팅 유닛 프레임에 장착합니다.
소켓 헤드 볼트/스페이서와 플랜지 너트를 고정합니다.
Note: 소켓 헤드 볼트와 스페이서를 나사산 고정 접착제로 접합하여 스페이서가 커팅 유닛 프레임 안쪽으로 떨어지지 않게 합니다.
12시 방향 높이를 확인하고 필요한 경우 조정합니다.
예고 브래킷을 한쪽만 조정해야 하는지 양쪽 모두(오른쪽과 왼쪽) 조정해야 하는지 판단합니다.
Note: 3시 방향이나 9시 방향 쪽이 새로운 전방 높이보다 1.6~6.0 mm 이상 높으면 그 쪽으로는 조정할 필요가 없습니다. 정확하게 맞춘 쪽의 ± 2.2 mm 범위 내에서 반대쪽을 조정합니다.
1 단계에서 4 단계까지 반복하여 오른쪽 및/또는 왼쪽 예고 브래킷을 조정합니다.
캐리지 볼트와 플랜지 너트를 고정합니다.
12시, 3시 및 9시 방향 높이를 확인합니다.
블레이드가 단단한 물체에 부딪히거나 균형이 맞지 않거나 휘어져 있으면 블레이드를 교체합니다. 안전성과 최적 성능을 보장하려면 항상 Toro 순정 교체용 블레이드를 사용하십시오.
평지에 장비를 주차한 다음 커팅 유닛을 이동 위치로 올리고 주차 브레이크를 체결하고 엔진을 멈춘 후 키를 뺍니다.
Note: 커팅 유닛에 받침대를 대거나 고정시켜 우발적으로 떨어지지 않도록 하십시오.
천이나 두텁게 패딩을 댄 장갑을 사용하여 블레이드의 끝을 잡습니다.
블레이드 볼트, 안티스캘프 컵 및 블레이드를 스핀들 샤프트에서 제거합니다(그림 87).

블레이드, 안티스캘프 컵 및 블레이드 볼트를 장착하고 블레이드 볼트를 115~149 N∙m로 조입니다.
Important: 올바르게 커팅이 되게 하려면 블레이드의 곡선 부분이 커팅 유닛의 안쪽을 향해야 합니다.
Note: 이물질에 부딪힌 후 모든 스핀들 풀리 너트를 115~149 N∙m로 조입니다.
절단날과 절단날의 반대쪽에 돋아 있는 세일은 모두 고품질 커팅에 중요한 역할을 합니다. 세일의 중요한 역할은 잔디를 직선으로 올려 균등한 예초 결과를 만드는 것입니다. 그러나 작동을 하면서 세일이 조금씩 닳아서 낮아집니다. 세일이 마모되어 낮아지면 절단날이 날카로워도 예초 품질이 저하됩니다. 블레이드의 절단날은 잔디가 뜯기지 않고 커팅되도록 날카로워야 합니다. 잔디 끝이 갈색이나 찢어진 것으로 보이면 절단날이 무뎌진 증거입니다. 절단날을 연마하여 이 문제를 해결하십시오.
장비를 평지에 주차하고, 커팅 유닛을 올리고, 주차 브레이크를 체결하고, 트랙션 페달을 NEUTAL(중립) 위치에 놓고, PTO 레버를 OFF(꺼짐) 위치에 놓고, 엔진을 멈춘 다음 시동 키를 뺍니다.
블레이드의 커팅면, 특히 블레이드의 평평한 부분과 휘어진 부분이 만나는 곳을 세심하게 살펴 봅니다(그림 88).
Note: 블레이드의 평평한 부분과 휘어진 부분을 연결하는 금속에서 모래 및 마모성 물질이 떨어져 나올 수 있으므로, 모어를 사용하기 전에 블레이드를 점검합니다. 블레이드가 마모되었으면(그림 88) 교체하십시오.

모든 블레이드의 절단날을 검사하여 무뎌졌거나 흠집이 있으면 절단날을 연마합니다(그림 89).
Note: 가장자리의 상단만 날카롭게 하고 원래의 커팅 각도를 유지하여 예리하게 만드십시오(그림 89). 양쪽 절단날에서 같은 양의 금속을 제거하면 블레이드가 균형을 유지합니다.

Note: 블레이드를 제거하여 연마기에서 연마합니다. 절단날을 연마한 다음 안티스캘프 컵과 블레이드 볼트를 사용하여 블레이드를 장착하십시오. 커팅 유닛 블레이드(들) 분리 및 장착을 참조하십시오.
블레이드가 똑바르고 평행을 이루지는지 확인하려면 블레이드를 수평면에 놓고 끝을 확인합니다. 블레이드의 끝은 중심보다 약간 더 낮아야 하며, 절단면은 블레이드의 뒤꿈치 부분보다 낮아야 합니다.
엔진을 끄고 키를 뺀 다음 모든 움직임이 멈출 때까지 기다려 운전석에서 내리십시오. 장비가 식은 후에 장비를 조정, 정비, 청소 또는 보관하십시오.
온수기나 기타 기구 등 노출된 화염, 불꽃, 점화용 불씨 등이 있는 곳에는 장비나 연료통을 보관하지 마십시오.
Important: 소금기가 있거나 재생된 물을 사용하여 장비를 청소하지 마십시오.
트랙션 장비, 커팅 유닛 및 엔진을 철저하게 청소합니다.
타이어 공기압을 점검합니다. 트랙션 유닛 타이어의 공기압을 모두 0.83~1.03 bar로 조정합니다.
모든 조임부의 느슨함 여부를 점검하고 필요에 따라 조입니다.
구리스 피팅과 피벗 지점에 그리스를 칠합니다. 과도한 윤활제는 닦아 냅니다.
긁히거나 벗겨지거나 녹슨 페인트칠 부분을 사포로 가볍게 문지른 다음 수정 페인트를 칠합니다. 금속 바디에 파인 곳이 있으면 수리합니다.
배터리와 케이블을 다음과 같이 정비합니다:
배터리 포스트에서 배터리 단자를 제거합니다.
Note: 항상 먼저 음극 단자 연결을 해제한 다음 양극 단자 연결을 마지막으로 해제합니다. 항상 먼저 양극 단자를 연결한 다음 음극 단자를 마지막으로 연결합니다.
와이어 브러시와 베이킹 소다 용액으로 배터리, 단자 및 포스트를 청소합니다.
부식 방지를 위해 Grafo 112X 스킨오버 그리스(부품 번호 505-47) 또는 바셀린을 케이블 단자와 배터리 포스트에 바릅니다.
배터리의 납 황산화를 방지하기 위해 60일마다 24시간 동안 배터리를 서서히 충전합니다.
오일 팬의 엔진 오일을 비우고 배출 플러그를 다시 장착합니다.
오일 필터를 제거하여 폐기합니다. 새 오일 필터를 장착합니다.
지정된 양의 엔진 오일로 오일 팬을 다시 채웁니다.
스위치의 키를 ON(켜짐) 위치로 돌리고 엔진을 시동 한 다음 약 2분간 공회전 속도로 가동합니다.
스위치의 키를 OFF(꺼짐) 위치로 돌립니다.
연료 탱크, 연료 공급라인, 연료/물 분리기 어셈블리에서 연료를 모두 비웁니다.
신선하고 깨끗한 디젤 연료로 연료 탱크를 세척합니다.
모든 연료 시스템 피팅을 고정합니다.
에어 클리너 어셈블리를 철저하게 청소하고 정비합니다.
내후성 테이프를 사용하여 에어 클리너 흡입구와 배기구를 밀봉합니다.
부동액을 점검하고 필요하면 해당 지역에서 예상되는 최저 온도에 맞게 보충합니다.
기간에 관계 없이 커팅 유닛을 트랙션 유닛에서 분리하는 경우 스핀들의 상단에 스핀들 플러그를 장착하여 스핀들에 먼지나 물이 들어가지 않게 보호하십시오.
