Bảo trì
Note: Xác định các mặt bên trái và bên phải của máy từ vị trí vận hành bình thường.
Tháo rời Cụm Lưỡi cắt của Đầu máy cắt cỏ
Hãy tháo rời cụm lưỡi cắt của Đầu máy cắt cỏ bất cứ khi nào bạn cần đổi lưỡi cắt hoặc thay vòng bi.
-
Siết chặt đai ốc hãm trên đầu bộ chèn có ren bên phải của cụm, nơi chứa vòng đệm, trong bàn kẹp.
Important: Không tháo vòng đệm hoặc đai ốc ở đầu này của cụm.
-
Tháo bộ chèn có ren và rãnh then, vòng bi và phớt dầu kết tụ.
-
Trên đầu kia của trục, tháo bộ chèn có ren và rãnh then ở bên trái.
Thận trọng
Các lưỡi cắt cực kỳ sắc bén và có thể có các đường gờ có thể làm đứt tay.
Đeo găng tay và thận trọng khi tháo các lưỡi cắt ra khỏi trục.
-
Tháo vòng bi, phớt dầu đục, lưỡi cắt và vòng chêm. Làm sạch và bôi trơn trục bằng một lớp mỡ nhẹ để đơn giản hóa quá trình lắp ráp.

-
Bôi hợp chất khóa ren cường độ trung bình (chẳng hạn như Blue Loctite 243) vào ren của bộ chèn có rãnh then khi lắp ráp cụm lưỡi cắt của bộ phân tách cỏ.
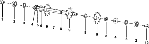
Important: Thứ tự tháo rời vô cùng quan trọng. Không được đảo ngược các lưỡi cắt khi tháo rời hoặc đảo ngược thứ tự khi lắp ráp. Lưu ý lỗ đánh số thứ tự trên mỗi lưỡi cắt. Cụm lắp ráp có đánh số thứ tự lỗ nhằm có được đường xoắn phù hợp. Xoay lưỡi cắt bằng đường xoắn lỗ có chỉ số 1 phẳng ngược chiều kim đồng hồ cho mỗi lưỡi cắt kế tiếp để có đường xoắn lắp ráp lưỡi cắt phù hợp của đầu máy cắt cỏ.

-
Xoay chốt trục có ren, bu lông đầu lục giác và đai ốc hãm với mô-men xoắn đạt từ 108 đến 135 N∙m.
Tháo rời Cụm Lưỡi cắt của Đầu máy cắt cỏ
Hãy tháo rời cụm lưỡi cắt của Đầu máy cắt cỏ bất cứ khi nào bạn cần đổi lưỡi cắt hoặc thay vòng bi.
-
Siết chặt đai ốc hãm trên đầu bộ chèn có ren bên phải của cụm, nơi chứa vòng đệm, trong bàn kẹp.
Important: Không tháo vòng đệm hoặc đai ốc ở đầu này của cụm.
-
Tháo bộ chèn có ren và rãnh then, vòng bi và phớt dầu kết tụ.
-
Trên đầu kia của trục, tháo bộ chèn có ren và rãnh then ở bên trái.
Thận trọng
Các lưỡi cắt cực kỳ sắc bén và có thể có các đường gờ có thể làm đứt tay.
Đeo găng tay và thận trọng khi tháo các lưỡi cắt ra khỏi trục.
-
Tháo vòng bi, phớt dầu đục, lưỡi cắt và vòng chêm. Làm sạch và bôi trơn trục bằng một lớp mỡ mỏng để dễ dàng lắp ráp.
Note: Bộ lưỡi cắt bằng thép lò xo có một vòng đệm lớn và một lưỡi cắt bổ sung được lắp đặt trước vòng chêm thứ nhất như được minh họa dưới đây.

-
Bôi hợp chất khóa ren cường độ trung bình (chẳng hạn như Blue Loctite 243) vào ren của bộ chèn có rãnh then khi lắp ráp cụm lưỡi cắt của bộ phân tách cỏ.
-
Xoay chốt trục có ren, bu lông đầu lục giác và đai ốc hãm với mô-men xoắn đạt từ 108 đến 135 N∙m.
Bảo dưỡng roller
Bộ Sửa chữa Roller Sân cỏ (Số Bộ phận 140-5552) và Bộ Dụng cụ Sửa chữa Roller Sân cỏ (Số Bộ phận 140-5553) (Hình 13) đều có sẵn để bảo dưỡng roller. Bộ Sửa chữa Roller bao gồm tất cả các vòng bi, đai ốc vòng bi và phớt dầu để dựng lại roller.
Bộ Dụng cụ Sửa chữa Roller bao gồm tất cả các dụng cụ và hướng dẫn lắp đặt cần thiết để dựng lại roller bằng bộ sửa chữa roller. Tham khảo danh mục bộ phận hoặc liên hệ với nhà phân phối Toro được ủy quyền của bạn để được hỗ trợ.



, cụ thể là Thận trọng, Cảnh báo
hoặc Nguy hiểm - hướng dẫn an toàn cá nhân. Việc
không tuân thủ hướng dẫn này có thể dẫn
đến thương tích cá nhân hoặc tử vong.







