Satsen för handspruterör är ett tillbehör till sprutfordon och är avsedd att användas av yrkesförare som har anlitats för kommersiellt arbete. Den är främst konstruerad för spridning på väl underhållna parkgräsmattor, golfbanor, idrottsplatser och kommersiella anläggningar.
Om du behöver utbildningsmaterial för säkerhet och drift, information om tillbehör, hjälp med att hitta en återförsäljare eller om du vill registrera din produkt kan du kontakta Toro via www.toro.com.
Kontrollera att det inte finns några vätskor i maskinen. Spola systemet ordentligt med rent vatten om kemikalier har använts i maskinen, och töm sedan ut vattnet. Se bruksanvisningen till fordonet för ytterligare anvisningar.
Koppla bort batteriets minuspol.
Delar som behövs till detta steg:
| Slangkrok | 1 |
| Flänslåsmutter (3/8 tum) | 4 |
| Flänslåsmutter (5/16 tum) | 4 |
| Vagnskruv (3/8 x 3/4 tum) | 4 |
| Vagnskruv (5/16 x 1 tum) | 4 |
| R-klämma | 2 |
| Sprutpistolsfäste | 1 |
Delar som behövs till detta steg:
| Honlock | 2 |
| Avstängningsventil | 2 |
Ta bort hållaren som fäster arbetsenheten till sektionsventilens eller omrörningsventilens fördelarventil.
Note: Kläm ihop hållarens två ben samtidigt som du trycker ned den.
Note: Spara manövreringsorganet och hållaren.

Ta bort manövreringsorganet från grenrörsventilen.
Ta bort hållarna som håller fast förbikopplingsjusteringsenheten, ändlocket och kopplings- och slangenheten så som visas i Figur 4.
Note: Ändlocket kommer inte att användas, men behåll o-ringen på locket.

Vrid förbikopplingsjusteringsenheten 180 grader så som visas i Figur 5.

Montera förbikopplingsjusteringsenheten, honlocket, o-ringarna, avstängningsventilen samt kopplings- och slangenheten så som visas i Figur 6, med hjälp av de hållare som togs bort tidigare.

Ta bort ändskyddet på änden av fördelaren och ersätt det med ett honlock. Fäst locket med hållaren.

Ta bort hållaren som fäster slangen vid fördelarens ände.

Montera avstängningsventilen på slangen och maskinen. Fäst den med hållarna.

Delar som behövs till detta steg:
| Se reservdelstabellen | 0 |
| Del | 5800 | 1750 | Workman | |||||
|---|---|---|---|---|---|---|---|---|
| Antal | 2023 och tidigare | 2024 och senare utan GeoLink | 2024 och senare med GeoLink | 2023 och tidigare | 2024 och senare utan GeoLink | 2024 och senare med GeoLink | 2023 och tidigare | 2024 och senare |
| Reglerventil | 1 | 1 | 1 | 1 | 1 | |||
| Reglerventil (med flänsändskydd) | 1 | 1 | 1 | |||||
| Reglerventilens vinghandtag | 1 | 1 | 1 | 1 | 1 | 1 | 1 | 1 |
| Rak koppling | 1 | 1 | 1 | 1 | 1 | 1 | 1 | 1 |
| Ventilfäste | 1 | 1 | 1 | 2 | 2 | 2 | ||
| Reglerventilens fäste (2023) | 1 | |||||||
| Reglerventilens fäste (med hål) | 1 | 1 | ||||||
| Reglerventilens fäste(inget hål) | 1 | 1 | 1 | |||||
| Avstängningsventil | 1 | 1 | 2 | 1 | 1 | |||
| 90-graders knärör | 1 | 1 | ||||||
| T-koppling | 1 | |||||||
| Grenrört-stycke | 1 | 1 | 1 | 1 | ||||
| Packningsklämma | 1 | 1 | 1 | |||||
| Skruv (M6 x 12 mm) | 4 | 8 | 4 | 8 | 8 | 8 | ||
| Vagnsskruv (¼–20 x ⅝ tum) | 2 | 2 | ||||||
| Sexkantsskruv (¼ x ⅝ tum) | 4 | 2 | 2 | |||||
| Låsmutter (¼ tum) | 4 | 2 | 2 | 2 | 2 | |||
Montera det gröna vinghandtaget och den raka kopplingen på reglerventilen.

Ta bort flänsklämman som håller fast ändlocket och kopplingen vid tryckmätarporten.

Ta bort kopplingen från ändlocket.
Montera reglerventilen.
Montera kopplingen i den öppna porten på 90-graderskopplingen.
Note: Porten på sidan av 90-graderskopplingen för Multi Pro 1750 och Multi Pro WM sitter på framsidan (visas ej) av kopplingen.
Fäst slangvindans tillförselslang vid reglerventilen med en slangklämma.
Lossa kontakten med tre uttag för tryckomvandlaren.

Ta bort flänsklämman som håller fast tryckomvandlaren på 90-graderskopplingen och ta bort givaren, packningen och flänsklämman.

Ta bort flänsklämman som fäster 90-graderskopplingen till 90-graderskopplingen med en anslutning för givarröret och ta bort 90-graderskopplingen, packningen och flänsklämman.
Fäst ventilfästet på reglerventilen enligt A i Figur 14.

Fäst ventilfästet på reglerventilen med flänsskruven (nr 6) och dra åt skruven för hand (B i Figur 14).
Fäst ventilfästet på reglerventilfästet med de fyra skruvar (6 x 12 mm) och fyra platta brickorna. Dra åt skruvarna till 10–12 N m.

Rikta in flänsen på T-kopplingen mot flänsen på reglerventilen.

Fäst T-kopplingen på reglerventilen löst med en packning och flänsklämma.
Rikta in flänsen på tryckomvandlaren mot flänsen på T-kopplingen.

Montera tryckomvandlaren på T-kopplingen med en packning och flänsklämma, och dra åt klämman för hand (Figur 17).
Rikta in flänsen på T-kopplingen mot flänsen på 90-graderskopplingen med en anslutning för givarröret.

Fäst T-kopplingen och 90-graderskopplingen löst med en packning och en flänsklämma.
Note: Vrid reglerventilfästet tills det ligger platt mot ventilfästets yta.
Använd reglerventilfästet som mall och märk ut hålens plats i fästet på ytan till fördelarfästet.

Ta bort klämman, packningen, T-kopplingen med flänsen från 90-graderskopplingen med en anslutning för givarröret.
Markera markeringarna som du gjorde på grenrörsfästet i steg 3 med en körnare.
Borra fyra hål (6 mm) i grenrörsfästet vid körnarmärkena som du gjorde i steg 5.

Rikta in flänsen på T-kopplingen mot flänsen på 90-graderskopplingen med en anslutning för givarröret.

Fäst T-kopplingen och 90-graderskopplingen löst med en packning och en flänsklämma.
Montera reglerventilfästet på fördelarfästet med fyra sexkantsskruvar (¼ x ⅝ tum) och fyra flänslåsmuttrar (6 mm). Dra åt skruvarna till ett moment på 10–12 Nm.
Dra åt flänsklämman som håller fast reglerventilen och T-kopplingen och flänsklämman som fäster T-kopplingen på 90-graderskopplingen med en anslutning för givarröret för hand.
Anslut kontakten med tre uttag för tryckomvandlaren.

Fäst reglerventilenheten på fästet med fyra bultar (M6)

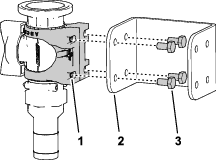
Ta bort befintliga fästelement enligt Figur 26.

Fäst fästet på maskinen med befintliga fästelement.

Fäst fästets ovansida med fyra bultar (M6).

Montera fördelarens T-koppling på reglerventilen.

Fäst enheten på fästet med fyra skruvar (M6).

Montera ventilfästet på avstängningsventilen och fäst det på fästet med fyra skruvar (M6).




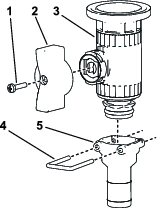
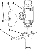
Delar som behövs till detta steg:
| Sprutpistol | 1 |
| Rakt stycke med hulling | 1 |
| Slangklämma | 2 |
| Slang | 1 |
Note: Försegla kopplingsgängorna på konformade rör med PTFE-tejp.
Fäst det raka stycket med hulling i den öppna änden på slangvindans försörjningsslang med en slangklämma.

Fäst slangens ände på reglerventilen med en slangklämma.

Linda den del av slangen som inte behövs runt kroken på tanken och förvara sprutpistolen i pistolfästet.
Anslut batteriets minuskabel till batteriet.
Kalibrera förbikopplingsjusteringsenheten. Mer information finns i bruksanvisningen till maskinen.
Vätska som läcker ut under tryck kan tränga in i huden och orsaka skador.
Håll kroppen och händerna borta från munstycken som sprutar ut vätska under högt tryck.
Rikta inte spridaren mot personer eller djur.
Se till att alla vätskeslangar och -ledningar är i gott skick och att alla anslutningar och kopplingar är ordentligt åtdragna innan systemet trycksätts.
Använd kartong eller papper för att hitta läckor.
Lätta på allt tryck i systemet på ett säkert sätt innan du utför något arbete i det.
Uppsök läkare omedelbart om du träffas av en vätskestråle och vätskan tränger in i huden.
Heta vätskor och kemikalier kan orsaka brännskador och andra personskador.
Important: Under vissa omständigheter kan värme från motorn, kylaren och ljuddämparen skada gräset när spridning görs i stillastående läge. Som stillastående lägen räknas tankomrörning, handspridning eller bruk av en ramp för manuell spridning.
Vidta följande säkerhetsåtgärder:
Undvik att använda spridaren i stillastående läge under mycket varma och/eller torra förhållanden, eftersom gräsmattan kan utsättas för stor påfrestning under dessa perioder.
Undvik att parkera på gräsmattan vid spridning i stillastående läge. Parkera alltid på en stig om det är möjligt.
Minimera tiden maskinen körs över ett särskilt område av gräsmattan. Både tid och temperatur påverkar hur mycket gräsmattan skadas.
Kör med så lågt motorvarvtal som möjligt för att uppnå önskat tryck och flöde. På så vis minimeras den värme som alstras och lufthastigheten från kylarfläkten.
Låt värmen släppas ut i riktning uppåt från motorrummet genom att höja motorskyddet/sätet under stillastående användning, så att värmen inte tvingas ut genom maskinens undersida. Se bruksanvisningen för mer information om hur sätet höjs.
Note: Använd en värmeskyddande matta under maskinen när du ska använda den i stillastående läge, om ökat värmeskydd krävs. Kontakta din auktoriserade Toro-återförsäljare för en värmeskyddande matta till grässpridare.
Stanna maskinen, stäng av ramperna och dra åt parkeringsbromsen.
Om du använder handspridaren medan du kör kan du förlora kontrollen, vilket kan leda till personskador eller dödsfall. Använd inte handspridaren medan du kör.
Se till att avtryckarlåset på sprutpistolen är låst på maskinens baksida.
Vrid det gröna handtaget på reglerventilen 90 grader.
Starta pumpen i körläget.
Sätt huvudrampen i läget ON (På).
Ställ in önskad motorhastighet och sätt låsbrytaren för motorhastigheten i neutralläge.
Important: Låt inte tryckinställningen överstiga 10,34 bar på handspridaren.
Vrid det gröna handtaget på reglerventilen 90 grader.
Rikta sprutpistolens munstycke mot ett område som det är säkert att bespruta, frigör avtryckarlåset och håll in avtryckaren tills slangen har tömts på vätska. Aktivera sedan avtryckarlåset på nytt.
Sätt tillbaka sprutpistolen i hållaren.
Ställ motorn på tomgång igen.
Stoppa pumpen.
Important: Var noga med spola ur sprutpistolen med färskt rent vatten vid den dagliga rengöringen (se spridarens bruksanvisning). Om sprutpistolen inte rengörs ordentligt kan dess prestanda försämras och tillförlitligheten minska.
Ställ in önskat spruttryck med hastighetsomkopplaren.