Käsiruiskutussauvasarja on ruiskutuslaitteen lisälaite, joka on tarkoitettu ammattimaiseen kaupalliseen käyttöön. Se on tarkoitettu pääasiassa puistojen, golfkenttien, urheilukenttien ja kaupallisten kiinteistöjen viheralueiden ruiskutukseen.
Voit ottaa yhteyden Toroon suoraan osoitteessa www.Toro.com, jos tarvitset tuoteturvallisuuteen ja käyttökoulutukseen liittyvää materiaalia, tietoja lisävarusteista tai lähimmästä jälleenmyyjästä tai haluat rekisteröidä tuotteesi.
Varmista, että koneesta on tyhjennetty kaikki nesteet. Jos koneessa on käytetty kemikaaleja, huuhtele järjestelmä huolellisesti puhtaalla vedellä ja tyhjennä vesi. Lisätietoja on ajoneuvon käyttöoppaassa.
Irrota akkukaapeli akun miinusnavasta.
Vaiheeseen tarvittavat osat:
| Letkun koukku | 1 |
| Laippalukkomutteri (3/8 tuumaa) | 4 |
| Laippalukkomutteri (5/16 tuumaa) | 4 |
| Lukkopultti (3/8 × 3/4 tuumaa) | 4 |
| Lukkopultti (5/16 × 1 tuumaa) | 4 |
| R-liitin | 2 |
| Ruiskupistoolin kannatin | 1 |
Vaiheeseen tarvittavat osat:
| Naaraspuolinen tulppa | 2 |
| Sulkuventtiili | 2 |
Irrota kiinnike, jolla ohjain on kiinnitetty puomiosan venttiilin tai säiliön kierron venttiilin jakoputkeen.
Note: Purista kiinnikkeen tappeja yhteen ja työnnä sitä samalla alas.
Note: Säilytä ohjain ja kiinnike.

Irrota ohjain venttiilin jakoputkesta.
Irrota kiinnikkeet, joilla ohituksen säätökokoonpano, päätytulppa ja liitin- ja letkukokoonpano on kiinnitetty kuvan mukaisesti (Kuva 4).
Note: Päätytulppaa ei käytetä, mutta säilytä siinä oleva O-rengas.

Käännä ohituksen säätökokoonpanoa 180 astetta kuvan mukaisesti (Kuva 5).

Asenna ohituksen säätökokoonpano, naaraspuolinen tulppa, O-renkaat, sulkuventtiili sekä liitin- ja letkukokoonpano aiemmin irrotetuilla kiinnikkeillä kuvan mukaisesti (Kuva 6).

Irrota jakoputken päässä oleva päätytulppa ja vaihda se naaraspuoliseen tulppaan. Kiinnitä tulppa kiinnikkeellä.

Irrota kiinnike, jolla letku on kiinni jakoputken päässä.

Asenna sulkuventtiili letkuun ja koneeseen. Kiinnitä se kiinnikkeillä.

Vaiheeseen tarvittavat osat:
| Katso osataulukko | 0 |
| Osa | 5800 | 1750 | Workman | |||||
|---|---|---|---|---|---|---|---|---|
| Määrä | 2023 ja sitä vanhemmat mallit | 2024 ja uudempi ilman GeoLinkiä | 2024 ja uudempi GeoLinkillä | 2023 ja vanhempi | 2024 ja uudempi ilman GeoLinkiä | 2024 ja uudempi GeoLinkillä | 2023 ja vanhempi | 2024 ja uudempi |
| Säädinventtiili | 1 | 1 | 1 | 1 | 1 | |||
| Säätöventtiili (jossa laipan päätytulppa) | 1 | 1 | 1 | |||||
| Säätöventtiilin siivekekahva | 1 | 1 | 1 | 1 | 1 | 1 | 1 | 1 |
| Suora liitin | 1 | 1 | 1 | 1 | 1 | 1 | 1 | 1 |
| Venttiilin asennuskannatin | 1 | 1 | 1 | 2 | 2 | 2 | ||
| Säätöventtiilin kannatin (2023) | 1 | |||||||
| Säätöventtiilin kannatin (reiällä) | 1 | 1 | ||||||
| Säädinventtiilin kannatin(ei reikää) | 1 | 1 | 1 | |||||
| Sulkuventtiili | 1 | 1 | 2 | 1 | 1 | |||
| 90 asteen kulmaliitin | 1 | 1 | ||||||
| T-liitin | 1 | |||||||
| AsennuslohkoT-liitin | 1 | 1 | 1 | 1 | ||||
| Tiivisteen kiristin | 1 | 1 | 1 | |||||
| Pultti (M6 × 12 mm) | 4 | 8 | 4 | 8 | 8 | 8 | ||
| Lukkopultti (¼-20 × ⅝ tuumaa) | 2 | 2 | ||||||
| Kuusiokantapultti (¼-20 × ⅝ tuumaa) | 4 | 2 | 2 | |||||
| Lukkomutteri (¼ tuumaa) | 4 | 2 | 2 | 2 | 2 | |||
Asenna vihreä siivekekahva ja suora liitin säätöventtiiliin.

Irrota laippakiristin, jolla päätytulppa ja kytkentäkappale on kiinnitetty painemittarin porttiin.

Irrota kytkentäkappale päätytulpasta.
Asenna säätöventtiilikokoonpano.
Asenna kytkentäkappale 90 asteen liittimen avoimeen porttiin.
Note: Multi Pro 1750- ja Multi Pro WM -mallin 90 asteen liittimen sivuportti on kuvassa olevan liittimen etupuolella (ei näy kuvassa).
Liitä letkukelan syöttöletku säätöventtiiliin letkunkiristimellä.
Irrota paineanturin 3-istukkainen liitin.

Irrota laippakiristin, jolla paineanturi on kiinnitetty 90 asteen liittimeen, ja irrota anturi, tiiviste ja laippakiristin.

Irrota laippakiristin, jolla 90 asteen liitin on kiinnitetty paineentunnistuksen putken liittimellä varustettuun 90 asteen liittimeen, ja irrota 90 asteen liitin, tiiviste ja laippakiristin.
Asenna venttiilin asennuskannatin säädinventtiiliin ruudun A mukaisesti (Kuva 14).

Kiinnitä venttiilin asennuskannatin säädinventtiiliin laippakantaruuvilla (#6) ja kiristä ruuvi käsin (ruutu B, Kuva 14).
Kiinnitä venttiilin asennuskannatin säätöventtiilin kannattimeen neljällä pultilla (6 × 12 mm) ja neljällä litteällä aluslaatalla. Kiristä pultit momenttiin 10–12 N·m.

Kohdista T-liittimen laippa säätöventtiilin laippaan.

Kiinnitä T-liitin löysästi säätöventtiiliin käyttäen tiivistettä ja laippakiristintä.
Kohdista paineanturin laippa T-liittimen laippaan.

Asenna paineanturi T-liittimeen käyttäen tiivistettä ja laippakiristintä ja kiristä kiristin käsin (Kuva 17).
Kohdista T-liittimen laippa paineentunnistuksen putken liittimellä varustetun 90 asteen liittimen laippaan.

Kiinnitä T-liitin löysästi 90 asteen liittimeen käyttäen tiivistettä ja laippakiristintä.
Note: Kierrä säätöventtiilin kannatinta tarpeen mukaan, jotta se asettuu venttiilin asennuskannattimen pinnan tasalle.
Käytä säätöventtiilin kannatinta mallina ja merkitse kannattimen reikien sijainnit jakoputken kannattimen pintaan.

Irrota kiristin, tiiviste ja laipalla varustettu T-liitin paineentunnistuksen putken liittimellä varustetusta 90 asteen liittimestä.
Merkitse pistepuikolla jakoputken kannattimeen vaiheessa 3 tehtyjen merkintöjen sijainnit.
Poraa neljä 6 mm:n (1/4 tuuman) reikää jakoputken kannattimeen vaiheessa 5 tehtyihin pistepuikkomerkintöihin.

Kohdista T-liittimen laippa paineentunnistuksen putken liittimellä varustetun 90 asteen liittimen laippaan.

Kiinnitä T-liitin löysästi 90 asteen liittimeen käyttäen tiivistettä ja laippakiristintä.
Kiinnitä säätöventtiilin kannatin jakoputken kannattimeen neljällä kuusiokantapultilla (¼ × ⅝ tuumaa) ja neljällä laippalukkomutterilla (6 mm). Kiristä pultit momenttiin 10–12 N·m.
Kiristä käsin laippakiristin, jolla säätöventtiili ja T-liitin on kiinnitetty, ja laippakiristin, jolla T-liitin on kiinnitetty paineentunnistuksen putken liittimellä varustettuun 90 asteen liittimeen.
Kytke paineanturin 3-istukkainen liitin.

Kiinnitä säätöventtiilikokoonpano kannattimeen neljällä pultilla (M6)

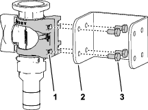
Irrota nykyiset kiinnitystarvikkeet kuvan mukaisesti (Kuva 26).

Kiinnitä kannatin koneeseen nykyisillä kiinnitystarvikkeilla.

Kiinnitä kannattimen yläosa neljällä pultilla (M6).

Asenna jakoputken T-liitinkokoonpano säätöventtiiliin.

Kiinnitä kokoonpano kannattimeen neljällä pultilla (M6).

Asenna venttiilin asennuskannatin sulkuventtiiliin ja kiinnitä se kannattimeen neljällä pultilla (M6).




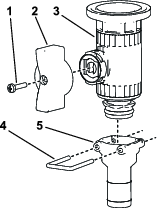
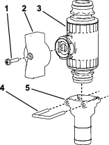
Vaiheeseen tarvittavat osat:
| Ruiskupistoolikokoonpano | 1 |
| Suora letkuliitin | 1 |
| Letkunkiristin | 2 |
| Letku | 1 |
Note: Tiivistä letkun kartiomaisen kierteen liittimet PTFE-teipillä.
Kiinnitä suora letkuliitin letkukelan syöttöletkun avoimeen päähän letkunkiristimellä.

Kiinnitä letkun pää säätöventtiiliin letkunkiristimellä.

Kierrä ylimääräinen letku säiliön koukun ympärille ja aseta ruiskupistooli kannattimeen.
Kytke akun miinuskaapeli akkuun.
Kalibroi ohituksen säätökokoonpano. Katso ohjeet koneen käyttöoppaasta.
Paineistettu neste voi läpäistä ihon ja aiheuttaa vammoja.
Pidä keho ja kädet kaukana suuttimista, joista ruiskuaa korkeapaineista nestettä.
Älä suuntaa ruiskutinta ihmisiä tai eläimiä kohti.
Varmista, että kaikki nesteletkut ja -putket ovat hyvässä kunnossa ja että kaikki liitokset ja liittimet ovat tiukalla, ennen kuin lisäät järjestelmän painetta.
Käytä pahvia tai paperia vuotojen etsimiseen.
Poista varovasti paine järjestelmästä, ennen kuin huollat sitä.
Jos nestettä pääsee ihon alle, hakeudu välittömästi lääkäriin.
Kuumat nesteet ja kemikaalit voivat aiheuttaa palovammoja tai muita vammoja.
Important: Joissain olosuhteissa moottorista, jäähdyttimestä ja äänenvaimentimesta säteilevä kuumuus voi vaurioittaa nurmea, kun ruiskutinta käytetään paikallaan. Paikallaan käyttöä ovat esimerkiksi säiliön kierto, käsiruiskutus tai kävelypuomin käyttö.
Noudata seuraavia varotoimenpiteitä:
Vältä paikallaan ruiskutusta silloin, kun olosuhteet ovat hyvin kuumat ja/tai kuivat, koska nurmi voi tällöin olla herkempi vaurioille.
Vältä seisottamista nurmella paikallaan ruiskutuksen aikana. Seisota aina ajoreitillä, mikäli mahdollista.
Minimoi aika, jonka laite on nurmella käynnissä samassa kohdassa. Ruohon vaurioitumiseen vaikuttavat sekä aika että lämpötila.
Aseta moottorin nopeus alhaisimmaksi mahdolliseksi, jolla saavutetaan haluttu paine ja virtaus. Tämä minimoi kehittyvän lämmön ja tuulettimen ilmavirran nopeuden.
Anna lämmön poistua ylöspäin moottoritilasta kohottamalla moottorinsuojusta/istuinkokoonpanoa paikallaan käytön aikana niin, että lämpö ei joudu poistumaan ajoneuvon alta. Lisätietoja istuinkokoonpanon kohottamisesta on käyttöoppaassa.
Note: Jos kuumuudelta tarvitaan lisäsuojausta, käytä paikallaan käytön aikana ajoneuvon alla lämpösuojapeittoa. Ruiskutuslaitteille tarkoitetun lämpösuojapeiton saa valtuutetulta Toro-jälleenmyyjältä.
Pysäytä kone, kytke puomit pois päältä ja kytke seisontajarru.
Ajaminen käsiruiskutinta käyttäen voi aiheuttaa hallinnan menetyksen, josta voi seurata loukkaantuminen tai kuolema. Älä käytä käsiruiskutinta ajon aikana.
Varmista, että koneen takaosassa oleva ruiskutuspistoolin liipaisinlukko on lukittu.
Käännä säädinventtiilin vihreää vipua 90 astetta.
Kytke pumppu päälle käyttäjän paikalta.
Kytke pääpuomi PääLLä-asentoon.
Aseta haluttu moottorin käyntinopeus ja kytke moottorin tyhjäkäynnin kierrosnopeuden lukitsin.
Important: Älä käytä suurempaa paineasetusta kuin 10,34 bar käsiruiskutinta käytettäessä.
Käännä ohitusventtiilin vihreää vipua 90 astetta.
Suuntaa ruiskupistoolin suutin turvalliselle alueelle, vapauta liipaisinlukko ja vedä liipaisimesta, kunnes letku tyhjenee kokonaan nesteestä. Kytke sitten liipaisinlukko.
Aseta ruiskupistooli pidikkeeseen.
Palauta moottori joutokäyntinopeudelle.
Pysäytä pumppu.
Important: Varmista, että ruiskutuspistooli huuhdellaan puhtaalla vedellä päivittäisten puhdistusrutiinien yhteydessä (katso ohjeet ruiskuttimen käyttöohjeesta). Jos ruiskupistoolia ei puhdisteta huolella, ruiskupistoolin teho ja luotettavuus voivat kärsiä.
Aseta haluttu ruiskutuspaine ruiskutusmäärän kytkimellä.