| Underhållsintervall | Underhållsförfarande |
|---|---|
| Varje användning eller dagligen |
|
Maskinen är en åkgräsklippare med roterande knivar som är avsedd att användas av yrkesförare som har anlitats för kommersiellt arbete. Den är primärt konstruerad för att klippa gräs på väl underhållna parkgräsmattor, sportanläggningar och kommersiella anläggningar. Det kan medföra fara för dig och kringstående om maskinen används i andra syften än vad som avsetts.
Läs den här informationen noga så att du lär dig att använda och underhålla produkten på rätt sätt och för att undvika person- och produktskador. Du är ansvarig för att produkten används på ett korrekt och säkert sätt.
Besök www.Toro.com om du behöver utbildningsmaterial för säkerhet och drift, information om tillbehör, hjälp med att hitta en återförsäljare eller om du vill registrera din produkt.
Kontakta en auktoriserad återförsäljare eller Toros kundservice och ha produktens modell- och artikelnummer till hands om du har behov av service, Toro-originaldelar eller ytterligare information. Figur 1 visar var på produkten modell- och serienumren sitter. Skriv numren i det tomma utrymmet.
Important: Skanna rutkoden på serienummerdekalen (i förekommande fall) med en mobil enhet för att få tillgång till information om garanti, reservdelar och annat.

I den här bruksanvisningen anges potentiella risker och alla säkerhetsmeddelanden har markerats med en varningssymbol (Figur 2), som anger fara som kan leda till allvarliga personskador eller dödsfall om föreskrifterna inte följs.

Två ord används också i den här bruksanvisningen för att markera information. Viktigt anger speciell teknisk information och Observera anger allmän information som bör ges särskild uppmärksamhet.
Produkten uppfyller alla relevanta europeiska direktiv. Mer information finns i produktens separata försäkran om överensstämmelse.
Det är ett brott mot avsnitt 4442 eller 4443 i Kaliforniens Public Resource Code att använda eller köra motorn på skogs-, busk- eller grästäckt mark om motorn inte är utrustad med en gnistsläckare som är i fullgott skick, vilket anges i avsnitt 4442, eller utan att motorn är konstruerad, utrustad och underhållen för att förhindra brand.
Den bifogade bruksanvisningen till motorn tillhandahålls för information om den amerikanska miljömyndigheten EPA:s (US Environmental Protection Agency) och Kaliforniens lagstiftning om utsläppskontroll för emissionssystem, underhåll och garanti. Extra bruksanvisningar kan beställas från motortillverkaren.
KALIFORNIEN
Proposition 65 Varning
Avgaserna från dieselmotorer och vissa avgaskomponenter innehåller ämnen som av den amerikanska delstaten Kalifornien anses orsaka cancer, fosterskador och andra fortplantningsskador.
Batteripoler och kabelanslutningar med tillbehör innehåller bly och blyföreningar, kemikalier som den amerikanska delstaten Kalifornien anser kan orsaka cancer och fortplantningsskador. Tvätta händerna efter hantering.
Användning av produkten kan orsaka kemikalieexponering som av den amerikanska delstaten Kalifornien anses orsaka cancer, fosterskador och andra fortplantningsskador.
Maskinen kan slita av händer och fötter och kasta omkring föremål. Följ alltid alla säkerhetsanvisningar för att undvika allvarliga personskador.
Läs och se till att du har förstått innehållet i den här bruksanvisningen innan du startar motorn.
Var fullt koncentrerad på maskinen när du använder den. Delta inte i aktiviteter som kan distrahera dig, eftersom personskador eller skador på egendom då kan uppstå.
Kör endast maskinen om skydd och andra säkerhetsanordningar sitter på plats och fungerar.
Håll händer och fötter borta från rörliga delar. Håll avstånd till utkastaröppningen.
Håll kringstående och barn borta från arbetsområdet. Låt aldrig barn använda maskinen.
Stäng av motorn, ta ut nyckeln och vänta tills alla rörliga delar har stannat innan du kliver ur förarsätet. Låt maskinen svalna innan du utför service, justerar, rengör eller ställer den i förvar.
Felaktigt bruk eller underhåll av maskinen kan leda till
personskador. För att minska risken för skador ska du alltid
följa säkerhetsanvisningarna och uppmärksamma varningssymbolen
. Symbolen betyder Var försiktig,
Varning eller Fara – anvisning om personsäkerhet. Underlåtenhet
att följa anvisningarna kan leda till personskador eller dödsfall.
![]() |
Säkerhetsdekalerna och anvisningarna är fullt synliga för föraren och finns nära alla potentiella farozoner. Ersätt dekaler som har skadats eller saknas. |

















CE-maskiner


Note: Vänster och höger sida på maskinen är lika med förarens vänstra respektive högra sida vid normal körning.
Kontrollera däcktrycket före användning. Se Kontrollera däcktrycket.
Important: Se till att ha rätt tryck i alla däck så att du får en bra klippkvalitet och maskinen fungerar som den ska. Däcken får inte vara för löst pumpade.
Kontrollera oljenivån innan och efter att motorn startas. Se Kontrollera oljenivån i motorn.
Kontrollera hydraulvätskenivån innan du startar motorn. Se Kontrollera hydraulvätskenivån.
Kontrollera kylsystemet innan du startar motorn. Se Kontrollera kylsystemet.
Smörj maskinen före användning. Se Smörja lagren och bussningarna. Om maskinen inte smörjs som den ska kommer viktiga komponenter att gå sönder i förtid.
Ta bort leveransklossarna från klippenheterna och släng dem.
Ta bort leveranspinnarna från klippenhetens upphängningsarmar och släng dem.
Note: Leveranspinnarna stabiliserar klippenheterna under leveransen. Ta bort dem före drift.
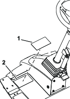
Du kan justera reglagearmens läge så att det blir bekvämt för dig.
Lossa de två bultar som håller fast reglagearmen på fästkonsolen (Figur 3).

Vrid reglagearmen till önskat läge och dra åt de två bultarna.
Kontakta en auktoriserad Toro-återförsäljare om du vill ställa in maskinens programvara till CE-läget.
Delar som behövs till detta steg:
| Motorhuvsspärr | 1 |
| Bricka | 1 |
Frigör och öppna motorhuven.
Ta bort den gummihylsa som sitter i hålet på motorhuvens vänstra sida (Figur 4).

Demontera muttern från motorhuvsspärren (Figur 5).

För in spärrens krokände i hålet i på motorhuvens utsida och kontrollera att förseglingens gummibricka är kvar på motorhuvens utsida (Figur 5).
Sätt sedan på metallbrickan på spärren inuti motorhuven, fäst spärren med muttern och kontrollera att spärren greppar i haken på ramen när den är låst.
Note: Använd den medföljande nyckeln till motorhuvsspärren för att öppna och låsa spärren.
Delar som behövs till detta steg:
| CE-dekal | 1 |
| Dekal med uppgift om tillverkningsår | 1 |
| Varningsdekal | 1 |
Använd tvättsprit och en ren trasa för att rengöra området på motorhuven bredvid motorhuvslåset och låt sedan motorhuven torka. (Figur 6).

Ta bort skyddet från CE-dekalen.
Fäst dekalen på motorhuven.
Använd tvättsprit och en ren trasa för att rengöra golvfästet bredvid serienummerplåten och låt sedan fästet torka (Figur 7).

Ta bort skyddet från dekalen för tillverkningsår.
Fäst dekalen på golvfästet.
Använd tvättsprit och en ren trasa för att rengöra ytan på varningsdekalen och låt sedan dekalen torka (Figur 8).

Ta bort skyddet från CE-varningsdekalen.
Fäst CE-varningsdekalen över den befintliga dekalen.
Den bakre rullskrapan (tillval) fungerar bäst när det finns ett jämnt mellanrum på 0,5–1 mm mellan skrapan och rullen.
Lossa smörjnippeln och monteringsskruven (Figur 9).

Skjut skrapan uppåt eller nedåt tills du får ett mellanrum på 0,5–1 mm mellan stången och rullen.
Dra åt smörjnippeln och skruven växelvis till ett moment på 41 Nm.
Kontakta din auktoriserade Toro-återförsäljare för rätt samlarskärm.
Rengör monteringshålen på bakpanelen och kammarens vänstra vägg noga.
Montera samlarskärmen i den bakre öppningen och fäst den med fem huvudskruvar med fläns (Figur 10).

Se till att samlarskärmen inte stör knivspetsen och inte går in innanför den bakre kammarens vägg.
Om höglyftskniven används tillsammans med samlarskärmen kan kniven gå sönder, vilket kan leda till personskador eller dödsfall.
Använd inte höglyftskniven tillsammans med skärmen.



Note: Maskinen har ingen spak eller brytare som styr motorvarvtalet.
När kraftuttaget kopplas in för att börja snurra klippenheterna ändrar maskinen automatiskt motorvarvtalet till hög tomgång och stannar där tills klippenheterna kopplas ur.
När kraftuttaget inte är inkopplat är maskinens gasreglage beroende av gaspedalens läge, precis som gasreglaget på en bil.
När kraftuttagsbrytaren är aktiverad är maskinen i KLIPPLäGE, vilket gör att du kan köra upp till 13 km/h när maxhastigheten inte är begränsad.
När kraftuttagsbrytaren inte är inkopplad (Figur 11) är maskinen i TRANSPORTLäGE, vilket gör att du kan köra upp till 16 km/h när maxhastigheten inte är begränsad.
Note: Använd de låsta menyerna i InfoCenter för att ställa in maxhastigheten för varje läge.

Koppla in parkeringsbromsen genom att (Figur 11) vrida reglaget framåt på konsolen. Den röda lampan på brytaren tänds när den är inkopplad. Vrid brytaren bakåt för att frigöra parkeringsbromsen.
Om parkeringsbromsbrytaren aktiveras sänks hjuldrivningen automatiskt, oavsett gaspedalens läge, och parkeringsbromsen kopplas in så snart maskinen stannar.
När motorn har stängts av och maskinen inte rör sig aktiveras parkeringsbromsen, oavsett vilket läge parkeringsbromsens brytare är i.
Om du vill luta ratten mot dig ska du trampa ned fotpedalen och dra ratten mot dig så att du får en bekväm körposition, och sedan släppa upp pedalen (Figur 12). Om du vill flytta ratten bort från dig ska du trampa ned fotpedalen och släppa upp den när ratten nått önskat arbetsläge.
Denna spak (Figur 11) höjer och sänker klippenheterna.
För spaken framåt för att sänka klippenheterna. När kraftuttagsbrytaren är INKOPPLAD är maskinen i KLIPPLäGE och klippenheterna börjar snurra när de sänks.
Note: Se till att du sänker klippenheterna efter att kraftuttagsbrytaren har aktiverats för att starta klippenheterna. När du sänker klippenheterna innan kraftuttagsbrytaren aktiveras börjar de inte snurra.
Dra spaken bakåt för att höja upp klippenheterna helt. När klippenheterna är upphöjda och kraftuttagsbrytaren är urkopplad är maskinen i TRANSPORTLäGE.
Tändningslåset (Figur 11) har tre lägen: AV, På/FöRVäRMNING och START.
Vrid omkopplaren uppåt för att tända strålkastarna (Figur 11).
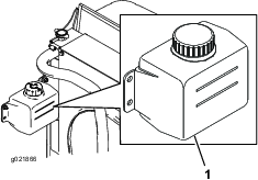
Indikatorn för blockerat hydraulfilter varnar när hydraulfiltren måste bytas ut. Se Byta hydraulfiltret.

Eluttaget (Figur 15) är en strömkälla på 12 V för elektroniska apparater.


Dra i säteslägesspaken (Figur 16) för att flytta sätet framåt och bakåt. Släpp spaken för att låsa sätet i ett läge.
Vrid viktjusteringsreglaget tills din vikt visas i fönstret för viktmätaren.
Vrid höjdjusteringsreglaget för att ändra sätets höjd.
På LCD-skärmen InfoCenter visas information om maskinen, till exempel driftsstatus, diagnosinformation och övrig information om maskinen (Figur 11).
Vilka skärmar som visas beror på vilka knappar du väljer. Knapparnas funktioner kan ändras beroende på omständigheterna.
Note: Specifikationer och utformning kan ändras utan föregående meddelande.

| Beskrivning | Figur 17referens | Mått och vikt |
| Total höjd | A | 217 cm |
| Spårvidd (däck mitt till mitt), bakhjul | B | 185 cm |
| Total bredd (transportläge) | C | 231 cm |
| Total bredd (klippläge) | D | 247 cm |
| Hjulbas | E | 152 cm |
| Total längd (transportläge) | F | 315 cm |
| Total längd (klippläge) | G | 315 cm |
| Bränsletankskapacitet | 53 liter | |
| Transporthastighet | 0–16 km/h | |
| Klipphastighet | 0–13 km/h | |
| Nettovikt (med klippdäck och vätskor) | 1 492 kg |
Det finns ett urval av godkända Toro-redskap och -tillbehör som du kan använda för att förbättra och utöka maskinens kapacitet. Kontakta en auktoriserad serviceverkstad eller Toro-återförsäljare eller gå till www.Toro.com för att se en lista över alla godkända redskap och tillbehör.
Använd endast originalreservdelar och tillbehör från Toro för att garantera optimal prestanda och fortlöpande säkerhet för produkten. Det kan vara farligt att använda reservdelar och tillbehör från andra tillverkare och det kan göra produktgarantin ogiltig.
Note: Vänster och höger sida på maskinen är lika med förarens vänstra respektive högra sida vid normal körning.
Låt aldrig barn eller någon som inte har fått utbildning använda eller utföra underhåll på maskinen. Lokala föreskrifter kan begränsa förarens ålder. Det är ägaren som ansvarar för att utbilda alla förare och mekaniker.
Lär dig hur du använder utrustningen på ett säkert sätt och bekanta dig med manöverorgan och säkerhetsskyltar.
Stäng av motorn, ta ut nyckeln och vänta tills alla rörliga delar har stannat innan du kliver ur förarsätet. Låt maskinen svalna innan du utför service, justerar, rengör eller ställer den i förvar.
Lär dig att stanna maskinen och stänga av motorn snabbt.
Kontrollera att förarkontroller, säkerhetsbrytare och skydd sitter fast och fungerar som de ska. Kör inte maskinen om dessa inte fungerar som de ska.
Före klippning ska du alltid kontrollera att knivarna, knivbultarna och klippenheterna är i gott fungerande skick. Byt ut slitna eller skadade knivar och skruvar i satser så att balanseringen bibehålls.
Inspektera området där maskinen ska användas och ta bort föremål som maskinen kan slunga iväg.
Denna produkt genererar ett elektromagnetiskt fält. Om du använder en implanterbar elektronisk medicinteknisk produkt ska du kontakta din vårdgivare innan du använder den här produkten.
Var ytterst försiktig när du hanterar bränsle. Det är brandfarligt och dess ångor är explosiva.
Släck alla cigaretter, cigarrer, pipor och allt annat som brinner.
Använd endast en godkänd bränsledunk.
Ta inte bort tanklocket och fyll inte på bränsle i bränsletanken medan motorn är igång eller fortfarande är varm.
Fyll inte på eller tappa ut bränsle från maskinen i ett slutet utrymme.
Förvara inte maskinen eller bränslebehållaren i närheten av en öppen låga, gnista eller tändlåga, t.ex. nära en varmvattenberedare eller någon annan utrustning.
Om du spiller ut bränsle ska du inte försöka starta motorn. Undvik att skapa några gnistor tills bränsleångorna har skingrats.
53 liter
Important: Använd endast dieselbränsle med mycket låg svavelhalt. Bränsle med högre svavelhalt försämrar dieseloxideringskatalysatorn (DOC), vilket orsakar funktionsproblem och förkortar livslängden på motorkomponenterna.Underlåtenhet att följa nedanstående försiktighetsåtgärder kan skada motorn.
Använd aldrig fotogen eller bensin istället för dieselbränsle.
Blanda aldrig fotogen eller använd motorolja med dieselbränslet.
Förvara aldrig bränsle i behållare med zinkplätering på insidan.
Använd inte bränsletillsatser.
Cetantal: 45 eller högre
Svavelhalt: mycket låg svavelhalt (< 15 ppm)
| Specifikationer för dieselbränsle | Plats |
| ASTM D975 | USA |
| Nr 1-D S15 | |
| Nr 2-D S15 | |
| EN 590 | EU |
| ISO 8217 DMX | Internationell |
| JIS K2204 klass nr 2 | Japan |
| KSM-2610 | Korea |
Använd endast ren, färsk diesel eller biogasbränslen.
Köp inte mer bränsle än vad som går åt inom 180 dagar så att det garanterat är färskt.
Använd diesel för sommarbruk (nr 2-D) vid temperaturer över −7 °C och bränsle för vinterbruk (nr 1-D eller en blandning av nr 1-D/2-D) under −7 °C.
Note: Användning av bränsle för vinterbruk vid lägre temperaturer ger lägre flampunkts- och flytpunktsegenskaper, vilket gör att maskinen startar lättare och att inte bränslefiltret sätts igen i lika hög grad.Om diesel för sommarbruk används vid temperaturer över −7 °C bidrar det till att pumpen håller längre och har större effekt jämfört med bränsle för vinterbruk.
Maskinen kan också använda ett biodieselbränsle, upp till B20 (20 % biodiesel, 80 % petroleumdiesel).
Svavelhalt: mycket låg svavelhalt (< 15 ppm)
Specifikation för biodieselbränsle: ASTM D6751 eller SS-EN 14214
Specifikation för blandat bränsle: ASTM D975, SS-EN 590 eller JIS K2204
Important: Petroleumdieselandelens svavelhalt måste vara mycket låg.
Vidta följande säkerhetsåtgärder:
Biodieselblandningar kan skada målade ytor.
Använd B5 (andel biodiesel är 5 %) eller blandningar med mindre biodieselandel vid kallt väder.
Kontrollera tätningar, slangar, packningar som kommer i kontakt med bränsle, eftersom de kan försämras över tiden.
Vid byte till biodiesel kan bränslefiltret sättas igen efter en tid.
Kontakta en auktoriserad Toro-återförsäljare för mer information om biodiesel.


Fyll på tanken med dieselbränsle (nr 2-D) till ungefär 6–13 mm under tankens, inte påfyllningsrörets, övre kant.
Note: Fyll om möjligt på tanken varje gång maskinen har använts. Detta minskar eventuell ansamling av kondens i bränsletanken.
Innan du startar motorn och använder maskinen ska du kontrollera oljenivån i motorns vevhus. Se Kontrollera oljenivån i motorn.
Innan du startar motorn och börjar använda maskinen bör du kontrollera kylsystemet; se Kontrollera kylsystemet.
Innan du startar motorn och börjar använda maskinen bör du kontrollera hydraulsystemet; se Kontrollera hydraulvätskenivån.
Töm ut vatten eller andra föroreningar från vattenseparatorn. Se Tömma bränsle-/vattenseparatorn på vatten.
| Underhållsintervall | Underhållsförfarande |
|---|---|
| Varje användning eller dagligen |
|
Lufttrycket i fram- och bakdäcken ska ligga mellan 0,83 och 1,03 bar.
Important: Upprätthåll rätt tryck i alla däck för att säkerställa bra klippkvalitet och korrekt maskinfunktion. Däcken får inte vara för löst pumpade.Kontrollera lufttrycket i samtliga däck innan du kör maskinen.

| Underhållsintervall | Underhållsförfarande |
|---|---|
| Efter den första timmen |
|
| Efter de första 10 timmarna |
|
| Var 250:e timme |
|
Om hjulmuttrarna inte dras åt ordentligt kan hjulen fungera dåligt eller falla av, vilket kan leda till personskador.
Dra åt de främre och bakre hjulmuttrarna till 94–122 Nm vid de rekommenderade serviceintervallerna.
Important: Klippenheterna klipper ofta cirka 6 mm lägre än en cylinderklippenhet med samma bänkinställning. Bänken på dessa klippenheter kan behöva ställas in 6 mm högre än cylinderklippenheterna som klipper i samma område.
Important: Det går mycket lättare att komma åt de bakre klippenheterna om klippenheten tas bort från maskinen. Sänk klippenheterna och ta bort klippenheterna från ramarna genom att ta bort bultarna och stiften som visas i Figur 20.

Ställ maskinen på ett plant underlag, koppla in parkeringsbromsen, sänk ned klippenheten till marken, stäng av motorn och ta ut nyckeln.
Lossa den skruv som fäster respektive klipphöjdsfäste på klipphöjdsplattan (längst fram och på vardera sidan) (Figur 21).
Ta bort bulten och börja med att justera framdelen.

Ta bort distansbrickan samtidigt som du stöttar kammaren (Figur 21)
Flytta kammaren till önskad klipphöjd och montera distansbrickan i avsett klipphöjdshål och -spår (Figur 22).

Placera den gängade plattan i linje med distansbrickan.
Montera skruven för hand.
Upprepa steg 4 till 7 för justering av vardera sidan.
Dra åt alla tre skruvarna till 41 Nm. Dra alltid åt den främre bulten först.
Note: Vid justeringar på mer än 3,8 cm kan det behövas en tillfällig montering i mellanliggande höjd för att undvika att det kärvar (t.ex. om klipphöjden ändras från 3,1 cm till 7 cm).
| Underhållsintervall | Underhållsförfarande |
|---|---|
| Varje användning eller dagligen |
|
Om säkerhetsbrytarna är frånkopplade eller skadade kan maskinen plötsligt gå igång, vilket i sin tur kan leda till personskador.
Gör inga otillåtna ändringar på säkerhetsbrytarna.
Kontrollera säkerhetsbrytarnas funktion dagligen och byt ut eventuella skadade brytare innan du kör maskinen.
Important: Om du upptäcker vid kontroll att någon av maskinens säkerhetsbrytare inte fungerar ska du kontakta en auktoriserad Toro-återförsäljare.
Kör maskinen sakta till ett öppet område.
Sänk ned klippenheterna, stäng av motorn och koppla in parkeringsbromsen.
Sitt på förarsätet.
Koppla in parkeringsbromsen.
Sätt kraftuttagsbrytaren på det URKOPPLADE läget.
Tryck ned gaspedalen.
Vrid nyckeln till STARTLäGET.
Note: Motorn ska inte kunna startas med gaspedalen nedtryckt.
Sätt dig i förarsätet.
Dra upp kraftuttagsbrytaren till det INKOPPLADE LäGET.
Vrid nyckeln till STARTLäGET.
Note: Motorn får inte starta med kraftuttagsbrytaren i det INKOPPLADE läget.
Sätt dig i förarsätet.
Sätt kraftuttagsbrytaren på det URKOPPLADE läget.
Starta motorn.
Dra upp kraftuttagsbrytaren till det INKOPPLADE LäGET.
Sänk ned klippenheterna för att koppla in kraftuttaget.
Res dig från sätet.
Note: Kraftuttaget ska inte köras när du inte sitter på förarsätet.
Note: Låt inte klippenheterna snurra i mer än ett par sekunder under detta test för att undvika onödigt slitage.
Sitt på förarsätet.
Koppla in parkeringsbromsen.
Sätt kraftuttagsbrytaren på det URKOPPLADE läget.
Starta motorn.
Tryck ned gaspedalen.
Note: Maskinen ska inte reagera när du trycker ned gaspedalen medan parkeringsbromsen är inkopplad. Ett meddelande bör visas i InfoCenter.
Sitt på förarsätet.
Starta motorn.
Lossa parkeringsbromsen.
Res dig från sätet.
Note: Den röda lampan på parkeringsbromsbrytaren ska tändas när du inte sitter i förarsätet, vilket betyder att parkeringsbromsen är inkopplad.
Sitt på förarsätet.
Starta motorn.
Se till att klippenheterna lyfts till transportläget.
Res dig från sätet.
Sänk klippenheterna.
Note: Klippenheterna ska inte sänkas när du inte sitter i förarsätet.
| Underhållsintervall | Underhållsförfarande |
|---|---|
| Varje användning eller dagligen |
|
Klippenhetens knivar bör ha stannat helt ca fem sekunder efter att klippenhetsbrytaren har stängts av.
Note: Se till att klippenheterna sänks på en ren gräsmatta eller ett hårt underlag för att undvika att damm och skräp slungas omkring.
Ta hjälp av en annan person som får stå minst 6 m från klippenheten och observera dess knivar.
När klippenheterna är inkopplade och snurrar med fullt varvtal kopplar du ur kraftuttagsbrytaren och noterar den tid det tar för knivarna att stanna helt.
Note: Om denna tid överstiger sju sekunder behöver bromsventilen justeras. Kontakta din auktoriserade Toro-återförsäljare för att få hjälp med att utföra denna justering.
Denna kniv har konstruerats för att tillhandahålla utmärkt lyft och utkastning under de flesta förhållanden. Använd en annan kniv om högre eller lägre lyft och snabbare eller långsammare utkastarhastighet behövs.
Egenskaper: utmärkt lyft och utkastning under de flesta förhållanden
Kniven fungerar vanligen bäst vid lägre klipphöjder (1,9–6,4 cm).
Egenskaper:
Utkastningen blir jämnare vid lägre klipphöjder.
Utkastarens tendens att kasta åt vänster minskar, vilket gör att klippta områden runt bunkrar och fairways ser snyggare ut.
Lägre effektbehov vid låga höjder och tätt gräs.
Kniven fungerar vanligen bättre vid högre klipphöjder (7–10 cm).
Egenskaper:
Högre lyft och snabbare utkastning
Gles eller mycket mjuk gräsmatta klipps betydligt bättre vid högre klipphöjder
Effektivare utkastning av vått eller klibbigt gräs, vilket minskar anhopningen i klippenheten.
Kräver fler hästkrafter för att kunna användas
Tenderar att kasta ut längre åt vänster, och kan även ha en tendens att bilda torvsträngar vid lägre klipphöjder
Om en höglyftskniv används tillsammans med samlarskärmen kan kniven gå sönder, vilket kan leda till personskador eller dödsfall.
Använd inte höglyftskniven tillsammans med samlarskärmen.
Kniven har utformats för att tillhandahålla utmärkt lövkompostering.
| Kniv med vinklat segel | Höglyftskniv med parallellt segel(får ej användas tillsammans med samlarskärmen) (ej CE-godkänd) | Samlarskärm | Rullskrapa | |
| Gräsklippning: 1,9–4,4 cm klipphöjd | Rekommenderas för de flesta tillämpningar | Kan fungera väl i lätt eller glest gräs | Har visat sig förbättra spridningen och resultatet efter klippning när det gäller gräs i nordligare klimat som klipps minst tre gånger i veckan och där mindre än en tredjedel av grässtrået avlägsnas. Får ej användas tillsammans med höglyftskniven med parallellt segel | Använd den närhelst gräs ansamlas på rullarna eller stora platta gräsklumpar upptäcks. Skraporna kan ibland öka ihopklumpningen. |
| Gräsklippning: 5–6,4 cm klipphöjd | Rekommenderas för tjockt eller frodigt gräs | Rekommenderas för lätt eller glest gräs | ||
| Gräsklippning: 7–10 cm klipphöjd | Kan fungera väl i frodigt gräs | Rekommenderas för de flesta tillämpningar | ||
| Lövkompostering | Rekommenderas för användning tillsammans med samlarskärmen | Får ej användas | Bör endast användas tillsammans med kombinationssegel eller vinklat segel | |
| Fördelar | Jämn utkastning vid lägre klipphöjder; ger ett snyggare resultat runt bunkrar och fairways; lägre effektbehov | Högre lyft och snabbare utkastning. Gles eller mycket mjuk gräsmatta klipps vid högre klipphöjder. Vått eller klibbigt gräs kastas ut på ett effektivt sätt | Kan förbättra spridningen och resultatet vid vissa typer av tillämpningar. Mycket bra för lövkompostering | Minskar ansamlingen på rullarna vid vissa tillämpningar. |
| Nackdelar | Lyfter inte gräset särskilt bra vid höga klipphöjder. Vått eller klibbigt gräs tenderar att ansamlas i kammaren, vilket leder till ett dåligt klippresultat och högre effektbehov. | Kräver mer effekt för att kunna köras vid vissa tillämpningar. Har en tendens att bilda torvsträngar vid lägre klipphöjder i frodigt gräs. Får ej användas tillsammans med samlarskärmen. | Om du försöker klippa alltför mycket gräs med skärmen på kommer gräs att ansamlas i kammaren |
Skärmen visar information om din maskin, t.ex. driftstatus, olika typer av diagnostik och annan information om maskinen. Det finns flera skärmar i InfoCenter-skärmen. Du kan när som helst växla mellan skärmarna genom att trycka på någon av skärmknapparna och sedan välja lämplig riktningspil.

Note: Varje knapps funktion kan ändras beroende på vad tillfället kräver. Vid varje knapp visas en ikon som förklarar den aktuella funktionen.
![]() | Timmätare |
![]() | Det är dags för service. |
![]() | Status för motorns varvtal (varv/min) |
![]() | Inställningar för virtuellt pedalstopp |
![]() | Glödstiften har aktiverats. |
![]() | Föraren måste sitta på sätet. |
![]() | Parkeringsbromsen är åtdragen. |
![]() | Motorns kylvätsketemperatur (°C eller °F) |
![]() | Hjuldrivning eller gaspedal |
![]() | Starta motorn. |
![]() | Farthållaren är aktiverad. |
![]() | Motor |
![]() | Uppvärmningsläge |
![]() | Begäran om återställnings-/standbyregenerering |
| Förfrågan om parkerad regenerering eller återhämtningsregenerering | |
![]() | En parkerad regenerering eller en återhämtningsregenerering pågår. |
![]() | Hög avgastemperatur |
![]() | Fel i Nox-kontrolldiagnos. Kör tillbaka maskinen till verkstaden och kontakta en auktoriserad Toro-återförsäljare (programvaruversion U eller senare). |
![]() | Kraftuttaget är inaktiverat. |
![]() | Kraftuttaget är inkopplat. |
![]() | Batteri |
![]() | Bränslenivå |
![]() | Bränslenivån är låg. |
![]() | Varning |
![]() | Aktiv |
![]() | Inaktiv |
![]() | Föregående |
![]() | Nästa |
![]() | Öka |
![]() | Minska |
![]() | Föregående skärm |
![]() | Nästa skärm |
![]() | Öka värdet |
![]() | Minska värdet |
![]() | Meny |
![]() | Bläddra uppåt/nedåt |
![]() | Bläddra åt vänster/höger |
![]() | Låst |
Endast
tillgänglig med PIN-kod
Tryck på menyåtkomstknappen i huvudskärmen för att få åtkomst till InfoCenters menysystem. Då kommer du till huvudmenyn. Se följande tabeller för en sammanfattning av vilka alternativ som finns tillgängliga från menyerna:
| Huvudmeny – menyobjekt | Beskrivning |
| Fel | Felmenyn innehåller en lista med de senaste maskinfelen som uppstått. Läs servicehandboken eller kontakta en auktoriserad Toro-återförsäljare för mer information om felmenyn och den information som finns där. |
| Service | Servicemenyn innehåller information om maskinen som t.ex. antal brukstimmar och andra liknande siffror. |
| Diagnostik | Diagnostikmenyn visar statusen för alla brytare, givare och styruteffekt på maskinen. Du kan använda den här menyn för att felsöka vissa problem och snabbt se vilka maskinreglage som är På och vilka som är AV. |
| Inställningar | Med hjälp av inställningsmenyn kan du anpassa och ändra konfigurationsvariabler på skärmen. |
| Maskininställningar | Med hjälp av menyn maskininställningar kan du justera tröskelvärdena för acceleration, hastighet och motvikt. |
| Om | I menyn Om står maskinens modellnummer, artikelnummer och programvaruversion. |
| Service – menyobjekt | Beskrivning |
| Hours | Anger det totala antal timmar som maskinen, motorn och kraftuttaget har varit på samt antalet timmar som maskinen har transporterats och när det är dags för service. |
| Counts | Anger händelser som har inträffat i maskinen. |
Gaspedal![]() | |
Hjuldrivningspump![]() | |
Virtuell hastighetsgivare![]() | |
| DPF-regenerering | Alternativ för regenerering av dieselpartikelfiltret och undermenyer för det |
| Diagnostik – menyobjekt | Beskrivning |
| Däck | Anger indata och utdata för höjning och sänkning av klippenheterna. |
| Hjuldrivning | Anger gaspedalens in- och utdata. |
| Cutting Units | Anger indata, kvalificerare och utdata för höjning och sänkning av klippenheterna. |
| PTO | Anger indata, kvalificerare och utdata för aktivering av PTO-kretsen. |
| Motor | Anger indata, kvalificerare och utdata för start av motorn |
CAN-statistik![]() | Anger in- och utdata för CAN. |
| Inställningar – menyobjekt | Beskrivning |
| Ange PIN-kod | Med en PIN-kod kan en person (arbetsledare/mekaniker) som har godkänts av företaget få åtkomst till låsta menyer. |
| Bakgrundsbelysning | Styr LCD-skärmens ljusstyrka. |
| Språk | Styr språken som används på InfoCenter*. |
| Teckenstorlek | Styr storleken på teckensnittet på skärmen. |
| Enheter | Styr vilka enheter som används på InfoCenter (brittiska eller metriska). |
Låsta menyer![]() | Med en PIN-kod kan en person som har godkänts av företaget få åtkomst till låsta menyer |
Lås inställn.![]() | Gör att du kan ändra de låsta inställningarna. |
Note: Menyn Maskininställningar visas endast när PIN-koden har angetts.
Maskininställningar – menyobjekt![]() | Beskrivning |
Klipphastighet ![]() | Styr den maximala hastigheten under klippning (lågt område). |
Transporthastighet![]() | Styr den maximala hastigheten under transport (högt område). |
Smart Power![]() | Aktiverar/inaktiverar Smart Power. |
Motvikt ![]() | Styr hur mycket motvikt som klippenheterna tillämpar. |
Acceleration ![]() | Inställningarna Låg, Medelhög och Hög styr hur snabbt drivningshastigheten reagerar när du flyttar gaspedalen. |
Låst
under Låsta menyer – endast tillgänglig med PIN-kod
| Om – menyobjekt | Beskrivning |
| Modell | Visar maskinens modellnummer. |
| Art.nr | Visar maskinens artikelnummer. |
| Maskinstyrenhetens versionsnummer | Visar versionsnumret för masterstyrenheten. |
| S/W-versionsnummer | Visar versionsnumret för den primära styrenheten. |
InfoCenter-versionsnummer![]() | Visar programvaruversionen för InfoCenter |
Det finns inställningar för driftskonfigurering som kan justeras i INSTäLLNINGARNA för InfoCenter. Använd LåST MENY för att låsa dessa inställningar.
Note: Den initiala lösenordskoden har programmerats av återförsäljaren vid leverans.
Note: Den fabriksinställda PIN-koden för maskinen är antingen 0000 eller 1234.Om du har ändrat PIN-koden och därefter glömt den nya koden kan du kontakta en auktoriserad Toro-återförsäljare för att få hjälp.
Från HUVUDMENYN bläddrar du ner till menyn INSTäLLNINGAR och trycker på välja-knappen (Figur 24).

I menyn INSTäLLNINGAR bläddrar du till ANGE PIN-KOD och trycker på välja-knappen (Figur 25A).

Ange PIN-koden genom att trycka på navigeringsknapparna uppåt eller nedåt tills den rätta första siffran visas. Tryck sedan på höger navigeringsknapp för att gå till nästa siffra (Figur 25B och Figur 25C). Upprepa detta steg tills den sista siffran har angetts.
Tryck på välja-knappen.
Note: Om PIN-koden accepteras på skärmen och den låsta menyn låses upp visas ordet ”PIN” i skärmens övre högra hörn.
Spärra den låsta menyn genom att vrida tändningslåset till det AVSTäNGDA läget och sedan till det PåSLAGNA läget.
IINSTäLLNINGAR bläddrar du ner till LåS INSTäLLN.
Om du vill visa och ändra inställningarna
utan att ange en PIN-kod använder du välja-knappen och ändrar
inställningen för LåS INSTäLLN. till
(Av).
Om du vill visa och ändra inställningarna
med en PIN-kod använder du välja-knappen för att ändra LåS INSTäLLN. till
(På). Ställ sedan
in PIN-koden och vrid nyckeln i tändningslåset till läget AV och sedan till läget På.
Timern Dags för service nollställer timmarna till service efter att en planerad underhållsåtgärd har utförts.
IINSTäLLNINGAR bläddrar du till ANGE PIN-KOD och trycker på välja-knappen.
Ange PIN-kod. Se Åtkomst till låsta menyer.
ISERVICE navigerar du till TIMMAR och trycker på välja-knappen.
Bläddra ner till DAGS FöR SERVICE.
Note: Om det är dags för service så visas NU bredvid DAGS FöR SERVICE.
Markera serviceintervallet och tryck på valknappen.
Note: Serviceintervallet (250 timmar, 500 timmar osv.) finns bredvidDAGS FöR SERVICE.Serviceintervall är ett låst menyalternativ.
När skärmen ÅTERSTÄLLA SERVICETIMER? visas trycker du på välja-knappen för JA eller på tillbaka-knappen för NEJ.
När du har valt JA rensas intervallskärmen och återgår till valen för servicetimmar.
Den valda inställningen visas som ett X i stapeldiagrammet för drivhastigheten och hastighet tillsammans med inställningarna för farthållare och pedalstopp. Ett X i en stapel visar att maxhastigheten har begränsats av arbetsledaren (Figur 29).
Note: Denna inställning behålls i minnet och appliceras på drivhastigheten tills du ändrar den.
IMASKININSTäLLNINGAR bläddrar du ned till KLIPPHASTIGHET.
Använd vänster och höger navigeringsknapp för att öka den maximala klipphastigheten i steg om 0,8 km/h mellan 1,6 och 12,9 km/h.
Den valda inställningen visas som ett X i stapeldiagrammet för drivhastigheten och hastighet tillsammans med inställningarna för farthållare och pedalstopp. Ett X i en stapel visar att maxhastigheten har begränsats av arbetsledaren (Figur 29).
Note: Denna inställning behålls i minnet och appliceras på drivhastigheten tills du ändrar den.
IMASKININSTäLLNINGAR, bläddra ned till TRANSPORTHASTIGHET.
Använd vänster och höger navigeringsknapp för att öka den maximala transporthastigheten i steg om 0,8 km/h mellan 8,0 och 16,0 km/h.
IINSTäLLNINGAR bläddrar du ner till SMART POWER.
Tryck på den högra navigeringsknappen för att växla mellan På och AV.
I MASKININSTäLLNINGAR bläddrar du ner till MOTVIKT.
Tryck på den högra navigeringsknappen för att välja motvikt och ändra mellan inställningarna LåG, MEDELHöG och HöG.
I MASKININSTäLLNINGAR bläddrar du ner till ACCELERATION.
Tryck på höger navigeringsknapp för att växla mellan LåG, MEDELHöG och HöG.
Note: Av praktiska skäl är det möjligt att välja att utföra en parkerad regenerering innan sotnivån når 100 %, förutsatt att motorn har gått i mer än 50 timmar sedan den senaste genomförda parkerade regenereringen eller återställnings- och återhämtningsregenereringen.
Använd fältetMeny för tekniker för att se den aktuella statusen för reglaget för motorregenerering och den aktuella sotnivån.
I INSTäLLNINGAR bläddrar du ned till DPF REGENERATION (DPF-regenerering) och trycker på välja-knappen.
I DPF REGENERATION (DPF-regenerering) bläddrar du ned till TECHNICIAN (TEKNIKER) och trycker på välja-knappen.


Blinkande rött sken – aktivt fel
Fast rött sken – aktiv rekommendation
Fast blått sken – kalibrerings-/dialogmeddelanden
Fast grönt sken – normal drift
Maskinen bromsar och stannar dynamiskt när du återför gaspedalen till neutralläget.
Note: Använd foten för att långsamt föra tillbaka gaspedalen till neutralläget för att få en mjuk inbromsning. Ta inte foten från pedalen och låt den snäppa tillbaka till neutralläget om du inte tänker stanna snabbt.
Maskinen bör stanna helt inom cirka 3,7 m från den högsta transporthastigheten på 16 km/h.
På plan, torr trottoar markerar du början och slutet på en sträcka på 3,7 m.
Kör maskinen med en maximal transporthastighet på 16 km/h och lyft foten i början av sträckan på 3,7 m.
Kontrollera om maskinen stannar inom 0,6 m från märkningen (3,7 m).
Kontakta din Toro-återförsäljare om maskinens stoppsträcka inte är inom 0,6 m från denna märkning.
Backningshastighet vid transport
Om den högsta transporthastigheten som ställts in av arbetsledaren är högre än 8,0 km/h är den högsta backningshastigheten 8,0 km/h.
Om den högsta transporthastighet som ställts in av arbetsledaren är 8,0 km/h eller lägre, är den högsta backningshastigheten densamma som den transporthastighet som ställts in av arbetsledaren.
Backningshastighet vid klippning
Om den högsta klipphastigheten som ställts in av arbetsledaren är högre än 6,4 km/h är den högsta backningshastigheten 6,4 km/h.
Om den högsta klipphastigheten som ställts in av arbetsledaren är 6,4 km/h eller lägre, är den högsta backningshastigheten densamma som transporthastigheten som ställts in av arbetsledaren.
Den här maskinen visar beräknade drivhastigheter i kilometer per timme (km/h) eller miles per timme (mph).
Den momentana hastigheten visas i det övre vänstra hörnet på farthållarskärmen och de virtuella pedalstoppskärmarna.
Drivhastigheten uppskattas och kalibreras för att vara mest exakt vid 8,0 km/h under klippning. De visade hastigheterna är korrekta när den är 0,8 km/h högre eller lägre än visningshastigheten vid körning på torr, plan trottoar.
Kontakta en auktoriserad Toro-återförsäljare om maskinens observerade hastighet avviker mer än 2,4 km/h från de visade hastigheterna.
När maskinen startas i kallt väder begränsar uppvärmningsläget motorvarvtalet till låg tomgång under en kort period efter att motorn startats, vilket förhindrar potentiella komponentskador om maskinen körs med kall olja.
En ikon av en snöflinga
på InfoCenter-skärmen visar när
uppvärmningsläget är aktivt. Använd inte maskinen
förrän efter uppvärmningsperioden.
Ägaren/operatören kan förebygga olyckor samt ansvarar för olyckor som kan ge upphov till personskador eller skador på egendom.
Använd lämpliga kläder, inklusive ögonskydd, långbyxor, rejäla och halkfria skor samt hörselskydd. Sätt upp långt hår och använd inte hängande smycken eller löst sittande kläder.
Kör inte maskinen om du är sjuk, trött eller påverkad av alkohol eller läkemedel.
Var fullt koncentrerad på maskinen när du använder den. Delta inte i aktiviteter som kan distrahera dig, eftersom personskador eller skador på egendom då kan uppstå.
Se till att alla drivenheter är i neutralläge, parkeringsbromsen är inkopplad och att du sitter i förarsätet innan du startar motorn.
Skjutsa inte passagerare på maskinen och håll kringstående och barn på säkert avstånd från arbetsområdet.
Använd endast maskinen om du har god sikt, så att du kan undvika gropar och dolda faror.
Undvik att klippa vått gräs. Försämrat grepp kan göra att maskinen glider.
Håll händer och fötter borta från rörliga delar. Håll avstånd till utkastaröppningen.
Titta bakåt och nedåt innan du backar för att se till att vägen är fri.
Var försiktig när du närmar dig hörn med skymd sikt, buskage, träd eller andra objekt som kan försämra sikten.
Stanna knivarna när du inte klipper gräs.
Stanna maskinen, ta ut nyckeln och vänta tills alla rörliga delar har stannat innan du undersöker redskapet om du kör på ett föremål eller om maskinen vibrerar på ett onormalt sätt. Reparera alla skador innan du börjar köra maskinen igen.
Sakta ned och var försiktig när du svänger och korsar vägar och trottoarer med maskinen. Lämna alltid företräde.
Koppla ur klippenhetens drivenhet, stäng av motorn, ta ut nyckeln och vänta tills alla rörelser har avstannat innan du justerar klipphöjden (såvida du inte kan justera den från arbetsläget).
Kör endast motorn i välventilerade utrymmen. Avgaser innehåller koloxid, vilket är dödligt om det andas in.
Lämna aldrig en maskin som är i gång utan uppsikt.
Innan du kliver ur förarsätet ska du göra följande:
Ställ maskinen på ett plant underlag.
Koppla ur kraftuttaget och sänk ner redskapen.
Koppla in parkeringsbromsen.
Stäng av motorn och ta ut nyckeln.
Vänta tills alla rörliga delar har stannat.
Använd endast maskinen när sikten är god. Använd inte maskinen när det finns risk för blixtnedslag.
Använd inte maskinen som bogserfordon.
Använd endast tillbehör, redskap och reservdelar som har godkänts av Toro.
Använd endast farthållaren (om sådan finns) när du kan köra maskinen i ett öppet och plant område som är fritt från hinder och där maskinen kan köras med en konstant hastighet utan avbrott.
Vältskyddet är en inbyggd, effektiv säkerhetsanordning.
Ta inte bort några vältskyddsdelar från maskinen.
Kontrollera att säkerhetsbältet fäster vid maskinen.
Dra bältesremmen över knät och spänn fast säkerhetsbältet i spännet på andra sidan sätet.
För att lossa säkerhetsbältet ska du hålla i bältet, trycka på knappen på spännet för att frigöra bältet och styra in det i den automatiska indragningens öppning. Säkerställ att du kan lossa säkerhetsbältet snabbt i en nödsituation.
Var mycket uppmärksam på hinder som kan finnas ovanför dig och vidrör dem inte.
Håll vältskyddet i säkert bruksskick genom att regelbundet inspektera det noga och kontrollera att det inte är skadat samt hålla alla fästelement åtdragna.
Byt ut skadade vältskyddsdelar. Reparera eller ändra dem inte.
En hytt som monteras av Toro har en störtbåge.
Använd alltid säkerhetsbältet.
Sluttningar är en betydande faktor vid olyckor som orsakas av att föraren förlorat kontrollen eller att maskinen välter, vilket kan innebära livsfara eller leda till allvarliga personskador. Du ansvarar för säker drift i sluttningar. Du måste vara extra försiktig när du kör maskinen i en sluttning.
Utvärdera förhållandena på platsen för att bedöma om sluttningen är säker för körning av maskinen, bland annat genom att undersöka hela arbetsplatsen. Använd alltid sunt förnuft och ett gott omdöme när du utför kontrollen.
Gå igenom instruktionerna för körning av maskinen i sluttningar nedan och fastställ om maskinen kan användas under de förhållanden som råder på den platsen och den dagen. Förändringar i terrängen kan leda till att maskinens manövrering i sluttningar förändras.
Undvik att starta, stänga av eller svänga med maskinen i sluttningar. Undvik att göra plötsliga ändringar i hastighet eller riktning. Sväng långsamt och successivt.
Använd inte maskinen under förhållanden där det råder tvekan om dragkraft, styrning eller stabilitet.
Avlägsna eller märk ut hinder såsom diken, hål, fåror, gupp, stenar och andra dolda faror. Det kan finnas dolda hinder i högt gräs. Ojämn terräng kan göra att maskinen välter.
Observera att maskinen kan tappa drivkraft om maskinen körs på vått gräs, tvärs över sluttningar eller nedför en sluttning. Drivhjul som tappar drivkraft kan leda till att maskinen glider och att du förlorar kontrollen över bromsning och styrning.
Var mycket försiktig när du använder maskinen nära stup, diken, flodbäddar, vattendrag eller andra faror. Maskinen kan välta plötsligt om ett hjul kör över en kant eller kanten ger med sig. Håll ett säkert avstånd mellan maskinen och riskfyllda områden.
Identifiera faror nere vid slutet av sluttningen. Klipp sluttningen med en handgräsklippare om det finns faror.
Om möjligt ska klippenheterna hållas nedsänkta mot marken när du kör maskinen i sluttningar. Om klippenheterna höjs vid körning i sluttningar kan maskinen bli ostadig.
Var mycket försiktig när du använder gräsuppsamlingssystem och andra redskap. De kan ändra maskinens stabilitet och leda till att du förlorar kontrollen.
Den här maskinen har ett gasspjäll av biltyp som styrs av gaspedalen.
Maskinen har inget separat gasreglage eller gasreglagespak.
När du tar bort foten från gaspedalen bromsas maskinen dynamiskt till stopp.
Pedalerna är avsedda att ge ett snabbt men stabilt svar så att du kan bibehålla jämn kontroll i ojämn terräng, samtidigt som det går att bromsa snabbt och mjukt.
Under transporter fungerar gaspedalen som på en bil och ändrar motorvarvtalet och drivhastigheten beroende på gaspedalens position.
Vid klippning höjs motorvarvtalet automatiskt till hög tomgång.
Om motorn går på låg tomgång kan du utföra en funktion som att lyfta klippenheterna eller trycka ner gaspedalen för att höja motorvarvtalet till minimal arbetshastighet, vilket ger tillräckligt med kraft för att effektivt kunna utföra funktionen.
Begränsa maskinens inaktivitet enligt rekommendationen för regenerering av dieselpartikelfilter (DPF). Stäng av maskinen för att förhindra utökad tomgångstid.
De högsta hastigheter som ställs med de PIN-kodsskyddade menyinställningarna ställs in av arbetsledaren för att begränsa maskinens maximala drivhastighet.
Den maximala hastigheterna som kan uppnås med gaspedalanvändning, farthållare och pedalstopp begränsas av de högsta hastigheter som ställs in i den PIN-skyddade menyn.
Om det finns ett hinder i vägen lyfter du klippenheterna eller klipper runt hindret.
När du transporterar maskinen mellan olika arbetsområden ska du stänga av kraftuttaget och lyfta upp klippenheterna helt och hållet. Detta gör att gaspedalen fungerar som på en bil.
Kör alltid långsamt på ojämnt underlag.
Stäng aldrig av maskinen medan du kör den.
Öva på att använda maskinen för att bekanta dig med dess funktioner.
Lyft upp klippenheterna, koppla ur parkeringsbromsen, tryck på gaspedalen för framåtkörning och kör försiktigt till en öppen plats.
Öva på att köra maskinen, eftersom den har en hydrostatisk transmission och dess funktioner kan skilja sig från andra maskiner för gräsunderhåll.
Öva på att köra framåt och backa samt starta och stanna maskinen. Stanna maskinen genom att ta bort foten från gaspedalen och låta den återgå till NEUTRALLäGE.
Note: När du kör nedför en sluttning med maskinen kan du behöva använda backningspedalen för att stanna.
Ta bort foten från gaspedalen för att stanna snabbt.
Öva på att köra runt hinder med klippenheterna uppe respektive nere. Var försiktig när du kör i trånga utrymmen, så att du inte skadar maskinen eller klippenheterna.
Gaspedalen styr maskinens fram- och backhastighet och den dynamiska bromsningen när du återställer den till neutralläge.
Denna maskin är utrustad med ett gasreglage av biltyp – motorvarvtalet och maskinens hastighet svarar på pedalrörelsen.
Under transporter fungerar gaspedalen som på en bil och ändrar motorvarvtalet och drivhastigheten beroende på gaspedalens position.
När du klipper höjs motorns varvtal automatiskt till hög tomgång för att optimera klippningsprestandan och gaspedalen styr bara drivhastigheten.
Ju längre du trycker pedalen framåt eller bakåt, desto snabbare rör sig maskinen.
Om du vill stanna maskinen mjukt vid transport eller klippning ska du släppa upp gaspedalen till neutralläget genom att lyfta foten i lämplig fart.
Om du vill bromsa maximalt ska du ta bort foten från gaspedalen och låta den återgå till neutralläget. Maskinen bromsar dynamiskt och stannar.
Med det här drivsystemet kan du anpassa accelerationsinställningarna efter komfort och den specifika gräsmattan. Se Förstå accelerationsläget för information om hur du ändrar inställningarna.

Med funktionen för virtuellt pedalstopp (VPS) kan du tillfälligt ställa in en högsta drivhastighet som är lägre än den lösenordsskyddade högsta drivhastighet som ställts in av arbetsledaren.
Om du tillfälligt vill ställa in maskinens maxhastighet trycker du gaspedalen helt framåt (Figur 28). Du kan ställa in separata hastigheter för klippintervallet och transportintervallet (Figur 29).
För att komma åt den här funktionen ska du trycka på navigeringsknapparna upp eller ner från huvudskärmen. (Figur 29).
Note: Den här funktionen återgår till inställningarna för maximal hastighet för arbetsledaren när du vrider nyckeln till läget AV.

Med den här funktionen kan du anpassa hastighetsinställningarna för din komfortnivå eller anpassa hastighetsinställningarna så att de passar tillämpningen.
När du ändrar den högsta drivhastigheten med arbetsledarens maxhastighetsinställningar eller virtuellt pedalstopp omprogrammeras gaspedalen automatiskt för att använda hela pedalslaget mellan neutral och den nya maxhastigheten. Detta innebär att du får mer exakt kontroll över drivhastigheten vid lägre maxhastighetsinställningar.
Ställ in den maximala hastigheten tillfälligt lägre för att köra en finklippning på fairwayen.
Ställ in den maximala hastigheten tillfälligt lägre för bättre kontroll i eller i närheten av underhållsverkstaden.
Ställ in den maximala hastigheten tillfälligt lägre för bättre kontroll när du lastar maskinen på ett släp.
Omkopplaren för farthållaren låser farthållaren så att önskad hastighet bibehålls. Om du trycker baktill på omkopplaren stängs farthållaren av, om omkopplaren är i mittläget aktiveras farthållaren och om du trycker framtill på omkopplaren ställs den önskade hastigheten in.
När omkopplaren för farthållaren är aktiverad och hastigheten är inställd (Figur 30) kan du använda InfoCenter för att justera farthållarens hastighet (Figur 30 och Figur 31).
Gör så här för att avaktivera farthållaren:
I transportläget ska du trycka på backningsgaspedalen, koppla in parkeringsbromsen eller ställa omkopplaren för farthållaren i läget AV.
I klippläget ska du trycka på backningsgaspedalen, koppla in parkeringsbromsen, koppla ur kraftuttaget eller ställa omkopplaren för farthållaren i läget AV.
Note: När farthållaren kopplas ur bromsar maskinen dynamiskt tills den stannar. Om du vill koppla ur farthållaren medan du kör så trycker du på gaspedalen för en mjuk övergång från farthållare till manuell varvtalsreglering.

Ställ in en körhastighet för långa avstånd utan många hinder.
Använd InfoCenter för att styra hastigheten i ojämn terräng.
Använd farthållaren för att hantera vändningar enligt följande:
Ställ in en säker och bekväm hastighet för vändning i slutet av klippsvepet under klippningen.
Tryck ner gaspedalen för att öka hastigheten för klippningen under klippsvepet.
Ta foten från pedalen när du svänger runt inför nästa klippningssvep.
Maskinen saktar ned till den låga farthållarinställningen så att du kan göra en effektiv vändning med konstant hastighet.
När du har svängt runt använder du gaspedalen för att öka maskinens hastighet för nästa klippningssvep.
Den här funktionen avgör hur snabbt maskinen ändrar drivhastighet när gaspedalen inte är i NEUTRALLäGET.
Note: Om du tar bort foten från gaspedalen och låter den återgå till NEUTRALLäGET medan maskinen är i rörelse aktiveras bromsprofilen. Bromsprofilen är alltid densamma och kan inte anpassas med accelerationslägesfunktionen.
Gå till de låsta menyerna i InfoCenter för att ändra accelerationsläget. Accelerationsläget har följande tre positioner:
Låg – minst aggressiv acceleration och inbromsning
Medel (standard) – medelhög acceleration och inbromsning
Hög – mest aggressiv acceleration och inbromsning
Motviktssystemet upprätthåller ett hydrauliskt mottryck på klippenhetens lyftcylindrar. Motviktssystemet övervakar drivtrycket i realtid och justerar dynamiskt lyftcylindrarnas mottryck för att ge optimal dragkraft och ett utmärkt klippresultat. Motviktstrycket har ställts in på fabriken för optimal jämvikt mellan klippresultat och dragkraft vid de flesta gräsförhållanden. Om du minskar motviktsinställningen kan du få en stabilare klippenhet, men dragkraften kan minska. Om du ökar motviktsinställningen kan hjuldrivningskapaciteten öka, men klippresultatet kan bli sämre. Se Ändra motviktsinställningarna.
De anpassningsbara inställningarna för motvikt är följande:
Låg – störst vikt på klippenheterna och minst vikt på drivhjulen
Medium – medelstor vikt på klippenheterna och drivhjulen
Hög – minst vikt på klippenheterna och störst vikt på drivhjulen
Du kan ändra hur många motvikter som behövs för klippenheten (uppåtlyft) för att anpassa den efter de aktuella klippförhållandena.
Parkera maskinen på ett plant underlag, sänk ner klippdäcken, vrid om nyckeln i tändningslåset till läget AV och koppla in parkeringsbromsen.
Vrid om nyckeln i tändningslåset till läget KöR.
Bläddra ner till motvikt i inställningsmenyn i InfoCenter.
Tryck på den högra knappen för att välja motvikt och ändra mellan inställningarna låg, medelhög och hög.
Note: Flytta maskinen till testområdet när du är klar med justeringen och prova maskinen med den nya inställningen. Den nya motviktsinställningen kan ändra den effektiva klipphöjden.
Med Smart Power behöver inte föraren lyssna på motorvarvtalet när tung last dras. Tack vare Smart Power-drivningen kör inte maskinen fast under tunga klippförhållanden eftersom den automatiskt styr maskinhastigheten och optimerar klipprestandan.
Note: Som standard är den smarta strömfunktionen På.
Important: Bränslesystemet luftas automatiskt innan du startar motorn om du startar maskinen för första gången, om motorn har stannat till följd av att bränslet har tagit slut eller om du har utfört underhåll på bränslesystemet.
Sitt på förarsätet, håll foten borta från gaspedalen så att den är i NEUTRALLäGET, koppla in parkeringsbromsen och se till att kraftuttagsbrytaren är i URKOPPLAT läge.
Vrid nyckeln i tändningslåset till läget KöR.
Vrid nyckeln i tändningslåset till STARTLäGET när glödstiftslampan slocknar. Släpp nyckeln omedelbart när motorn startar och låt den gå tillbaka till KöRLäGET.
Starta motorn och låt den gå på låg tomgång tills den har värmts upp.
Flytta alla reglage till NEUTRALLäGET, koppla in parkeringsbromsen och låt motorn nå låg tomgång.
Important: Låt motorn gå på tomgång i fem minuter innan du stänger av den efter arbete under full belastning. I annat fall kan motorkomponenter skadas.
Vrid nyckeln i tändningslåset till läget AV och ta ut nyckeln.
Starta motorn, lossa bromsen, koppla från kraftuttagsbrytaren och höj klippenheterna.
Använd gaspedalen som gaspedalen på en bil och kör maskinen till området som ska klippas.
Dra ut kraftuttagsbrytaren till det INKOPPLADE läget.
Börja köra maskinen och sänk klippenheterna först när alla klippenheter befinner sig över klippområdet.
Börja klippa området.
När du är klar med en klippsträcka drar du den nedre styrspaken bakåt för att lyfta klippenheterna innan du lämnar klippområdet.
Genomför en tårformad sväng för att snabbt komma i läge för nästa klippsvep.
Tryck nedre styrspaken för att automatiskt sänka klippenheterna i klippområdet och fortsätt att klippa.
Dieselpartikelfiltret (DPF) avlägsnar sot från motoravgaser.
DPF-regenereringsprocessen använder värme från motoravgaserna som ökar genom katalysatorn så att den ackumulerade soten i askan minskas.
Kom ihåg följande för att hålla DPF ren:
Kör motorn på fullt varvtal när det är möjligt för att åstadkomma DPF-regenerering.
Använd rätt motorolja.
Minimera den tid som motorn går på tomgång.
Använd endast diesel med extremt låg svavelhalt.
Använd och underhåll maskinen med dieselpartikelfiltrets funktioner i åtanke. Motor under belastning skapar i allmänhet tillräcklig avgastemperatur för DPF-regenerering.
Important: Minimera tiden som du låter motorn gå på tomgång eller kör motorn på ett lägre varvtal för att minska ansamlingen av sot i DPF.
Avgastemperaturen är mycket hög (ca 600 °C) under DPF-regenereringen. Heta avgaser kan skada dig eller andra människor.
Kör inte motorn i ett slutet utrymme.
Se till att det inte finns något brännbart material runt avgassystemet.
Säkerställ att den heta avgasen inte vidrör ytor som kan skadas av värme.
Rör inte vid heta avgassystemskomponenter.
Stå inte vid eller i närheten av maskinens avgasrör.
| Symbol | Definition |
![]() | • Symbol för parkerings- eller återhämtningsregenerering – regenerering begärs. |
| • Utför regenerering omedelbart. | |
![]() | • En regenerering har bekräftats och begäran behandlas. |
![]() | • En regenerering pågår och avgastemperaturen är förhöjd. |
![]() | • Funktionsfel i NOx-styrsystemet – underhåll av maskinen krävs. |
| Typ av regenerering | Förhållanden som leder till DPF-regenerering | Beskrivning av DPF-drift |
|---|---|---|
| Passiv | Inträffar under normal användning av maskinen vid högt motorvarvtal eller hög motorbelastning | • InfoCenter visar inte en symbol som anger passiv regenerering. |
| • Under passiv regenerering bearbetar dieselpartikelfiltret mycket varma avgaser, oxiderar skadliga utsläpp och bränner sot till aska. | ||
| Stöd | Inträffar till följd av låga motorvarvtal och låg motorbelastning, eller efter det att datorn har upptäckt att dieselpartikelfiltret är tilltäppt av sot | • InfoCenter visar ingen ikon som anger stödregenerering. |
| • Under stödregenereringen justerar motorns dator motorns inställningar för att höja avgastemperaturen. | ||
| Återställning | Inträffar var 100:e timme | • När symbolen för hög avgastemperatur visas i InfoCenter pågår
en regenerering. |
| Den uppstår även om normal motordrift överträffar den tillåtna ackumuleringsmängden för sot i filtret | ||
| • Vid återställningsregenerering upprätthåller motorns dator en förhöjd motorhastighet för att säkerställa filterregenerering. |
| Typ av regenerering | Förhållanden som leder till DPF-regenerering | Beskrivning av DPF-drift |
|---|---|---|
| Parkerad | Inträffar om datorn fastställer att den automatiska DPF-rengöringen inte är tillräcklig. | • När en symbol för
återställning-standby/parkerad regenerering eller återhämtningsregenerering eller en regenerering begärs. |
| Inträffar även när du initierar en parkerad regenerering | ||
| Kan inträffa om spärrad regenerering initieras så att den automatiska DPF-rengöringen inte kan aktiveras | • Genomför en parkerad regenerering så snart som möjligt så att du slipper behöva genomföra en återhämtningsregenerering. | |
| Detta kan inträffa som en följd av användning av fel bränsle eller motorolja | • En parkerad regenerering tar 30–60 minuter. | |
| • Tanken måste vara minst ¼ full. | ||
| • Du måste parkera maskinen för att kunna genomföra en parkerad regenerering. | ||
| Återställning | Inträffar när en begäran om parkerad återställning har ignorerats, vilket leder till att DPF blir ordentligt igensatt | • När en symbol för återställning-standby/parkerad
regenerering eller återhämtningsregenerering eller en återhämtningsregenerering
begärs. |
| • En återhämtningsregenerering tar upp till tre timmar att slutföra. | ||
| • Tanken måste vara minst halvfull. | ||
| • Du måste parkera maskinen för att kunna genomföra en återställningsregenerering. |
I HUVUDMENYN bläddrar du ner till SERVICE och trycker på välja-knappen.
I SERVICE bläddrar du till DPF-REGENERERING och trycker på välja-knappen.
Välj den regenereringsfunktion du behöver.

Gå till menynDPF-REGENERERING och bläddra fram till SENASTE REGENERERING.
Välj posten SENASTE REGENERERING.
Använd fältet LAST REGEN för att avgöra hur många timmar du har kört motorn sedan den senaste parkerade regenereringen eller återställnings- och återhämtningsregenereringen.
Tryck på tillbaka-knappen för att återgå till skärmen DPF-REGENERERING.

En återställningsregenerering leder till ökade motoravgaser. Om maskinen ska användas runt träd, snår, högt gräs eller andra temperaturkänsliga plantor eller material kan du använda inställningen INHIBIT REGEN för spärrad regenerering så att inte motordatorn utför en återställningsregenerering.
Note: Alternativet INHIBIT REGEN (spärra regenerering) används alltid när underhåll utförs på maskinen i ett slutet område.
Note: Om du ställer in att regenerering ska spärras i InfoCenter visar InfoCenter ett meddelande var femtonde minut medan motorn begär en återställningsregenerering.
Important: När du stänger av motorn och startar den igen återgår inställningarna för Inhibit Regen automatiskt till AV.
Gå till menynDPF-REGENERERING och bläddra ner till SPäRRA REGENERERING.
Markera posten INHIBIT REGEN (spärra regenerering).
Ändra inställningen för spärrad regenerering från AV till På.
Kontrollera att maskinen har tillräckligt med bränsle i tanken för den typ av regenerering du ska utföra:
Parkerad regenerering: Se till tanken är minst ¼ full.
Återställningsregenerering: Se till att tanken är minst halvfull.
Flytta maskinen utomhus till ett område utan brandfarligt material eller föremål som kan skadas av värme.
Parkera maskinen på ett plant underlag, flytta alla reglage till NEUTRALLÄGET, koppla ur kraftuttaget och sänk ned klippenheterna.
Koppla in parkeringsbromsen och låt motorn nå låg tomgång.
När motorns dator begär en parkerad regenerering ska du följa uppmaningarna i InfoCenter.
Important: Maskinens dator avbryter DPF-regenereringen om du ökar motorvarvtalet från låg tomgång eller kopplar ur parkeringsbromsen.
Gå till menynDPF-REGENERERING och bläddra ner till PARKERAD REGENERERING eller ÅTERHäMTNINGSREGENERERING.
Välj posten för PARKED REGEN (Parkerad regenerering) eller RECOVERY REGEN (Återhämtningsregenerering).
Note: För att initiera en återhämtningsregenerering måste du ange rätt PIN-kod.
Kontrollera via skärmen REGEN PARAMETERS (regenereringsparametrar) att minst en fjärdedel av tanken är fylld om du ska utföra en parkerad regenerering eller att den är minst halvfull om du ska utföra en återhämtningsregenerering. Kontrollera att parkeringsbromsen är inkopplad och att motorvarvtalet är inställt på låg tomgång. Tryck på valknappen för att fortsätta.
På skärmen INITIATE DPF REGEN (initiera DPF-regenerering) trycker du på knappen nästa för att fortsätta.
InfoCenter visar meddelandet INITIATE DPF REGEN (Initiera DPF-regenerering).
Note: Tryck vid behov på ikonen avbryt för att avbryta regenereringsprocessen.
Ett meddelande om tidsspannet för slutföring visas i InfoCenter.
InfoCenter visar startskärmen och en bekräftelsesymbol
för regenerering
.
Note: Medan DPF-regenereringen pågår visas symbolen för
hög avgastemperatur
i InfoCenter.
När motorns dator har slutfört en parkerad regenerering eller återhämtningsregenerering visas ett meddelande i InfoCenter. Tryck på valfri knapp för att återgå till startskärmen.
Note: Om regenereringen inte slutförs följer du anvisningarna och trycker på valfri knapp för att gå till startskärmen.
Använd inställningarna PARKED REGEN CANCEL (avbryt parkerad regenerering) eller RECOVERY REGEN CANCEL (avbryt återhämtningsregenerering) för att avbryta körningen av en parkerad regenerering eller återhämtningsregenerering.
Gå till menynDPF-REGENERERING och bläddra fram till PARKERAD REGENERERING eller ÅTERHäMTNINGSREGENERERING.
Tryck på välja-knappen för att avbryta en parkerad regenerering eller återhämtningsregenerering.

Byt klippmönster ofta för att undvika ett dåligt klippresultat till följd av upprepad klippning i en och samma riktning. Detta är det effektivaste sättet för att förhindra tvättbrädsmönster.
Se felsökningsguiden för klippresultatsproblem på www.Toro.com.
Om du vill klippa vissa områden i ett randigt mönster med räta linjer letar du reda på ett träd eller något annat föremål längre bort och kör rakt emot det.
Samlarskärmar som skruvas fast finns tillgängliga för klippenheterna. Samlarskärmarna fungerar utmärkt om du underhåller gräset regelbundet så att inte mer än 2,5 cm avlägsnas vid varje klippning. Om för mycket av gräsets längd klipps av när samlarskärmarna är monterade kan slutresultatet efter klippning försämras och behovet av större motoreffekt märkas. Samlarskärmarna fungerar även bra till att sönderdela löv på hösten.
Klipp maximalt av 25 mm eller högst en tredjedel av grässtrået. Vid klippning av ovanligt frodigt och tätt gräs kan du behöva höja klipphöjdsinställningen.
En slipad kniv klipper rent utan att slita och rycka av grässtråna som ett slött knivblad. Om gräset slits och rycks av gulnar det i ändarna, vilket försämrar tillväxten och ökar risken för sjukdomar. Kontrollera att kniven hålls i gott skick och att seglet är helt. Se Kontrollera och slipa kniven.
Se till så att klippkamrarna är i bra skick. Räta ut eventuella böjda komponenter i kamrarna för att säkerställa korrekt spel mellan knivspets och kammare. Se till att alla rullar och svängbara leder inte har något spel för att förhindra grässkador eller ofördelaktigt utseende efter klippning.
Tvätta maskinen ordentligt efter klippningen. Använd en trädgårdsslang utan munstycke så att tätningar och lager inte förorenas eller skadas av ett för högt vattentryck. Se till att smuts och gräsklipp inte kommer i kontakt med kylaren och oljekylaren. Inspektera maskinen efter rengöring för att säkerställa att det inte finns hydraulvätskeläckor, skador eller slitage på hydrauliska och mekaniska delar. Kontrollera även att klippenheternas knivar är vassa.
Stäng av motorn, ta ut nyckeln och vänta tills alla rörliga delar har stannat innan du kliver ur förarsätet. Låt maskinen svalna innan du utför service, justerar, rengör eller ställer den i förvar.
För att förebygga brandrisker måste du se till att alla klippenheter, drivenheter, ljuddämpare, kylskärmar och motorrum är fria från gräs och skräp. Torka upp eventuellt olje- eller bränslespill.
Om klippenheterna är i transportläget ska du använda det positiva låset (om så utrustad) innan du lämnar maskinen utan uppsikt.
Låt motorn svalna innan maskinen ställs undan i ett slutet utrymme.
Ta ut nyckeln och stäng av bränsletillförseln (i förekommande fall) vid förvaring och transport.
Förvara aldrig maskinen eller bränslebehållaren i närheten av en öppen låga, gnista eller tändlåga, t.ex. på en varmvattenberedare eller någon annan anordning.
Underhåll och rengör säkerhetsbälten vid behov
Ta ut nyckeln och stäng av bränsletillförseln (om tillämpligt) vid förvaring och transport.
Var försiktig när du lastar på eller av maskinen från en släpvagn eller lastbil.
Använd ramper i fullbredd när du lastar maskinen på en släpvagn eller lastbil.
Bind fast maskinen så att den sitter säkert.
I nödfall kan du skjuta maskinen framåt genom att aktivera förbikopplingsventilen i den varierbara hydraulpumpen och sedan knuffa eller bogsera maskinen.
Important: Knuffa eller bogsera inte maskinen snabbare än 3–4,8 km/h. Om maskinen knuffas eller bogseras snabbare kan transmissionen skadas.Förbikopplingsventilerna måste alltid vara öppna och bromsen frikopplad när maskinen knuffas eller bogseras.
Lossa sätessockeln och tippa sätet öppet.
Lokalisera förbikopplingsventilen under sätet och ovanpå hydrostaten (Figur 37).

Lossa på ventilerna tre varv för att låta oljan avledas internt.
Note: Eftersom vätskan avleds kan maskinen flyttas långsamt utan att transmissionen skadas.
Lokalisera bromsfrånkopplingsgrenröret nära det främre högra däcket och bakom hydraultanken (Figur 38).

Sätt i den långa änden av en hylsnyckel eller liknande, tryck och håll inne det svarta vredet på grenröret och pumpa grenröret tre gånger. Så snart det finns betydande motstånd vid pumpning frånkopplas bromsen.
Important: Pumpa inte grenröret om det inte går lätt att pumpa. Skador kan uppstå om grenröret pumpas för mycket.
Note: När trycket har byggts upp i grenröret frånkopplas bromsen i cirka 60 minuter. När 60 minuter har gått kan du frånkoppla bromsen igen genom att pumpa grenröret, om det behövs.
Knuffa eller bogsera maskinen.
Justera bromsen genom att dra ut det svarta vredet eller starta motorn.
Note: Bromsen återställs automatiskt när du startar motorn och du behöver inte dra ut det svarta vredet.
Stäng överströmningsventilerna. Dra åt ventilerna till 11 N∙m.
Important: Kontrollera att överströmningsventilerna är stängda innan du börjar använda maskinen. Om motorn körs med öppen förbikopplingsventil överhettas transmissionen.
Note: Vänster och höger sida på maskinen är lika med förarens vänstra respektive högra sida vid normal körning.
Innan du kliver ur förarsätet ska du göra följande:
Ställ maskinen på ett plant underlag.
Koppla ur kraftuttaget och sänk ner redskapen.
Koppla in parkeringsbromsen.
Stäng av motorn och ta ut nyckeln.
Vänta tills alla rörliga delar har stannat.
Använd lämpliga kläder, inklusive ögonskydd, långbyxor och kraftiga halkfria skor. Håll händer, fötter, kläder, smycken och långt hår borta från alla rörliga delar.
Om du lämnar nyckeln i tändningslåset kan någon råka starta motorn av misstag och skada dig eller någon annan person allvarligt. Ta ut nyckeln ur tändningslåset innan du utför något underhåll.
Låt maskinens komponenter svalna innan du utför underhåll.
Om klippenheterna är i transportläget ska du använda det positiva låset (i förekommande fall) innan du lämnar maskinen utan uppsikt.
Utför om möjligt inget underhåll på maskinen medan motorn är igång. Håll dig på avstånd från rörliga delar.
Kör endast motorn i välventilerade utrymmen. Avgaser innehåller koloxid, vilket är dödligt om det andas in.
Stötta upp maskinen med pallbockar när du arbetar under maskinen.
Lätta försiktigt på trycket i komponenter med lagrad energi.
Håll alla maskindelar i gott bruksskick och samtliga beslag åtdragna, i synnerhet knivens fästelement.
Byt ut alla slitna eller skadade dekaler.
Använd endast originalreservdelar och tillbehör från Toro för att garantera en säker, optimal prestanda för maskinen. Det kan vara farligt att använda reservdelar från andra tillverkare och det kan göra produktgarantin ogiltig.
| Underhållsintervall | Underhållsförfarande |
|---|---|
| Efter den första timmen |
|
| Efter de första 10 timmarna |
|
| Varje användning eller dagligen |
|
| Var 50:e timme |
|
| Var 100:e timme |
|
| Var 200:e timme |
|
| Var 250:e timme |
|
| Var 400:e timme |
|
| Var 800:e timme |
|
| Var 1000:e timme |
|
| Var 2000:e timme |
|
| Var 3000:e timme |
|
| Före förvaring |
|
| Vartannat år |
|
Important: Om du utför maskinunderhåll och kör motorn med ett avgasrör ska inställningen för spärrad regenerering vara På. Se Ställa in Inhibit Regen (spärra regenerering).
Kopiera sidan och använd den regelbundet.
| Kontrollpunkt | Vecka: | ||||||
|---|---|---|---|---|---|---|---|
| Mån. | Tis. | Ons. | Tors. | Fre. | Lör. | Sön. | |
| Kontrollera att säkerhetssystemet fungerar. | |||||||
| Kontrollera bromsens funktion. | |||||||
| Kontrollera motoroljenivån och bränslenivån. | |||||||
| Töm vatten-/bränsleseparatorn. | |||||||
| Kontrollera luftfiltrets igensättningsindikator. | |||||||
| Undersök om det finns skräp i kylaren eller gallret. | |||||||
| Kontrollera ovanliga motorljud.1 | |||||||
| Kontrollera ovanliga driftljud. | |||||||
| Kontrollera hydraulsystemets vätskenivå. | |||||||
| Kontrollera hydraulfiltrets indikator. 2 | |||||||
| Se till att det inte finns skador på hydraulslangarna. | |||||||
| Undersök om systemet har oljeläckor. | |||||||
| Kontrollera däcktrycket. | |||||||
| Kontrollera instrumentfunktionen. | |||||||
| Kontrollera klipphöjdsinställningen | |||||||
| Kontrollera knivarnas tillstånd | |||||||
| Kontrollera om någon smörjnippel behöver smörjas. 3 | |||||||
| Bättra på skadad lack. | |||||||
|
1. Undersök glödstift och insprutarmunstycken om motorn är trögstartad eller om överdrivet mycket rök eller ojämn gång uppmärksammas. 2. Utför kontrollen med motorn igång och oljan vid driftstemperatur 3. Omedelbart efter varje tvätt, oavsett intervallet i listan |
|||||||
| Kontrollen utförd av: | ||
| Artikel | Datum | Information |
| 1 | ||
| 2 | ||
| 3 | ||
| 4 | ||
| 5 | ||
| 6 | ||
| 7 | ||
| 8 | ||
Note: Hämta en kostnadsfri kopia av el- eller hydraulschemat på www.Toro.com. Klicka på länken Bruksanvisningar och sök efter din maskin.
| Underhållsintervall | Underhållsförfarande |
|---|---|
| Varje användning eller dagligen |
|
Parkera maskinen på en plan yta.
Koppla in parkeringsbromsen.
Koppla ur kraftuttaget.
Flytta styrspaken för att sänka/höja klippenheterna till KLIPPLäGET.
Stäng av motorn och ta ut nyckeln.
Vänta tills alla rörliga delar har stannat.
Låt motorn svalna.
Vrid sätet något och lyft ut den främre stöttan ur bucklorna på sätets stödskåra.
Sänk sätet försiktigt tills det hakar i på plats.
Note: Stötta upp maskinen med pallbockar när du arbetar under maskinen.
Använd följande som maskinlyftspunkter:

Fram – domkraftsfästena på framaxelröret (Figur 40).
Bak – bakaxelröret.
| Underhållsintervall | Underhållsförfarande |
|---|---|
| Var 50:e timme |
|
Om maskinen används under normala förhållanden använder du Litiumfett nr 2 för att smörja alla lager och bussningar vid de angivna underhållsintervallen. Smörj lagren och bussningarna omedelbart efter varje tvätt, oavsett vilket intervall som anges i listan.
Smörjnipplarnas placering och antal är som följer:
Pumpens drivaxel, U-led (3) Figur 41

Klippenhetens lyftarmscylindrar (2 var) Figur 42

Lyftarmens svängtappar (1 var) Figur 42
Svängtapp för klippenhetens bärram (1 var) Figur 43

Lyftarmens svängaxel (1 var) Figur 44

Axelns styrtapp (1) Figur 45

Styrcylinderns kulleder (2) och bakaxel (1) Figur 46

Klippenhetens spindelaxellager (2 per klippenhet) Figur 47
Note: Beroende på vilken som är mest tillgänglig kan du använda vilken som helst av nipplarna. Pumpa in fett i nippeln tills en liten mängd kommer ut längst ner i spindelkåpan (under klippenheten).

Bakre rullager (två per klippenhet) – Figur 48

Note: Kontrollera att smörjskåran i varje vals är inriktad mot smörjhålet i vardera änden av valsaxeln. Det finns även ett justeringsmärke på ena änden av valsaxeln som kan användas som hjälp för att justera springan mot hålet.
Stäng av motorn och ta ut nyckeln innan du kontrollerar oljenivån eller fyller på olja i vevhuset.
Ändra inte varvtalshållarens inställning och övervarva inte motorn.
| Underhållsintervall | Underhållsförfarande |
|---|---|
| Var 400:e timme |
|
Kontrollera hela intagssystemet och leta efter läckor, skador eller lösa slangklämmor. Använd inte ett skadat luftfilter.
Utför endast service på luftrenarfiltret när serviceindikatorn anger att det krävs. Om du byter ut luftfiltret tidigare ökar det risken för att smuts kommer in i motorn när filtret tas bort.
Important: Kontrollera att kåpan sitter som den ska, sluter tätt runt luftrenarhuset och att gummiutloppsventilen är riktad nedåt – mellan läget klockan 5 och klockan 7 sett från änden.


Toro Premium-motorolja med en oljeviskositet på 15W-40 eller 10W-30 kan köpas hos auktoriserade Toro-återförsäljare.
Använd högkvalitativ motorolja med låg askhalt som uppfyller eller överträffar följande specifikationer:
API-servicekategori CJ-4 eller högre
ACEA-servicekategori E6
JASO-servicekategori DH-2
Important: Om motorolja av annan typ än API CJ-4 eller högre, ACEA E6 eller JASO DH-2 används kan detta orsaka att dieselpartikelfiltret täpps igen eller att motorn skadas.
Använd motorolja med följande viskositetsgrad:
Rekommenderad olja: SAE 15W-40 (över –18 °C) F)
Alternativ olja: SAE 10W-30 eller 5W-30 (alla temperaturer)
| Underhållsintervall | Underhållsförfarande |
|---|---|
| Varje användning eller dagligen |
|
Motorn levereras med olja i vevhuset. Oljenivån måste dock kontrolleras innan och efter motorn startas första gången.
Important: Kontrollera motoroljan dagligen. Om oljenivån är ovanför markeringen Full på oljestickan kan motoroljan vara utspädd med bränsle.Om oljenivån är ovanför markeringen Full ska du byta motoroljan.
Det är bäst att kontrollera motoroljan när motorn är kall, innan den har startats för dagen. Om motorn redan har varit igång, ska du låta oljan rinna tillbaka ned till sumpen i minst 10 minuter innan du kontrollerar den. Fyll på olja tills nivån når upp till markeringen ”Full” på oljestickan om nivån ligger på eller under markeringen ”Add”.Fyll inte på för mycket olja i motorn.
Important: Motoroljenivån ska ligga mellan den övre och den nedre markeringen på oljestickan. Motorn kan gå sönder om du kör den med för mycket eller för lite olja.
Ställ maskinen på ett plant underlag.
Kontrollera oljenivån i motorn (Figur 50).


Note: När du använder annan olja bör du tappa ut all gammal olja ur vevhuset innan du fyller på ny olja.
Cirka 5,2 liter med filtret.
| Underhållsintervall | Underhållsförfarande |
|---|---|
| Var 250:e timme |
|
Starta motorn och låt den gå i fem minuter så att oljan värms upp.
Parkera maskinen på ett jämnt underlag, stäng av motorn, ta ur nyckeln och vänta tills alla rörliga delar har stannat innan du lämnar förarplatsen.
Byt motorns olja och filter (Figur 51).


Fyll på olja i vevhuset.
Den här bruksanvisningen innehåller mer detaljerad information om underhåll av bränsle och bränslesystemet än bruksanvisningen för Yanmar®-motorn, som är en allmän beskrivning av bränsle och bränsleunderhåll.
Observera att underhåll av bränslesystemet, underhåll, bränsleförvaring och bränslekvalitet kräver din ständiga uppmärksamhet, så att driftstopp och omfattande motorreparationer kan undvikas.
Bränslesystemet har en extremt snäv tolerans till följd av emissions- och kontrollkraven. Dieselbränslets kvalitet och renhet är mer betydande för en lång livslängd hos dagens common rail-system med högt tryck (HPCR) för bränsleinsprutning som används i dieselmotorer.
Important: Vatten eller luft i bränslesystemet skadar motorn! Utgå inte från att nytt bränsle är rent. Säkerställ att bränslet kommer från en kvalitetsleverantör, förvara bränslet korrekt och se till att allt bränsle används inom 180 dagar.
Important: Om du inte följer förfarandet för byte av bränslefilter, underhåll av bränslesystemet och bränsleförvaring kan motorns bränslesystem gå sönder i förtid. Utför allt underhåll av bränslesystemet vid angivna intervaller, när bränslet blir förorenat eller dess kvalitet börjar bli dålig.
Lämplig bränsleförvaring är avgörande för motorn. Korrekt underhåll av bränsleförvaringstankar förbises ofta och leder till kontaminering av bränslet som överförs till maskinen.
Samla endast upp bränsle av en mängd som du kommer att förbruka inom 180 dagar. Använd inte bränsle som har förvarats i mer än 180 dagar. På så sätt undviker du att det kommer in vatten och andra föroreningar i bränslet.
Om du inte tar bort vattnet från förvaringstanken eller maskinens bränsletank kan detta leda till rost eller förorening i förvaringstanken och bränslesystemets komponenter. Tankslam som uppstår till följd av mögel, bakterier eller svamp begränsar flödet och täpper till filtret och bränsleinsprutarna.
Inspektera bränsleförvaringstanken och maskinens bränsletank regelbundet för att kontrollera tankens bränslekvalitet.
Se till att bränslet kommer från en kvalitetsleverantör.
Om du upptäcker vatten eller föroreningar i förvaringstanken eller maskinens bränsletank ska du kontakta bränsleleverantören för att i samråd med dem åtgärda problemet och utföra underhåll av hela bränslesystemet.
Förvara inte dieselbränsle i tankar eller behållare tillverkade med zinkpläterade komponenter.

| Underhållsintervall | Underhållsförfarande |
|---|---|
| Varje användning eller dagligen |
|
Töm ut vatten från bränsle-/vattenseparatorn enligt Figur 53.

Flöda filtret och ledningarna till högtryckspumpen. Se Flöda bränslesystemet.
| Underhållsintervall | Underhållsförfarande |
|---|---|
| Var 400:e timme |
|
Byt ut filtret enligt Figur 54.

Flöda filtret och ledningarna till högtryckspumpen. Se Flöda bränslesystemet.
| Underhållsintervall | Underhållsförfarande |
|---|---|
| Var 400:e timme |
|
Gör rent området kring bränslefilterhuvudet (Figur 55).

Demontera filtret och rengör filterhuvudets monteringsyta (Figur 55).
Note: Använd en ren trasa för att rengöra filterhuvudet.
Smörj filterpackningen med ren motorsmörjolja. Mer information finns i bruksanvisningen till motorn.
Montera den torra filterskålen för hand och vrid tills packningen kommer i kontakt med filterhuvudet, och vrid den sedan ytterligare ett halvt varv.
Flöda filtret och ledningarna till högtryckspumpen. Se Flöda bränslesystemet.
Starta motorn och kontrollera om det finns några läckor runt filterhuvudet igen.
| Underhållsintervall | Underhållsförfarande |
|---|---|
| Var 800:e timme |
|
| Före förvaring |
|
Utöver vid de angivna serviceintervallen ska tanken tömmas och rengöras om bränslesystemet förorenas eller om du ställer maskinen i förvaring under en längre period. Använd rent bränsle för att spola ur tanken.
Flöda filtret och ledningarna till högtryckspumpen. Se Flöda bränslesystemet.
| Underhållsintervall | Underhållsförfarande |
|---|---|
| Var 400:e timme |
|
Kontrollera om bränsleledningarna har skadats eller försämrats på något annat sätt, eller om det finns lösa anslutningar.
Byt ut eventuella försämrade klämmor eller slangar.
Note: Flöda bränslesystemet om du byter ut några bränsleslangar. Se Flöda bränslesystemet.
| Underhållsintervall | Underhållsförfarande |
|---|---|
| Var 3000:e timme |
|
I avsnittet om motorn i servicehandboken finns information om demontering och montering av dieseloxideringskatalysatorn och sotfiltret i dieselpartikelfiltret.
Kontakta en auktoriserad Toro-återförsäljare om du behöver reservdelar eller service av dieseloxideringskatalysatorn och sotfiltret.
Kontakta en auktoriserad Toro-återförsäljare så att de kan återställa motorns styrenhet när du har monterat ett rent dieselpartikelfilter.
Flöda bränslesystemet efter följande scenarier:
När bränslefiltret byts ut.
När vattenseparatorn töms efter varje användning eller dagligen.
När bränslet tar slut.
När en bränsleslang byts ut eller bränslesystemet öppnas av någon anledning.
Innan du flödar bränslesystemet ska du utföra följande steg:
Important: Använd inte motorns startmotor för att starta motorn i syfte att flöda bränslesystemet.
Kontrollera att det finns bränsle i bränsletanken.
Utför följande steg för att flöda filtret och ledningarna till högtryckspumpen för att förhindra slitage och skador på pumpen:
Vrid nyckeln till läget På i 15–20 sekunder.
Vrid nyckeln till läget AV i 30–40 sekunder.
Note: Detta gör att styrenheten stängs av.
Vrid nyckeln till läget På i 15–20 sekunder.
Kontrollera om det finns några läckor runt filter och slangar.
Starta motorn och undersök om det finns läckor.
Koppla bort batteriet innan reparation utförs på maskinen. Lossa minuskabelanslutningen först och pluskabelanslutningen sist. Återanslut pluskabelanslutningen först och minuskabelanslutningen sist.
Ladda batteriet i ett öppet och välventilerat utrymme, på avstånd från gnistor och öppna lågor. Koppla ur laddaren innan batteriet ansluts eller kopplas bort. Använd skyddskläder och isolerade verktyg.
| Underhållsintervall | Underhållsförfarande |
|---|---|
| Var 50:e timme |
|
Utför följande åtgärder för att serva batteriet:
Kontrollera batteriets skick
Rengör batteriet (vid behov)
Note: Rengör batteriet genom att tvätta hela lådan med en lösning bestående av natriumbikarbonat och vatten. Skölj med rent vatten.
Kontrollera batteriets kabelanslutningar och fetta in batteripoler och kabelanslutningar med smörjfett av typen Grafo 112X (skin-over) eller vaselin för att förhindra korrosion.
Important: Lossa minuskabeln från batteriet innan du svetsar något på maskinen, så att inte elsystemet skadas. Koppla även bort motorn, InfoCenter och maskinens styrenheter innan du svetsar på maskinen.
Säkringsblocket (Figur 57) sitter under sätet. Se Figur 59 för en beskrivning av varje säkring.
Lås upp sätessockeln, luta upp sätessockeln och stötta upp det med stöttorna.

Byt ut den öppna säkringen mot en säkring av samma typ och med samma strömstyrka.

Stäng sätet och sätessockeln genom att rotera dem och lås sockeln.


När batteriet laddas bildas explosiva gaser.
Rök inte nära batteriet och håll det borta från gnistor och lågor.
Important: Håll batteriet fulladdat. Detta är särskilt viktigt för att batteriet inte ska skadas när temperaturen understiger 0 °C.
Rengör utsidan på batterilådan samt batteripolerna.
Note: Anslut batteriladdarens kablar till batteripolerna innan du ansluter laddaren till elkällan.
Lokalisera batteriets plus- och minuspoler.
Anslut batteriladdarens pluskabel till batteriets pluspol (Figur 60).

Anslut batteriladdarens minuskabel till batteriets minuspol (Figur 60).
Anslut batteriladdaren till elkällan och ladda batteriet.
Important: Överladda inte batteriet.
När batteriet är fulladdat ska du först koppla bort laddaren från elkällan och sedan koppla bort laddningskablarna från batteripolerna (Figur 60).
| Underhållsintervall | Underhållsförfarande |
|---|---|
| Efter den första timmen |
|
| Efter de första 10 timmarna |
|
| Var 250:e timme |
|
Dra åt framaxelnavets muttrar ett vridmoment på 407 till 542 Nm.
Om din maskin har CrossTrax®-funktionen ska muttrarna på bakaxelnavet dras åt till ett vridmoment på 366 till 447 Nm.

| Underhållsintervall | Underhållsförfarande |
|---|---|
| Var 800:e timme |
|
Vrid ratten så att bakhjulen pekar rakt fram.
Lossa kontramuttern i båda ändar av dragstången (Figur 62).
Note: Den ände av dragstången som har ett utvändigt spår är vänstergängad.

Vrid dragstången med hjälp av nyckelskåran.
Mät avståndet framtill och baktill på bakhjulen i axelhöjd.
Note: Avståndet framtill på bakhjulen ska vara mindre än 6 mm av det avstånd som uppmätts baktill på hjulen.
Upprepa proceduren efter behov.
Motorns kylvätska kan orsaka förgiftning vid förtäring. Förvara den utom räckhåll för barn och husdjur.
Het kylvätska som sprutas ut under tryck kan orsaka allvarliga brännskador, och detsamma gäller om man vidrör den heta kylaren eller närliggande delar.
Låt motorn svalna i minst 15 minuter innan du öppnar kylarlocket.
Ta hjälp av en trasa för att öppna kylarlocket och öppna locket sakta så att ånga kan komma ut.
Kör inte maskinen om inte kåporna sitter på plats.
Håll fingrar, händer och kläder borta från den roterande fläkten och drivremmen.
Kylvätsketanken fylls på fabriken med en 50/50-blandning av vatten och etylenglykolbaserad kylvätska med längre livslängd.
Important: Använd endast kommersiellt tillgängliga kylvätskor som uppfyller specifikationerna som anges i tabellen för kylvätskestandarder med längre livslängd (Extended Life Coolant Standards Table).Använd inte konventionell (grön), oorganisk syra-teknik (IAT) som kylvätska i maskinen. Blanda inte konventionell kylvätska med kylvätska med längre livslängd.
|
Typ av etylenglykolkylvätska |
Typ av korrosionshämmare |
|
Långlivad frostskyddad |
Organisk syra-teknik (OAT) |
|
Important: Förlita dig inte på färgen på kylvätskan för att identifiera skillnaden mellan konventionella (gröna), oorganiska syra-teknik (IAT) kylvätskor och kylvätskor med längre livslängd.Kylvätsketillverkare färgar ibland kylvätska med längre livslängd i någon av följande färger: röd, rosa, orange, gul, blå, turkos, lila och grön. Använd kylvätska som uppfyller specifikationerna som anges i tabellen för kylvätskestandarder med längre livslängd. |
|
|
ATSM International |
SAE International |
|
D3306 och D4985 |
J1034, J814 och 1941 |
Important: Kylvätskekoncentrationen ska vara en 50/50-blandning av kylvätska och vatten.
Rekommenderat: blanda kylvätska från ett koncentrat med destillerat vatten.
Rekommenderat alternativ: om destillerat vatten inte är tillgängligt bör du använda en färdigblandad kylvätska istället för ett koncentrat.
Minimikrav: om varken destillerat vatten eller färdigblandad kylvätska finns tillgängligt ska du blanda den koncentrerade kylvätskan med rent drickbart vatten.
| Underhållsintervall | Underhållsförfarande |
|---|---|
| Varje användning eller dagligen |
|
Kylsystemet fylls med en 50/50-blandning av vatten och permanent frostskyddsmedel med etylenglykol. Kylsystemet rymmer 9,5 liter.
Kontrollera kylvätskenivån i expansionstanken (Figur 63).
Note: Nivån bör ligga mellan markeringarna på sidan av tanken.

Ta bort locket på expansionstanken och fyll på kylvätska i systemet om kylvätskenivån är låg. Fyll inte på för mycket.
Sätt tillbaka locket på expansionstanken.
| Underhållsintervall | Underhållsförfarande |
|---|---|
| Varje användning eller dagligen |
|
| Var 100:e timme |
|
| Vartannat år |
|
Avlägsna eventuellt skräp från gallret och kylaren/oljekylaren dagligen (oftare vid smutsiga arbetsförhållanden).
Vrid nyckeln i tändningslåset till det AVSLAGNA läget och ta ut nyckeln.
Rengör noga och ta bort allt skräp från området runt motorn.
Lossa klämman och vrid upp det bakre gallret (Figur 64).

Rengör noga på båda sidor om kylaren och oljekylaren (Figur 65) med tryckluft.

Stäng gallret och säkra spärrhaken.
| Underhållsintervall | Underhållsförfarande |
|---|---|
| Efter de första 10 timmarna |
|
| Var 100:e timme |
|
Note: Remmen är korrekt spänd när den kan böjas ned 10 mm med en kraft på 44 N mitt emellan remskivorna.
Om nedböjningen inte är 10 mm lossar du generatorns fästbultar (Figur 66).

Öka eller minska generatorremmens spänning och dra åt bultarna.
Kontrollera remmens nedböjning igen för att säkerställa att spännkraften är korrekt.
Sök omedelbart läkare om du träffas av en stråle hydraulvätska och vätskan tränger in i huden. Vätska som trängt in i huden måste opereras bort inom några få timmar av en läkare.
Se till att alla hydrauloljeslangar och -ledningar är i gott skick och att alla hydraulanslutningar och -kopplingar är ordentligt åtdragna innan hydraulsystemet trycksätts.
Håll kropp och händer borta från småläckor eller munstycken som sprutar ut hydraulvätska under högtryck.
Använd en kartong- eller pappersbit för att hitta hydraulläckor.
Lätta på allt tryck i hydraulsystemet på ett säkert sätt innan något arbete utförs i hydraulsystemet.
Tanken fylls med hydraulvätska av hög kvalitet på fabriken. Kontrollera hydraulvätskenivån innan motorn startas för första gången och därefter dagligen. Se Kontrollera hydraulvätskenivån.
Rekommenderad hydraulvätska: Toro PX-hydraulvätska med förlängd hållbarhet. Finns i spannar om 19 liter eller fat om 208 liter.
Note: Om den rekommenderade utbytesvätskan används behöver maskinens vätska och filter inte bytas ut lika ofta.
Alternativa hydraulvätskor: Om Toro PX-hydraulvätska med förlängd hållbarhet inte är tillgänglig kan du använda en annan vanlig, oljebaserad hydraulvätska med specifikationer som faller inom det angivna området för samtliga materialegenskaper nedan och som uppfyller branschstandarderna. Använd inte syntetisk vätska. Rådgör med din smörjmedelsdistributör för att hitta en lämplig produkt.
Note: Toro ansvarar inte för skador som uppstått till följd av att felaktiga vätskor använts. Använd därför endast produkter från ansedda tillverkare som ansvarar för sina rekommendationer.
| Materialegenskaper: | ||
| Viskositet, ASTM D445 | cSt vid 40 °C: 44 till 48 | |
| Viskositetsindex, ASTM D2270 | 140 eller högre | |
| Flytpunkt, ASTM D97 | -37 °C till -45 °C | |
| Branschspecifikationer: | Eaton Vickers 694 (I-286-S, M-2950-S/35VQ25 eller M-2952-S) | |
Note: Många hydraulvätskor är nästintill färglösa vilket gör det svårt att upptäcka läckor. Det finns en rödfärgstillsats till hydraulvätskan i flaskor om 20 ml. En flaska räcker till 15–22 liter hydraulvätska. Beställ artikelnr 44-2500 från en auktoriserad Toro-återförsäljare.
Important: Toro Premium Synthetic Biodegradable Hydraulic Fluid är den enda syntetiska, biologiskt nedbrytbara hydraulvätskan som godkänts av Toro. Vätskan kan blandas med de elastomerer som används i Toros hydraulsystem och kan användas i många olika temperaturer. Vätskan kan blandas med traditionella mineraloljor, men för största möjliga biologiska nedbrytbarhet och prestanda bör hydraulsystemet sköljas noga så att inga traditionella oljor finns kvar. Du kan köpa oljan i dunkar om 19 liter eller fat om 208 liter hos en auktoriserad Toro-återförsäljare.
| Underhållsintervall | Underhållsförfarande |
|---|---|
| Varje användning eller dagligen |
|
| Var 200:e timme |
|
Ställ maskinen på ett plant underlag, sänk klippdäcken och vrid om nyckeln i tändningslåset till läget AV.
Kontrollera hydraulvätskenivån (Figur 67).


| Underhållsintervall | Underhållsförfarande |
|---|---|
| Var 800:e timme |
|
| Var 2000:e timme |
|
| Vartannat år |
|
Hydraulvätskekapacitet: 56,7 liter
Om vätskan förorenas kontaktar du Toro-återförsäljaren eftersom systemet måste spolas. Förorenad hydraulvätska är mjölkaktig eller svart jämfört med ren olja.
Vrid om nyckeln i tändningslåset till läget AV och öppna motorhuven.
Ställ ett stort avtappningskärl under fästet som sitter på hydraultankens undersida (Figur 68).

Koppla bort slangen från fästet och låt hydraulvätskan rinna ner i avtappningskärlet.
Sätt tillbaka slangen när all hydraulvätska har tömts ut.
Fyll tanken med hydraulvätska (Figur 67).
Important: Använd endast specificerade hydraulvätskor. Andra oljor kan orsaka skador på systemet.
Sätt tillbaka tanklocket.
Vrid om nyckeln i tändningslåset till läget På, starta motorn, använd samtliga hydraulreglage för att sprida hydraulvätskan i hela systemet och kontrollera om det finns några läckor.
Vrid om nyckeln i tändningslåset till läget AV.
Kontrollera hydraulvätskenivån och fyll på tillräckligt så att nivån når upp till markeringen ”Full” på oljestickan.
Important: Fyll inte på för mycket.
| Underhållsintervall | Underhållsförfarande |
|---|---|
| Var 800:e timme |
|
| Var 1000:e timme |
|
Hydraulsystemet är utrustat med en serviceintervallsindikator (Figur 69). Titta på indikatorn när motorn är igång – den bör befinna sig i det gröna området. Byt ut hydraulfiltren om indikatorn befinner sig i det röda området.

Important: Om du använder något annat filter kan garantin för några av komponenterna bli ogiltig.
Ställ maskinen på ett plant underlag, sänk ner klippdäcken, vrid om nyckeln i tändningslåset till läget AV, koppla in parkeringsbromsen och ta ut nyckeln.
Byt ut båda hydraulfiltren (Figur 70).


Vrid om nyckeln i tändningslåset till läget På, starta motorn och låt den gå i ca två minuter så att systemet luftas.
Vrid om nyckeln i tändningslåset till läget AV och kontrollera om det finns några läckor.
| Underhållsintervall | Underhållsförfarande |
|---|---|
| Varje användning eller dagligen |
|
| Vartannat år |
|
Reparera alla skador innan du kör maskinen igen.
Hydraulvätska som läcker ut under tryck kan tränga in i huden och orsaka skada.
Uppsök läkare omedelbart om du träffas av en stråle hydraulvätska och vätskan tränger in i huden.
Kontrollera att alla hydrauloljeslangar och -ledningar är i gott skick och att alla hydraulanslutningar och -kopplingar är ordentligt åtdragna innan hydraulsystemet trycksätts.
Håll kropp och händer borta från småläckor eller munstycken som sprutar ut hydraulvätska under högtryck.
Använd en kartong- eller pappersbit för att hitta hydraulläckor.
Lätta på allt tryck i hydraulsystemet på ett säkert sätt innan något arbete utförs i hydraulsystemet.
Använd hydraulsystemets kontrollportar för att kontrollera trycket i hydraulkretsarna. Kontakta en auktoriserad Toro-återförsäljare för att få hjälp.
Använd listan nedan för att identifiera och beskriva elektromagneternas olika funktioner i hydraulgrenröret. Varje elektromagnet måste vara ansluten för att funktionen ska fungera.
| Elektromagnet | Funktion |
|---|---|
| PRV2 | Främre klippkrets |
| PRV1 | Bakre klippkrets |
| PRV | Lyfta/sänka klippdäcken |
| S1 | Sänka klippdäcken |
| S2 | Sänka klippdäcken |
Ställ maskinen på ett plant underlag, sänk ned klippenheterna till marken, vrid om nyckeln i tändningslåset till läget AV och koppla in parkeringsbromsen.
Koppla ur och avlägsna hydraulmotorn från klippenheten (Figur 71). Täck över spindelns ovandel för att förhindra förorening.

Ta bort hjulsprinten som fäster däckets bärram vid lyftarmens svängtapp (Figur 72).

Rulla bort klippenheten från traktorenheten.
Ställ maskinen på ett plant underlag och vrid nyckeln i tändningslåset till läget AV.
Placera klippenheten i rätt läge framför traktorenheten.
Skjut på däckets bärram på lyftarmens svängtapp och fäst den med hjulsprinten (Figur 72).
Montera hydraulmotorn på däcket (Figur 71). Se till att O-ringen sitter i rätt läge och är i bra skick.
Smörj spindeln.
Kontrollera om den främre rullen är sliten, svänger mycket eller kärvar. Om något av dessa tillstånd föreligger bör service utföras på rullen eller också bör den eller några komponenter bytas ut.
Ta bort rullarnas fästbult (Figur 73).
Skjut in ett pinndorn genom rullkåpans ände och driv ut det motsatta lagret genom att knacka växelvis på motsatt sida av den inre lagerbanan. En fläns på 1,5 mm bör friläggas från den inre lagerbanan.

Tryck ut det andra lagret.
Kontrollera att rullkåpan, lagren och lagrets distansbricka är i gott skick (Figur 73). Byt ut skadade komponenter och montera dem.
Tryck in det första lagret i rullkåpan (Figur 73). Tryck endast på den yttre lagerbanan eller lika mycket på den inre och yttre lagerbanan.
För in distansbrickan (Figur 73).
Tryck in det andra lagret i rullkåpan (Figur 73). Tryck lika mycket på den inre och den yttre lagerbanan tills den inre lagerbanan vidrör distansbrickan.
Montera rullenheten i klippenhetsramen.
Kontrollera att avståndet mellan rullenheten och klippenhetens rullmonteringsfästen inte överstiger 1,5 mm. Om avståndet överstiger 1,5 mm kan du montera så många brickor (⅝ tum i diameter) som behövs för att ta upp spelet.
Important: Om rullenheten monteras med ett avstånd som överstiger 1,5 mm belastas lagrets sida, vilket kan leda till att lagret går sönder i förtid.
Dra åt fästskruven till 108 Nm.
Kontrollera om kniven är sliten eller skadad med jämna mellanrum.
Var försiktig när du kontrollerar knivarna. Linda in knivarna i något eller ta på dig handskar, och var försiktig när du servar knivarna. Knivarna får endast bytas ut eller slipas – de ska aldrig rätas ut eller svetsas.
Var försiktig vid hantering av maskiner med flera knivar, eftersom en roterande kniv kan få andra knivar att rotera.
Rotordäcket levereras från fabriken med en förinställd klipphöjd på 5 cm och en bladräfsa på 7,9 mm. Höjdinställningen till vänster och höger är också förinställda till ett avstånd av högst ± 0,7 mm från varandra.
Klippdäcket är konstruerat för att motstå knivstötar utan att kammaren deformeras. Om du kör på något hårt föremål ska du kontrollera att kniven är hel och att knivplanet är korrekt inställt.
Avlägsna hydraulmotorn från klippdäcket och klippdäcket från traktorenheten.
Använd en domkraft (eller ta hjälp av minst en person) och placera klippdäcket på ett plant bord.
Markera den ena änden av kniven med en färgpenna eller en markör. Använd denna knivände för att kontrollera alla höjder.
Placera den markerade ändens skäregg i läget klockan 12 (rakt fram i klippriktningen) (Figur 74) och mät höjden från bordet till knivens skäregg.

Vrid knivens markerade ände till lägena klockan 3 och klockan 9 (Figur 74) och mät höjderna.
Jämför den avlästa höjden vid läget klockan 12 med klipphöjdsinställningen. Den bör ligga inom 0,7 mm. Höjderna klockan 3 och klockan 9 bör vara 1,6 ± 6,0 mm högre än klockan 12 och befinna sig på ett avstånd på 1,6–6,0 mm från varandra.
Note: Gå vidare till Justera knivplanet om något av måtten inte ligger inom specifikationen.
Börja med att justera framdelen (byt ut ett fäste åt gången).
Avlägsna klipphöjdsfästet (det främre, vänstra eller högra) från däckramen (Figur 75).
Justera mellanlägg på 1,5 mm och/eller 0,7 mm mellan däckramen och fästet för att erhålla önskad höjdinställning (Figur 75).

Sätt på klipphöjdsfästet på däckramen med de återstående mellanläggen som monterats under klipphöjdsfästet.
Fäst insexskruven/distansbrickan och flänsmuttern.
Note: Insexskruven/distansbrickan hålls ihop med gänglåsningslim för att undvika att distansbrickan faller ner inuti däckramen.
Kontrollera höjden klockan 12 och justera vid behov.
Avgör om endast ett eller båda klipphöjdsfästena (höger och vänster) behöver justeras. Om klockan 3- eller klockan 9-sidan är 1,6 ± 6,0 mm högre än den nya höjden i framändan behövs ingen justering för den sidan. Justera den andra sidan 1,6–6,00 mm från den korrekta sidan.
Justera höger och/eller vänster klipphöjdsfäste genom att upprepa steg 1 t.o.m. 3.
Fäst med vagnsbultar och flänsmuttrar.
Kontrollera höjden klockan 12, 3 och 9 igen.
Byt en kniv om den har träffats av ett hårt föremål, om kniven är obalanserad eller böjd. Använd alltid originalknivar från Toro för att garantera säkerhet och optimal prestanda.
Ställ maskinen på ett plant underlag, höj upp klippenheten till transportläget, koppla in parkeringsbromsen, stäng av motorn och ta ut nyckeln.
Note: Palla upp eller lås klippenheten så att den inte kan falla av en olyckshändelse.
Fatta tag i knivens ände med en trasa eller en tjockt vadderad handske.
Ta bort knivskruven, antiskalpbehållaren och kniven från spindelaxeln (Figur 76).

Montera kniven, antiskalpbehållaren och knivskruven och dra åt knivskruven till 115–149 Nm.
Important: Knivens böjda del måste alltid vara vänd mot klippenhetens insida för att klippningen ska bli rätt.
Note: 7Om du har kört på något föremål ska du dra åt samtliga muttrar på spindelskivorna till 115–149 Nm.
Höj upp klippdäcket till transportläget, vrid nyckeln i tändningslåset till läget AV och koppla in parkeringsbromsen.
Palla upp klippdäcket för att förhindra att det oavsiktligt faller ned.
Undersök knivseggarna noggrant, i synnerhet där knivens flata och böjda del möts (Figur 77).
Note: Kontrollera kniven innan du använder gräsklipparen eftersom sand och slipande material kan slita ned metallen som förenar knivens flata och böjda delar.
Byt ut kniven om den är sliten (Figur 77), se Kontrollera knivplanet.
Om du låter en kniv bli sliten bildas ett spår mellan seglet och knivens flata del (Figur 77). Till slut kan en bit av kniven gå av och slungas ut från under kåpan och kanske skada dig eller någon kringstående allvarligt.
Kontrollera om kniven är sliten eller skadad med jämna mellanrum.
Byt ut slitna och skadade knivar.

Kontrollera samtliga knivars skäreggar. Slipa knivseggarna om de är slöa eller hackiga. Slipa endast skäreggens översta del och behåll den ursprungliga skärvinkeln för bästa skärpa (Figur 78).
Om kniven är slö eller repig slipar du endast skäreggens översta del och behåller den ursprungliga skärvinkeln (Figur 78).
Note: Kniven förblir balanserad om lika mycket metall avlägsnas från båda eggarna.

Kontrollera om kniven är rak och parallell genom att lägga den på en plan yta och inspektera dess ändar.
Note: Placera knivändarna något lägre än knivens mitt och skäreggen lägre än knivens bas. En sådan kniv ger bra klippkvalitet och kräver minimal motoreffekt. Om knivens ändar är högre än dess mitt eller om skäreggen är högre än knivens bas, kommer kniven däremot att böjas eller bli skev och måste bytas ut.

Montera kniven med seglet mot klippdäcket med antiskalpbehållaren och knivskruven. Dra åt knivskruven till 115–149 Nm.
Stäng av motorn, ta ut nyckeln och vänta tills alla rörliga delar har stannat innan du kliver ur förarsätet. Låt maskinen svalna innan du utför service, justerar, rengör eller ställer den i förvar.
Förvara inte maskinen eller bränslebehållaren i närheten av en öppen låga, gnista eller tändlåga, t.ex. nära en varmvattenberedare eller någon annan utrustning.
Important: Använd inte bräckt eller återvunnet vatten (gråvatten) när du gör rent maskinen.
Rengör traktorenheten, klippenheterna och motorn ordentligt.
Kontrollera däcktrycket. Pumpa upp alla däck på traktorenheten till mellan 0,82 och 1,03 bar.
Kontrollera alla fästelement och dra åt dem om de är lösa.
Smörj alla smörjnipplar och böjaxlar. Torka av överflödigt fett.
Sandpappra lätt och måla i områden där färgen har skrapats av, flagat eller rostat. Reparera eventuella bucklor i metallchassit.
Serva batteriet och kablarna på följande sätt:
Ta bort batteriets kabelanslutningar från batteripolerna.
Note: Lossa alltid minuskabelanslutningen först och pluskabelanslutningen sist. Återanslut alltid pluskabelanslutningen först och minuskabelanslutningen sist.
Rengör batteriet, kabelanslutningarna och polerna med en stålborste och bakpulverlösning.
Fetta in kabelanslutningar och batteripoler med smörjfett av typen Grafo 112X (skin-over) (artikelnr 505-47) eller vaselin för att förhindra korrosion.
Ladda långsamt upp batteriet i 24 timmar var 60:e dag för att förhindra att det blysulfateras.
Töm motoroljan från kärlet och sätt tillbaka avtappningspluggen.
Ta bort och kasta oljefiltret. Montera ett nytt oljefilter.
Fyll på oljekärlet med rätt mängd motorolja.
Vrid om nyckeln i tändningslåset till läget På, starta motorn och låt den gå på tomgång i cirka två minuter.
Vrid om nyckeln i tändningslåset till läget AV.
Tappa noga ur allt bränsle ur bränsletanken, bränsleledningarna och bränslefiltret/vattenseparatorn.
Spola bränsletanken med färskt, rent dieselbränsle.
Dra åt alla anslutningar i bränslesystemet.
Rengör och serva luftrenaren ordentligt.
Täta luftrenarens inlopp och avgasutloppet med väderbeständig tejp.
Kontrollera frostskyddsmedlet och fyll på vid behov så att maskinen klarar de lägsta temperaturerna under vintern.
Om du tar bort en klippenhet från traktorenheten ska du montera en spindelplugg överst i spindeln för att skydda spindeln från damm och vatten.