На машинах с серийными номерами 239999999 и ранее наклейка 93-9861 не входит в комплект. Наклейку 93-9861 необходимо приобрести отдельно и установить на машине.
![]() |
Предупреждающие наклейки и инструкции по технике безопасности должны быть хорошо видны оператору и установлены во всех местах потенциальной опасности. При отсутствии или повреждении наклейки следует установить новую наклейку. |


Установите машину на ровной поверхности.
На моделях машин с рабочей платформой выполните следующее:
Поднимите платформу так, чтобы гидроцилиндры подъема были полностью выдвинуты; см. Руководство оператора, прилагаемое к машине.
Снимите опору платформы с кронштейнов, расположенных на задней стороне панели системы защиты оператора при опрокидывании (Рисунок 1).

Насадите опору кузова на шток гидроцилиндра, обеспечив, чтобы концевые уши опоры опирались на торец корпуса гидроцилиндра и на торец штока гидроцилиндра (Рисунок 2).

Включите стояночный тормоз.
Выключите двигатель и извлеките ключ из замка зажигания.
Дайте машине остыть.
Отсоедините аккумуляторную батарею следующим образом:
Надавите на крышку аккумуляторной батареи, чтобы высвободить лапки крепления из корпуса аккумуляторной батареи (Рисунок 3).

Снимите крышку с основания аккумулятора (Рисунок 3).
Отсоедините наконечник положительного кабеля с полюсного штыря аккумуляторной батареи (Рисунок 4).
Note: Наконечник положительного кабеля не должен касаться полюсного штыря аккумулятора.

Important: Используйте инструкции в пунктах 1-15 при установке данного комплекта на автомобиль с серийным номером свыше 240000001; в остальных случаях перейдите к Подсоединение троса механизма отбора мощности.
Выверните и снимите все ручки рычагов пульта и рычага переключения передач (Рисунок 5).

Выверните 6 винтов, которые крепят наружный край плоской крышки среднего пульта к раме, и снимите плоскую крышку (Рисунок 6).

Отсоедините шланг бака от радиатора и закройте шланг заглушкой или хомутом, чтобы предотвратить утечку охлаждающей жидкости (Рисунок 6).
Выверните 8 колпачковых винтов крепления сидений и кожуха к монтажным кронштейнам (Рисунок 6). Снимите сиденья и кожух.
Снимите шплинты и штифты с отверстиями, которыми крепятся тросы к рычагам пульта (блокировка дифференциала, переключение высокого-низкого диапазона и гидравлический подъем). Сохраните шплинты и штифты с отверстиями.
Note: Сохраните шплинты и штифты с отверстиями.
Снимите гайку и болт, которые крепят рычаги пульта к опорному кронштейну рычага (Рисунок 7), и снимите узел рычага пульта с опорного кронштейна рычага.

Снимите проставку (Рисунок 7) с узла и установите новый рычаг механизма отбора мощности на штатное место на шарнирной трубе.
Note: Расположите рычаг, как показано на Рисунок 8.

Установите ранее снятые компоненты на болт, расположив их, как показано на Рисунок 8.
Вставьте болт в опорный кронштейн рычага и закрепите ранее снятой гайкой (Рисунок 8).
Проложите трос механизма отбора мощности под задней частью опорного кронштейна рычага.
Подсоедините вилку троса механизма отбора мощности к отверстию рычага механизма отбора мощности с помощью штифта с отверстием и шплинта (Рисунок 9).

Прикрепите трос механизма отбора мощности к нижней части опорного кронштейна рычага с помощью зажима и двух самонарезающих винтов с головками с внутренними шестигранниками (Рисунок 10).
Note: Рычаг механизма отбора мощности должен быть расположен на одной линии с рычагом высокого-низкого диапазона (включенное положение), когда ведущий мост переключен в положение низкого диапазона.

Проложите трос вместе с имеющимися тросами к кронштейну тросов, установленному в переднем левом углу ведущего моста (Рисунок 11).

Ослабьте задние зажимные гайки на тросе механизма отбора мощности и вставьте конец троса в отверстие кронштейна. Прикрепите трос механизма отбора мощности к кронштейну, не затягивая, с помощью зажимных гаек.
Установите кожух, сиденья, плоскую крышку пульта и ручки рычагов на машину; см. пункт 2 в разделе Установка органов управления механизмом отбора мощности.
Note: Когда механизм отбора мощности включен, рычаг не должен касаться плоской крышки среднего пульта.
Important: Выполните порядок установки, описанный в разделе Подсоединение троса механизма отбора мощности, только при установке данного комплекта на машины с заводскими номерами до 239999999; в остальных случаях перейдите к разделу Установка механизма отбора мощности на ведущий мост.
Note: Некоторые детали, необходимые для установки данного комплекта на машины с заводскими номерами до 239999999, не входят в данный комплект, но указаны в каталоге деталей.
Снимите все ручки с рычагов среднего пульта (Рисунок 12).

Выверните 6 винтов, которые крепят наружный край плоской крышки среднего пульта к раме, и снимите плоскую крышку (Рисунок 12).
Подсоедините вилку троса механизма отбора мощности к нижнему отверстию рычага механизма отбора мощности с помощью штифта с отверстием и шплинта (Рисунок 13).

Прикрепите трос механизма отбора мощности к опоре рычага механизма отбора мощности с помощью зажима и двух самонарезающих винтов (Рисунок 13).
Вставьте другой конец троса рычага механизма отбора мощности в отверстие на правой стороне пульта и через держатель троса в задней части пульта (Рисунок 14).
Note: Проложите трос вдоль имеющихся тросов к кронштейну троса, установленному в переднем левом углу ведущего моста.

Ослабьте задние зажимные гайки на тросе и вставьте конец троса в отверстие кронштейна. Прикрепите трос механизма отбора мощности к кронштейну, не затягивая, с помощью зажимных гаек.
Используя 3 самонарезающих винта, входящих в комплект, установите опору рычага механизма отбора мощности на правую сторону пульта.
Note: Расположение рычага показано на Рисунок 8.
Очистите плоскую крышку пульта и прикрепите рабочую наклейку на пульт рядом с рычагом механизма отбора мощности, эта наклейка должна быть расположена так, как показано на Рисунок 15.

Установите плоскую крышку пульта и ручки рычагов на машину.
Note: Когда механизм отбора мощности включен, рычаг не должен касаться плоской крышки среднего пульта.
Note: Следующие пункты относятся к установке комплекта на все автомобили, если не указано иное.
Отсоедините гидравлический шланг от штуцера на плоской крышке ведущего моста (Рисунок 16).
Note: Закройте конец шланга заглушкой, чтобы исключить попадание в шланг загрязнений.

Снимите штуцер с плоской крышки.
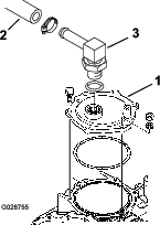
Установите малое уплотнительное кольцо на штуцер, как показано на Рисунок 17.

Установите штуцер на переднюю часть нового механизма отбора мощности и расположите штуцер, как показано на Рисунок 18.

Выверните 5 болтов, снимите стопорные шайбы и гайку, которые крепят плоскую крышку к ведущему мосту, и осторожно снимите плоскую крышку, проследив за тем, чтобы не повредить кольцевое уплотнение (Рисунок 18).
Note: Сохраните крепежные детали для установки на более позднем этапе.
Вставьте 2 установочных штифта в отверстия ведущего моста, расположенные в местах, показанных на Рисунок 19.
Используйте большое уплотнительное кольцо, крепежные болты, стопорные шайбы и гайку, которые вы сняли с плоской крышки ведущего моста, установите механизм отбора мощности в сборе на ведущий мост (Рисунок 19).
Note: При монтаже механизма отбора мощности в сборе убедитесь в том, что большое уплотнительное кольцо правильно расположено в канавке ведущего моста, чтобы предотвратить повреждение. Не используйте повторно старое уплотнительное кольцо.

Снимите крышку с отсоединенного гидравлического шланга и подсоедините шланг к штуцеру механизма отбора мощности с помощью ранее снятого хомута.
Note: Убедитесь в чистоте шланга и штуцера, прежде чем выполнять подсоединение.
Переведите рычаг механизма отбора мощности на среднем пульте до упора назад (в сторону задней части пульта), а плечо рычага механизма отбора мощности (Рисунок 20) на ведущем мосту переведите вправо (в сторону пассажира).

Отрегулируйте вилку троса, зажимные гайки или обе вилки и гайки, которые крепят трос к кронштейну, так, чтобы шплинтуемый штифт с отверстием мог свободно проходить через совмещенные монтажные отверстия в вилке и плече рычага (Рисунок 20).
Закрепите шплинтуемый штифт шплинтом, затяните зажимную гайку, которая крепит трос к вилке троса, затем затяните зажимные гайки, которые крепят трос к кронштейну.
Снимите соединитель со жгута проводов, расположенного напротив механизма отбора мощности.
Проложите жгут проводки под положительным кабелем аккумулятора и подсоедините разъем жгута проводов к разъему переключателя механизма отбора мощности.
Установите кожух механизма отбора мощности на заднюю трубу рамы с помощью 4 колпачковых винтов, 2 проставок и 4 контргаек (Рисунок 21).

Прикрепите предупреждающую наклейку на нижнюю заднюю поперечную трубу рядом с имеющейся наклейкой, непосредственно над точкой сцепки (Рисунок 22).

Используя 5 кабельных стяжек, входящих в комплект, прикрепите трос механизма отбора мощности к существующему жгуту проводов.
Подсоедините кабели аккумулятора к аккумулятору и установите крышку аккумулятора; см. Подготовка машины.
Проверьте систему блокировки согласно разделу «Проверка системы блокировки» в Руководстве оператора.
Заглушите двигатель и проверьте машину на наличие утечек гидравлической жидкости в месте крепления корпуса механизма отбора мощности на ведущем мосту.
Note: Устраните все утечки жидкости.
Запустите двигатель и включите механизм отбора мощности.
Снимите замок гидроцилиндра подъема платформы и установите его для хранения в кронштейны на задней стороне панели системы защиты оператора при опрокидывании (ROPS); см. Подготовка машины.
Опустите платформу и остановите двигатель.
Автомобиль может неожиданно переместиться, если включен механизм отбора мощности и включена какая-либо передача автомобиля, что может привести к серьезной травме стоящего поблизости человека.
Не переключайте коробку передач на передачу до тех пор, пока навесное оборудование, включенное через механизм отбора мощности, не перестанет вращаться, даже если нажато сцепление.
Убедитесь в том, что посторонние лица не находятся рядом с выходным валом механизма отбора мощности, а также около передней и задней частей машины.
Открытые вращающиеся шлицы могут захватить одежду, что приведет к серьезной травме или гибели.
Если навесное оборудование не подсоединено к валу механизма отбора мощности, отключите привод механизма отбора мощности, потянув назад рычаг механизма отбора мощности.
В комплект механизма отбора мощности входит защитный щиток. Этот щиток должен быть все время установлен на автомобиле и находиться в хорошем состоянии.
Всегда отключайте механизм отбора мощности и выключайте двигатель перед подсоединением любого навесного оборудования к валу механизма отбора мощности.
При использовании навесных орудий с большим моментом инерции (т.е. газонокосилок или вентиляторов) требуется большее усилие для переключения передач автомобиля, что может привести к повреждению ведущего моста, если производится частое переключение передач.
Не переключайте передачи автомобиля, когда автомобиль движется с включенным механизмом отбора мощности.
Всегда используйте дополнительную обгонную муфту, когда осуществляется привод высокоинерционного навесного оборудования от механизма отбора мощности.
Механизм отбора мощности осуществляет отбор мощности от двигателя через ведущий мост и передает ее через стандартный шлицевой вал, имеющий частоту вращения 540 об/мин и расположенный в задней части автомобиля. Механизм отбора мощности можно использовать для привода как передвижных, так и стационарных навесных орудий.
Note: См. рекомендации по частоте вращения в Руководстве оператора для навесного оборудования.
Important: При работе от механизма отбора мощности машина не должна двигаться, когда запускается механизм.
Включите стояночный тормоз.
Переключите коробку передач в положениеНейтраль.
До упора нажмите педаль сцепления и запустите двигатель.
Note: Двигатель не будет прокручиваться стартером, если рычаг механизма отбора мощности не находится в положении Выкл..
Переключайте рычаг механизма отбора мощности следующим образом:
Important: Не включайте и не выключайте механизм отбора мощности во время движения, в противном случае произойдет повреждение механизма отбора мощности. Всегда останавливайте машину, прежде чем переключать механизм отбора мощности.
На машинах с серийными номерами 239999999 и ранее передвиньте рычаг механизма отбора мощности до упора вперед в положение Включено.
На машинах с серийными номерами 240000000 и позднее передвиньте рычаг механизма отбора мощности до упора назад в положение Включено.
Переключите коробку передач на нужную передачу.
Выключите стояночный тормоз.
Медленно отпустите педаль сцепления.
Для того чтобы остановить работу механизма отбора мощности, до упора нажмите педаль сцепления и передвиньте рычаг механизма отбора мощности в положение Выключено.
Note: Механизм отбора мощности можно остановить быстро, для этого нажмите до упора педаль сцепления и подождите, пока машина полностью не остановится.
Important: При работе от механизма отбора мощности машина не должна двигаться, когда запускается механизм.
Включите стояночный тормоз.
Переключите коробку передач в положениеНейтраль.
До упора нажмите педаль сцепления и запустите двигатель.
Note: Двигатель не будет прокручиваться стартером, если рычаг механизма отбора мощности не находится в положении «Выкл.».
Переключайте рычаг механизма отбора мощности следующим образом:
Important: Не включайте и не выключайте механизм отбора мощности во время движения, в противном случае произойдет повреждение механизма отбора мощности. Всегда останавливайте машину, прежде чем переключать механизм отбора мощности.
На машинах с серийными номерами 239999999 и ранее передвиньте рычаг механизма отбора мощности до упора вперед в положение Включено.
На машинах с серийными номерами 240000000 и позднее передвиньте рычаг механизма отбора мощности до упора назад в положение Включено.
Медленно отпустите педаль сцепления.
Для того чтобы остановить работу механизма отбора мощности, до упора нажмите педаль сцепления и передвиньте рычаг механизма отбора мощности в положение Выключено .
Note: Механизм отбора мощности можно остановить быстро, для этого нажмите до упора педаль сцепления и подождите, пока ведущий мост и механизм отбора мощности не остановятся полностью.