Per le macchine con i numeri di serie fino a 239999999, l'adesivo 93-9861 non è incluso nel kit. L'adesivo 93-9861 deve essere acquistato separatamente e applicato.
![]() |
Gli adesivi di sicurezza e di istruzione sono chiaramente visibili e sono affissi accanto a zone particolarmente pericolose. Sostituite eventuali adesivi danneggiati o mancanti. |


Parcheggiate la macchina su terreno pianeggiante.
Per i modelli di macchine dotati di pianale polifunzionale, eseguite le seguenti operazioni:
Sollevate il pianale fino a quando i cilindri di sollevamento non sono completamente allungati. Consultate il Manuale dell'operatore della macchina.
Staccate il supporto del pianale dalle staffe su cui è riposto, sulla parte posteriore del pannello del sistema ROPS (Figura 1).

Spingete il supporto del pianale sull'asta del cilindro, assicurandovi che le alette alle estremità del supporto poggino sull'estremità della canna del cilindro e sull'estremità dell'asta del cilindro (Figura 2).

Inserite il freno di stazionamento.
Spegnete il motore e togliete la chiave.
Lasciate raffreddare la macchina.
Scollegate la batteria come descritto di seguito:
Stringete il coperchio della batteria per liberare le linguette dalla cassetta della batteria (Figura 3).

Staccate il coperchio dalla cassetta della batteria (Figura 3).
Scollegate il morsetto del cavo positivo della batteria dal polo della batteria (Figura 4).
Note: Accertatevi che il morsetto del cavo positivo della batteria non tocchi il polo della batteria.

Important: Utilizzate le istruzioni dei passaggi 1-15 durante l'installazione del kit su un veicolo con numero di serie superiore a 240000001; altrimenti passate a Collegamento del cavo della presa di forza.
Svitate e togliete tutte le manopole dalle leve della consolle e dalla leva del cambio (Figura 5).

Rimuovete le 6 viti che fissano il bordo esterno della piastra di copertura della consolle centrale al telaio ed estraete la piastra di copertura (Figura 6).

Scollegate il flessibile del serbatoio dal radiatore e tappate o stringete il flessibile per trattenere il refrigerante (Figura 6).
Togliete le 8 viti a testa tonda che fissano i sedili e la copertura alle staffe di montaggio (Figura 6). Rimuovete i sedili e la copertura.
Togliete le coppiglie e i perni con testa che fissano i cavi alle leve della consolle (Bloccaggio differenziale, Superiore-inferiore e Sollevamento idraulico). Conservate le coppiglie e i perni con testa.
Note: Conservate le coppiglie e i perni con testa.
Togliete il dado e il bullone che fissano le leve della consolle alla staffa di supporto della leva (Figura 7) e togliete il gruppo della leva della consolle dalla staffa di supporto della leva.

Togliete il distanziale (Figura 7) dal gruppo e montate la nuova leva della presa di forza al suo posto sul tubo orientabile.
Note: Collocate la leva come illustrato nella Figura 8.

Montate i componenti precedentemente rimossi sul bullone, posizionando ciascuno come illustrato nella Figura 8.
Fissate il bullone alla staffa di supporto della leva con il dado precedentemente rimosso (Figura 8).
Disponete il cavo della presa di forza sotto la parte posteriore della staffa di supporto della leva.
Collegate il perno del cavo della presa di forza al foro nella leva della presa di forza con un perno con testa e una coppiglia (Figura 9).

Fissate il cavo della presa di forza alla parte inferiore della staffa di supporto della leva con un serratubo e 2 viti autofilettanti a esagono incassato (Figura 10).
Note: La leva della presa di forza deve essere posizionata in modo da essere in linea con la leva Superiore-inferiore (posizione innestata) quando il transaxle viene spostato nella posizione inferiore (Low).

Disponete il cavo lungo i cavi esistenti e fino alla staffa del cavo montata nell'angolo anteriore sinistro del transaxle (Figura 11).

Allentate i controdadi posteriori sul cavo della presa di forza e inserite l'estremità del cavo nell'apertura nella staffa. Fissate senza serrare il cavo della presa di forza sulla staffa con i controdadi.
Montate la copertura, i sedili, la piastra di copertura della consolle e le manopole delle leve sulla macchina; fate riferimento al passaggio 2 nella sezione Installazione dei comandi della presa di forza.
Note: Quando la presa di forza è innestata, la leva non deve essere a contatto con la piastra della consolle centrale.
Important: Effettuate i passaggi di installazione della sezione Collegamento del cavo della presa di forza solo in caso di installazione del kit su una macchina con numero di serie inferiore a 239999999; altrimenti passate a Montaggio della presa di forza sul transaxle.
Note: Alcuni componenti necessari per l'installazione di questo kit sulle macchine con numeri di serie inferiori a 239999999 non sono inclusi in questo kit, ma sono elencati nel catalogo componenti.
Togliete tutte le manopole dalle leve della consolle centrale (Figura 12).

Rimuovete le 6 viti che fissano il bordo esterno della piastra di copertura della consolle centrale al telaio ed estraete la piastra di copertura (Figura 12).
Collegate il perno del cavo della presa di forza al foro inferiore nella leva della presa di forza con un perno con testa e una coppiglia (Figura 13).

Fissate il cavo della presa di forza al supporto della leva della presa di forza con un serratubo e 2 viti autofilettanti (Figura 13).
Inserite l'altra estremità del cavo della leva della presa di forza attraverso l'apertura nel lato destro della consolle e attraverso il supporto del cavo nella parte posteriore della consolle (Figura 14).
Note: Disponete il cavo lungo i cavi esistenti fino alla staffa del cavo montata nell'angolo anteriore sinistro del transaxle.

Allentate i controdadi posteriori sul cavo e inserite l'estremità del cavo nell'apertura nella staffa. Fissate senza serrare il cavo della presa di forza sulla staffa con i controdadi.
Utilizzando le 3 viti autofilettanti in dotazione nel kit, montate il supporto della leva della presa di forza nel lato destro della consolle.
Note: La posizione della leva è indicata nella Figura 8.
Pulite la piastra della consolle e applicate l'adesivo relativo al funzionamento sulla consolle, accanto alla leva della presa di forza, individuando l'adesivo come illustrato nella Figura 15.

Montate la piastra di copertura della consolle e le manopole delle leve sulla macchina.
Note: Quando la presa di forza è innestata, la leva non deve essere a contatto con la piastra della consolle centrale.
Note: I passaggi rimanenti riguardano l'installazione del kit su tutti i veicoli, se non diversamente specificato.
Scollegate il flessibile idraulico dal raccordo sulla piastra di copertura del transaxle (Figura 16).
Note: Chiudete con un tappo l'estremità del flessibile per impedire l'ingresso nel flessibile di agenti contaminanti.

Rimuovete il raccordo dalla piastra di copertura.
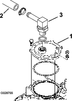
Installate l'O-ring piccolo nel raccordo come illustrato nella Figura 17.

Montate il raccordo nella parte anteriore della nuova presa di forza e posizionatelo come illustrato nella Figura 18.

Rimuovete i 5 bulloni, le rondelle e il dado di bloccaggio che fissano la piastra di copertura al transaxle, quindi togliete la piastra di copertura con attenzione, per evitare di danneggiare la guarnizione O-ring (Figura 18).
Note: Conservate i dispositivi di fissaggio per la successiva installazione.
Installate i 2 perni di allineamento nei fori nel transaxle, nei punti indicati nella Figura 19.
Utilizzando l'O-ring grande, i bulloni di montaggio, le rondelle di bloccaggio e il dado rimossi dalla piastra di copertura del transaxle, montate il gruppo della presa di forza sul transaxle (Figura 19).
Note: Mentre montate il gruppo della presa di forza, assicuratevi che l'O-ring grande sia posizionato in modo corretto nella scanalatura del transaxle per evitare danni. Non riutilizzate un O-ring usato.

Togliete il tappo dal flessibile idraulico scollegato e montate il flessibile sul raccordo della presa di forza con il serratubo rimosso in precedenza.
Note: Assicuratevi che flessibile e raccordo siano puliti prima di collegarli.
Spostate la leva della presa di forza nella consolle centrale completamente indietro (verso la parte posteriore della consolle) e spostate il braccio della leva della presa di forza (Figura 20) sul transaxle verso il lato destro (lato passeggero).

Regolate il perno del cavo, i controdadi o il perno e i dadi (che fissano il cavo alla staffa) fino a quando il perno con testa non si infila comodamente attraverso i fori di montaggio allineati del perno e del braccio della leva (Figura 20).
Fissate il perno con testa con la coppiglia e serrate il controdado che fissa il cavo al relativo perno, quindi serrate i controdadi che fissano il cavo alla staffa.
Togliete il cavo portatile dal cablaggio situato davanti alla presa di forza.
Disponete il cablaggio sotto il cavo positivo della batteria e collegate il connettore del cablaggio preassemblato al connettore dell'interruttore della presa di forza.
Montate la protezione della presa di forza nel tubo del telaio posteriore con 4 viti a testa tonda, 2 distanziali e 4 dadi di bloccaggio (Figura 21).

Applicate l'adesivo di avvertenza al tubo trasversale inferiore posteriore accanto all'adesivo esistente, appena sopra il punto di attacco (Figura 22).

Utilizzate le 5 fascette per cavi in dotazione nel kit per fissare il cavo della presa di forza al cablaggio preassemblato esistente.
Collegate i cavi della batteria alla batteria e montate il relativo coperchio; fate riferimento a Preparazione della macchina.
Testate il sistema a interblocchi; fate riferimento a Controllo del sistema a interblocchi nel Manuale dell'operatore.
Spegnete il motore e ispezionate la macchina per escludere perdite di fluido idraulico nel punto in cui la sede della presa di forza è collegata al transaxle.
Note: Riparate tutte le perdite di fluido.
Avviate il motore e azionate la presa di forza.
Togliete il blocco del cilindro dal cilindro di sollevamento del pianale e riponetelo sulle staffe sulla parte posteriore del pannello del sistema ROPS; fate riferimento a Preparazione della macchina.
Abbassate il pianale e spegnete il motore.
Il veicolo potrebbe muoversi inaspettatamente se la presa di forza è innestata e se sul veicolo viene inserita la marcia, e potrebbe causare gravi lesioni agli astanti.
Non inserite la marcia fino a quando l'accessorio della presa di forza non ha smesso di girare, anche se la frizione è premuta.
Assicuratevi che non vi siano astanti attorno all'albero di uscita della presa di forza o alla parte posteriore del veicolo.
In una scanalatura rotante scoperta possono rimanere impigliati indumenti, causando lesioni gravi o la morte.
Quando un accessorio non è collegato all'albero della presa di forza, disinnestate la trasmissione alla presa di forza tirando indietro la relativa leva.
La presa di forza include una protezione. Questa protezione deve rimanere montata sul veicolo e in buone condizioni.
Disinserite sempre la presa di forza e spegnete il motore prima dell'accoppiamento di qualsiasi accessorio all'albero della presa di forza.
L'utilizzo di accessori a elevata inerzia (come tosaerba o soffiatori) aumenta la quantità di forza necessaria per cambiare marcia del veicolo e danneggerà il transaxle in caso di spostamenti frequenti.
Non cambiate la marcia del veicolo mentre è in movimento se la presa di forza è innestata.
Utilizzate sempre il meccanismo di ruota libera opzionale in caso di utilizzo di un accessorio a elevata inerzia con la presa di forza.
La presa di forza viene alimentata dal motore, attraverso il transaxle e fornisce potenza attraverso un albero scanalato standard a 540 giri/min sulla parte posteriore del veicolo. L'alimentazione della presa di forza può essere utilizzata per gli accessori mobili e stazionari.
Note: Fate riferimento al Manuale dell'operatore per i suggerimenti relativi ai giri/min.
Important: Durante il funzionamento della presa di forza, la macchina non deve essere in movimento quando la presa di forza viene azionata.
Inserite il freno di stazionamento.
Spostate la trasmissione in FOLLE.
Premete completamente il pedale della frizione e avviate il motore.
Note: Il motore non si avvia se la leva della presa di forza non è in posizione OFF.
Spostate la leva della presa di forza nel modo seguente:
Important: Non innestate o disinnestate la presa di forza durante la marcia, per non rischiare di danneggiare la presa di forza. Prima di cambiare la marcia della presa di forza fermate sempre il veicolo.
Sulle macchine con numeri di serie fino a 239999999, spostate la leva della presa di forza completamente in avanti fino alla posizione innestata (ENGAGE).
Sulle macchine con numeri di serie da 240000000 in poi, spostate la leva della presa di forza completamente indietro fino alla posizione innestata (ENGAGE).
Spostate la trasmissione alla marcia desiderata.
Disinserite il freno di stazionamento.
Rilasciate lentamente il pedale della frizione.
Per arrestare il funzionamento della presa di forza, premete a fondo il pedale della frizione e spostate la leva della presa di forza alla posizione disinnestata (DISENGAGE).
Note: Potete arrestare momentaneamente la presa di forza premendo a fondo il pedale della frizione e facendo fermare completamente la macchina.
Important: Durante il funzionamento della presa di forza, la macchina non deve essere in movimento quando la presa di forza viene azionata.
Inserite il freno di stazionamento.
Spostate la trasmissione in FOLLE.
Premete completamente il pedale della frizione e avviate il motore.
Note: Il motore non si avvia se la leva della presa di forza non è in posizione disinnestata (Disengage).
Spostate la leva della presa di forza nel modo seguente:
Important: Non innestate o disinnestate la presa di forza durante la marcia, per non rischiare di danneggiare la presa di forza. Prima di cambiare la marcia della presa di forza fermate sempre il veicolo.
Sulle macchine con numeri di serie fino a 239999999, spostate la leva della presa di forza completamente in avanti fino alla posizione innestata (ENGAGE).
Sulle macchine con numeri di serie da 240000000 in poi, spostate la leva della presa di forza completamente indietro fino alla posizione innestata (ENGAGE).
Rilasciate lentamente il pedale della frizione.
Per arrestare il funzionamento della presa di forza, premete a fondo il pedale della frizione e spostate la leva della presa di forza alla posizione disinnestata (DISENGAGE).
Note: Potete arrestare momentaneamente la presa di forza premendo a fondo il pedale della frizione e facendo fermare completamente il transaxle e la presa di forza.