Pour les machines dont le numéro de série est antérieur à 239999999, l'autocollant 93-9861 n'est pas inclus dans le kit. Vous devez acheter l'autocollant 93-9861 séparément et l'apposer.
![]() |
Des autocollants de sécurité et des instructions bien visibles par l'utilisateur sont placés près de tous les endroits potentiellement dangereux. Remplacez tout autocollant endommagé ou manquant. |


Garez la machine sur une surface plane et horizontale.
Pour les modèles équipés d'un plateau de transport, procédez comme suit :
Levez le plateau jusqu'à ce que les vérins de levage soient complètement déployés ; voir le manuel de l'utilisateur de la machine.
Sortez la béquille de sécurité des supports de rangement au dos du panneau du système ROPS (Figure 1).

Poussez la béquille de sécurité sur la tige du vérin et appuyez bien les languettes d'extrémités contre l'extrémité du corps du vérin et l'extrémité de la tige du vérin (Figure 2).

Serrez le frein de stationnement.
Coupez le moteur et enlevez la clé.
Laissez refroidir la machine.
Débranchez la batterie comme suit :
Appuyez sur le couvercle de la batterie pour dégager les pattes de la base de la batterie (Figure 3).

Enlevez le couvercle de la base de la batterie (Figure 3).
Débranchez la cosse du câble positif de la borne de la batterie (Figure 4).
Note: Assurez-vous que la cosse du câble positif ne touche pas la borne de la batterie.

Important: Utilisez les instructions des opérations 1 à 15 quand vous montez le kit sur un véhicule dont le numéro de série est postérieur à 240000001 ; sinon, passez à l'opération Accouplement du câble de PDF.
Dévissez et déposez le pommeau de tous les leviers de la console et du levier de vitesse (Figure 5).

Retirez les 6 vis qui fixent le bord extérieur de la plaque de protection de la console centrale au cadre et déposez la plaque de protection (Figure 6).

Débranchez le flexible de réservoir du radiateur et bouchez ou pincez le flexible pour retenir le liquide de refroidissement (Figure 6).
Retirez les 8 vis qui fixent les sièges et le carénage aux supports (Figure 6). Déposez les sièges et le carénage.
Retirez les goupilles fendues et les axes de chape qui fixent les câbles aux leviers de console (blocage du différentiel, sélection de gamme et levage hydraulique). Conservez les goupilles fendues et les axes de chape.
Note: Conservez les goupilles fendues et les axes de chape.
Retirez l'écrou et le boulon qui fixent les leviers de console au support de leviers (Figure 7) et déposez l'ensemble leviers du support.

Retirez l'entretoise (Figure 7) de l'ensemble et posez le levier de PDF neuf à son emplacement sur le tube de pivot.
Note: Positionnez le levier comme montré à la Figure 8.

Montez les composants retirés précédemment sur le boulon, en positionnant chacun d'eux comme montré à la Figure 8.
Fixez le boulon sur le support de leviers avec l'écrou retiré précédemment (Figure 8).
Acheminez le câble de PDF sous l'arrière du support de leviers.
Fixez la chape du câble de PDF dans le trou du levier de PDF à l'aide d'un axe de chape et d'une goupille fendue (Figure 9).

Fixez le câble de PDF sur la face inférieure du support de leviers avec un étrier et 2 vis autotaraudeuses à tête creuse hexagonale (Figure 10).
Note: Le levier de PDF doit être positionné dans l'alignement du levier sélecteur de gamme (position engagée) quand la boîte-pont est mise en position de gamme basse.

Faites passer le câble le long des câbles existants jusqu'au support de câble qui est monté dans l'angle avant gauche de la boîte-pont (Figure 11).

Desserrez les écrous de blocage arrière sur le câble de PDF et insérez l'extrémité du câble dans l'ouverture du support. Fixez légèrement le câble de PDF sur le support au moyen des écrous de blocage.
Montez le carénage, les sièges, la plaque de protection de console et les pommeaux des leviers sur la machine ; voir l'opération 2 de Montage des commandes de PDF.
Note: Lorsque la PDF est engagée, le levier ne doit pas toucher la plaque de la console centrale.
Important: Effectuez la procédure d'installation décrite sous Accouplement du câble de PDF uniquement quand vous montez le kit sur une machine dont le numéro de série est antérieur à 239999999 ; sinon, passez à Montage de la PDF sur la boîte-pont.
Note: Certaines des pièces permettant l'installation de ce kit sur des machines portant un numéro de série antérieur à 239999999 ne font pas partie du kit, mais sont énumérées dans le catalogue de pièces.
Retirez les pommeaux de tous les leviers de la console centrale (Figure 12).

Retirez les 6 vis qui fixent le bord extérieur de la plaque de protection de la console centrale au cadre et déposez la plaque de protection (Figure 12).
Fixez la chape du câble de PDF dans le trou inférieur du levier de PDF à l'aide d'un axe de chape et d'une goupille fendue (Figure 13).

Fixez le câble de PDF au support de levier de PDF avec un étrier et 2 vis autotaraudeuses (Figure 13).
Insérez l'autre extrémité du câble du levier de la PDF dans l'ouverture sur le côté droit de la console et dans le support de câble à l'arrière de la console (Figure 14).
Note: Faites passer le câble le long des câbles existants jusqu'au support de câble qui est monté dans l'angle avant gauche de la boîte-pont.

Desserrez les écrous de blocage arrière et insérez l'extrémité du câble dans l'ouverture du support. Fixez légèrement le câble de PDF sur le support au moyen des écrous de blocage.
À l'aide des 3 vis autotaraudeuses fournies dans le kit, montez le support du levier de PDF sur le côté droit de la console.
Note: L'emplacement du levier est indiqué à la Figure 8.
Nettoyez la plaque de la console et apposez l'autocollant d'utilisation sur la console, près du levier de PDF, à l'emplacement indiqué à la Figure 15.

Montez la plaque de protection de la console et les pommeaux des leviers sur la machine.
Note: Lorsque la PDF est engagée, le levier ne doit pas toucher la plaque de la console centrale.
Note: Les opérations restantes concernent le montage du kit sur tous les véhicules sauf indication contraire.
Débranchez le flexible hydraulique du raccord sur la plaque de protection de la boîte-pont (Figure 16).
Note: Obturez l'extrémité du flexible pour éviter que des contaminants ne pénètrent à l'intérieur.

Déposez le raccord de la plaque de protection.
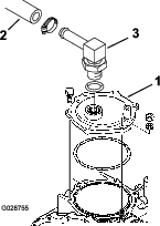
Placez le petit joint torique sur le raccord, comme montré à la Figure 17.

Insérez le raccord à l'avant de la nouvelle PDF dans la position indiquée à la Figure 18.

Retirez les 5 boulons, rondelles frein et l'écrou qui fixent la plaque de protection à la boîte-pont et déposez la plaque avec précaution pour ne pas endommager le joint torique (Figure 18).
Note: Conservez les fixations pour la pose ultérieure.
Placez les 2 goupilles de centrage dans les trous de la boîte-pont, aux emplacements indiqués à la Figure 19.
Montez la PDF sur la boîte-pont à l'aide du grand joint torique, des boulons de fixation, des rondelles frein et de l'écrou que vous avez retirés de la plaque de protection de la boîte-pont (Figure 19).
Note: Lors du montage de la PDF, veillez à positionnez le grand joint torique correctement dans la rainure de la boîte-pont pour éviter d'éventuels dommages. Ne réutilisez pas l'ancien joint torique.

Retirez l'obturateur au bout du flexible hydraulique débranché et branchez le flexible sur le raccord de la PDF à l'aide de l'étrier retiré précédemment.
Note: Vérifiez que le flexible et le raccord sont propres avant d'effectuer le branchement.
Déplacez le levier de PDF complètement vers l'arrière de la console centrale et le bras de levier de PDF (Figure 20) sur la boîte-pont vers la droite (côté passager).

Réglez la chape de câble ou les écrous de blocage, ou les deux, qui fixent le câble au support, jusqu'à ce que l'axe de chape passe librement dans les trous de montage alignés de la chape et du bras de levier (Figure 20).
Fixez l'axe de chape avec la goupille fendue, serrez l'écrou de blocage qui fixe le câble à la chape, puis serrez les écrous de blocage qui fixent le câble au support.
Retirez le câble volant du faisceau situé devant la PDF.
Faites passer le faisceau sous le câble positif de la batterie et branchez le connecteur du faisceau au connecteur de la commande de PDF.
Montez la protection de la PDF sur le tube de cadre arrière au moyen de 4 vis d'assemblage, 2 entretoises et 4 contre-écrous (Figure 21).

Apposez l'autocollant de sécurité sur le tube transversal arrière inférieur près de l'autocollant existant, juste au-dessus du point d'attelage (Figure 22).

À l'aide des 5 attache-câbles fournis dans le kit, attachez le câble de PDF au câblage existant.
Branchez les câbles de batterie sur la batterie et reposez le couvercle de la batterie ; voir Préparation de la machine.
Testez le système de sécurité ; voir Contrôle du système de sécurité dans le Manuel de l'utilisateur.
Coupez le moteur et vérifiez que la machine ne présente pas de fuites hydrauliques au point de montage du carter de PDF sur la boîte-pont.
Note: Réparez toutes fuites hydrauliques.
Démarrez le moteur et actionnez la PDF.
Déposez le verrou du vérin de levage du plateau et rangez-le dans les supports au dos du panneau du système ROPS ; voir Préparation de la machine.
Abaissez le plateau et coupez le moteur.
Le véhicule peut se déplacer de manière inattendue si la PDF est engagée et que vous sélectionnez une vitesse, et infliger alors de graves blessures à toute personne à proximité.
Attendez que l'accessoire entraîné par la PDF cesse de tourner avant d'enclencher une vitesse, même si la pédale d'embrayage est enfoncée.
Assurez-vous que personne ne se tient près de l'arbre de sortie de la PDF, ou de l'avant ou l'arrière du véhicule.
Une cannelure découverte peut accrocher les vêtements et causez des blessures graves ou mortelles.
Si aucun accessoire n'est relié à l'arbre de PDF, désengagez l'entraînement de la PDF en tirant le levier de PDF en arrière.
La PDF comprend une protection. Cette protection doit rester sur le véhicule et être maintenue en bon état.
Désengagez toujours la PDF et coupez le moteur avant d'accoupler un accessoire à l'arbre de PDF.
L'utilisation d'accessoires à forte inertie (tondeuses ou souffleurs par exemple) accroît la force requise pour changer de gamme et endommagera la boîte-pont en cas de changement de gamme fréquent.
Ne changez pas de gamme pendant le déplacement du véhicule si la PDF est engagée.
Utilisez toujours la roue libre optionnelle pour entraîner un accessoire à forte inertie avec la PDF.
La PDF est entraînée par le moteur, par l'intermédiaire de la boîte-pont, et fournit le mouvement à l'arrière du véhicule par le biais d'un arbre cannelé au régime standard de 540 tr/min. La PDF peut être utilisée pour des accessoires mobiles et fixes.
Note: Voir les régimes recommandés dans le Manuel de l'utilisateur.
Important: Lors de l'utilisation de la PDF, la machine doit être à l'arrêt quand la PDF démarre.
Serrez le frein de stationnement.
Mettez la transmission au POINT MORT.
Enfoncez complètement la pédale d'embrayage et démarrez le moteur.
Note: Le moteur ne peut démarrer que si le levier de PDF est en position DéSENGAGéE.
Déplacez le levier de PDF comme suit :
Important: N'engagez pas ou ne désengagez pas la PDF pendant que le véhicule roule, au risque d'endommager la PDF. Arrêtez toujours le véhicule avant de déplacer le levier de la PDF.
Pour les machines dont le numéro de série est antérieur à 239999999, déplacez le levier de PDF complètement en avant en position ENGAGéE.
Sur les machines dont le numéro de série est postérieur à 240000000, déplacez le levier de PDF complètement en arrière en position ENGAGéE.
Sélectionnez la vitesse voulue.
Desserrez le frein de stationnement.
Relâchez lentement la pédale d'embrayage.
Pour arrêter la PDF, enfoncez complètement la pédale d'embrayage et déplacez le levier de PDF en position DéSENGAGéE.
Note: Vous pouvez arrêter momentanément la PDF en enfonçant complètement la pédale d'embrayage et en attendant que la machine s'immobilise.
Important: Lors de l'utilisation de la PDF, la machine doit être à l'arrêt quand la PDF démarre.
Serrez le frein de stationnement.
Mettez la transmission au POINT MORT.
Enfoncez complètement la pédale d'embrayage et démarrez le moteur.
Note: Le moteur ne peut démarrer que si le levier de PDF est en position désengagée.
Déplacez le levier de PDF comme suit :
Important: N'engagez pas ou ne désengagez pas la PDF pendant que le véhicule roule, au risque d'endommager la PDF. Arrêtez toujours le véhicule avant de déplacer le levier de la PDF.
Pour les machines dont le numéro de série est antérieur à 239999999, déplacez le levier de PDF complètement en avant en position ENGAGéE.
Sur les machines dont le numéro de série est postérieur à 240000000, déplacez le levier de PDF complètement en arrière en position ENGAGéE.
Relâchez lentement la pédale d'embrayage.
Pour arrêter la PDF, enfoncez complètement la pédale d'embrayage et déplacez le levier de PDF en position DéSENGAGéE.
Note: Vous pouvez arrêter momentanément la PDF en enfonçant complètement la pédale d'embrayage et en attendant l'arrêt complet de la boîte-pont et de la PDF.