For maskiner med serienummer 239999999 og eldre følger ikke 93-9861-merket med i settet. Du må kjøpe 93-9861-merket separat og plassere det selv.
![]() |
Sikkerhetsmerker og -instruksjoner er lett synlige for føreren og er plassert i nærheten av alle områder som representerer en potensiell fare. Skift ut alle merker som er ødelagte eller mangler. |


Parker maskinen på et jevnt underlag.
På maskinmodeller med et bruksplan gjøres følgende:
Hev planet helt til løftesylindrene er helt utstrakte; se brukerhåndboken for maskinen.
Fjern støtten til planet fra lagringsbrakettene på baksiden av veltebeskyttelsespanelet (Figur 1).

Skyv støttepilaren for lasteplanet på sylinderstangen. Påse at pilarendene hviler på enden av sylinderløpet og sylinderstangen (Figur 2).

Sett på parkeringsbremsen.
Slå av motoren og ta ut nøkkelen.
La motoren kjøle seg ned.
Koble fra batteriet på følgende måte:
Important: Bruk instruksjonene i trinnene 1 til 15 når du monterer settet på et kjøretøy med serienummer høyere enn 240000001. Ellers går du til Koble til kraftuttakskabelen..
Skru løs og fjern alle knotter fra konsollspaker og girspaken (Figur 5).

Fjern de seks skruene som fester den utvendige kanten av midtkonsollens dekkplate til rammen og fjern dekkplaten (Figur 6).

Koble reservoarslangen fra radiatoren og sett en plugg eller klemme på slangen for å beholde kjølemiddelet (Figur 6).
Fjern de åtte hodeskruene som fester setene og dekslene til monteringsbraketten (Figur 6). Fjern setene og dekselet.
Fjern splintene og sjakkelpinnene som fester kablene til konsollspakene (differensiallåsen, Hi-Low og den hydrauliske heisen). Ta vare på splintene og sjakkelpinnene.
Note: Ta vare på splintene og sjakkelpinnene.
Fjern mutteren og bolten som fester konsollspaken til spaken på støttebraketten (Figur 7) og fjern konsollspakenheten fra spakens støttebrakett.

Fjern avstandsstykket (Figur 7) fra enheten og monter den nye kraftuttaksspaken på samme sted på svingrøret.
Note: Plasser spaken som vist i Figur 8.

Monter komponentene du fjernet tidligere, på bolten, og plasser hver enkelt som vist i Figur 8.
Fest bolten til spakstøttebraketten med mutteren som du fjernet tidligere (Figur 8).
Før kraftuttakskabelen under bakdelen av spakstøttebraketten.
Koble kraftuttakskabelsjakkelen til hullet i kraftuttaksspaken med en splittpinne og en splint (Figur 9).

Fest kraftuttakskabelen til undersiden av spakstøttebraketten med en klemme og to selvgjengende sekskanthodeskruer (Figur 10).
Note: Kraftuttaksspaken skal være plassert slik at den er i linje med Hi-Low-spaken (tilkoblet posisjon) når transakselen står i Low-posisjon.

Før kabelen langs den eksisterende kabelen til kabelbraketten som er montert på det fremre, venstre hjørnet på transakselen (Figur 11).

Løsne de bakre låsemutterene på kraftuttakskabelen og før inn enden av kabelen i åpningen på braketten. Fest kraftuttakskabelen løst til braketten med låsemutterene.
Monter dekslene, setene, konsollens dekkplate og spakknottene på maskinen. Se trinn 2 i Montere kontrollene for kraftuttaket.
Note: Når kraftuttaket er tilkoblet, skal ikke spaken være i kontakt med den midtre konsollplaten.
Important: Fullfør bare installeringstrinnen i Koble til kraftuttakskabelen. når du monterer settet på en maskin med serienummer som er lavere enn 239999999. Ellers går du til Montere kraftuttaket til transakselen.
Note: Noen av delene som kreves for å montere dette settet på maskiner med serienummer som er lavere enn 239999999, er ikke inkludert i settet, men er listet opp i delekatalogen.
Fjern alle knottene fra midtkonsollspakene (Figur 12).

Fjern de seks skruene som fester den utvendige kanten av midtkonsollens dekkplate til rammen og fjern dekkplaten (Figur 12).
Koble kraftuttakskabelsjakkelen til det nedre hullet i kraftuttaksspaken med en splittpinne og en splint (Figur 13).

Fest kraftuttakskabelen til kraftuttaksspakstøtten med en klemme og to selvgjengende skruer (Figur 13).
Før inn den andre enden av kraftuttakskabelen gjennom åpningen i høyre side av konsollen og gjennom kabelfestet bak på konsollen (Figur 14).
Note: Før kabelen langs den eksisterende kabelen til kabelbraketten som er montert på det fremre, venstre hjørnet på transakselen.

Løsne de bakre låsemutterene på kabelen og før inn enden av kabelen i åpningen på braketten. Fest kraftuttakskabelen løst til braketten med låsemutterene.
Bruk de tre selvgjengende skruene som følger med i settet, til å feste kraftuttaksstøtten til høyre side av konsollen.
Note: Plasseringen av spaken vises i Figur 8.
Rengjør konsollplaten og monter driftsmerket til konsollen ved siden av kraftuttaksspaken. Plasser merket som vist i Figur 15.

Monter konsollens dekkplate og spakknottene på maskinen.
Note: Når kraftuttaket er tilkoblet, skal ikke spaken være i kontakt med den midtre konsollplaten.
Note: De gjenstående trinnene gjelder montering av settet på alle kjøretøy hvis ikke noe annet angis.
Koble hydraulikkslangene fra nippelen på transakselens dekselplate (Figur 16).
Note: Sett lokk på slangeenden for å hindre at urenheter kommer inn i slangen.

Fjern nippelen fra dekkplaten.
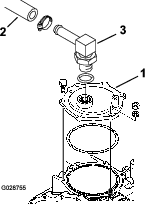
Monter den lille O-ringen på koblingen, som vist i Figur 17.

Monter nippelen foran det nye kraftuttaket og plasser nippelen som vist iFigur 18.

Fjern de fem boltene, låseskivene og mutterne som fester dekkplaten til transakselen og fjern dekkplaten forsiktig for å forhindre skader på O-ringstetningen (Figur 18).
Note: Ta vare på festene for senere montering.
Monter de to traseringspinnene i hullene i transakselen på stedene som vises i Figur 19.
Bruk den store O-ringen, monteringsboltene, låseskivene og mutterne som du fjernet fra transakselens dekkplate, monter kraftuttaksenheten på transakselen (Figur 19).
Note: Når kraftuttaket monteres, må du kontrollere at den store O-ringen er riktig plassert i transakselsporet for å forhindre skade. Ikke bruk en gammel O-ring på nytt.

Fjern hetten fra den frakoblede hydraulikkslangen, og monter slangen på nippelen på kraftuttaket med klemmen som du fjernet tidligere.
Note: Sikre at slangen og nippelen er rene før du kobler dem sammen.
Flytt kraftuttaksspaken på midtkonsollen helt tilbake (mot bakdelen av konsollen), og flytt kraftuttaksspakarmen (Figur 20) på transakselen til høyre side (passasjersiden).

Juster kabelsjakkelen eller låsemutterne eller begge (som fester kabelen til braketten) til splittpinnen faller fritt gjennom de justerte monteringshullene i splitten og spakarmen (Figur 20).
Fest splittpinnen med hårnålssplinten, stram låsemutteren som fester kabelen til kabelsjakkelen, og stram låsemutterne som fester kabelen til braketten.
Fjern startkabelen fra ledningssatsen som er plassert foran kraftuttaket.
Før ledningsnettet under den positive batterikabelen og koble koblingen til ledningssatsen til kraftuttaksbryterkoblingen.
Monter kraftuttaksvernet til den bakre rammeslangen med 4 hodeskruer, 2 avstandsstykker og 4 låsemuttere (Figur 21).

Sett varselmerket på den nedre, bakre tverrhylsen ved siden av det eksisterende merket, akkurat over koblingspunktet (Figur 22).

Bruk de fem kabelfestene som følger med settet for å feste kraftuttakskabelen til den eksisterende ledningssatsen.
Koble batterikablene til batteriet og sett på batteridekselet. Se (Klargjøre maskinen).
Test sperresystemet. Sjekk Kontrollere sperresystemet i brukerhåndboken.
Slå av motoren og undersøk maskinen for lekkasjer av hydraulikkvæske der huset til kraftuttaket festes på transakselen.
Note: Reparer alle oljelekkasjer.
Start motoren og ta i bruk kraftuttaket.
Fjern sylinderlåsen fra planløftesylinderen og lagre den i brakettene på baksiden av veltebeskyttelsespanelet. Se Klargjøre maskinen.
Senk lasteplanet, og slå av maskinen.
Kjøretøyet kan bevege seg uten forvarsel hvis kraftuttaket er koblet til og kjøretøyet står i gir, noe som kan føre til alvorlige skader på personer i nærheten.
Ikke sett drivverket i gir før kraftuttakstilbehøret har sluttet å rotere, selv om clutchen er trykket inn.
Sørg for at ingen personer er i nærheten av kraftuttaksakselen eller foran eller bak kjøretøyet.
En utildekket, roterende kile kan henge seg fast i klær og føre til alvorlige skader eller dødsfall.
Når et tilbehør ikke er tilkoblet kraftuttaksakselen, kobler du fra drivhjulet på kraftuttaket ved å trekke tilbake kraftuttaksspaken.
Kraftuttaket inkluderer et vern. Dette vernet må forbli montert på kjøretøyet og være i god stand.
Koble alltid fra kraftuttaket og slå av motoren før du kobler noe tilbehør til kraftuttaksakselen.
Bruk av tilbehør med høy treghet (dvs. gressklippere eller blåseredskaper) vil øke mengden kraft som trengs til å skifte gir på kjøretøyet, og det skader transakselen hvis det blir skiftet ofte.
Ikke skift gir på kjøretøyet mens det er i bevegelse hvis kraftuttaket er aktivert.
Bruk alltid den valgfrie frihjulskoblingen når du bruker et tilbehør med høy treghet sammen med kraftuttaket.
Kraftuttaket henter kraft fra motoren, gjennom transakselen, og leverer kraft gjennom en standard kileformet aksel med 540 o/min bak på kjøretøyet. Kraftuttakseffekten kan brukes på både mobilt og stasjonært tilbehør.
Note: Se brukerhåndboken til tilbehøret for anbefalinger om o/min.
Important: Når du bruker kraftuttaket, må ikke maskinen være i bevegelse når kraftuttaket startes.
Koble inn parkeringsbremsen.
Sett drivverket i FRI.
Trykk clutchen helt inn, og start motoren.
Note: Motoren starter ikke hvis ikke kraftuttaksspaken er i AV-posisjon.
Flytt kraftuttaksspaken på følgende måte:
Important: Du må ikke aktiver eller deaktiver kraftuttaket mens du klipper, da det vil føre til skader på kraftuttaket. Stopp alltid kjøretøyet før du veksler kraftuttaket.
For maskiner med serienummer 239999999 og eldre flytter du kraftuttaksspaken helt forover til INNKOBLET posisjon.
For maskiner med serienummer 240000000 og nyere flytter du kraftuttaksspaken helt bakover til INNKOBLET posisjon.
Sett drivverket i ønsket gir.
Koble fra parkeringsbremsen.
Slipp clutchen sakte.
Hvis du vil stoppe kraftuttaksdriften, trykker du clutchen helt inn og flytter kraftuttaksspaken til FRAKOBLET posisjon.
Note: Du kan stoppe kraftuttaket øyeblikkelig ved å trykke clutchpedalen helt inn og la maskinen stoppe helt.
Important: Når du bruker kraftuttaket, må ikke maskinen være i bevegelse når kraftuttaket startes.
Koble inn parkeringsbremsen.
Sett drivverket i FRI.
Trykk clutchen helt inn, og start motoren.
Note: Motoren starter ikke hvis ikke kraftuttaksspaken er i deaktivert posisjon.
Flytt kraftuttaksspaken på følgende måte:
Important: Du må ikke aktiver eller deaktiver kraftuttaket mens du klipper, da det vil føre til skader på kraftuttaket. Stopp alltid kjøretøyet før du veksler kraftuttaket.
For maskiner med serienummer 239999999 og eldre flytter du kraftuttaksspaken helt forover til INNKOBLET posisjon.
For maskiner med serienummer 240000000 og nyere flytter du kraftuttaksspaken helt bakover til INNKOBLET posisjon.
Slipp clutchen sakte.
Hvis du vil stoppe kraftuttaksdriften, trykker du clutchen helt inn og flytter kraftuttaksspaken til FRAKOBLET posisjon.
Note: Du kan stoppe kraftuttaket øyeblikkelig ved å trykke clutchen helt inn og la transakselen og kraftuttaket stoppe helt.