Voor machines met serienummers 239999999 en lager is sticker 93-9861 niet inbegrepen in de set. U moet sticker 93-9861 aanschaffen en aanbrengen.
![]() |
Veiligheidsstickers en veiligheidsinstructies zijn gemakkelijk zichtbaar voor de bestuurder en bevinden zich bij plaatsen waar gevaar kan ontstaan. Vervang alle beschadigde of ontbrekende stickers. |


Parkeer de machine op een horizontaal oppervlak.
Voor machines met een multifunctionele laadbak doet u het volgende:
Laat de laadbak omhoog komen tot de cilinders volledig uitgestrekt zijn; raadpleeg de Gebruikershandleiding van de machine.
Verwijder de laadbakbeveiliging van de opberghaken op de achterkant van het paneel van de rolbeugel (Figuur 1).

Druk de laadbakbeveiliging op de cilinderstang, waarbij u ervoor moet zorgen dat de beide uiteinden van de laadbakbeveiliging rusten op het uiteinde van de cilinderbus en het uiteinde van de cilinderstang (Figuur 2).

Haal de parkeerrem aan.
Zet de motor af en haal het sleuteltje uit het contact.
Laat de machine afkoelen.
Koppel de accu als volgt af:
Important: Volg de instructies in stap 1 tot 15 als u de set monteert op een voertuig met een serienummer groter dan 240000001. Als het serienummer kleiner is, kunt u onmiddellijk naar De aftakaskabel aansluiten gaan.
Schroef de knoppen van de bedieningshendels en van de schakelhendel los en verwijder deze (Figuur 5).

Verwijder de 6 schroeven waarmee de buitenste rand van de afdekplaat van het middelste bedieningspaneel is bevestigd aan het frame en verwijder de afdekplaat (Figuur 6).

Maak de reservoirslang los van de radiateur en stop de slang dicht of klem ze af zodat er geen koelvloeistof uit loopt (Figuur 6).
Verwijder de 8 inbusbouten waarmee de stoelen en het scherm aan de montagebeugels zijn bevestigd (Figuur 6). Verwijder de stoelen en het scherm.
Verwijder de borgpennen en gaffelpennen waarmee de kabels aan de bedieningshendels zijn bevestigd (differentieelvergrendeling, hoog-laagbereik en hydraulische hefinrichting). Bewaar de borgpennen en de gaffelpennen.
Note: Bewaar de borgpennen en de gaffelpennen.
Verwijder de moer en bout waarmee de bedieningshendels zijn bevestigd aan de steunbeugel voor de hendels (Figuur 7) en neem de bedieningshendels van hun steunbeugel.

Verwijder het afstandsstuk (Figuur 7) van de assemblage en monteer de nieuwe aftakashendel op de draaibuis.
Note: Plaats de hendel zoals in Figuur 8.

Monteer de eerder verwijderde onderdelen op de bout. Plaats elk onderdeel zoals getoond in Figuur 8.
Bevestig de bout op de steunbeugel voor de hendel met de moer die u eerder hebt verwijderd (Figuur 8).
Leid de aftakaskabel onder de achterkant van de steunbeugel voor de hendel.
Bevestig de gaffel van de aftakaskabel aan de opening in de aftakashendel met een gaffelpen en een borgpen (Figuur 9).

Bevestig de aftakaskabel aan de onderkant van de steunbeugel voor de hendel met een klem en 2 zelftappende inbusschroeven (Figuur 10).
Note: De aftakashendel moet zo worden geplaatst dat hij op één lijn staat met de hendel voor hoog-laagbereik (ingeschakelde stand) als de transaxle in de stand Laag staat.

Leid de kabel langs de bestaande kabels en naar de kabelbeugel die aan de hoek links vooraan van de transaxle is bevestigd (Figuur 11).

Draai de achterste contramoeren op de aftakaskabel los en plaats het uiteinde van de kabel in de opening van de beugel. Bevestig de aftakaskabel losjes aan de beugel met de contramoeren.
Monteer het scherm, de stoelen, de afdekplaat van het bedieningspaneel en de knoppen van de hendels op de machine: zie stap 2 in De aftakasbediening monteren.
Note: Als de aftakas is ingeschakeld, mag de hendel het middelste bedieningspaneel niet raken.
Important: Voer de montagestappen in De aftakaskabel aansluiten enkel uit als u de set monteert op een machine met een serienummer kleiner dan 239999999. Indien dit niet het geval is, ga dan naar De aftakas monteren op de transaxle.
Note: Sommige onderdelen die nodig zijn om deze set te monteren op machines met een serienummer kleiner dan 239999999 worden niet meegeleverd in deze set. U vindt deze wel terug in de onderdelencatalogus.
Verwijder alle knoppen van de hendels van het middelste bedieningspaneel (Figuur 12).

Verwijder de 6 schroeven waarmee de buitenste rand van de afdekplaat van het middelste bedieningspaneel is bevestigd aan het frame en verwijder de afdekplaat (Figuur 12).
Bevestig de gaffel van de aftakaskabel aan de onderste opening in de aftakashendel met een gaffelpen en een borgpen (Figuur 13).

Bevestig de aftakaskabel aan de steun voor de aftakashendel met een klem en 2 zelftappende schroeven (Figuur 13).
Plaats het andere uiteinde van de kabel van de aftakashendel door de opening in de rechterkant van het paneel en door de kabelhouder in de achterkant van het paneel (Figuur 14).
Note: Leid de kabel langs de bestaande kabels en naar de kabelbeugel die aan de hoek links vooraan van de transaxle is bevestigd.

Draai de achterste contramoeren op de kabel los en plaats het uiteinde van de kabel in de opening van de beugel. Bevestig de aftakaskabel losjes aan de beugel met de contramoeren.
Gebruik de 3 zelftappende schroeven die zijn meegeleverd in de set om de steun voor de aftakashendel te monteren aan de rechterzijde van het paneel.
Note: De plaats van de hendel wordt getoond in Figuur 8.
Maak de plaat van het paneel schoon en breng de bedieningssticker op het paneel aan, naast de aftakashendel. Zie Figuur 15.

Monteer de afdekplaat van het paneel en de knoppen van de hendels.
Note: Als de aftakas is ingeschakeld, mag de hendel het middelste bedieningspaneel niet raken.
Note: De resterende stappen zijn van toepassing op de montage van de set op alle voertuigen, tenzij anders vermeld.
Maak de hydraulische slang los van de fitting op de afdekplaat van de transaxle (Figuur 16).
Note: Sluit het uiteinde van de slang af om te voorkomen dat er verontreiniging in de slang terechtkomt.

Verwijder de fitting van de afdekplaat.
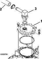
Breng de kleine O-ring aan op de fitting zoals getoond in Figuur 17.

Monteer de fitting op de voorkant van de nieuwe aftakas en plaats de fitting zoals getoond in Figuur 18.

Verwijder de 5 bouten, borgringen en de moer waarmee de afdekplaat is bevestigd aan de transaxle. Verwijder de afdekplaat voorzichtig om schade aan de O-ring te voorkomen (Figuur 18).
Note: Bewaar het bevestigingsmateriaal voor latere montage.
Plaats de 2 geleidepennen in de openingen in de transaxle, op de plaatsen die worden getoond in Figuur 19.
Monteer de aftakas op de transaxle met de grote O-ring, de montagebouten, de borgringen en de moer die u hebt verwijderd van de afdekplaat van de transaxle (Figuur 19).
Note: Zorg er bij het monteren van de aftakas voor dat de grote O-ring goed in de groef van de transaxle zit om schade te voorkomen. Geen oude O-ring opnieuw gebruiken.

Verwijder de dop van de losgekoppelde hydraulische slang en monteer de slang op de fitting van de aftakas met de eerder verwijderde klem.
Note: Zorg ervoor dat de slang en de fitting schoon zijn voordat u ze monteert.
Beweeg de aftakashendel op het middelste paneel helemaal naar achteren (naar de achterkant van het paneel) en de hendelarm van de aftakas (Figuur 20) op de transaxle naar de rechterkant (passagierszijde).

Stel de gaffel van de kabel, de contramoeren of zowel de gaffel en de moeren (waarmee de kabel aan de beugel is bevestigd) bij, zodat de gaffelpen door de uitgelijnde montageopeningen in de gaffel en de hendelarm valt (Figuur 20).
Bevestig de gaffelpen met de borgpen en draai de contramoer vast waarmee de kabel aan de gaffel is bevestigd. Draai dan de contramoeren vast waarmee de kabel aan de beugel is bevestigd.
Verwijder de startkabel van de kabelboom die zich vóór de aftakas bevindt.
Leid de kabelboom onder de positieve accukabel en sluit de connector van de kabelboom aan op de aansluiting van de aftakasschakelaar.
Monteer het aftakasscherm op de achterframebuis met 4 inbusbouten, 2 afstandsstukken en 4 borgmoeren (Figuur 21).

Breng de waarschuwingssticker aan op de onderste dwarsbuis achteraan, naast de oude sticker, net boven het sleeppunt (Figuur 22).

Gebruik de 5 kabelbinders die werden meegeleverd in deze set om de aftakaskabel te bevestigen aan de bestaande kabelboom.
Sluit de accukabels aan op de accu en monteer het accudeksel; zie De machine gebruiksklaar maken.
Test het veiligheidssysteem, raadpleeg het hoofdstuk Veiligheidssysteem controleren in de Gebruikershandleiding.
Schakel de motor uit en controleer de machine op lekken in het hydraulische systeem waar de behuizing van de aftakas op de transaxle is gemonteerd.
Note: Herstel alle lekken.
Start de motor en gebruik de aftakas.
Verwijder de cilindervergrendeling van de hefcilinder van de laadbak en plaats deze in de beugels op de achterkant van het rolbeugelpaneel; zie De machine gebruiksklaar maken.
Laat de laadbak naar beneden en zet de motor uit.
Het voertuig kan onverwacht bewegen als de aftakas is ingeschakeld en het voertuig in een versnelling staat. Dit kan ernstig letsel veroorzaken bij een omstander.
Schakel niet naar een versnelling voordat het werktuig aan de aftakas is gestopt met draaien, zelfs met een ingedrukte koppeling.
Zorg dat er zich niemand in de buurt van de uitgangsas van de aftakas of de voor- of achterkant van het voertuig bevindt.
Een onbedekte roterende as kan kleding grijpen en kan ernstig of dodelijk letsel veroorzaken.
Zorg dat er zich niemand in de buurt van de uitgangsas van de aftakas of de voor- of achterkant van het voertuig bevindt.
De aftakas heeft een scherm. Dit scherm moet op het voertuig gemonteerd blijven en in goede staat zijn.
Voordat u een werktuig aan de aftakas koppelt, moet u altijd de aftakas uitschakelen en de motor uitzetten.
Werktuigen met een hoge inertie (zoals maaiers of blazers) vereisen veel kracht bij het schakelen, waardoor de transaxle kan worden beschadigd als u vaak schakelt.
Schakel niet als het voertuig beweegt indien de aftakas is ingeschakeld.
Gebruik altijd de optionele vrijloopkoppeling indien u een werktuig met hoge inertie met de aftakas aandrijft.
De aftakas ontleent vermogen aan de motor via de transaxle en levert vermogen via een standaard sleufas (540 tpm) aan de achterkant van het voertuig. Het door de aftakas geleverde vermogen kan worden gebruikt voor mobiele en stationaire werktuigen.
Note: Raadpleeg de Gebruikershandleiding van het werktuig voor aanbevelingen met betrekking tot het aantal toeren per minuut.
Important: Als u de aftakas gebruikt, mag de machine niet bewegen als u de aftakas inschakelt.
Stel de parkeerrem in werking.
Zet de transmissie in de NEUTRAALSTAND.
Trap het koppelingspedaal volledig in en start de motor.
Note: De motor start alleen als de aftakashendel in de stand UIT staat.
Schakel de aftakashendel als volgt:
Important: Schakel de aftakas niet in of uit terwijl het voertuig beweegt; anders zal de aftakas worden beschadigd. U moet het voertuig altijd eerst tot stilstand brengen voordat u schakelt.
Op machines met een serienummer 239999999 en lager de aftakashendel volledig naar voren bewegen naar de INGESCHAKELDE STAND.
Voor machines met een serienummer 240000000 en hoger, moet u de aftakashendel volledig naar achteren bewegen naar de INGESCHAKELDE STAND.
Zet de transmissie in de gewenste versnelling.
Zet de parkeerrem vrij.
Laat het koppelingspedaal langzaam los.
Om de aftakas uit te schakelen, moet u het koppelingspedaal volledig intrappen en de aftakashendel naar de stand UITSCHAKELEN bewegen.
Note: U kunt de aftakas voor een paar ogenblikken stoppen door het koppelingspedaal volledig in te duwen en de machine volledig tot stilstand te laten komen.
Important: Als u de aftakas gebruikt, mag de machine niet bewegen als u de aftakas inschakelt.
Stel de parkeerrem in werking.
Zet de transmissie in de NEUTRAALSTAND.
Trap het koppelingspedaal volledig in en start de motor.
Note: De motor zal alleen starten als de aftakashendel in de stand Uitschakelen staat.
Schakel de aftakashendel als volgt:
Important: Schakel de aftakas niet in of uit terwijl het voertuig beweegt; anders zal de aftakas worden beschadigd. U moet het voertuig altijd eerst tot stilstand brengen voordat u schakelt.
Op machines met een serienummer 239999999 en lager de aftakashendel volledig naar voren bewegen naar de INGESCHAKELDE STAND.
Voor machines met een serienummer 240000000 en hoger, moet u de aftakashendel volledig naar achteren bewegen naar de INGESCHAKELDE STAND.
Laat het koppelingspedaal langzaam los.
Om de aftakas uit te schakelen, moet u het koppelingspedaal volledig intrappen en de aftakashendel naar de stand UITSCHAKELEN bewegen.
Note: U kunt de aftakas voor een paar ogenblikken stoppen door het koppelingspedaal volledig in te duwen en de transaxle en aftakas volledig tot stilstand te laten komen.