For maskiner med serienummer 239999999 og tidligere følger mærkat 93-9861 ikke med i sættet. Mærkat 93-9861 skal købes separat og påsættes.
![]() |
Sikkerheds- og instruktionsmærkaterne kan nemt ses af operatøren og er placeret tæt på potentielle risikoområder. Udskift eventuelle beskadigede eller manglende mærkater. |


Parker maskinen på en plan flade.
For maskinmodeller med arbejdslad skal følgende udføres:
Hæv ladet, indtil løftecylindrene er helt udstrakte. Se betjeningsvejledningen til maskinen.
Fjern ladstøtten fra opbevaringsbeslagene bag på styrtbøjlepanelet (Figur 1).

Skub ladstøtten ned over cylinderstangen, og sørg for, at tapperne på støtteenden hviler på enden af cylinderløbet og cylinderstangenden (Figur 2).

Aktiver parkeringsbremsen.
Sluk motoren, og tag nøglen ud.
Lad maskinen køle af.
Afbryd batteriet på følgende måde:
Important: Udfør anvisningerne i trin 1 til 15, hvis du monterer sættet på et køretøj med et serienummer over 240000001. I modsat fald kan du springe over til Tilslutning af kraftudtagskablet.
Skru alle greb af, og afmonter dem fra konsolhåndtagene og gearstangen (Figur 5).

Afmonter de 6 skruer, der fastgør den udvendige kant af centerkonsollens dækplade til rammen, og afmonter dækpladen (Figur 6).

Tag slangen til beholderen ud af køleren, og sæt en hætte eller en klemme på slangen, så kølemidlet ikke lækker ud (Figur 6).
Fjern de 8 maskinskruer, der fastgør sæderne og afskærmningen til monteringsbeslagene (Figur 6). Fjern sæderne og afskærmningen.
Fjern de splitter og gaffelbolte, der fastgør kablerne på konsolhåndtagene (differentialelås, høj/lav og hydraulisk løft). Gem splitterne og gaffelboltene.
Note: Gem splitterne og gaffelboltene.
Afmonter møtrikken og bolten, der fastgør konsolhåndtagene til støttebeslaget (Figur 7), og tag konsolhåndtagssamlingen af støttebeslaget.

Tag afstandsbøsningen (Figur 7) af samlingen, og monter det nye håndtag til kraftudtaget på det rette plads på drejerøret.
Note: Placer håndtaget som vist i Figur 8.

Monter de komponenter, du fjernede tidligere, på bolten, idet du placerer dem som vist i Figur 8.
Fastgør bolten til håndtagets støttebeslag med den møtrik, du afmonterede tidligere (Figur 8).
Kraftudtagskablet skal føres under den bageste del af håndtagets støttebeslag.
Sæt kraftudtagskablets gaffel i hullet i kraftudtagets håndtag med en gaffelbolt og split (Figur 9).

Fastgør kraftudtagskablet til undersiden af håndtagets støttebeslag med en klemme og 2 selvskærende unbrakoskruer (Figur 10).
Note: Håndtaget til kraftudtaget skal placeres, så det er på linje med håndtaget til høj/lav i aktiveret position, når gearkassen er i den lave position.

Før kablet langs med eksisterende kabler til kabelbeslaget i venstre hjørne foran på gearkassen (Figur 11).

Løsn de bageste kontramøtrikker på kraftudtagskablet, og før kabelenden ind i åbningen i beslaget. Brug kontramøtrikkerne til at fastgøre kraftudtagskablet løst til beslaget.
Monter afskærmningen, sæderne, dækpladen til konsollen og håndtagsgrebene på maskinen. Se trin 2 i Montering af kraftudtagets betjeningsanordninger.
Note: Når kraftudtaget er indkoblet, må håndtaget ikke røre ved centerkonsolpladen.
Important: Udfør kun monteringstrinnene i Tilslutning af kraftudtagskablet, hvis du monterer sættet på en maskine med et serienummer før 239999999. I modsat fald skal du springe over til Montering af kraftudtaget på gearkassen.
Note: Nogle af de dele, der er påkrævet til montering af sættet på maskiner med serienumre før 239999999, medfølger ikke, men kan findes i reservedelskataloget.
Afmonter alle greb fra håndtagene på centerkonsollen (Figur 12).

Afmonter de 6 skruer, der fastgør den udvendige kant af centerkonsollens dækplade til rammen, og afmonter dækpladen (Figur 12).
Sæt kraftudtagskablets gaffel i det nederste hul i kraftudtagets håndtag med en gaffelbolt og split (Figur 13).

Fastgør kraftudtagskablet til støtten til håndtaget med en klemme og 2 selvskærende unbrakoskruer (Figur 13).
Før den anden ende af kablet til kraftudtagets håndtag gennem åbningen til højre på konsollen og gennem kabelholderen bag på konsollen (Figur 14).
Note: Før kablet langs med de eksisterende kabler til kabelbeslaget i venstre hjørne foran på gearkassen.

Løsn de bageste kontramøtrikker på kablet, og før kabelenden ind i åbningen i beslaget. Brug kontramøtrikkerne til at fastgøre kraftudtagskablet løst til beslaget.
Brug de 3 medfølgende selvskærende skruer til at montere støtten til kraftudtagshåndtaget på konsollens højre side.
Note: Håndtagets position er vist i Figur 8.
Rengør konsolpladen, og fastgør funktionsmærkatet på konsollen ved siden af kraftudtagshåndtaget som vist i Figur 15.

Monter konsollens dækplade og håndtagsgrebene på maskinen.
Note: Når kraftudtaget er indkoblet, må håndtaget ikke røre ved centerkonsolpladen.
Note: De øvrige trin gælder ved montering af sættet på alle køretøjer, medmindre andet er anført.
Frakobl hydraulikslangen fra fittingen på gearkassens dækplade (Figur 16).
Note: Sæt hætten på slangeenden for at forhindre urenheder i at trænge ind i slangen.

Afmonter fittingen fra dækpladen.
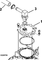
Monter den lille O-ring på fittingen som vist i Figur 17.

Monter fittingen foran på det nye kraftudtag, og placer fittingen som vist i Figur 18.

Fjern de 5 bolte, sikringsskiverne og møtrikken, der fastgør dækpladen til gearkassen, og tag forsigtigt dækpladen af for at forhindre beskadigelse af O-ringforseglingen (Figur 18).
Note: Gem fastgørelsesanordningerne til montering på et senere tidspunkt.
Monter de 2 justeringsbolte i hullerne i gearkassen på de positioner, der er vist i Figur 19.
Monter kraftudtagssamlingen på gearkassen med den store O-ring, monteringsboltene, låseskiverne og møtrikken, du fjernede fra gearkassens dækplade (Figur 19).
Note: Når kraftudtagssamlingen monteres, skal du sikre, at den store O-ring er placeret korrekt i rillen på gearkassen for at forhindre beskadigelse. Undlad at bruge en gammel O-ring.

Tag hætten af den frakoblede hydraulikslange, og monter slangen på kraftudtagets fitting med den klemme, du fjernede tidligere.
Note: Kontroller, at slangen og fittingen er rene, før du slutter dem til hinanden.
Flyt håndtaget til kraftudtaget på centerkonsollen helt bagud (mod konsollens bagende), og flyt håndtagsarmen til kraftudtaget (Figur 20) på gearkassen mod højre (passagersiden).

Juster kablets gaffel eller kontramøtrikker (eller begge dele), der fastgør kablet til beslaget, indtil gaffelbolten falder uhindret gennem monteringshullerne i gaflen og håndtagsarmen, der er rettet ind efter hinanden (Figur 20).
Fastgør gaffelbolten med splitten, stram kontramøtrikken, der fastgør kablet til kablets gaffel, og stram derefter kontramøtrikkerne, der fastgør kablet til beslaget.
Fjern startkablet fra ledningsnettet, der sidder foran kraftudtaget.
Før ledningsnettet under batteriets pluskabel, og sæt ledningsnettets stik ind i kraftudtagskontaktens stik.
Monter kraftudtagsskærmen på det bageste stelrør med 4 maskinskruer, 2 afstandsbøsninger og 4 låsemøtrikker (Figur 21).

Sæt advarselsmærkatet på det nederste bageste krydsrør, ved siden af det eksisterende mærkat, lige over bugseringspunktet (Figur 22).

Fastgør kraftudtagskablet til det eksisterende ledningsnet med de 5 medfølgende kabelbånd.
Slut batterikablerne til batteriet, og monter batteridækslet. Se Klargøring af maskinen.
Kontroller sikkerhedslåsesystemet. Se Kontrol af sikkerhedslåsesystemet i betjeningsvejledningen.
Sluk motoren, og efterse maskinen for hydraulikvæskelækager på de steder, hvor kraftudtaget er monteret på gearkassen.
Note: Reparer evt. væskelækager.
Start motoren, og betjen kraftudtaget.
Afmonter cylinderlåsen fra ladløftecylinderen, og sæt den i beslagene bag på styrtbøjlepanelet. Se Klargøring af maskinen.
Sænk ladet, og stands motoren.
Køretøjet kan bevæge sig pludseligt, hvis kraftudtaget indkobles, og køretøjet sættes i gear, hvilket kan medføre, at omkringstående bliver alvorligt kvæstet.
Transmissionen må ikke sættes i gear, før kraftudtagsredskabet er stoppet med at rotere, heller ikke selvom koblingen er trykket ned.
Sørg for, at der ikke er omkringstående i nærheden af kraftudtagets udgangsaksel eller foran eller bag køretøjet.
En blotlagt, roterende not kan fange tøj og medføre alvorlige kvæstelser eller dødsfald.
Når der ikke er tilsluttet et redskab til kraftudtagsakslen, skal drevet til kraftudtaget udkobles ved at trække kraftudtagshåndtaget bagud.
Kraftudtaget omfatter en skærm. Skærmen skal forblive monteret på køretøjet og holdes i god stand.
Udkobl altid kraftudtaget, og sluk motoren, inden du tilslutter et redskab til kraftudtagsakslen.
Hvis du bruger redskaber med høj inerti (dvs. plæneklippere eller blæsere), øges den kraft, der er nødvendig for at skifte gear for køretøjet, og gearkassen vil blive beskadiget, hvis der hyppigt skiftes gear.
Skift ikke gear, mens køretøjet er i bevægelse, hvis kraftudtaget er indkoblet.
Brug altid den valgfri overløbskobling, når et redskab med høj inerti køres med kraftudtaget.
Kraftudtaget henter strøm fra motoren gennem gearkassen og leverer strøm gennem en standardnotaksel på 540 o/min. bag på køretøjet. Strøm fra kraftudtaget kan både bruges til mobile og stationære redskaber.
Note: Se betjeningsvejledningen til redskabet for at finde anbefalede omdrejningstal.
Important: Maskinen skal stå stille, når kraftudtaget startes.
Aktiver parkeringsbremsen.
Skift transmissionen til positionen NEUTRAL.
Tryk koblingspedalen helt i bund, og start motoren.
Note: Motoren tørner ikke, medmindre håndtaget til kraftudtaget er i positionen OFF (fra).
Flyt håndtaget til kraftudtaget som følger:
Important: Kraftudtaget må ikke ind- eller udkobles, mens køretøjet er i bevægelse, da det kan beskadige kraftudtaget. Stands altid køretøjet, før kraftudtaget betjenes.
På maskiner med serienummer 239999999 og tidligere skal håndtaget til kraftudtaget flyttes helt frem til positionen ENGAGE (indkobl).
På maskiner med serienummer 240000000 og senere skal håndtaget til kraftudtaget flyttes helt tilbage til positionen ENGAGE (indkobl).
Skift transmissionen til det ønskede gear.
Deaktiver parkeringsbremsen.
Slip koblingspedalen langsomt.
Hvis du vil standse kraftudtaget, skal du trykke koblingspedalen helt i bund og flytte håndtaget til kraftudtaget til positionen DISENGAGE (udkobl).
Note: Du kan standse kraftudtaget øjeblikkeligt ved at trykke koblingspedalen helt i bund og lade maskinen standse helt.
Important: Maskinen skal stå stille, når kraftudtaget startes.
Aktiver parkeringsbremsen.
Skift transmissionen til positionen NEUTRAL.
Tryk koblingspedalen helt i bund, og start motoren.
Note: Motoren tørner ikke, medmindre håndtaget til kraftudtaget er i positionen Udkobling.
Flyt håndtaget til kraftudtaget som følger:
Important: Kraftudtaget må ikke ind- eller udkobles, mens køretøjet er i bevægelse, da det kan beskadige kraftudtaget. Stands altid køretøjet, før kraftudtaget betjenes.
På maskiner med serienummer 239999999 og tidligere skal håndtaget til kraftudtaget flyttes helt frem til positionen ENGAGE (indkobl).
På maskiner med serienummer 240000000 og senere skal håndtaget til kraftudtaget flyttes helt tilbage til positionen ENGAGE (indkobl).
Slip koblingspedalen langsomt.
Hvis du vil standse kraftudtaget, skal du trykke koblingspedalen helt i bund og flytte håndtaget til kraftudtaget til positionen DISENGAGE (udkobl).
Note: Du kan standse kraftudtaget øjeblikkeligt ved at trykke koblingspedalen helt i bund og lade gearkassen og kraftudtaget standse helt.