Para máquinas com números de série 239999999 e anteriores, o autocolante 93-9861 não está incluído no kit. Tem de adquirir o autocolante 93-9861 em separado e aplicá-lo.
![]() |
Os autocolantes de segurança e de instruções são facilmente visíveis e situam-se próximo das zonas de potencial perigo. Substitua todos os autocolantes danificados ou em falta. |


Estacione a máquina numa superfície nivelada.
Para modelos de máquina com uma plataforma utilitária, realize o seguinte:
Eleve a plataforma até que os cilindros de elevação fiquem totalmente estendidos; consulte o Manual de utilizador da máquina.
Retire o suporte da plataforma dos suportes existentes na parte de trás do painel do sistema ROPS (Figura 1).

Introduza o apoio da plataforma na haste do cilindro, assegurando que as linguetas encostam à extremidade do cilindro e à extremidade da haste do cilindro (Figura 2).

Acione o freio de estacionamento.
Desligue o motor e retire a chave.
Deixe que a máquina arrefeça.
Desligue a bateria da seguinte forma:
Aperte a tampa da bateria para libertar as patilhas da base da bateria (Figura 3).

Retire a tampa da bateria da base (Figura 3).
Retire o terminal do cabo positivo da bateria do borne da bateria (Figura 4).
Note: Certifique-se de que o cabo da bateria do terminal positivo não toca no borne da bateria.

Important: Utilize as instruções nos passos 1 a 15 ao instalar o kit num veículo com número de série superior a 240000001; caso contrário salte para Ligação do cabo da PTO.
Desaparafuse e retire todos os manípulos das alavancas da consola e da alavanca das mudanças (Figura 5).

Remova os 6 parafusos que prendem a extremidade exterior da placa da cobertura da consola central ao chassis e retire a placa da cobertura (Figura 6).

Desligue o tubo do reservatório do radiador e ligue ou tape o tubo para preservar o líquido de arrefecimento (Figura 6).
Remova os oito parafusos que prendem os bancos e resguardo aos suportes de montagem (Figura 6). Retire os bancos e resguardo.
Retire os contrapinos e passadores de forquilha que prendem os cabos às alavancas da consola (bloqueio do diferencial, subir-descer e elevação hidráulica). Guarde os contrapinos e os passadores de forquilha.
Note: Guarde os contrapinos e os passadores de forquilha.
Retire a porca e o parafuso que prendem as alavancas da consola ao suporte de apoio da alavanca (Figura 7) e retire o conjunto da alavanca da consola do suporte de apoio da alavanca.

Retire o espaçador (Figura 7) do conjunto e instale a nova alavanca PTO no respetivo sítio no tubo articulado.
Note: Coloque a alavanca como se mostra na Figura 8.

Instale os componentes previamente removidos no parafuso, posicionando cada um como se mostra na Figura 8.
Prenda o parafuso no suporte de apoio da alavanca com a porca que removeu previamente (Figura 8).
Encaminhe o cabo da PTO sob a parte traseira do suporte de apoio da alavanca.
Ligue o grampo do cabo da PTO ao furo na alavanca da PTO com um contrapino e um passador de forquilha (Figura 9).

Prenda o cabo da PTO ao lado inferior do suporte de apoio da alavanca com uma braçadeira e dois parafusos autorroscantes de cabeça hexagonal (Figura 10).
Note: A alavanca da PTO deve ser colocada de forma a que fique alinhada com a alavanca Subir-Descer (posição engatada) quando o eixo da transmissão se encontra na posição Descer.

Encaminhe o cabo ao longo dos cabos existentes para o suporte de cabos montado no canto frontal esquerdo do eixo da transmissão (Figura 11).

Desaperte as porcas de retenção traseiras no cabo da PTO e insira a extremidade do cabo na abertura do suporte. Prenda sem apertar o cabo da PTO no suporte com as porcas de retenção.
Instale o resguardo, bancos, placa da cobertura da consola e manípulos das alavancas na máquina; consulte o passo 2 na Instalação dos controlos da PTO.
Note: Quando a PTO é engatada, a alavanca não pode entrar em contacto com a placa da consola central.
Important: Realize os passos de instalação na Ligação do cabo da PTO apenas quando instalar o kit numa máquina com número de série anterior a 239999999; caso contrário, passe para a Instalação da PTO no eixo da transmissão.
Note: Algumas das peças exigidas para a instalação deste kit em máquinas com números de série anteriores a 239999999 não estão incluídas no kit, mas constam do catálogo de peças.
Retire todos os manípulos das alavancas da consola central (Figura 12).

Remova os 6 parafusos que prendem a extremidade exterior da placa da cobertura da consola central ao chassis e retire a placa da cobertura (Figura 12).
Ligue o grampo do cabo da PTO ao furo inferior na alavanca da PTO com um contrapino e um passador de forquilha (Figura 13).

Prenda o cabo da PTO ao suporte da alavanca da PTO com uma braçadeira e dois parafusos autorroscantes (Figura 13).
Insira a outra extremidade do cabo da alavanca da PTO através da abertura do lado direito da consola e através do suporte do cabo na traseira da consola (Figura 14).
Note: Encaminhe o cabo ao longo dos cabos existentes para o suporte de cabos montado no canto frontal esquerdo do eixo da transmissão.

Desaperte as porcas de retenção traseiras no cabo e insira a extremidade do cabo na abertura do suporte. Prenda sem apertar o cabo da PTO no suporte com as porcas de retenção.
Utilizando os três parafusos autorroscantes fornecidos no kit, monte o suporte da alavanca da PTO no lado direito da consola.
Note: O local da alavanca mostra-se na Figura 8.
Limpe a placa da consola e instale o autocolante de operação na consola junto da alavanca da PTO, colocando o autocolante como se mostra na Figura 15.

Instale a placa da cobertura da consola e os manípulos das alavancas na máquina.
Note: Quando a PTO é engatada, a alavanca não pode entrar em contacto com a placa da consola central.
Note: Os restantes passos dizem respeito à instalação do kit em todos os veículos, salvo indicação em contrário.
Desligue o tubo hidráulico da união na placa da cobertura do eixo da transmissão (Figura 16).
Note: Tape a extremidade do tubo para evitar que entrem contaminantes no tubo.

Remova a placa de cobertura da união.
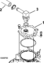
Instale o anel de retenção pequeno na união em como se mostra na Figura 17.

Instale a união na frente da nova PTO e posicione a união como se mostra na Figura 18.

Remova os cinco parafusos, anilhas de bloqueio e porca que prendem a placa da cobertura ao eixo da transmissão e remova, cuidadosamente, a placa da cobertura para evitar danificar o vedante do anel de retenção (Figura 18).
Note: Guarde os fixadores para instalação posterior.
Instale os dois pinos de alinhamento nos furos no eixo da transmissão, nos locais que se mostram na Figura 19.
Utilize o anel de retenção grande, os furos de montagem, anilhas de bloqueio e porca que removeu da placa de cobertura do eixo da transmissão, monte o conjunto da PTO no eixo da transmissão (Figura 19).
Note: Quando montar o conjunto da PTO, certifique-se de que o anel de retenção grande está posicionado corretamente na ranhura do eixo da transmissão para evitar danos. Não use um anel de retenção usado.

Retire a tampa do tubo hidráulico desligado e instale o tubo na união da PTO com a braçadeira que removeu previamente.
Note: Certifique-se de que o tubo e união estão limpos antes de efetuar a ligação.
Mova a alavanca da PTO na consola central totalmente para trás (em direção da traseira da consola) e mova o braço da alavanca da PTO (Figura 20) no eixo da transmissão para o lado direito (lado do passageiro).

Ajuste o grampo do cabo, as porcas de retenção, ou ambos (que prendem o cabo ao suporte), até que o passador de forquilha caia livremente através dos furos de montagem alinhados no grampo e braço da alavanca (Figura 20).
Prenda o passador de forquilha com o contrapino, aperte a porca de retenção que prende o cabo ao grampo do cabo e aperte as porcas de retenção que prendem o cabo ao suporte.
Retire o cabo de ligação da cablagem localizada em frente da PTO.
Encaminhe a cablagem sob o cabo positivo da bateria e ligue o conector da cablagem ao conector do interruptor da PTO.
Monte o resguardo da PTO no tubo da estrutura traseira com quatro parafusos, dois espaçadores e quatro porcas de bloqueio (Figura 21).

Aplique o autocolante de aviso no tubo transversal traseiro inferior junto do autocolante existente, logo acima do ponto de engate (Figura 22).

Utilizando as cinco braçadeiras de cabos fornecidas no kit, prenda o cabo da PTO na cablagem existente.
Ligue os cabos das baterias à bateria e instale a cobertura da bateria; consulte a Preparação da máquina.
Teste o sistema de segurança; consulte Verificação do sistema de segurança no Manual do utilizador.
Desligue o motor e inspecione a máquina para verificar se existem fugas do fluido hidráulico onde a caixa da PTO está montada no eixo da transmissão.
Note: Repare todas as fugas.
Ligue o motor e opere a PTO.
Remova o bloqueio do cilindro a partir do cilindro de elevação da plataforma e guarde-o nos suportes na parte de trás do painel do ROPS; consulte a Preparação da máquina.
Desça a plataforma e desligue o motor.
O veículo pode mover-se inesperadamente se a PTO estiver engatada e o veículo com mudança engatada, que pode resultar em ferimentos graves.
Não engate nenhuma mudança até que a PTO tenha acabado de rodar, mesmo que a embraiagem esteja pressionada.
Certifique-se de que não há pessoas em redor do eixo de saída da PTO nem na frente ou traseira do veículo.
Uma estria rotativa sem cobertura por prender a roupa e causar ferimentos graves ou morte.
Sem nenhum acessório ligado ao eixo da PTO, desengate a propulsão da PTO empurrando a alavanca da PTO para trás.
A PTO inclui um resguardo. Este resguardo tem de estar sempre instalado no veículo e em boas condições.
Desengate sempre a PTO e desligue o motor antes de colocar qualquer acessório no eixo da PTO.
Utilizar acessórios com elevada inércia (ou seja, cortadores ou sopradores) vai aumentar a quantidade de força necessária para mudar a mudança do veículo e vai danificar o eixo da transmissão, se efetuado frequentemente.
Não mude a mudança do veículo com o veículo em movimento se a PTO estiver engatada.
Utilize sempre a embraiagem de funcionamento excessivo opcional ao ligar um acessório de elevada inércia com a PTO.
A PTO vai buscar energia ao motor, através do eixo da transmissão e fornece energia através de um eixo estriado padrão de 540 rpm na traseira do veículo. A energia da PTO pode ser utilizada para acessórios móveis ou estacionários.
Note: Consulte o Manual do utilizador do acessório para obter as recomendações de RPM.
Important: Ao operar a PTO, a máquina não pode estar em movimento quando a PTO for ligada.
Engate o travão de estacionamento.
Mude a transmissão para PONTO-MORTO.
Pressione completamente o pedal da embraiagem e ligue o motor.
Note: O motor não entrará em funcionamento se a alavanca da PTO não se encontrar na posição OFF(desengatada).
Engate a PTO da seguinte forma:
Important: Não engate nem desengate a PTO em movimento, ou causará danos na PTO. Pare sempre o veículo antes de engatar a PTO.
Para máquinas com números de série 239999999 e anteriores, mova a alavanca da PTO totalmente para a frente para a posição ENGAGE (engatada).
Para máquinas com números de série 240000000 e posteriores, mova a alavanca da PTO totalmente para trás para a posição ENGAGE (engatada).
Mude a transmissão para a mudança pretendida.
Desengate o freio de estacionamento.
Solte lentamente o pedal de embraiagem.
Para parar o funcionamento da PTO, pressione completamente o pedal da embraiagem e mova a alavanca da PTO para a posição DISENGAGE (desengatada).
Note: Pode parar momentaneamente a PTO pressionando completamente o pedal da embraiagem e aguardar que a máquina pare completamente.
Important: Ao operar a PTO, a máquina não pode estar em movimento quando a PTO for ligada.
Engate o travão de estacionamento.
Mude a transmissão para PONTO-MORTO.
Pressione completamente o pedal da embraiagem e ligue o motor.
Note: O motor não entrará em funcionamento se a alavanca da PTO não se encontrar na posição Disengage (desengatada).
Engate a PTO da seguinte forma:
Important: Não engate nem desengate a PTO em movimento, ou causará danos na PTO. Pare sempre o veículo antes de engatar a PTO.
Para máquinas com números de série 239999999 e anteriores, mova a alavanca da PTO totalmente para a frente para a posição ENGAGE (engatada).
Para máquinas com números de série 240000000 e posteriores, mova a alavanca da PTO totalmente para trás para a posição ENGAGE (engatada).
Solte lentamente o pedal de embraiagem.
Para parar o funcionamento da PTO, pressione completamente o pedal da embraiagem e mova a alavanca da PTO para a posição DISENGAGE (desengatada).
Note: Pode parar momentaneamente a PTO pressionando completamente o pedal da embraiagem e aguardar que o eixo da transmissão e PTO parem completamente.