| Wartungsintervall | Wartungsmaßnahmen |
|---|---|
| Bei jeder Verwendung oder täglich |
|
Dieser handgeführte Rasenmäher mit Sichelmessern sollte von Privatleuten verwendet werden. Er ist hauptsächlich für das Mähen von Gras auf gepflegten Grünflächen in Privatanlagen gedacht. Der zweckfremde Einsatz dieser Maschine kann für Sie und Unbeteiligte gefährlich sein.
Lesen Sie diese Informationen sorgfältig durch, um sich mit dem ordnungsgemäßen Einsatz und der Wartung des Geräts vertraut zu machen und Verletzungen und eine Beschädigung des Geräts zu vermeiden. Sie tragen die Verantwortung für einen ordnungsgemäßen und sicheren Einsatz des Geräts.
Besuchen Sie www.toro.com hinsichtlich Sicherheitstipps, Schulungsunterlagen, Zubehörinformationen, Standort eines Händlers oder Registrierung des Produkts.
Wenden Sie sich an den Toro-Vertragshändler oder Kundendienst, wenn Sie eine Serviceleistung, Originalersatzteile von Toro oder weitere Informationen benötigen. Haben Sie dafür die Modell- und Seriennummern der Maschine griffbereit. In Bild 1 ist angegeben, wo an dem Produkt die Modell- und die Seriennummer angebracht sind. Tragen Sie hier die Modell- und Seriennummern des Geräts ein.
Important: Scannen Sie mit Ihrem Mobilgerät den QR-Code auf dem Seriennummernaufkleber (falls vorhanden), um auf Garantie-, Ersatzteil- oder andere Produktinformationen zuzugreifen

In dieser Anleitung werden potenzielle Gefahren angeführt, und Sicherheitshinweise werden vom Sicherheitswarnsymbol (Bild 2) gekennzeichnet. Dieses Warnsymbol weist auf eine Gefahr hin, die zu schweren oder tödlichen Verletzungen führen kann, wenn Sie die empfohlenen Sicherheitsvorkehrungen nicht einhalten.

In dieser Anleitung werden zwei Begriffe zur Hervorhebung von Informationen verwendet. Wichtig weist auf spezielle technische Informationen hin, und Hinweis hebt allgemeine Informationen hervor, die Ihre besondere Beachtung verdienen.
Dieses Produkt erfüllt alle relevanten europäischen Richtlinien; weitere Details finden Sie in der produktspezifischen Konformitätserklärung (DOC).
Brutto- oder Nettodrehmoment: Das Brutto- oder Nettodrehmoment dieses Motors wurde vom Motorhersteller im Labor gemäß SAE J1940 oder J2723 ermittelt. Aufgrund der Konfiguration zur Erfüllung von Sicherheits-, Emissions- und Betriebsanforderungen ist die tatsächliche Motorleistung in dieser Klasse der Rasenmäher wesentlich niedriger. Weitere Informationen finden Sie in der Motorbedienungsanleitung des Herstellers, die mit der Maschine ausgeliefert wurde.
Manipulieren oder deaktivieren Sie keine Sicherheitsvorrichtungen an der Maschine und prüfen Sie die einwandfreie Funktion in regelmäßigen Abständen. Modifizieren oder manipulieren Sie nicht die Bedienelemente für die Motordrehzahl, da dies zu unsicheren Einsatzbedingungen und Verletzungen führen kann.
Dieses Produkt kann Hände und Füße amputieren und Gegenstände aufschleudern. Befolgen Sie zum Vermeiden von schweren oder tödlichen Verletzungen immer alle Sicherheitshinweise.
Lesen, verstehen und befolgen Sie vor dem Anlassen des Motors alle Anweisungen und Warnungen in der Bedienungsanleitung und an der Maschine.
Berühren Sie bewegliche Teile oder die Unterseite der Maschine nicht mit den Händen oder Füßen. Bleiben Sie immer von der Auswurföffnung fern.
Bedienen Sie die Maschine niemals, wenn nicht alle Schutzvorrichtungen und Abdeckungen angebracht und funktionstüchtig sind.
Halten Sie Unbeteiligte, insbesondere Kinder, aus dem Arbeitsbereich fern. Das Fahrzeug darf niemals von Kindern betrieben werden. Nur verantwortungsbewusste Personen, die geschult und mit den Anweisungen vertraut sind und körperlich fähig sind, sollten die Maschine verwenden.
Halten Sie die Maschine an, stellen Sie den Motor ab und warten Sie, bis alle beweglichen Teile zum Stillstand gekommen sind, bevor Sie Wartungsarbeiten durchführen, Auftanken oder Verstopfungen entfernen.
Der unsachgemäße Einsatz oder die falsche Wartung
dieser Maschine kann zu Verletzungen führen. Halten Sie diese
Sicherheitsanweisungen ein, um das Verletzungsrisiko zu verringern.
Achten Sie immer auf das Sicherheitswarnsymbol
, es bedeutet Vorsicht,
Warnung oder Gefahr – Sicherheitshinweis“. Wenn
Sie diese Anweisungen nicht einhalten, kann es zu Verletzungen ggf.
tödlichen Verletzungen kommen.
![]() |
Die Sicherheitsaufkleber und Bedienungsanweisungen sind gut sichtbar; sie befinden sich in der Nähe der möglichen Gefahrenbereiche. Tauschen Sie beschädigte oder verloren gegangene Aufkleber aus. |




Important: Nehmen Sie den Kunststoffschutz ab und alle anderen Kunststoffteile oder Verpackungen ab, mit denen der Motor abgedeckt ist. Werfen Sie sie ab.

Important: Befestigen Sie das Rücklaufstarterseil in der Seilführung, um den Motor sicher und mühelos anzulassen.

Important: Wenn der Ölstand im Motor zu hoch oder zu niedrig ist und Sie den Motor laufen lassen, können Motorschäden auftreten.



| Modell | Gewicht | Länge | Breite | Höhe |
|---|---|---|---|---|
| 21771 | 35 kg | 151 cm | 59 cm | 109 cm |
Ein Sortiment an Originalanbaugeräten und -zubehör von Toro wird für diese Maschine angeboten, um den Funktionsumfang des Geräts zu erhöhen und zu erweitern. Wenden Sie sich an einen offiziellen Vertragshändler oder einen offiziellen Toro-Distributor oder navigieren Sie zu www.Toro.com für eine Liste der zugelassenen Anbaugeräte und des Zubehörs.
Verwenden Sie, um die optimale Leistung und Sicherheit zu gewährleisten, nur Originalersatzteile und -zubehörteile von Toro. Ersatzteile und Zubehör anderer Hersteller können gefährlich sein und eine Verwendung könnte die Garantie ungültig machen.
Note: Bestimmen Sie die linke und rechte Seite der Maschine anhand der üblichen Betriebsposition.
Stellen Sie die Maschine ab und warten Sie, bis alle beweglichen Teile zum Stillstand gekommen sind. Lassen Sie die Maschine abkühlen, bevor Sie diese einstellen, reinigen, verstauen, oder reparieren.
Machen Sie sich mit dem sicheren Einsatz des Geräts, der Bedienelemente und den Sicherheitsaufklebern vertraut.
Prüfen Sie, ob alle Schutzvorrichtungen und Sicherheitsvorrichtungen, wie z. B. Ablenkbleche und/oder Grasfangkörbe montiert sind und richtig funktionieren.
Überprüfen Sie immer die Maschine und stellen Sie sicher, dass die Schnittmesser und -schrauben nicht abgenutzt oder beschädigt sind.
Prüfen Sie den Arbeitsbereich der Maschine und entfernen Sie alle Objekte, die sich auf den Einsatz der Maschine auswirken oder von ihr aufgeschleudert werden könnten.
Der Kontakt mit einem sich drehenden Messers kann es zu schweren Verletzungen führen. Stecken Sie Ihre Finger nicht unter das Gehäuse.
Kraftstoff ist extrem leicht entflammbar und hochexplosiv. Feuer und Explosionen durch Kraftstoff können Verbrennungen und Sachschäden verursachen.
Stellen Sie den Kanister bzw. die Maschine vor dem Auftanken auf den Boden und nicht auf ein Fahrzeug oder auf ein Objekt, um eine elektrische Ladung durch das Entzünden des Kraftstoffs zu vermeiden.
Füllen Sie den Kraftstofftank im Freien auf, wenn der Motor kalt ist. Wischen Sie verschütteten Kraftstoff auf.
Rauchen Sie nicht beim Umgang mit Kraftstoff, und gehen Sie nicht in der Nähe von offenem Feuer oder Funken mit Kraftstoff um.
Betanken Sie die Maschine nie bei laufendem oder heißem Motor oder entfernen Sie den Tankdeckel.
Lassen Sie den Motor nie bei Kraftstoffverschüttungen an. Vermeiden Sie, dass Sie Zündquellen schaffen, bis die Kraftstoffdämpfe verdunstet sind.
Bewahren Sie Kraftstoff in vorschriftsmäßigen, für Kinder unzugänglichen Kanistern auf.
Kraftstoff ist bei Einnahme gesundheitsschädlich oder tödlich. Wenn eine Person langfristig Benzindünsten ausgesetzt ist, kann dies zu schweren Verletzungen und Krankheiten führen.
Vermeiden Sie das langfristige Einatmen von Benzindünsten.
Halten Sie Ihre Hände und das Gesicht vom Füllstutzen und der Öffnung des Kraftstofftanks fern.
Halten Sie Kraftstoff von Augen und der Haut fern.
| Typ | Bleifreies Benzin |
| Minimale Oktanzahl | 87 (US) oder 91 (Oktanzahl ermitteln; außerhalb der USA) |
| Ethanol | Nicht über 10% Volumenprozent |
| Methanol | Keine |
| MTBE (Methyl-tertiär-Butylether) | Weniger als 15% Volumenprozent |
| Öl | Vermischen Sie nie Kraftstoff mit Öl |
Verwenden Sie nur sauberen, frischen Kraftstoff (höchstens 30 Tage alt) von einem namhaften Hersteller/Quelle.
Important: Geben Sie die Menge des Kraftstoffstabilisators bzw. -konditionierers in den frischen Kraftstoff, wie vom Hersteller des Kraftstoffstabilisators vorgeschrieben, um Startprobleme zu vermeiden.
Weitere Informationen finden Sie in der Bedienungsanleitung für den Motor.
Füllen Sie den Kraftstofftank auf, wie in Bild 9 dargestellt.

| Wartungsintervall | Wartungsmaßnahmen |
|---|---|
| Bei jeder Verwendung oder täglich |
|
Important: Wenn der Ölstand im Kurbelgehäuse zu hoch oder zu niedrig ist, und Sie den Motor laufen lassen, können Motorschäden auftreten.


Sie können den Holm in Position 1 oder 2 anheben oder absenken, je nachdem welche Sie als angenehmer empfinden (Bild 11).

Entfernen Sie beide Handräder.
Stellen Sie den Griff in die gewünschte Höheneinstellung.
Befestigen Sie den Griff mit den vorher abgenommenen Griffhandrädern.
Beim Einstellen der Schnitthöhenhebel können Ihre Hände ein bewegliches Messer berühren und Sie können schwere Verletzungen erleiden.
Schalten Sie vor dem Einstellen der Schnitthöhe den Motor ab, und warten Sie, bis alle beweglichen Teile zum Stillstand gekommen sind.
Führen Sie Ihre Finger beim Einstellen der Schnitthöhe nie unter das Mähwerk.
Wenn der Motor gerade lief, ist der Auspuff heiß und Sie könnten sich verbrennen.
Berühren Sie nie den heißen Auspuff.
Stellen Sie die Schnitthöhe ein. Stellen Sie alle Räder auf die gleiche Schnitthöhe ein (Bild 12).

Tragen Sie geeignete Kleidung, u. a. eine Schutzbrille, lange Hosen, rutschfeste Arbeitsschuhe und einen Gehörschutz. Binden Sie lange Haare hinten zusammen und tragen Sie keinen Schmuck oder weite Kleidung.
Konzentrieren Sie sich immer bei der Verwendung der Maschine. Tun Sie nichts, was Sie ablenken könnte, sonst können Verletzungen oder Sachschäden auftreten.
Bedienen Sie die Maschine nicht, wenn Sie müde oder krank sind oder unter Alkohol- oder Drogeneinfluss stehen.
Das Messer ist scharf; ein Kontakt damit kann zu schweren Verletzungen führen. Stellen Sie den Motor ab und warten Sie, bis alle beweglichen Teile zum Stillstand gekommen sind, bevor Sie die Bedienungsposition verlassen.
Wenn Sie den Schaltbügel loslassen, sollten der Motor und das Messer innerhalb von drei Sekunden abstellen. Wenn dies nicht der Fall ist, setzen Sie die Maschine nicht mehr ein und wenden sich sofort an einen offiziellen Vertragshändler.
Halten Sie umstehende Personen vom Arbeitsbereich fern. Halten Sie kleine Kinder aus dem Mähbereich fern und unter Aufsicht eines verantwortlichen Erwachsenen, der nicht die Maschine bedient. Stellen Sie, wenn jemand den Arbeitsbereich betritt, sofort die Maschine ab.
Schauen Sie immer nach unten und nach hinten, bevor Sie die Maschine rückwärts bewegen.
Setzen Sie die Maschine nur bei guten Sichtverhältnissen und geeigneten Witterungsbedingungen ein. Fahren Sie die Maschine nie bei Gewitter, bzw. wenn Gefahr durch Blitzschlag besteht.
Nasses Gras und/oder nasse Blätter können zu schweren Verletzungen führen, sollten Sie darauf ausrutschen und mit dem Messer in Berührung kommen. Vermeiden Sie Mäharbeiten bei nassen Umgebungsbedingungen.
Gehen Sie beim Anfahren von blinden Ecken, Sträuchern, Bäumen und anderen Gegenständen, die Ihre Sicht behindern können, vorsichtig vor.
Werfen Sie das Schnittgut nicht gegen Personen aus. Vermeiden Sie, Material gegen eine Wand oder ein Hindernis auszuwerfen, da das Material auf Sie zurückprallen kann. Stellen Sie das/die Messer ab, wenn Sie eine Kiesoberflächen überqueren.
Achten Sie auf Löcher, Rillen, Bodenwellen, Steine oder andere verborgene Objekte. Unebenes Gelände kann dazu führen, dass Sie das Gleichgewicht oder den Halt verlieren.
Stellen Sie den Motor sofort ab, wenn der Mäher auf einen Gegenstand aufprallt oder anfängt zu vibrieren, warten, bis alle beweglichen Teile zum Stillstand gekommen sind, und ziehen den Zündkerzenstecker ab, bevor Sie den Mäher auf eventuelle Beschädigungen untersuchen. Führen Sie die erforderlichen Reparaturarbeiten aus, bevor Sie die Maschine erneut einsetzen.
Stellen Sie vor dem Verlassen der Bedienerposition den Motor ab und warten Sie, bis alle beweglichen Teile zum Stillstand gekommen sind.
Der Motor ist nach dem Betrieb sehr heiß und Sie könnten sich verbrennen. Berühren Sie nie den heißen Motor.
Betreiben Sie den Motor nur in gut belüfteten Bereichen. Abgase enthalten Kohlenmonoxid, ein geruchloses, tödliches Gift.
Prüfen Sie die Teile des Fangkorbs und des Auswurfkanals häufig auf Risse oder Abnutzung und wechseln Sie sie ggf. mit Originalteilen von Toro aus.
Mähen Sie immer quer zum Hang, nicht hangaufwärts oder -abwärts. Gehen Sie beim Richtungswechsel an Hanglagen äußerst vorsichtig vor.
Versuchen Sie nicht, steile Hanglagen zu mähen. Ein schlechter Halt kann zu Rutsch- und Fallunfällen führen.
Gehen Sie bei Mäharbeiten in der Nähe von steilen Gefällen, Gräben oder Böschungen besonders vorsichtig vor.
Drücken Sie den Schaltbügel gegen den Holm (A in Bild 13).
Ziehen Sie leicht am Rücklaufstartergriff, bis Sie einen Widerstand spüren. Ziehen Sie ihn dann kräftig durch und lassen ihn langsam in die Seilführung am Holm zurückgehen (Bin in Bild 13).

Note: Wenn der Rasenmäher nach mehreren Versuchen nicht anspringt, wenden Sie sich an den offiziellen Vertragshändler.
Um den Selbstantrieb zu benutzen, gehen Sie einfach vorwärts und halten Sie dabei Ihre Hände am oberen Bügel und Ihre Ellbogen an Ihren Seiten; die Maschine hält automatisch mit Ihnen Schritt (Bild 14).

Note: Wenn die Maschine nicht ungehindert nach dem Selbstantrieb rückwärts rollt, gehen Sie nicht weiter, lassen Sie die Hände am Bügel und lassen Sie die Maschine ein paar Zentimeter vorwärts rollen, um den Radantrieb auszukuppeln. Sie können auch unter dem oberen Holm den Metallbügel anfassen und die Maschine ein paar Zentimeter nach vorne schieben. Wenn die Maschine immer noch nicht ungehindert rückwärts rollt, wenden Sie sich an den offiziellen Vertragshändler.
| Wartungsintervall | Wartungsmaßnahmen |
|---|---|
| Bei jeder Verwendung oder täglich |
|
Lassen Sie zum Abstellen des Motors den Schaltbügel los.
Important: Wenn Sie den Schaltbügel loslassen, werden der Motor und das Messer innerhalb von drei Sekunden abgestellt. Wenn dies nicht der Fall ist, setzen Sie die Maschine nicht mehr ein und wenden Sie sich sofort an einen offiziellen Vertragshändler.
Der Rasenmäher ist werksseitig auf das Recyceln von Schnittgut und Laub eingestellt.
Wenn der Grasfangkorb an der Maschine angebracht ist, und der Hebel für den zuschaltbaren Fangkorb auf der Fangkorb-Stellung steht, schieben Sie den Hebel in die Recycler-Stellung, siehe Verwenden des Hebels für den zuschaltbaren Fangkorb.
Verwenden Sie den Fangkorb, wenn Sie Schnittgut und Laub im Fangkorb sammeln möchten.
Wenn der Hebel für den zuschaltbaren Fangkorb in der Recycler-Stellung ist, schieben Sie ihn in die Fangkorb-Stellung, siehe Verwenden des Hebels für den zuschaltbaren Fangkorb.
Wenn Sie den Fangkorb abnehmen möchten, gehen Sie umgekehrt vor als in Entfernen des Grasfangkorbs.
Mit dem zuschaltbaren Fangkorb können Sie Schnittgut und Laub entweder sammeln oder recyceln, wenn der Grasfangkorb an der Maschine angebracht ist.
Zum Sammeln des Schnittguts und Laubs drücken Sie die Taste am Hebel für den zuschaltbaren Fangkorb und bewegen den Hebel nach vorne, bis die Taste am Hebel herausspringt (Bild 16).

Zum Recyclen des Schnittguts und Laubs drücken Sie die Taste am Hebel und bewegen den Hebel nach hinten, bis die Taste am Hebel herausspringt.
Important: Stellen Sie für einen einwandfreien Betrieb den Motor ab, warten Sie, bis alle beweglichen Teile zum Stillstand gekommen sind, entfernen Sie dann Schnittgut und Rückstände von der Klappe des zuschaltbaren Fangkorbs und den umgebenden Öffnungen (Bild 17), bevor Sie die Stellung des Hebels für den zuschaltbaren Fangkorb ändern.

Prüfen Sie den Arbeitsbereich gründlich und entfernen Sie alle Objekte, die von der Maschine aufgeschleudert werden könnten.
Vermeiden Sie, dass das Messer auf Fremdkörper aufprallt. Mähen Sie nie absichtlich über irgendwelchen Gegenständen.
Stellen Sie den Motor sofort ab, wenn der Mäher auf einen Gegenstand aufprallt oder anfängt zu vibrieren, warten Sie, bis alle beweglichen Teile zum Stillstand gekommen sind, ziehen Sie den Zündkerzenstecker ab und untersuchen Sie den Mäher auf eventuelle Beschädigungen.
Um die beste Leistung zu erzielen, installieren Sie ein neues Toro Messer vor Beginn der Mähsaison oder bei Bedarf.
Mähen Sie immer nur ein Drittel des Grashalms in einem Durchgang. Mähen Sie nicht unter einer Einstellung von 51 mm, wenn das Gras sehr fein wächst, oder im Spätherbst, wenn das Graswachstum nachlässt.
Stellen Sie beim ersten Durchgang die Schnitthöhe auf die höchste Einstellung und gehen langsamer, wenn Sie Gras mähen, das länger als 15 cm ist. Mähen Sie dann noch einmal mit einer niedrigeren Einstellung, um dem Rasen das gewünschte Schnittbild zu geben. Wenn das Gras zu lang ist, kann die Maschine verstopfen und der Motor kann abstellen.
Nasses Gras und Laub neigen zum Verklumpen im Garten und können ein Verstopfen der Maschine und ein Abstellen des Motors verursachen. Vermeiden Sie Mäharbeiten bei nassen Umgebungsbedingungen.
In sehr trockenen Bedingungen besteht eine Brandgefahr. Halten Sie alle lokalen Brandgefahrwarnungen ein und entfernen Sie trockenes Gras und Laub von der Maschine.
Wechseln Sie häufig die Mährichtung. Dadurch verteilt sich das Schnittgut besser auf der Rasenfläche und bewirkt ein effektiveres Düngen.
Probieren Sie bei einem unbefriedigenden Schnittbild des Rasens eine der folgenden Abhilfen aus:
Wechseln Sie das Messer aus oder lassen Sie es schärfen.
Gehen Sie beim Mähen langsamer.
Heben Sie die Schnitthöhe der Maschine an.
Mähen Sie häufiger.
Lassen Sie die Bahnen überlappen, anstelle bei jedem Gang eine neue Bahn zu mähen.
Stellen Sie nach dem Mähen sicher, dass die Hälfte des Rasens durch die Schnittgutdecke sichtbar ist. Dabei müssen Sie unter Umständen mehrmals über das Laub mähen.
Wenn eine Laubdecke von mehr als 13 cm auf dem Rasen liegt, mähen Sie mit einer höheren Schnitthöhe und dann mit der gewünschten Schnitthöhe.
Mähen Sie langsamer, wenn die Maschine das Laub nicht fein genug häckselt.
Stellen Sie die Maschine ab und warten Sie, bis alle beweglichen Teile zum Stillstand gekommen sind. Lassen Sie die Maschine abkühlen, bevor Sie diese einstellen, reinigen, verstauen, oder reparieren.
Entfernen Sie Gras und Schmutz von der Maschine, um einem Brand vorzubeugen. Wischen Sie Öl- und Kraftstoffverschüttungen auf.
Lagern Sie die Maschine oder den Benzinkanister nie an Orten mit offener Flamme, Funken oder Zündflamme, z. B. Warmwasserbereiter, oder andere Geräte.
Gehen Sie beim Laden und Abladen der Maschine auf einen/von einem Transportmittel vorsichtig vor.
Sichern Sie die Maschine für den Transport.
| Wartungsintervall | Wartungsmaßnahmen |
|---|---|
| Nach jeder Verwendung |
|
Um die besten Ergebnisse zu erzielen, reinigen Sie die Unterseite der Maschine unmittelbar nachdem Sie mit dem Mähen fertig sind.
Senken Sie die Maschine auf die niedrigste Schnitthöhe ab.
Stellen Sie die Maschine auf eine befestigte Fläche.
Lassen Sie den Motor bei eingekuppeltem Messer laufen und sprühen Sie Wasser vor das rechte Hinterrad (Bild 18).
Note: Das Wasser spritzt dann in den Messerlaufweg und spült das Schnittgut aus.

Stellen Sie das Wasser ab, wenn kein Schnittgut mehr herausgespült wird, und schieben Sie den Rasenmäher auf einen trockenen Bereich.
Starten Sie den Motor und lassen Sie ihn für ein paar Minuten laufen, um die Unterseite der Maschine auszutrocknen, damit sie nicht rostet.
Stellen Sie die Maschine ab, ziehen Sie den Elektrostarttaste (falls vorhanden) ab und lassen Sie die Maschine abkühlen, bevor Sie diese in einem geschlossenen Raum abstellen.
Wenn Sie den Holm falsch auf- oder zusammenklappen, können Sie die Kabel beschädigen und den sicheren Geräteeinsatz gefährden.
Beschädigen Sie beim Auf- oder Zusammenklappen des Holms nicht die Kabel.
Wenden Sie sich bei einem beschädigten Kabel an einen offiziellen Vertragshändler.
Entfernen Sie die beiden Holmhandräder sowie die beiden Schlossschrauben von den Holmhalterungen (A in Bild 19) und heben Sie diese auf.
Important: Verlegen Sie beim Zusammenklappen des Holms die Kabel an der Außenseite der Holmhandräder.
Klappen Sie den Holm zusammen, indem Sie ihn nach vorne drehen (B in Bild 19).
Befestigen Sie die Holmhandräder und die Schlossschrauben an den Holmhalterungen (C in Bild 19).
Zum Aufklappen des Holms siehe Zusammen- und Aufklappen des Holms.

| Wartungsintervall | Wartungsmaßnahmen |
|---|---|
| Bei jeder Verwendung oder täglich |
|
| Nach jeder Verwendung |
|
| Alle 25 Betriebsstunden |
|
| Jährlich |
|
| Jährlich oder vor der Einlagerung |
|
Important: Beachten Sie für weitere Wartungsmaßnahmen die Motorbedienungsanleitung.
Stellen Sie die Maschine ab und warten Sie, bis alle beweglichen Teile zum Stillstand gekommen sind. Lassen Sie die Maschine abkühlen, bevor Sie diese einstellen, reinigen, verstauen, oder reparieren.
Ziehen Sie den Zündkerzenstecker ab, bevor Sie Wartungsarbeiten ausführen.
Tragen Sie beim Durchführen von Wartungsarbeiten Handschuhe und eine Schutzbrille.
Das Messer ist scharf; ein Kontakt damit kann zu schweren Verletzungen führen. Tragen Sie Handschuhe, wenn Sie das Messer warten. Führen Sie keine Reparaturen oder Modifikationen an den Messern aus.
Modifizieren Sie auf keinen Fall die Sicherheitsvorkehrungen. Prüfen Sie ihre einwandfreie Funktion in regelmäßigen Abständen.
Ein Kippen der Maschine kann zu einem Verschütten von Kraftstoff führen. Kraftstoff ist entflammbar, explosiv und kann Verletzungen verursachen. Lassen Sie den Motor laufen, bis kein Kraftstoff mehr im Tank ist, oder pumpen Sie den Kraftstoff ab. Sie sollten auf keinen Fall versuchen, Kraftstoff abzusaugen.
Um eine optimale Leistung der Maschine zu gewährleisten, verwenden Sie nur Original Ersatzteile und Zubehör von Toro. Die Verwendung von Ersatzteilen und Zubehör von anderen Herstellern kann Gefahren bergen und zum Erlöschen der Garantie führen.
Stellen Sie den Motor ab und warten Sie, bis alle beweglichen Teile zum Stillstand gekommen sind.
Ziehen Sie den Kerzenstecker von der Zündkerze ab (Bild 20).

Stecken Sie nach dem Abschluss der Wartungsarbeiten das Zündkabel wieder auf die Zündkerze.
Important: Lassen Sie den Motor laufen, bis er aufgrund von Kraftstoffmangel abstellt, bevor Sie den Rasenmäher umkippen, um das Öl oder Messer zu wechseln. Wenn Sie die Maschine kippen müssen, während sich Kraftstoff im Tank befindet, pumpen Sie den Kraftstoff mit einer Handpumpe ab. Kippen Sie die Maschine immer so auf die Seite, dass der Peilstab nach unten zeigt.
| Wartungsintervall | Wartungsmaßnahmen |
|---|---|
| Alle 25 Betriebsstunden |
|
| Jährlich |
|
Lössen Sie das Oberteil der Luftfilterabdeckung (Bild 21).

Entfernen Sie den Luftfilter (Bild 21).
Prüfen Sie den Luftfilter.
Note: Wenn der Luftfilter stark verunreinigt ist, ersetzen Sie ihn durch einen neuen. Andernfalls klopfen Sie den Luftfilter sanft auf einer harten Oberfläche aus, um Rückstände zu lösen.
Bringen Sie den Luftfilter an.
Nutzen Sie den Clip zum Wiederanbringen der Luftfilterabdeckung.
| Wartungsintervall | Wartungsmaßnahmen |
|---|---|
| Jährlich |
|
Ein Ölwechsel ist nicht erforderlich, wenn Sie jedoch das Öl wechseln möchten, führen Sie die folgenden Schritte aus.
Note: Lassen Sie den Motor ein paar Minuten laufen, bevor Sie das Öl wechseln, um es aufzuwärmen. Warmes Öl fließt besser und führt mehr Fremdstoffe mit sich.
| Motorölmenge | 0,44 Liter* |
| Ölviskosität | Waschaktives Öl der Sorte SAE 30 oder SAE 10W-30 |
| API-Klassifikation | SJ oder höher |
*Nach dem Ablassen des Öls befindet sich noch Restöl im Kurbelgehäuse. Nicht die gesamte Menge des Öls in das Kurbelgehäuse gießen. Füllen Sie das Kurbelgehäuse wie in den folgenden Schritten beschrieben mit Öl.
Stellen Sie die Maschine auf einer ebenen Fläche ab.
Siehe Vorbereiten für die Wartung.
Entfernen Sie den Peilstab, indem Sie den Deckel nach links drehen und herausziehen (Bild 22).

Kippen Sie die Maschine seitlich (Luftfilter nach oben), um das Altöl aus dem Öleinfüllstutzen abzulassen (Bild 23).

Stellen Sie die Maschine nach dem Ablassen des Altöls wieder in die Betriebsstellung.
Gießen Sie ca. ¾ der Motorölfüllmenge langsam in den Öleinfüllstutzen.
Warten Sie drei Minuten, damit sich das Öl im Motor setzen kann.
Wischen Sie den Peilstab mit einem sauberen Lappen ab.
Stecken Sie den Peilstab in den Öleinfüllstutzen, schrauben Sie ihn ein; nehmen Sie den Peilstab dann heraus.
Lesen Sie den Ölstand am Peilstab ab (Bild 22).
Wenn der Ölstand am Peilstab zu niedrig ist, füllen Sie langsam etwas Öl in den Öleinfüllstutzen, warten Sie drei Minuten und wiederholen Sie dann die Schritte 8 bis 10, bis der Ölstand am Peilstab richtig ist.
Wenn der Ölstand am Peilstab zu hoch ist, lassen Sie Öl ab, bis der Ölstand am Peilstab richtig ist.
Important: Wenn der Ölstand im Motor zu hoch oder zu niedrig ist und Sie den Motor laufen lassen, können Motorschäden auftreten.
Stecken Sie den Peilstab fest in den Einfüllstutzen.
Entsorgen Sie das Altöl ordnungsgemäß.
| Wartungsintervall | Wartungsmaßnahmen |
|---|---|
| Jährlich |
|
Important: Sie benötigen für den richtigen Einbau des Messers einen Drehmomentschlüssel. Wenn Sie keinen Drehmomentschlüssel haben oder diese Arbeit nicht ausführen möchten, wenden Sie sich an einen offiziellen Vertragshändler.
Prüfen Sie das Messer, wenn der Kraftstofftank leer ist. Wechseln Sie das Messer sofort aus, wenn es beschädigt oder gerissen ist. Schärfen Sie die Messerkante, wenn sie stumpf ist oder Einkerbungen aufweist. Wechseln Sie ggf. das Messer aus.
Das Messer ist scharf; ein Kontakt kann zu schweren Verletzungen führen.
Tragen Sie Handschuhe, wenn Sie das Messer warten.
Siehe Vorbereiten für die Wartung.
Kippen Sie die Maschine auf die Seite, sodass der Luftfilter nach oben zeigt.
Stabilisieren Sie das Messer mit einem Holzblock (Bild 24).

Nehmen Sie das Messer ab und bewahren Sie alle Befestigungsschrauben auf (Bild 24).
Setzen Sie das neue Messer und alle Schrauben auf (Bild 25).

Important: Das gebogene Ende des Messers sollte zum Mähwerkgehäuse zeigen.
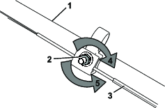
Ziehen Sie die Messerschraube mit einem Drehmomentschlüssel mit 82 N·m an.
Beim Einbau eines Selbstantriebsseils oder bei einer falschen Einstellung des Selbstantriebs müssen Sie den Selbstantrieb einstellen.
Drehen Sie die Einstellmutter nach links, um die Seileinstellung zu lösen (Bild 26).


Stellen Sie die Spannung des Seils (Bild 26) ein, indem Sie ihn zurückziehen oder nach vorne drücken und dann in dieser Stellung arretieren.
Note: Drücken Sie den Zug zur Maschine, um den Antrieb zu erhöhen; ziehen Sie den Zug vom Motor weg, um den Antrieb zu verringern.
Drehen Sie die Mutter nach rechts, um die Zugeinstellung zu anzuziehen.
Note: Ziehen Sie die Mutter mit einem Steckschlüssel oder Schraubenschlüssel fest an.
Lagern Sie die Maschine an einem kühlen, sauberen und trockenen Ort ein.
Stellen Sie die Maschine ab und warten Sie, bis alle beweglichen Teile zum Stillstand gekommen sind. Lassen Sie die Maschine abkühlen, bevor Sie diese einstellen, reinigen, verstauen, oder reparieren.
Geben Sie dem Benzin beim letzten Auftanken im Jahr einen Kraftstoffstabilisator (z. B. Toro Premium Fuel Treatment) bei, wie auf dem Etikett angegeben.
Entsorgen Sie nicht verwendeten Kraftstoff ordnungsgemäß. Recyceln Sie den Kraftstoff vorschriftsmäßig oder verwenden Sie ihn für Ihr Auto.
Important: Alter Kraftstoff im Kraftstofftank ist die häufigste Ursache für schweres Anspringen. Lagern Sie Kraftstoff ohne Stabilisator höchstens 30 Tage und lagern Sie Kraftstoff mit Stabilisator nur für die Dauer, die der Hersteller des Kraftstoffstabilisators empfiehlt.
Lassen Sie die Maschine so lange laufen, bis der Motor infolge von Benzinknappheit abstellt.
Starten Sie den Motor und lassen Sie ihn laufen, bis er abstellt. Wenn sich der Motor nicht mehr starten lässt, ist er ausreichend trocken.
Ziehen Sie den Kerzenstecker von der Zündkerze ab und schließen Sie ihn an der Befestigungsstrebe (falls vorhanden) an; nehmen Sie die Elektrostarttaste (falls vorhanden) ab.
Entfernen Sie die Zündkerze, füllen Sie 30 ml Öl in das Zündkerzenloch ein und ziehen Sie mehrmals langsam am Rücklaufstarterkabel, um das Öl im Zylinder zu verteilen und eine Korrosion des Zylinders während der Einlagerung zu vermeiden.
Stecken Sie die Zündkerze locker auf.
Ziehen Sie alle Schrauben und Muttern an.
Prüfen und ziehen Sie alle Befestigungen an.
Entfernen Sie die Zündkerze und drehen Sie den Motor schnell durch Ziehen des Rücklaufstarters, um überflüssiges Öl aus dem Zylinder zu entfernen.
Setzen Sie die Zündkerze ein und ziehen Sie sie mit einem Drehmomentschlüssel mit 20 N∙m an.
Führen Sie die empfohlenen Wartungsarbeiten durch, siehe .
Prüfen Sie den Motorölstand; siehe Prüfen des Motorölstands.
Füllen Sie frischen Kraftstofftank in den Kraftstofftank, siehe Betanken.
Schließen Sie den Zündkerzenstecker wieder an die Zündkerze an.