| Cadenza di manutenzione | Procedura di manutenzione |
|---|---|
| Prima di ogni utilizzo o quotidianamente |
|
Questo tosaerba a lame rotanti con operatore a terra è pensato per l'utilizzo da parte di privati. Il suo scopo è quello di tagliare l'erba di prati ben tenuti di complessi residenziali. L’utilizzo di questo prodotto per scopi non conformi alle funzioni per cui è stato concepito può essere pericoloso per l’utente e gli astanti.
Leggete attentamente queste informazioni al fine di utilizzare e mantenere correttamente il prodotto e di evitare infortuni e danni. Voi siete responsabili del corretto utilizzo del prodotto, all'insegna della sicurezza.
Visitate il sito www.Toro.com per maggiori informazioni, compresi suggerimenti sulla sicurezza, materiali di formazione, informazioni sugli accessori, assistenza nella localizzazione di un rivenditore o per registrare il vostro prodotto.
Per assistenza, ricambi originali Toro o ulteriori informazioni, rivolgetevi a un Distributore Toro autorizzato o a un Centro Assistenza Toro, e abbiate sempre a portata di mano il numero del modello e il numero di serie del prodotto. Figura 1 indica la posizione del numero di modello e di serie sul prodotto. Scrivete i numeri nell'apposito spazio.
Important: Con il vostro dispositivo mobile, potete scansionare il codice QR sull’adesivo del numero di serie (se presente) per accedere a informazioni su garanzia, ricambi e altre informazioni sui prodotti

Il sistema di avvertimento adottato dal presente manuale identifica i pericoli potenziali e riporta messaggi di sicurezza, identificati dal simbolo di avvertimento (Figura 2), che segnalano un pericolo in grado di provocare infortuni gravi o la morte se non si osservano le precauzioni raccomandate.

Per evidenziare le informazioni vengono utilizzate due parole. Importante indica informazioni meccaniche di particolare importanza, e Nota evidenzia informazioni generali di particolare rilevanza.
Questo prodotto è conforme a tutte le direttive europee pertinenti; vedere i dettagli nella Dichiarazione di Conformità (DICO) specifica del prodotto, fornita a parte.
Coppia lorda o netta: La coppia lorda o netta di questo motore è stata valutata in laboratorio dal produttore del motore in conformità alla norma SAE (Society of Automotive Engineers) J1940 o J2723. La configurazione rispondente ai requisiti di sicurezza, emissione e funzionamento comporta una sensibile riduzione della potenza effettiva del motore di questa classe di tosaerba. Si rimanda alle informazioni del produttore del motore fornite con la macchina.
Non manomettete o disattivate i dispositivi di sicurezza sulla macchina e verificatene il corretto funzionamento regolarmente. Non tentate di regolare o manomettere il comando di velocità del motore: così facendo potreste creare condizioni operative non sicure e determinare infortuni personali.
Questo prodotto è in grado di amputare mani e piedi e di scagliare oggetti. Rispettate sempre tutte le norme di sicurezza per evitare gravi infortuni personali o la morte.
Prima di avviare il motore leggete, comprendete ed osservate le istruzioni e le avvertenze riportate nel presente Manuale dell’operatore, sulla macchina e sugli accessori.
Non mettete le mani o i piedi vicino alle parti mobili della macchina o sotto di essa. Restate sempre lontani dall’apertura di scarico.
Non utilizzate la macchina senza che tutti gli schermi e gli altri dispositivi di protezione siano montati e funzionanti.
Tenete lontani gli astanti e i bambini dall’area operativa. Non permettete che bambini e ragazzi utilizzino la macchina. Permettete soltanto a persone responsabili, addestrate, che abbiano dimestichezza con le istruzioni e in adeguate condizioni fisiche di utilizzare la macchina.
Arrestate la macchina, spegnete il motore e attendete che tutte le parti in movimento si fermino prima di eseguire interventi di manutenzione, fare rifornimento di carburante o eliminare eventuali ostruzioni.
L’errato utilizzo o l’errata manutenzione di questa
macchina può causare infortuni. Per ridurre il rischio di incidenti,
rispettate le seguenti norme di sicurezza e fate sempre attenzione
al simbolo di allarme (
), che indica: Attenzione, Avvertenza o Pericolo
– “norme di sicurezza”. La mancanza di rispetto
delle presenti istruzioni può provocare infortuni o la morte.
![]() |
Adesivi e istruzioni di sicurezza sono chiaramente visibili all’operatore e ubicate vicino a qualsiasi area di potenziale pericolo. Sostituite eventuali adesivi se danneggiati o mancanti. |




Important: Togliete e gettate il foglio di protezione di plastica che ricopre il motore, così come qualsiasi altra plastica o elemento di confezionamento sulla macchina.
Note: Assicuratevi che i cavi siano disposti all'esterno della stegola e che non vengano schiacciati (D della Figura 3).Sono presenti 2 punti di installazione della manopola e del bullone a testa tonda. L'errata installazione della manopola e del bullone a testa tonda può rendere instabile la stegola (E di Figura 3).


Important: Per avviare il motore in modo sicuro e facile ogniqualvolta usate la macchina, montate il cavo di avviamento a strappo nel guidacavo.

Important: Non avviate il motore con il livello dell’olio troppo basso o troppo alto, per evitare di danneggiare il motore stesso.



| Modello | Peso | Lunghezza | Larghezza | Altezza |
|---|---|---|---|---|
| 21771 | 35 kg | 151 cm | 59 cm | 109 cm |
È disponibile una gamma di attrezzi ed accessori approvati da Toro per l'impiego con la macchina, per ottimizzare ed ampliare le sue applicazioni. Richiedete un elenco di tutti gli attrezzi ed accessori approvati a un Centro Assistenza Toro o a un Distributore Toro autorizzati oppure visitate il sito www.Toro.com.
Per ottenere prestazioni ottimali e mantenere la certificazione di sicurezza della macchina, utilizzate solo ricambi e accessori originali Toro. I ricambi e gli accessori realizzati da altri produttori possono essere pericolosi e tale utilizzo può rendere nulla la garanzia del prodotto.
Note: Stabilite i lati sinistro e destro della macchina dalla normale posizione operativa.
Spegnete sempre la macchina, attendete che tutte le parti in movimento si arrestino e lasciate raffreddare la macchina prima di eseguire interventi di riparazione, manutenzione, pulizia o di rimessarla.
Familiarizzate con il funzionamento sicuro dell'apparecchiatura, con i comandi dell'operatore e con gli adesivi di sicurezza.
Controllate che tutte le protezioni e i dispositivi di sicurezza, come deflettori e/o cesti di raccolta, siano montati e perfettamente funzionanti.
Controllate sempre la macchina per accertarvi che le lame e i bulloni delle lame non siano usurati o danneggiati.
Ispezionate l'area in cui userete la macchina ed eliminate tutti gli oggetti che potrebbero interferire con il suo funzionamento o che la macchina potrebbe scagliare.
Il contatto con la lama in movimento causa gravi ferite. Non mettete le dita sotto la scocca.
Il carburante è estremamente infiammabile e altamente esplosivo. Un incendio o un’esplosione di carburante possono ustionare voi ed altre persone e causare danni.
Per impedire che una carica elettrostatica faccia incendiare il carburante, mettete la tanica e/o la macchina per terra prima del riempimento, mai in un veicolo o su un oggetto.
Fate il pieno di carburante all’aria aperta, a motore freddo. Tergete il carburante versato.
Non maneggiate il carburante quando fumate o nelle adiacenze di una fiamma libera o di scintille.
Non togliete il tappo del carburante né aggiungete carburante al serbatoio mentre il motore è in funzione o caldo.
Non cercate di avviare il motore se avete versato del carburante. Non create possibili fonti di incendio finché i vapori del carburante non si saranno dissipati.
Conservate il carburante in taniche omologate e tenete lontano dalla portata dei bambini.
Se ingerito, il carburante è nocivo o fatale. L’esposizione a lungo termine ai vapori di benzina può causare gravi danni e malattie.
Evitate di respirare a lungo i vapori.
Tenete il viso e le mani lontano dagli ugelli e dall’apertura del serbatoio del carburante.
Tenete il carburante lontano dagli occhi e dalla pelle.
| Tipo | Benzina senza piombo |
| Valutazione nominale minima di ottani | 87 (USA) o 91 (ottano ricerca; al di fuori degli USA) |
| Etanolo | Non oltre il 10 % per volume |
| Metanolo | Nessuno |
| MTBE (metil terziario-butil etere) | Meno del 15 % per volume |
| Olio | Non aggiungetelo al carburante |
Utilizzate solo carburante pulito e fresco (non più vecchio di 30 giorni) proveniente da fonti autorevoli.
Important: Per ridurre i problemi di avviamento, aggiungete stabilizzatore/additivo del carburante al carburante fresco come indicato dal produttore dello stabilizzatore/additivo del carburante.
Fate riferimento al manuale del motore per avere maggiori informazioni.
Riempite il serbatoio del carburante come illustrato nella Figura 9.

| Cadenza di manutenzione | Procedura di manutenzione |
|---|---|
| Prima di ogni utilizzo o quotidianamente |
|
Important: Non avviate il motore con il livello dell’olio nel carter troppo basso o troppo alto per evitare di danneggiarlo.


Potete alzare o abbassare la stegola in 1 di 2 posizioni più comode per voi (Figura 11).

Rimuovete entrambe le manopole della stegola.
Spostate la stegola alla posizione dell'altezza desiderata.
Fissate la stegola con le relative manopole precedentemente rimosse.
Regolando le leve dell'altezza di taglio potreste toccare con le mani una lama in movimento, e infortunarvi gravemente.
Prima di regolare l’altezza di taglio, spegnete il motore e attendete che si arrestino tutte le parti in movimento.
Non inserite le dita sotto la scocca mentre regolate l'altezza di taglio.
Se il motore è stato acceso, la marmitta sarà calda e potrebbe ustionarvi.
Non avvicinatevi alla marmitta calda.
Regolate l'altezza di taglio come opportuno. Regolate tutte le ruote alla stessa altezza di taglio (Figura 12).

Indossate abbigliamento consono, comprendente occhiali di protezione, pantaloni lunghi, scarpe robuste e antiscivolo e protezioni per l’udito. Legate i capelli lunghi e non indossate indumenti larghi o gioielli pendenti.
Prestate piena attenzione quando utilizzate la macchina. Non effettuate alcuna attività che causi distrazioni; in caso contrario, potreste causare infortuni o danni alla proprietà.
Non utilizzate la macchina in caso di malattia, stanchezza o sotto l’effetto di alcol o droga.
La lama è affilata, e può causare gravi ferite. Prima di lasciare la postazione dell'operatore, spegnete il motore e attendete l'arresto di tutte le parti in movimento.
Quando rilasciate la barra di comando della lama, sia il motore sia la lama devono fermarsi entro 3 secondi. In caso contrario, smettete subito di usare il tosaerba e rivolgetevi ad un Centro Assistenza autorizzato.
Tenete lontani gli astanti dall'area operativa. Tenete i bambini piccoli fuori dall’area operativa e sotto attenta sorveglianza da parte di un adulto responsabile che non stia utilizzando la macchina. Fermate la macchina se qualcuno entra nell’area di lavoro.
Guardate sempre in basso e dietro prima di azionare la macchina in retromarcia.
Azionate la macchina soltanto in condizioni meteo idonee e di buona visibilità. Non utilizzate la macchina se c'è rischio di fulmini.
Erba e foglie bagnate possono causare gravi ferite se doveste scivolare e toccare la lama. Evitate di tosare in condizioni di bagnato.
Prestate la massima attenzione quando vi avvicinate a curve cieche, cespugli, alberi o ad altri oggetti che possano ostruire la visuale.
Non dirigete il materiale di scarico verso le persone. Evitate di scaricare il materiale contro un muro o un'ostruzione poiché potrebbe rimbalzare contro di voi. Fermate la/le lama/lame quando attraversate superfici in ghiaia.
Fate attenzione a buche, solchi, gobbe, rocce o altre insidie del terreno. Il terreno accidentato può far sì che perdiate l'equilibrio o la presa.
Se la macchina colpisce un oggetto o inizia a vibrare, spegnete immediatamente il motore, attendete l'arresto di tutte le parti in movimento e scollegate il cappellotto dalla candela prima di esaminare la macchina per escludere danni. Effettuate le riparazioni necessarie prima di riprendere a utilizzare la macchina.
Spegnete il motore e attendete che tutte le parti in movimento si fermino prima di lasciare la posizione di guida.
Se il motore è stato acceso, sarà caldo e potrebbe provocarvi ustioni. Non avvicinatevi al motore caldo.
Mettete in funzione il motore solo in zone con una buona ventilazione. I gas di scarico contengono monossido di carbonio, un veleno mortale inodore.
Controllate spesso i componenti del cesto di raccolta e il camino di scarico al fine di verificare la presenza di segni di usura o deterioramento e all’occorrenza sostituiteli con ricambi originali Toro.
Eseguite un movimento laterale, mai verso l'alto e il basso. Sulle pendenze invertite la direzione con la massima cautela.
Non tosate pendenze eccessivamente ripide. A causa della scarsa tenuta, la macchina potrebbe slittare e cadere.
Tosate con cautela in prossimità di scarpate, fossati o terrapieni.
Tenete la barra di comando delle lame contro la maniglia (A di Figura 13).
Tirate delicatamente la maniglia dell'avviatore autoavvolgente fino a quando non avvertite resistenza, poi tiratela in modo secco e lasciate che ritorni nel guidacavo sulla maniglia lentamente (B di Figura 13).

Note: Se la macchina non si avvia dopo diversi tentativi, contattate un Centro Assistenza autorizzato.
Per azionare la trazione automatica, camminate tenendo le mani sulla sezione superiore della stegola e i gomiti vicino ai fianchi; la macchina terrà automaticamente il passo (Figura 14).

Note: Se dovete fare retromarcia dopo l'utilizzo della trazione automatica ma la macchina non si sposta liberamente, arrestatevi, tenete le mani in posizione corretta e lasciate che la macchina proceda per qualche centimetro in avanti per disinserire la trazione. Potete inoltre tentare di passare sotto la maniglia superiore per raggiungere la maniglia di metallo e spingere avanti la macchina di qualche centimetro. Se la macchina ancora non arretra facilmente, contattate un Centro Assistenza autorizzato.
| Cadenza di manutenzione | Procedura di manutenzione |
|---|---|
| Prima di ogni utilizzo o quotidianamente |
|
Per spegnere il motore rilasciate la barra di comando della lama.
Important: Quando rilasciate la barra di comando della lama, sia il motore sia la lama devono fermarsi entro tre secondi. Se non si dovessero fermare perfettamente, smettete subito di usare il tosaerba e rivolgetevi ad un Centro Assistenza autorizzato.
Il tosaerba viene spedito dalla fabbrica pronto per il riciclaggio dello sfalcio e delle foglie nel tappeto erboso.
Se il cesto di raccolta è montato sulla macchina e la leva Bag-on-Demand è in posizione di raccolta spostatela in posizione di riciclaggio; fate riferimento a Utilizzo della leva Bag-on-Demand.
Utilizzate il cesto di raccolta quando desiderate raccogliere lo sfalcio e le foglie dal tappeto erboso.
Se la leva Bag-on-Demand è in posizione di riciclaggio, spostatela in posizione di raccolta; vedere Utilizzo della leva Bag-on-Demand.
Per rimuovere il cesto, eseguite le fasi in Rimozione del cesto di raccolta in ordine inverso.
La funzionalità Bag-on-Demand vi consente di raccogliere o riciclare lo sfalcio e le foglie con il cesto montato.
Per insaccare erba e sfalcio, premete il pulsante sulla leva Bag-on-Demand e spostatela in avanti fino a quando il pulsante sulla leva non si solleva di scatto (Figura 16).

Per riciclare l’erba e lo sfalcio, premete il pulsante sulla leva e spostatela indietro fino a quando il pulsante sulla leva non si solleva di scatto.
Important: Per il corretto funzionamento, spegnete il motore, attendete che tutte le parti in movimento si arrestino e poi rimuovete eventuale sfalcio e detriti dallo sportello Bag-on-Demand e dall'apertura circostante (Figura 17) prima di spostare la leva Bag-on-Demand dalla posizione 1 a un'altra posizione.

Ispezionate l'area in cui userete la macchina ed eliminate tutti gli oggetti che la macchina potrebbe scagliare.
Evitate di colpire oggetti solidi con la lama. Non tosate deliberatamente sopra un oggetto.
Se la macchina colpisce un oggetto o inizia a vibrare, spegnete immediatamente il motore, attendete l'arresto di tutte le parti in movimento, scollegate il cappellotto dalla candela ed esaminate la macchina per escludere danni.
Per prestazioni ottimali, installate una nuova lama Toro prima di iniziare la stagione di taglio o quando necessario.
Falciate soltanto un terzo del filo d'erba per volta. Non falciate con impostazioni inferiori a 51 mm, a meno che l'erba non sia rada o nel tardo autunno, quando l'erba inizia a rallentare la crescita.
Per falciare erba alta più di 15 cm, tosate prima all'altezza di taglio superiore camminando lentamente, quindi tosate di nuovo ad un'altezza inferiore per ottenere un tappeto erboso più attraente. Se l'erba è troppo alta, il tosaerba può intasarsi e arrestare il motore.
Erba e foglie bagnate tendono ad ammucchiarsi sul tappeto erboso, e possono intasare il tosaerba o arrestare il motore. Evitate di tosare in condizioni di bagnato.
In condizioni di particolare siccità prestate attenzione al rischio di incendio, seguite le relative avvertenze locali e mantenete la macchina libera da erba secca e scarti di foglie.
Alternate la direzione di tosatura, per contribuire a disperdere lo sfalcio sul tappeto erboso ed ottenere una fertilizzazione uniforme.
Se l'aspetto del tappeto erboso tosato non è soddisfacente, provate uno o più dei seguenti:
Sostituite la lama o fatela affilare.
Camminate più lentamente mentre tosate.
Alzate l'altezza di taglio del tosaerba.
Tosate l'erba più di frequente.
Sovrapponete le passate, anziché falciare un'intera andana ad ogni passata.
Dopo la tosatura del tappeto erboso, almeno metà di esso deve essere visibile attraverso le foglie. All'occorrenza, effettuate più di una sola passata sulle foglie.
Se le foglie sul prato superano i 13 cm, tagliate a un'altezza di taglio maggiore, quindi all'altezza di taglio desiderata.
Se il tosaerba non sminuzza finemente le foglie, rallentate la velocità di tosatura.
Spegnete sempre la macchina, attendete che tutte le parti in movimento si arrestino e lasciate raffreddare la macchina prima di eseguire interventi di riparazione, manutenzione, pulizia o di rimessarla.
Per prevenire un incendio, eliminate erba e detriti dalla macchina. Tergete l’olio e il carburante versati.
Non depositate mai la macchina o la tanica del carburante in presenza di fiamme libere, scintille o spie, come vicino a uno scaldabagno o altre apparecchiature.
Prestate cautela durante il carico o lo scarico della macchina.
Fissate la macchina per evitare il rotolamento.
| Cadenza di manutenzione | Procedura di manutenzione |
|---|---|
| Dopo ogni utilizzo |
|
Per ottenere i migliori risultati, pulite il sottoscocca della macchina subito dopo aver terminato il lavoro di taglio.
Abbassate la macchina all'altezza di taglio minima.
Portate la macchina su una superficie lastricata e pianeggiante.
Mentre il motore acceso e la lama è innestata, spruzzate un getto d'acqua davanti alla ruota destra posteriore (Figura 18).
Note: L'acqua verrà spruzzata attorno alla lama, eliminando lo sfalcio.

Quando non esce più sfalcio, chiudete l'acqua e trasportate il tosaerba in un luogo asciutto.
Avviate il motore per alcuni minuti per asciugare il sottoscocca e impedire che arrugginisca.
Spegnete il motore, togliete il pulsante di avviamento elettrico (se in dotazione) e lasciate raffreddare la macchina prima del rimessaggio in un'area chiusa.
L'incorretta apertura o chiusura della stegola può danneggiare i cavi e creare condizioni di utilizzo pericolose.
Fate attenzione a non danneggiare i cavi quando aprite o chiudete la stegola.
Se un cavo è danneggiato, rivolgetevi a un Centro Assistenza autorizzato.
Togliete e conservate le 2 manopole della stegola e i 2 bulloni a testa tonda dalle staffe della stegola (A della Figura 19).
Important: Mentre piegate la stegola, fate passare i cavi all'esterno delle sue manopole.
Piegate la stegola, ruotandola in avanti (B della Figura 19).
Montate, senza serrarle, le manopole della stegola e i bulloni a testa tonda sulle staffe della stegola (C della Figura 19).
Per aprire la stegola fate riferimento a Montaggio e apertura della stegola.

| Cadenza di manutenzione | Procedura di manutenzione |
|---|---|
| Prima di ogni utilizzo o quotidianamente |
|
| Dopo ogni utilizzo |
|
| Ogni 25 ore |
|
| Ogni anno |
|
| Ogni anno o prima del rimessaggio |
|
Important: Per ulteriori interventi di manutenzione si rimanda al Manuale del proprietario del motore.
Spegnete sempre la macchina, attendete che tutte le parti in movimento si arrestino e lasciate raffreddare la macchina prima di eseguire interventi di riparazione, manutenzione, pulizia o di rimessarla.
Staccate il cappellotto dalla candela prima di eseguire interventi di manutenzione.
Indossate i guanti e la protezione per gli occhi durante la manutenzione della macchina.
La lama è affilata, e può causare gravi ferite. Indossate i guanti per eseguire la manutenzione della lama. Non eseguite riparazioni o revisioni sulla lama/e.
Non manomettere i dispositivi di sicurezza. Controllatene il funzionamento ad intervalli regolari.
Inclinando la macchina potreste fare fuoriuscire il carburante. Il carburante è infiammabile, esplosivo e può causare infortuni. Fate girare il motore finché non è vuoto, o togliete la benzina con una pompa a mano; non travasatela mai per mezzo di un sifone.
Per garantire prestazioni ottimali della macchina, utilizzate solo ricambi e accessori originali Toro. I ricambi e gli accessori realizzati da altri produttori possono essere pericolosi e tale utilizzo può rendere nulla la garanzia del prodotto.
Spegnete il motore e attendete che tutte le parti in movimento si arrestino.
Scollegate il cappellotto dalla candela (Figura 20).

Al termine dell’intervento di manutenzione ricollegate il cappellotto alla candela.
Important: Prima di inclinare la macchina per il cambio dell'olio o la sostituzione della lama, utilizzatela finché il serbatoio del carburante non sarà completamente vuoto. Nel caso dobbiate inclinare la macchina prima di restare senza benzina, rimuovete il carburante dal serbatoio mediante una pompa carburante manuale. Inclinate sempre la macchina sul fianco con l'asta di livello in basso.
| Cadenza di manutenzione | Procedura di manutenzione |
|---|---|
| Ogni 25 ore |
|
| Ogni anno |
|
Sbloccate la parte superiore del coperchio del filtro dell'aria (Figura 21).

Rimuovete il filtro (Figura 21).
Controllate il filtro dell'aria.
Note: Se il filtro dell'aria è eccessivamente sporco, sostituitelo con uno nuovo. Altrimenti, picchiettatelo delicatamente su una superficie dura per staccare i detriti.
Montate il filtro dell'aria.
Utilizzate la clip per montare il coperchio del filtro dell'aria.
| Cadenza di manutenzione | Procedura di manutenzione |
|---|---|
| Ogni anno |
|
Non è necessario cambiare l'olio motore, ma qualora decidiate di farlo, seguite la procedura indicata.
Note: Fate girare il motore per alcuni minuti prima di cambiare l’olio, per riscaldarlo. L’olio caldo fluisce meglio e trasporta una maggiore quantità di sostanze inquinanti.
| Capacità dell’olio motore | 0,44 litri* |
| Viscosità dell’olio | Olio detergente SAE 30 o SAE 10W-30 |
| Classificazione di servizio API | SJ o superiore |
*Dopo il drenaggio dell’olio, ci sarà un residuo nella coppa. Non versate l’intera quantità di olio nella coppa. Riempitela con l’olio come indicato dai seguenti passaggi.
Portate la macchina su una superficie pianeggiante.
Fate riferimento a Preparazione per la manutenzione.
Girate il tappo in senso antiorario ed estraete l’asta di livello (Figura 22).

Inclinate la macchina sul fianco (di modo che il filtro dell'aria si trovi in alto) per scaricare l'olio usato attraverso il tubo di riempimento (Figura 23).

Dopo avere fatto defluire l'olio usato, riportate la macchina in posizione operativa.
Versate con cautela una quantità d'olio pari a circa ¾ della capacità del motore nel tubo di riempimento dell'olio.
Attendete per 3 minuti che l’olio si stabilizzi nel motore
Tergete l’asta con un panno pulito.
Inserite l'asta di livello nel tubo di riempimento dell'olio e avvitatela, quindi rimuovete l'asta di livello.
Controllate il livello dell’olio sull’asta (Figura 22).
Se il livello dell’olio sull’asta è troppo basso, versate con cautela una piccola quantità di olio nel relativo tubo di riempimento, attendete 3 minuti e ripetete le fasi da 8 a 10 fino a raggiungere il livello corretto sull’asta.
Se il livello dell'olio sull'asta è troppo alto, drenate l'olio in eccesso finché l'olio sull'asta non appare al livello adeguato.
Important: Non avviate il motore con il livello dell'olio troppo basso o troppo alto, per evitare di danneggiare il motore stesso.
Inserite l'asta di livello nel tubo di riempimento dell'olio e chiudete saldamente.
Riciclate correttamente l’olio esausto.
| Cadenza di manutenzione | Procedura di manutenzione |
|---|---|
| Ogni anno |
|
Important: Per il corretto montaggio della lama dovete usare una chiave torsiometrica. Se non disponete di una chiave torsiometrica o avete dubbi sull'esecuzione di questa operazione, contattate un Centro Assistenza autorizzato.
Esaminate la lama ogniqualvolta esaurite il carburante. Se la lama è danneggiata, sostituitela immediatamente. Se il tagliente è smussato o scheggiato, fatelo affilare e livellare, oppure sostituite la lama.
La lama è affilata, e può causare gravi ferite.
Indossate i guanti per eseguire la manutenzione della lama.
Fate riferimento a Preparazione per la manutenzione.
Inclinate la macchina sul fianco, con il filtro dell'aria in alto.
Usate un blocco di legno per tenere ferma la lama (Figura 24).

Togliete la lama e conservate la bulloneria di montaggio (Figura 24).
Montate la nuova lama usando la bulloneria di montaggio (Figura 25).

Important: Le estremità curve della lama devono essere rivolte verso la scocca del tosaerba.
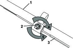
Utilizzate una chiave torsiometrica per serrare il bullone della lama a 82 N∙m.
Ogni volta che installate un nuovo cavo della trazione automatica o se la trazione non è regolata, regolate la trazione automatica.
Girate il dado di regolazione in senso antiorario per allentare la regolazione del cavo (Figura 26).


Regolate la tensione del cavo (Figura 26) tirandolo indietro o spingendolo in avanti e mantenendo quella posizione.
Note: Spingete il cavo verso il motore per aumentare la trazione; tirate il cavo lontano dal motore per ridurre la trazione.
Ruotate il dado di regolazione in senso orario per stringere la regolazione del cavo.
Note: Serrate saldamente il dado con una bussola o una chiave.
Riponete la macchina in un luogo fresco, pulito e asciutto.
Spegnete sempre la macchina, attendete che tutte le parti in movimento si arrestino e lasciate raffreddare la macchina prima di eseguire interventi di riparazione, manutenzione, pulizia o di rimessarla.
Nell'ultimo rifornimento dell'anno, aggiungete l'apposito stabilizzatore al carburante (come Toro Premium Fuel Treatment) come indicato sull'etichetta.
Smaltite ecologicamente il carburante non utilizzato. Riciclatelo secondo le normative locali o usatelo per l'automobile.
Important: Il carburante stantio nel serbatoio è la causa principale delle difficoltà di avviamento. Non stoccate il carburante senza il relativo stabilizzatore per oltre 30 giorni e non stoccate carburante stabilizzato per un periodo superiore alla durata raccomandata dal produttore dello stabilizzatore del carburante.
Lasciate in funzione la macchina fino a quando il motore non si spegne per esaurimento del carburante.
Riavviate il motore e lasciatelo girare fino allo spegnimento. Quando non si accende più, il motore è asciutto abbastanza.
Scollegate il cavo dalla candela e collegate il cavo al piolo di sostegno (se in dotazione) quindi rimuovete il pulsante di avviamento elettrico (se in dotazione).
Rimuovete la candela, aggiungete 30 ml di olio motore nel foro della candela, tirate lentamente il cavo della maniglia di avviamento a strappo più volte per distribuire l'olio nel cilindro per prevenirne la corrosione nel periodo fuori-stagione.
Montate la candela senza stringerla.
Serrate tutti i dadi, i bulloni e le viti.
Controllate tutti i dispositivi di fermo e serrateli.
Rimuovete la candela e fate girare rapidamente il motore tirando la maniglia di avviamento a strappo per eliminare l’olio in eccesso dal cilindro.
Montate la candela e serratela con una chiave torsiometrica a 20 N∙m.
Osservate le procedure di manutenzione; vedere .
Controllate il livello dell’olio motore; vedere Controllo del livello dell’olio motore.
Rabboccate il serbatoio del carburante con carburante fresco; vedere Riempimento del serbatoio del carburante.
Collegate il cappellotto alla candela.