| Vedligeholdelsesintervaller | Vedligeholdelsesprocedure |
|---|---|
| Hver anvendelse eller dagligt |
|
Denne håndplæneklipper med roterende skæreknive er beregnet til brug af boligejere. Den er primært beregnet til klipning af græs på velholdte plæner på private ejendomme. Brug af dette produkt til andre formål end det tiltænkte kan udsætte dig selv og omkringstående for fare.
Læs denne vejledning omhyggeligt, så du kan lære at betjene og vedligeholde produktet korrekt samt undgå person- og produktskade. Det er dit ansvar at betjene produktet korrekt og sikkert.
Besøg www.Toro.com for at få flere oplysninger, herunder sikkerhedstip, undervisningsmaterialer, oplysninger om tilbehør, hjælp til at finde en forhandler eller for at registrere dit produkt.
Når du har brug for service, originale Toro-dele eller yderligere oplysninger, bedes du kontakte en autoriseret serviceforhandler eller Toros kundeservice samt have produktets model- og serienummer parat. Figur 1 angiver, hvor model- og serienummeret er placeret på produktet. Skriv numrene, hvor der er gjort plads til dette.
Important: Du kan scanne QR-koden på serienummermærkaten (hvis udstyret hermed) med din mobilenhed for at få adgang til garanti, reservedele og andre produktoplysninger

Denne vejledning advarer dig om mulige farer og giver dig særlige sikkerhedsoplysninger ved hjælp af advarselssymbolet (Figur 2), der angiver en fare, som kan forårsage alvorlig personskade eller død, hvis du ikke følger de anbefalede forholdsregler.

Denne betjeningsvejledning bruger to ord til at fremhæve oplysninger. Vigtigt henleder opmærksomheden på særlige mekaniske oplysninger, og Bemærk angiver generel information, som det er værd at lægge særligt mærke til.
Dette produkt overholder alle relevante EU-direktiver. Yderligere oplysninger fås på den separate produktspecifikke overensstemmelseserklæring.
Brutto- eller nettomotormoment: Denne maskines brutto- eller nettokraftmoment er fastsat af motorfabrikanten på et laboratorium i henhold til Society of Automotive Engineers (SAE) J1940 eller J2723. På grund af de ændringer, der er foretaget for at overholde diverse sikkerheds-, emissions- og driftskrav, vil motormomentet på denne plæneklippertype reelt være betydeligt lavere. Se de oplysninger fra motorproducenten, som følger med maskinen.
Lav ikke om på og deaktiver ikke sikkerhedsanordninger på maskinen, og kontroller regelmæssigt, at de fungerer korrekt. Forsøg ikke at justere eller lave om på motorhastighedsstyringen, da dette kan føre til en usikker driftstilstand og medføre personskader.
Dette produkt kan afskære hænder og fødder samt udslynge genstande. Følg altid sikkerhedsanvisningerne for at undgå alvorlig personskade eller død.
Læs, forstå, og følg anvisninger og advarsler i denne betjeningsvejledning og på maskinen og redskaberne, inden du starter motoren.
Sørg for, at hænder og fødder ikke kommer i nærheden af bevægelige dele eller ind under maskinen. Hold afstand til udblæsningsåbninger.
Betjen ikke maskinen, uden at alle afskærmninger og øvrige sikkerhedsanordninger sidder og fungerer korrekt på maskinen.
Hold omkringstående og børn væk fra arbejdsområdet. Lad aldrig børn betjene maskinen. Lad kun personer, som er ansvarlige, uddannede, fortrolige med anvisningerne og fysisk i stand til opgaven betjene maskinen.
Stands maskinen, sluk for motoren, og vent, til alle bevægelige dele er standset, før maskinen efterses, fyldes med brændstof eller renses for tilstopninger.
Forkert brug eller forkert vedligeholdelse af maskinen kan medføre
personskade. Operatøren skal altid følge sikkerhedsanvisningerne
og være opmærksom på advarselssymbolet
, der betyder Forsigtig,
Advarsel eller Fare – personlig sikkerhedsanvisning, for at
nedsætte risikoen for personskade. Hvis disse forskrifter ikke
følges, kan det medføre personskade eller død.
![]() |
Sikkerheds- og instruktionsmærkaterne kan nemt ses af operatøren, og er placeret tæt på potentielle risikoområder. Beskadigede eller bortkomne mærkater skal udskiftes. |




Important: Fjern og kasser det beskyttende plaststykke, der dækker motoren, og alt andet plastik eller emballage på maskinen.

Important: For at starte motoren sikkert og nemt når du bruger maskinen, skal du montere snoren til tilbageslagsstarteren i snorestyret.

Important: Du risikerer at beskadige motoren, hvis du starter den, når oliestanden i motoren er for lav eller for høj.



| Model | Vægt | Længde | Bredde | Højde |
|---|---|---|---|---|
| 21771 | 35 kg | 151 cm | 59 cm | 109 cm |
Der kan fås en række forskelligt Toro-godkendt redskaber og tilbehør til brug sammen med maskinen, som gør den bedre og mere alsidig. Kontakt en autoriseret serviceforhandler eller autoriseret Toro-forhandler, eller gå ind på www.Toro.com for at få en fortegnelse over alle godkendte redskaber og alt godkendt tilbehør.
Brug kun originale Toro-reservedele og tilbehør for at sikre optimal ydelse og sikre, at maskinen fortsat overholder sikkerhedscertificeringen. Reservedele og tilbehør, der er fremstillet af andre producenter, kan være farlige, og brug heraf kan gøre garantien ugyldig.
Note: Maskinens venstre og højre side er som set fra den normale betjeningsposition.
Sluk altid motoren, vent, til alle bevægelige dele er standset, og lad maskinen køle af før justering, eftersyn og rengøring af maskinen, eller inden den stilles til opbevaring.
Bliv fortrolig med anvisningerne for sikker betjening af udstyret samt med betjeningsanordningerne og sikkerhedssymbolerne.
Kontroller, at alle afskærmninger og sikkerhedsanordninger, som f.eks. deflektorer og/eller græsfang, er på plads og fungerer korrekt.
Efterse altid maskinen for at sikre, at skæreknivene og skæreknivsboltene ikke er slidte eller beskadigede.
Efterse området, hvor maskinen skal bruges, og fjern alle objekter, som kan forstyrre betjeningen af maskinen, eller som maskinen kan risikere at udslynge.
Kontakt med den roterende kniv vil medføre alvorlig personskade. Sæt ikke hænderne ind under plæneklipperhuset.
Brændstof er meget brandfarligt og yderst eksplosivt. En brand eller eksplosion forårsaget af brændstof kan give dig eller andre forbrændinger samt medføre tingsskade.
For at undgå, at en statisk ladning antænder brændstoffet, skal beholderen og/eller maskinen placeres direkte på jorden, før de fyldes. De må ikke stå i et køretøj eller på andre genstande.
Fyld tanken udendørs i et åbent område, når motoren er kold. Tør eventuelt spildt brændstof op.
Håndter ikke brændstof, mens du ryger eller i nærheden af åben ild eller gnister.
Fjern ikke brændstofdækslet, og fyld ikke brændstof på brændstoftanken, mens motoren kører eller er varm.
Hvis du spilder brændstof, må du ikke forsøge at starte motoren. Foretag dig ikke noget, der kan antænde brændstoffet, før dampene er spredt.
Opbevar brændstof i en godkendt beholder og utilgængeligt for børn.
Brændstof er farligt og kan være dødbringende, hvis det indtages. Længere tids udsættelse for dampe kan forårsage alvorlige skader og sygdomme.
Undgå længere tids indånding af dampe.
Hold hænder og ansigt væk fra dysen og brændstoftankens åbning.
Undgå at få brændstof i øjnene eller på huden.
| Type | Blyfri benzin |
| Minimum oktantal | 87 (US) eller 91 (research-oktantal, uden for USA) |
| Ethanol | Højst 10 volumenprocent |
| Methanol | Ingen |
| MTBE (metyl-tertiær-butylæter) | Mindre end 15 volumenprocent |
| Olie | Fyld ikke i brændstoffet |
Brug kun ren, frisk (højst 30 dage gammelt) brændstof fra en kilde med godt omdømme.
Important: Tilsæt brændstofstabilisator til frisk brændstof som anvist af producenten af brændstofstabilisatoren for at reducere opstartsproblemer.
Se betjeningsvejledningen til motoren for at få yderligere oplysninger.
Fyld brændstoftanken som vist i Figur 9.

| Vedligeholdelsesintervaller | Vedligeholdelsesprocedure |
|---|---|
| Hver anvendelse eller dagligt |
|
Important: Hvis oliestanden i krumtaphuset er for lav eller for høj, og du starter motoren, risikerer du, at motoren beskadiges.


Du kan hæve eller sænke håndtaget i 1 eller 2 positioner, der er mere bekvemme for dig (Figur 11).

Fjern begge håndtagsknapper.
Flyt håndtaget til den ønskede højdeposition.
Fastgør håndtaget med de håndtagsknapper, du fjernede tidligere.
Når du justerer klippehøjdehåndtagene, kan dine hænder komme i kontakt med en skærekniv i bevægelse, og dette kan medføre alvorlige kvæstelser.
Sluk motoren, og vent, til alle bevægelige dele er standset, før du justerer klippehøjden.
Sæt ikke hænderne ind under plæneklipperhuset, når du justerer klippehøjden.
Hvis motoren lige har kørt, er lydpotten varm, og den kan forårsage alvorlige forbrændinger.
Hold afstand til den varme lydpotte.
Juster klippehøjden som ønsket. Indstil alle hjul til samme klippehøjde (Figur 12).

Bær korrekt beklædning, herunder beskyttelsesbriller, lange bukser, skridsikkert, kraftigt fodtøj og høreværn. Sæt langt hår op, og bær ikke løstsiddende tøj eller smykker.
Betjening af maskinen kræver din fulde opmærksomhed. Betjen ikke maskinen samtidig med andre distraherende aktiviteter, da dette kan medføre personskade eller tingsskade.
Betjen ikke maskinen, hvis du er syg, træt eller påvirket af alkohol eller medicin.
Skærekniven er skarp. Berøring af skærekniven kan medføre alvorlig personskade. Sluk for motoren, og vent til alle bevægelige dele er standset, før du forlader betjeningspositionen.
Når du slipper bøjlen til knivens kraftudtag, stopper motoren, og kniven bør standse inden for 3 sekunder. Hvis den ikke standser, bør du straks holde op med at bruge maskinen og kontakte en autoriseret serviceforhandler.
Hold omkringstående væk fra arbejdsområdet. Hold små børn væk fra arbejdsområdet, og lad dem være under årvågen opsyn af en ansvarlig voksen, som ikke betjener maskinen. Stop maskinen, hvis nogen kommer ind på området.
Kig altid ned og bagud, inden maskinen køres baglæns.
Betjen kun maskinen i god sigtbarhed og gode vejrforhold. Betjen ikke maskinen, når der er risiko for lynnedslag.
Vådt græs eller blade kan forårsage alvorlig personskade, hvis du glider og kommer i berøring med skærekniven. Undgå at klippe ved våde forhold.
Vær ekstremt forsigtig, når du nærmer dig blinde hjørner, buske, træer eller andre genstande, der kan blokere dit udsyn.
Undgå at rette udkastet materiale mod omkringstående personer. Undgå at udkaste materiale mod en mur eller en forhindring. Materialet kan rikochettere tilbage mod dig. Stop kniven(e) på grusbelagte overflader.
Hold udkig efter huller, hjulspor, bump, sten eller andre skjulte genstande. Ujævnt terræn kan medføre, at du mister balance eller fodfæste.
Hvis maskinen rammer en genstand eller begynder at ryste, skal du straks slukke for motoren, vente, indtil alle bevægelige dele standser, og frakoble tændrørskablet fra tændrøret, før du efterser maskinen for skader. Foretag alle nødvendige reparationer, inden driften genoptages.
Før du forlader betjeningspositionen, skal du slukke for motoren og vente, indtil alle bevægelige dele er standset.
Hvis motoren lige har kørt, vil den være varm og kan forårsage alvorlige forbrændinger. Hold afstand til den varme motor.
Betjen kun motoren i områder med god udluftning. Udstødningsgasser indeholder kulilte, som er en lugtfri, dødbringende gift.
Efterse regelmæssigt græsopsamlerens komponenter og udblæsningsslisken for slitage eller nedslidning, og udskift dem med originale Toro-dele, når det er nødvendigt.
Klip på tværs af skråninger, aldrig op og ned. Vær yderst forsigtig, når du skifter retning på skråninger.
Anvend ikke maskinen på meget stejle skrænter. Dårligt fodfæste kan medføre en faldulykke.
Klip med forsigtighed i nærheden af bratte afsatser, grøfter eller volde.
Hold bøjlen til skæreknivenes kraftudtag op mod håndtaget (A på Figur 13).
Træk let i tilbageslagsstarthåndtaget, indtil du mærker modstand, og derefter skal du trække hårdt i det og langsomt lade det vende tilbage til snorestyret på håndtaget (B på Figur 13).

Note: Hvis maskinen ikke starter efter flere forsøg, bedes du kontakte en autoriseret serviceforhandler.
Du betjener selvkørselsdrevet ved ganske enkelt at gå med hænderne på det øverste håndtag og albuerne langs siden af kroppen. Så holder maskinen automatisk trit med dig (Figur 14).

Note: Hvis maskinen ikke ruller frit tilbage efter selvkørende fremdrift, skal du holde op med at gå, holde hænderne, hvor de er, og lade maskinen rulle nogle få centimeter frem for at udkoble hjultrækket. Du kan også prøve at række ned lige under det øverste håndtag til metalhåndtaget og skubbe maskinen nogle få centimeter fremad. Hvis maskinen stadig ikke ruller frit tilbage, skal du kontakte en autoriseret serviceforhandler.
| Vedligeholdelsesintervaller | Vedligeholdelsesprocedure |
|---|---|
| Hver anvendelse eller dagligt |
|
Slip bøjlen til skæreknivenes kraftudtag for at stoppe motoren.
Important: Når du slipper bøjlen til skæreknivenes kraftudtag, skal såvel motoren som skærekniven standse inden 3 sekunder. Hvis de ikke standser, som de skal, bør du straks holde op med at bruge maskinen og kontakte en autoriseret serviceforhandler.
Maskinen er fra fabrikken klar til at findele græs- eller bladafklippet, så det forsvinder ned i plænen igen.
Hvis græsposen sidder på maskinen, og grebet til posefyldning befinder sig i opsamlingspositionen, skal du flytte grebet til findelingspositionen. Se Betjening af grebet til posefyldning.
Brug græsopsamleren, når du ønsker at opsamle græs- og bladafklippet fra plænen.
Hvis grebet til posefyldning befinder sig i findelingspositionen, skal du flytte det til opsamlingspositionen. Se Betjening af grebet til posefyldning.
Posen fjernes ved at udføre trinene i Afmontering af græsposen i omvendt rækkefølge.
Posefyldningsfunktionen gør det muligt at opsamle eller findele græs- og bladafklip, mens græsposen er monteret på maskinen.
Sådan opsamler du græs- og bladafklip i posen: Tryk på knappen, der sidder på grebet til posefyldning, og flyt grebet fremad, indtil knappen på grebet springer op (Figur 16).

Sådan findeler du græs- og bladafklippet: Tryk på knappen, der sidder på grebet, og flyt grebet bagud, indtil knappen på grebet springer op.
Important: For at opnå korrekt betjening skal du slukke motoren, vente til alle bevægelige dele stopper og derefter fjerne eventuelt græsafklip og affald fra posefyldningslemmen og åbningen rundt om (Figur 17), inden du flytter grebet til posefyldning fra 1 position til en anden.

Efterse området, hvor maskinen skal bruges, og fjern alle objekter, som maskinen kan risikere at udslynge.
Undgå at ramme faste genstande med skærekniven. Klip aldrig med vilje hen over en genstand.
Hvis maskinen rammer en genstand eller begynder at ryste, skal du straks slukke for motoren, vente, indtil alle bevægelige dele standser, frakoble tændrørskablet fra tændrøret og efterse maskinen for skader.
Monter en ny Toro-skærekniv før klippesæsonens start eller efter behov for at opnå den bedst mulige ydeevne.
Klip kun ca. en tredjedel af græsstråets længde af ad gangen. Klip ikke under indstillingen 51 mm, medmindre græsset er tyndt, eller det er sent på efteråret, hvor græsset begynder at vokse langsommere.
Når du klipper græs, der er over 15 cm højt, skal du anvende den højeste klippehøjdeindstilling og gå langsommere. Klip derefter græsset igen ved en lavere indstilling, så plænen kommer til at se smukkest ud. Hvis græsset er for højt, kan maskinen blive tilstoppet, og det kan medføre, at motoren sætter ud.
Vådt græs og blade har en tendens til at klumpe sig sammen i haven og kan forårsage, at maskinen tilstoppes, eller at motoren sætter ud. Undgå at klippe ved våde forhold.
Vær opmærksom på den mulige brandfare, når det er meget tørt. Følg alle lokale brandadvarsler, og hold maskinen fri for tørt græs og bladaffald.
Skift klipperetning. Dette medvirker til at sprede det afklippede græs ud over hele plænen, så den gødes jævnt.
Hvis den færdigklippede plæne ikke ser tilfredsstillende ud, kan du forsøge en eller flere af følgende ting:
Udskift skærekniven, eller få den slebet.
Gå langsommere, når du slår græs.
Hæv klippehøjden på maskinen.
Slå græsset hyppigere.
Lad klippebanerne overlappe i stedet for at klippe en fuld bane for hver omgang.
Når du har klippet plænen, skal du sikre dig, at halvdelen af plænen kan ses gennem det øverste dække af findelte blade. Du er muligvis nødt til at køre hen over bladene mere end én gang.
Hvis der er mere end 13 cm blade på plænen, skal du klippe med en højere klippehøjde og derefter igen med den ønskede klippehøjde.
Sæt klippehastigheden ned, hvis maskinen ikke klipper bladene fint nok.
Sluk altid motoren, vent, til alle bevægelige dele er standset, og lad maskinen køle af før justering, eftersyn og rengøring af maskinen, eller inden den stilles til opbevaring.
Rengør græs og affald fra maskinen for at forhindre brand. Tør spildt olie eller brændstof op.
Opbevar aldrig maskinen eller brændstofbeholderen på steder, hvor der er åben ild, gnister eller vågeblus, som f.eks på en vandvarmer eller på andre apparater.
Vær forsigtig ved lastning og aflastning af maskinen.
Fastgør maskinen for at forhindre den i at rulle.
| Vedligeholdelsesintervaller | Vedligeholdelsesprocedure |
|---|---|
| Efter hver anvendelse |
|
Rengør under maskinen, når du er færdig med at slå græs, for at opnå det bedste resultat.
Sænk maskinen til den laveste klippehøjdeindstilling.
Kør maskinen hen på en asfalteret overflade.
Mens motoren kører, og skærekniven er indkoblet, skal du sprøjte en vandstråle ind foran det højre baghjul (Figur 18).
Note: Vandet vil sprøjte ind på skæreknivens bane, så afklippet skylles væk.

Når der ikke kommer mere afklip ud, skal du lukke for vandet og flytte maskinen hen til et tørt sted.
Start motoren, og lad den køre i nogle få minutter for at tørre maskinens underside, så den ikke ruster.
Sluk for motoren, fjern den elektriske startknap (hvis udstyret hermed), og lad maskinen køle af, inden den stilles til opbevaring i et lukket område.
Hvis håndtaget ikke sammenfoldes og udfoldes korrekt, kan kablerne blive beskadiget, hvilket gør, at det ikke er sikkert at betjene plæneklipperen.
Pas på ikke at beskadige kablerne, når du folder håndtaget sammen eller folder det ud.
Hvis et kabel bliver beskadiget, bedes du kontakte en autoriseret serviceforhandler.
Fjern og gem de 2 håndtagsgreb og 2 bræddebolte fra håndtagsbeslagene (A på Figur 19).
Important: Før kablerne om på ydersiden af håndtagsknapperne, når du folder håndtaget.
Fold håndtaget ved at dreje det fremad (B påFigur 19).
Monter løst håndtagsgrebene og bræddeboltene på håndtagsbeslagene (C på Figur 19).
Se Samling og udfoldning af håndtaget for at folde håndtaget ud.

| Vedligeholdelsesintervaller | Vedligeholdelsesprocedure |
|---|---|
| Hver anvendelse eller dagligt |
|
| Efter hver anvendelse |
|
| For hver 25 timer |
|
| Årlig |
|
| Årlig eller før opbevaring |
|
Important: Se betjeningsvejledningen til motoren for at få yderligere oplysninger om vedligeholdelsesprocedurer.
Sluk altid motoren, vent, til alle bevægelige dele er standset, og lad maskinen køle af før justering, eftersyn og rengøring af maskinen, eller inden den stilles til opbevaring.
Kobl tændrørskablet fra tændrøret, før du udfører nogen form for vedligeholdelsesarbejde.
Bær handsker og beskyttelsesbriller ved vedligeholdelse og reparation af maskinen.
Skærekniven er skarp. Berøring af skærekniven kan medføre alvorlig personskade. Bær handsker, når du efterser skærekniven. Du må ikke reparere eller ændre skæreknivene.
Pil aldrig ved sikkerhedsanordningerne. Efterse regelmæssigt, at de fungerer korrekt.
Når du tipper maskinen, kan der løbe brændstof ud. Brændstof er brandfarligt og eksplosivt og kan forårsage personskade. Lad motoren køre tør, eller fjern brændstoffet med en håndpumpe. Tøm aldrig tanken med en hævert.
Brug kun originale Toro-reservedele og -tilbehør for at sikre optimal ydeevne fra maskinen. Reservedele og tilbehør, der er fremstillet af andre producenter, kan være farlige, og brug heraf kan gøre garantien ugyldig.
Stop motoren, og vent, til alle bevægelige dele er standset.
Kobl tændrørskablet fra tændrøret (Figur 20).

Når du har udført vedligeholdelsesarbejdet, skal du igen koble tændrørskablet til tændrøret.
Important: Før du tipper maskinen for at skifte olie eller udskifte skærekniven, skal du lade brændstoftanken løbe tør ved almindelig brug. Hvis du er nødt til at tippe maskinen, før den løber tør for brændstof, skal du fjerne brændstoffet med en håndpumpe. Tip altid maskinen over på siden med målepinden nedad.
| Vedligeholdelsesintervaller | Vedligeholdelsesprocedure |
|---|---|
| For hver 25 timer |
|
| Årlig |
|
Fjern klemmen på den øverste del af luftfilterdækslet (Figur 21).

Fjern luftfilteret (Figur 21).
Eftersyn af luftfilteret.
Note: Hvis luftfilteret er meget beskidt, skal det udskiftes med et nyt filter. Ellers skal du støde luftfilteret forsigtigt mod en hård overflade for at løsne snavs.
Monter luftfilteret.
Brug klemmen til at montere luftfilterdækslet.
| Vedligeholdelsesintervaller | Vedligeholdelsesprocedure |
|---|---|
| Årlig |
|
Det er ikke nødvendigt at skifte motorolie, men hvis du ønsker at skifte olien, skal følgende procedure anvendes.
Note: Lad motoren køre i nogle få minutter for at varme olien op, før du skifter den. Varm olie flyder lettere og fører flere forureningsstoffer med sig ud.
| Motoroliekapacitet | 0,44 l* |
| Olieviskositet | SAE 30 eller SAE 10W-30 selvrensende olie |
| API-serviceklassifikation | SJ eller højere |
*Der er olierester i krumtaphuset, efter at du har drænet olien. Hæld ikke den mængde olie, der svarer til hele motorens oliekapacitet, i krumtaphuset. Fyld krumtaphuset med olie som anvist i de følgende trin.
Parker maskinen på en plan flade.
Fjern målepinden ved at dreje dækslet mod uret og trække den ud (Figur 22).

Tip maskinen over på siden (så luftfilteret vender opad), så olien kan løbe ud af oliepåfyldningsrøret (Figur 23).

Efter aftapning af den brugte olie skal maskinen sættes tilbage i betjeningsposition.
Hæld forsigtigt ¾ af motorens oliekapacitet i påfyldningsrøret.
Vent 3 minutter, så olien bundfældes i motoren.
Tør målepinden af med en ren klud.
Sæt målepinden i oliepåfyldningsrøret, skru den på plads, og tag derefter målepinden ud.
Aflæs oliestanden på målepinden (Figur 22).
Hvis oliestanden på målepinden er for lav, skal du forsigtigt hælde en lille mængde olie i oliepåfyldningsrøret, vente 3 minutter og derefter gentage trin 8 til 10, indtil oliestanden er på det korrekte niveau på målepinden.
Hvis oliestanden på målepinden er for høj, skal den overskydende olie aftappes, indtil oliestanden befinder sig på det korrekte niveau på målepinden.
Important: Du risikerer at beskadige motoren, hvis du starter den, når oliestanden i motoren er for lav eller for høj.
Stik målepinden fast ned i oliepåfyldningsrøret.
Bortskaf den brugte olie korrekt.
| Vedligeholdelsesintervaller | Vedligeholdelsesprocedure |
|---|---|
| Årlig |
|
Important: Du skal bruge en momentnøgle for at kunne montere kniven korrekt. Hvis du ikke har en momentnøgle eller ikke føler dig tryg ved at udføre dette arbejde, kan du kontakte en autoriseret serviceforhandler.
Efterse skærekniven, hver gang du løber tør for brændstof. Hvis kniven beskadiges eller revner, skal den straks udskiftes. Hvis skæreknivens skær bliver sløvt eller får hakker, skal den slibes og afbalanceres eller udskiftes.
Kniven er skarp. Berøring af kniven kan medføre alvorlig personskade.
Bær handsker, når du udfører service på kniven.
Tip maskinen over på siden med luftfilteret opad.
Brug en træklods til at holde kniven fast (Figur 24).

Afmonter kniven, men gem alle monteringsbolte og -møtrikker (Figur 24).
Monter den nye kniv og alle monteringsboltene og -møtrikkerne (Figur 25).

Important: Placer skæreknivens krumme ender, så de peger opad mod maskinens hus.
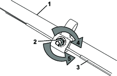
Brug en momentnøgle til at spænde skæreknivsbolten til 82 Nm.
Når du monterer et nyt selvkørselsdrevkabel, eller hvis selvkørselsdrevet kommer ud af justering, skal du justere selvkørselsdrevet.
Drej justermøtrikken mod uret for at løsne kabeljusteringen (Figur 26).


Juster stramningen på kablet (Figur 26) ved at trække det tilbage eller skubbe det frem og holde den position.
Note: Skub kablet mod motoren for at øge traktionen, og træk kablet væk fra motoren for at mindske traktionen.
Drej justermøtrikken med uret for at stramme kabeljusteringen.
Note: Stram møtrikken godt til med en topnøgle eller en skruenøgle.
Opbevar maskinen på et køligt, rent og tørt sted.
Sluk altid motoren, vent, til alle bevægelige dele er standset, og lad maskinen køle af før justering, eftersyn og rengøring af maskinen, eller inden den stilles til opbevaring.
Ved årets sidste påfyldning skal du tilsætte brændstofstabilisator (som f.eks. Toro Premium Fuel Treatment) til brændstoffet som anvist på mærkaten.
Bortskaf eventuelt ubrugt brændstof på forsvarlig vis. Genbrug det i henhold til gældende retningslinjer, eller anvend det i din bil.
Important: Gammelt brændstof i brændstoftanken er den primære årsag til startvanskeligheder. Opbevar ikke brændstof uden brændstofstabilisator i mere end 30 dage, og opbevar ikke stabiliseret brændstof længere end anbefalet af brændstofstabilisatorens producent.
Lad maskinen køre, indtil motoren standser som følge af brændstofmangel.
Start motoren igen, og lad den køre, indtil den slukker. Når du ikke længere kan starte motoren, er den løbet tilstrækkeligt tør.
Kobl kablet fra tændrøret, sæt kablet på holderen (hvis monteret), og fjern den elektriske startknap (hvis monteret).
Fjern tændrøret, hæld 30 ml motorolie ned i tændrørshullet, og træk langsomt i snoren til tilbageslagsstarteren flere gange for at fordele olien i hele cylinderen, så den ikke ruster i løbet af vinteren.
Sæt tændrøret løst i.
Spænd alle møtrikker, bolte og skruer.
Efterse og tilspænd alle beslag.
Fjern tændrøret, og kør motoren hurtigt ved at trække i tilbageslagsstarthåndtaget for at blæse overskydende olie ud af cylinderen.
Monter tændrøret, og tilspænd det med en momentnøgle til 20 N∙m.
Udfør eventuelt nødvendige vedligeholdelsesprocedurer. Se .
Kontroller motoroliestanden. Se Kontrol af motoroliestanden.
Fyld frisk brændstof på brændstoftanken. Se Påfyldning af brændstoftanken.
Sæt tændrørskablet på tændrøret.