| Underhållsintervall | Underhållsförfarande |
|---|---|
| Varje användning eller dagligen |
|
Denna gräsklippare av gåmodell med roterande knivar är avsedd att användas av privatkunder. Den är huvudsakligen konstruerad för att klippa gräs på väl underhållna gräsmattor runt bostäder. Det kan medföra fara för dig och kringstående om maskinen används i andra syften än vad som avsetts.
Läs denna information noga så att du lär dig att använda och underhålla produkten på rätt sätt, och för att undvika person- och produktskador. Du är ansvarig för att produkten används på ett korrekt och säkert sätt.
Besök www.Toro.com för mer information, inklusive säkerhetsråd, utbildningsmaterial, information om tillbehör, hjälp med att hitta en återförsäljare eller för att registrera din produkt.
Kontakta en auktoriserad återförsäljare eller Toros kundservice och ha produktens modell- och serienummer till hands om du har behov av service, Toro-originaldelar eller ytterligare information. Figur 1 visar var du finner produktens modell- och serienummer. Skriv in numren i det tomma utrymmet.
Important: Skanna rutkoden på serienummerdekalen (i förekommande fall) med en mobil enhet för att få tillgång till information om garanti, reservdelar och annat

I den här bruksanvisningen anges potentiella risker och alla säkerhetsmeddelanden har markerats med en varningssymbol (Figur 2), som anger fara som kan leda till allvarliga personskador eller dödsfall om föreskrifterna inte följs.

Två ord används också i den här bruksanvisningen för att markera information. Viktigt anger speciell teknisk information och Observera anger allmän information som är värd att notera.
Produkten uppfyller alla relevanta europeiska direktiv. Mer information finns i den separata produktspecifika försäkran om överensstämmelse.
Brutto- eller nettomoment: Motorns brutto- eller nettomoment verkstadsbedömdes av motortillverkaren i enlighet med SAE (Society of Automotive Engineers) J1940 eller J2723. Den här gräsklipparklassens faktiska motormoment kommer att vara avsevärt lägre då den är konfigurerad för att uppfylla säkerhetskrav, utsläppsföreskrifter och funktionella krav. Se motortillverkarens information som medföljer maskinen.
Säkerhetsmekanismerna får varken ändras eller inaktiveras och du bör regelbundet kontrollera att de fungerar som de ska. Försök inte att justera eller manipulera motorns hastighetsreglage. Det kan leda till ett farligt driftstillstånd, vilket kan ge upphov till personskador.
Maskinen kan slita av händer och fötter och kasta omkring föremål. Följ alltid alla säkerhetsanvisningar för att förhindra allvarliga personskador eller dödsfall.
Läs, förstå och följ anvisningarna och varningarna som finns i den här bruksanvisningen samt på maskinen och redskapen innan du startar motorn.
Håll händer och fötter på avstånd från maskinens rörliga delar samt dess undersida. Håll avstånd till utkastaröppningen.
Kör endast maskinen om skydd och andra säkerhetsanordningar sitter på plats och fungerar.
Håll kringstående och barn borta från arbetsområdet. Låt inte barn använda maskinen. Maskinen ska endast användas av personer som är ansvariga, utbildade, införstådda med anvisningarna och fysiskt kapabla att använda maskinen.
Stanna maskinen, stäng av motorn och vänta tills alla rörliga delar har stannat innan du servar, tankar eller rensar maskinen.
Felaktigt bruk eller underhåll av maskinen kan leda till
personskador. För att minska risken för skador ska du alltid
följa säkerhetsanvisningarna och uppmärksamma varningssymbolen
(
). Symbolen
betyder Var försiktig, Varning eller Fara – anvisning om
personsäkerhet. Underlåtenhet att följa anvisningarna
kan leda till personskador eller dödsfall.
![]() |
Säkerhetsdekalerna och säkerhetsinstruktionerna är fullt synliga för föraren och finns nära alla potentiella farozoner. Ersätt dekaler som har skadats eller saknas. |




Important: Ta bort och släng skyddsplasten som täcker motorn och all övrig plast eller emballage som finns på maskinen.

Important: Montera startsnöret i styrningen för att säkert och lätt starta motorn när du använder maskinen.

Important: Om oljenivån i motorn är för låg eller för hög kan motorn skadas när du kör den.



| Modell | Vikt | Längd | Bredd | Höjd |
|---|---|---|---|---|
| 21771 | 35 kg | 151 cm | 59 cm | 109 cm |
Det finns ett urval av godkända Toro-redskap och -tillbehör som du kan använda för att förbättra och utöka maskinens kapacitet. Kontakta en auktoriserad återförsäljare eller auktoriserad Toro-distributör, eller gå till www.Toro.com för att se en lista över alla godkända redskap och tillbehör.
Använd endast originalreservdelar och tillbehör från Toro för att garantera optimal prestanda och fortlöpande säkerhet för produkten. Det kan vara farligt att använda reservdelar och tillbehör från andra tillverkare och det kan göra produktgarantin ogiltig.
Note: Vänster och höger sida på maskinen är lika med förarens vänstra respektive högra sida vid normal körning.
Stäng alltid av maskinen, vänta tills alla rörliga delar har stannat och låt den svalna innan du justerar, servar, rengör eller ställer den i förvaring.
Lär dig hur man använder utrustningen på ett säkert sätt och bekanta dig med manöverorgan och säkerhetsskyltar.
Kontrollera att alla skydd och säkerhetsanordningar, såsom gräsriktare och/eller gräsuppsamlare, sitter på plats och fungerar korrekt.
Kontrollera alltid maskinen för att se om knivarna och knivbultarna är slitna eller skadade.
Inspektera området där maskinen ska användas och ta bort föremål som kan störa användningen av maskinen eller som maskinen kan slunga iväg.
Kontakt med den roterande kniven kan orsaka allvarliga skador. Stick inte in fingrarna under kåpan.
Bränsle är extremt brandfarligt och mycket explosivt. Brand eller explosion i bränsle kan orsaka brännskador och materiella skador.
Förhindra att statisk elektricitet antänder bensinen genom att ställa bensindunken och/eller maskinen direkt på marken före påfyllning, inte i ett fordon eller ovanpå ett föremål.
Fyll tanken på en öppen plats, utomhus, när motorn är kall. Torka upp utspillt bränsle.
Hantera inte bränsle när du röker eller befinner dig i närheten av en öppen låga eller gnistor.
Ta inte bort tanklocket och fyll aldrig på bränsle i bränsletanken när motorn är igång eller varm.
Om du har spillt bränsle ska du inte starta motorn. Undvik att orsaka gnistor tills bränsleångorna har skingrats.
Förvara bränslet i en godkänd behållare och förvara behållaren utom räckhåll från barn.
Bränsle är skadligt eller dödligt om det förtärs. Längre exponering för bränsleångor kan orsaka allvarliga skador och sjukdom.
Undvik att andas in bränsleångor under en längre tid.
Håll händer och ansikte borta från munstycket och bränsletankens öppning.
Håll bränsle borta från ögon och hud.
| Hjul | Blyfri bensin |
| Lägsta oktantal | 87 (USA) eller 91 (researchoktan; utanför USA) |
| Etanol | Högst 10 volymprocent |
| Metanol | Inget |
| MTBE (metyl-tert-butyleter) | Mindre än 15 volymprocent |
| Olja | Tillför inte till bränslet |
Använd endast rent, färskt (inte mer än 30 dagar gammalt) bränsle från en ansedd källa.
Important: För att minska risken för startproblem tillsätter du bränslestabiliserare/-konditionerare till färskt bränsle enligt tillverkarens anvisningar.
Du hittar mer information finns i motorns bruksanvisning.
Fyll bränsletanken enligt Figur 9.

| Underhållsintervall | Underhållsförfarande |
|---|---|
| Varje användning eller dagligen |
|
Important: Om oljenivån i vevhuset är för låg eller för hög kan motorn skadas om du kör den.


Du kan höja eller sänka handtaget till två olika lägen beroende på vad som är bekvämast för dig (Figur 11).

Avlägsna båda handtagsreglagen.
För handtaget till önskat höjdläge.
Fäst handtaget med handtagsrattarna du tog bort tidigare.
När du justerar klipphöjdsspakarna kan dina händer komma i kontakt med ett roterande knivblad, vilket kan leda till allvarliga skador.
Stäng av motorn och vänta tills alla rörliga delar har stannat innan du justerar klipphöjden.
Stick inte in fingrarna under kåpan när du justerar klipphöjden.
Om motorn har varit igång kan ljuddämparen vara het och orsaka brännskador.
Håll avstånd till den heta ljuddämparen.
Justera klipphöjden. Ställ in alla hjulen till samma klipphöjd (Figur 12).

Använd lämpliga kläder, inklusive ögonskydd, långbyxor, rejäla och halkfria skor samt hörselskydd. Sätt upp långt hår och använd inte hängande smycken eller löst sittande kläder.
Håll koncentrationen helt på maskinen när du använder den. Delta inte i aktiviteter som kan distrahera dig, eftersom personskador eller materiella skador då kan uppstå.
Kör inte maskinen om du är sjuk, trött eller påverkad av alkohol eller läkemedel.
Kniven är skarp – kontakt med kniven kan orsaka allvarliga personskador. Stäng av motorn och vänta tills alla rörliga delar har stannat innan du lämnar förarplatsen.
Motorn ska stängas av och kniven ska stanna inom tre sekunder när du släpper knivstyrstången. Om de inte stannar ska du genast sluta använda maskinen och kontakta en auktoriserad återförsäljare.
Håll kringstående på säkert avstånd från arbetsområdet. Håll små barn på säkert avstånd från arbetsområdet och under uppsyn av den ansvarade vuxna personen som inte använder maskinen. Stäng av maskinen om någon kommer i närheten av klippområdet.
Titta alltid nedåt och bakom dig innan du kör maskinen bakåt.
Använd endast maskinen när sikten och väderförhållandena är goda. Använd inte maskinen när det finns risk för blixtnedslag.
Vått gräs och våta löv kan orsaka allvarliga skador om du halkar och rör vid kniven. Undvik att klippa under våta förhållanden.
Var extra försiktig i närheten av skymda hörn, buskage, träd eller andra föremål som kan försämra sikten.
Rikta inte utkastaren mot andra människor. Undvik att kasta ut material mot väggar och föremål. Materialet kan kastas tillbaka mot dig. Stanna kniven eller knivarna när du korsar grusytor.
Se upp för hål, rötter, ojämnheter, stenar och andra dolda risker. Ojämn terräng kan få dig att tappa balansen eller fotfästet.
Om du kör på något föremål eller om maskinen börjar vibrera ska du omedelbart stänga av motorn, vänta tills alla rörliga delar har stannat och ta bort tändkabeln från tändstiftet innan du kontrollerar om maskinen har skadats. Reparera alla skador innan du börjar köra maskinen igen.
Stäng av motorn och vänta tills alla rörliga delar har stannat innan du lämnar förarplatsen.
Om motorn har varit igång kommer den att vara het och kan orsaka brännskador. Håll avstånd till den heta motorn.
Kör endast motorn i välventilerade utrymmen. Avgaserna innehåller kolmonoxid, vilket är en luktfri, dödligt giftig gas.
Kontrollera ofta om gräsutkastarens komponenter och utkastarrännan är slitna eller skadade och byt vid behov ut dem mot äkta Toro-originaldelar.
Klipp alltid tvärgående över sluttningar, aldrig upp och ner. Var mycket försiktig när du svänger i sluttningar.
Klipp inte i väldigt branta sluttningar. Dåligt fotfäste kan göra att du halkar och faller.
Var försiktig när du klipper i närheten av stup, diken och flodbäddar.
Håll knivstyrstången mot handtaget (A i Figur 13).
Dra lätt i startsnörehandtaget tills du känner motstånd. Dra sedan kraftigt och låt det sakta gå tillbaka till styrningen på handtaget (B i Figur 13).

Note: Kontakta en auktoriserad återförsäljare om maskinen fortfarande inte startar efter flera försök.
När du ska köra med drivning går du helt enkelt rakt fram med händerna på det övre handtaget och armbågarna längs sidorna. Maskinen håller automatiskt samma tempo som du (Figur 14).

Note: Om maskinen inte rullar bakåt av sig själv efter självdrivning stannar du, håller händerna stilla och låter maskinen rulla några centimeter framåt så att drivhjulet kopplas ur. Du kan även försöka att sträcka in handen till metallhandtaget precis under det övre handtaget och skjuta maskinen några centimeter framåt. Om maskinen fortfarande inte rullar bakåt med lätthet kontaktar du en auktoriserad återförsäljare.
| Underhållsintervall | Underhållsförfarande |
|---|---|
| Varje användning eller dagligen |
|
Stäng av motorn genom att släppa knivstyrstången.
Important: När du släpper knivstyrstången ska både motorn och kniven stanna inom tre sekunder. Om de inte stannar ordentligt slutar du genast att använda maskinen och kontaktar en auktoriserad återförsäljare.
Din gräsklippare levereras färdig för att kunna återvinna gräs och lövklipp tillbaka ned i gräsmattan.
Om gräsuppsamlaren är monterad på maskinen och snabbutlösarspaken är i uppsamlingsläget ska du flytta spaken till återvinningsläget. Se Använda uppsamlingspåsens snabbutlösarspak.
Använd gräsuppsamlaren när du vill samla upp gräs- och lövklipp från gräsmattan.
Om uppsamlingspåsens snabbutlösarspak är i återvinningsläget ska du flytta den till uppsamlingsläget. Se Använda uppsamlingspåsens snabbutlösarspak.
Utför stegen i avsnittet Ta bort gräsuppsamlaren i omvänd ordning för att ta bort uppsamlaren.
Med hjälp av snabbutlösningsfunktionen kan du antingen samla upp eller återvinna gräs- och lövklipp medan gräsuppsamlaren är monterad på maskinen.
Om du vill samla upp gräs- och lövklipp trycker du på knappen på uppsamlingspåsens snabbutlösarspak och för spaken framåt tills knappen på spaken hoppar upp (Figur 16).

Om du vill återvinna gräs- och lövklippet trycker du på knappen på spaken och för spaken bakåt tills knappen på spaken hoppar upp.
Important: För korrekt drift måste du stänga av motorn, vänta tills alla rörliga delar har stannat och sedan ta bort gräsklipp och skräp på utlösningsluckan och den omgivande öppningen (Figur 17) innan du flyttar snabbutlösarspaken från ett läge till ett annat.

Inspektera området där maskinen ska användas och ta bort föremål som maskinen kan slunga omkring.
Undvik att låta kniven gå emot massiva objekt. Kör aldrig avsiktligt över ett föremål.
Om du kör på något föremål eller om maskinen börjar vibrera stänger du omedelbart av motorn. Vänta tills alla rörliga delar har stannat. Ta därefter bort tändkabeln från tändstiftet och kontrollera om maskinen har skadats.
Montera en ny Toro-kniv när klippsäsongen börjar eller vid behov (på så sätt får du bästa möjliga resultat).
Klipp endast cirka en tredjedel av grässtrået åt gången. Klipp inte med en inställning som är lägre än 51 mm, såvida inte gräset är glest eller det är sent på hösten då gräset växer långsammare.
Om du klipper gräs som är mer än 15 cm högt kan det vara bra att först klippa med den högsta klipphöjdsinställningen och gå sakta, och sedan klippa en gång till med en lägre klipphöjd för att få bästa klippresultat. Om gräset är för högt kan klipparen täppas igen och det kan leda till motorstopp.
Vått gräs och våta löv har en tendens att klumpas ihop på marken, vilket kan leda till motorstopp eller till att klipparen täpps igen. Undvik att klippa under våta förhållanden.
Tänk på brandfaran vid mycket torra förhållanden, följ alla lokala brandvarningar och håll maskinen ren från torrt gräs och löv.
Byta klippriktning. Det underlättar fördelningen av det klippta gräset vilket ger en jämn gödning.
Försök med en eller flera av åtgärderna nedan om du inte är nöjd med klippresultatet:
Byt ut kniven eller låt slipa den.
Gå saktare när du klipper.
Höj gräsklipparens klipphöjdsinställning.
Klipp gräset oftare.
Överlappa klippsvepningarna istället för att klippa en hel svepning varje gång.
Efter avslutad klippning bör halva gräsmattan synas genom täcket av sönderskurna löv. Det kan vara nödvändigt att gå över löven mer än en gång.
Om lövtäcket på gräsmattan är högre än 13 cm klipper du först på en högre klipphöjd och sedan igen på önskad klipphöjd.
Sänk klipphastigheten om gräsklipparen inte skär löven tillräckligt fint.
Stäng alltid av maskinen, vänta tills alla rörliga delar har stannat och låt den svalna innan du justerar, servar, rengör eller ställer den i förvaring.
Ta bort gräs och skräp från maskinen för att förebygga brand. Torka upp eventuellt olje- eller bränslespill.
Förvara aldrig maskinen eller bränslebehållaren i närheten av en öppen låga, gnista eller ett kontrolljus, t.ex. nära en varmvattenberedare eller någon annan anordning.
Var försiktig när du lastar på eller av maskinen.
Se till att maskinen inte kan rulla.
| Underhållsintervall | Underhållsförfarande |
|---|---|
| Efter varje användning |
|
För bästa resultat bör du rengöra under maskinen kort efter att du har slutat klippa.
Sänk maskinen till den lägsta klipphöjdsinställningen.
Flytta maskinen till en plan, stenbelagd yta.
Spruta en vattenstråle framför det högra bakhjulet medan motorn är igång och kniven är inkopplad (Figur 18).
Note: Vattnet kommer att skvätta upp längs kniven och skölja bort klippet.

Stäng av vattnet och flytta gräsklipparen till ett torrt område när det inte längre kommer ut något klipp.
Kör motorn i några minuter för att låta undersidan av maskinen torka så att den inte rostar.
Stäng av motorn, avlägsna knappen till den elektriska startmotorn (i förekommande fall) och låt maskinen svalna innan den ställs undan i ett slutet utrymme.
Om du fäller upp eller ned handtaget på fel sätt kan detta skada kablar och leda till ett farligt driftstillstånd.
Skada inte kablarna när du fäller upp och ned handtaget.
Kontakta en auktoriserad återförsäljare om en kabel skadas.
Ta bort och spara de två handtagsvreden och två vagnsskruvarna från handtagsfästena (A i Figur 19).
Important: Dra kablarna på utsidan av handtagsvreden när du fäller ihop handtaget.
Fäll ned handtaget genom att vrida det framåt (B i Figur 19).
Montera handtagsvreden och vagnsskruvarna löst på handtagsfästena (C i Figur 19).
Se Montera och fälla upp handtaget för anvisningar om hur du fäller upp handtaget.

| Underhållsintervall | Underhållsförfarande |
|---|---|
| Varje användning eller dagligen |
|
| Efter varje användning |
|
| Var 25:e timme |
|
| Årligen |
|
| Årligen eller före förvaring |
|
Important: Ytterligare information om underhållsrutiner finns i bruksanvisningen till motorn.
Stäng alltid av maskinen, vänta tills alla rörliga delar har stannat och låt den svalna innan du justerar, servar, rengör eller ställer den i förvaring.
Lossa tändkabeln från tändstiftet innan du utför underhåll.
Använd handskar och ögonskydd när du servar maskinen.
Kniven är skarp – kontakt med kniven kan orsaka allvarliga personskador. Använd handskar när du servar kniven. Reparera eller ändra inte kniven/knivarna.
Mixtra aldrig med säkerhetsbrytarna. Kontrollera regelbundet att de fungerar som de ska.
Bränslet kan läcka ut när man tippar maskinen. Bränslet är brandfarligt, explosivt och kan orsaka personskador. Kör motorn tills tanken är tom eller töm tanken på bensin med en handpump; sug aldrig ut med en hävert.
Använd endast Toros originalreservdelar och tillbehör för att se till att maskinen fungerar säkert och optimalt. Det kan vara farligt att använda reservdelar och tillbehör från andra tillverkare och det kan göra produktgarantin ogiltig.
Stäng av motorn och vänta tills alla rörliga delar har stannat.
Lossa tändkabeln från tändstiftet (Figur 20).

Anslut tändkabeln till tändstiftet efter att du utfört underhåll.
Important: Kör motorn som vanligt tills bränsletanken är tom innan du tippar maskinen för att byta olja eller kniv. Använd en handpump för att avlägsna bränslet om du måste tippa maskinen innan bränslet har tagit slut. Tippa alltid maskinen på sidan med oljestickan nedåt.
| Underhållsintervall | Underhållsförfarande |
|---|---|
| Var 25:e timme |
|
| Årligen |
|
Öppna klämman överst på luftfilterkåpan (Figur 21).

Ta bort luftfiltret (Figur 21).
Kontrollera luftfiltret.
Note: Byt ut filtret mot ett nytt om det är mycket smutsigt. Annars kan du knacka filtret försiktigt mot en hård yta för att lossa på skräpet.
Sätt tillbaka luftfiltret.
Montera luftfilterkåpan med hjälp av klämman.
| Underhållsintervall | Underhållsförfarande |
|---|---|
| Årligen |
|
Det är inte ett krav att byta motorolja, men om du vill byta den ska du följa nedanstående anvisningar.
Note: Kör motorn i några minuter före oljebytet för att värma oljan. Varm olja rinner lättare och för med sig mer föroreningar.
| Motoroljevolym | 0,44 liter* |
| Oljeviskositet | SAE 30 eller SAE 10W-30 (renande olja) |
| API-klassificering | SJ eller högre |
*Det finns överskottsolja i vevhuset efter att du tömt ut oljan. Häll inte i fullt med olja i vevhuset. Fyll vevhuset med olja enligt anvisningarna i följande steg.
Flytta maskinen till ett plant underlag.
Lossa oljestickan genom att vrida locket moturs och dra stickan uppåt (Figur 22).

Tippa maskinen på sidan (med luftfiltret uppåt) för att tömma ut den gamla oljan från påfyllningsröret (Figur 23).

När du har tömt ur oljan återställer du maskinen till arbetsläget.
Fyll långsamt oljepåfyllningsröret med cirka tre fjärdedelar av den olja som ryms i motorn.
Vänta i tre minuter tills oljan har lagt sig i motorn.
Torka av oljestickan med en ren trasa.
Sätt i oljestickan i oljepåfyllningsröret och skruva fast den, och ta sedan ut stickan igen.
Läs av oljenivån på oljestickan (Figur 22).
Om oljestickan visar att oljenivån är för låg fyller du försiktigt på lite olja i påfyllningsröret, väntar i tre minuter och upprepar steg 8 till 10 tills oljestickan visar korrekt nivå.
Om oljestickan visar att oljenivån är för hög tappar du ut överflödig olja tills oljestickan visar korrekt nivå.
Important: Om oljenivån i motorn är för låg eller för hög kan motorn skadas när du kör den.
Sätt tillbaka oljestickan i påfyllningsröret ordentligt.
Lämna in oljan på godkänd återvinningsstation.
| Underhållsintervall | Underhållsförfarande |
|---|---|
| Årligen |
|
Important: För att montera kniven korrekt behöver du en momentnyckel. Om du inte har någon momentnyckel eller inte vill utföra den här proceduren kontaktar du en auktoriserad återförsäljare.
Kontrollera kniven varje gång bränslet tar slut. Byt omedelbart ut kniven om den är skadad eller sönder. Byt ut kniven eller låt slipa och balansera den om bladet är slött eller repigt.
Kniven är skarp – kontakt med kniven kan orsaka allvarliga personskador.
Använd handskar då du handskas med kniven.
Lägg klipparen på sidan med luftfiltret uppåt.
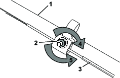
Håll kniven stilla med hjälp av en träkloss (Figur 24).

Ta bort kniven och spara alla monteringsdelar (Figur 24).
Sätt fast den nya kniven och alla monteringsdelar (Figur 25).

Important: Låt knivens böjda del peka mot klipparkåpan.
Använd en momentnyckel för att dra åt knivskruven till 82 Nm.
Om du monterar en ny drivkabel eller om självdrivningen inte är korrekt inställd ska du justera den.
Vrid justeringsmuttern moturs för att lossa kabeljusteringen (Figur 26).


Justera kabelspänningen (Figur 26) genom att dra den tillbaka eller trycka den framåt och sedan hålla den i det läget.
Note: Tryck kabeln mot motorn för att öka drivkraften och dra kabeln bort från motorn för att minska drivkraften.
Vrid justeringsmuttern medurs för att dra åt kabeljusteringen.
Note: Dra åt muttern ordentligt med en hylsa eller skiftnyckel.
Förvara maskinen i ett svalt, rent och torrt utrymme.
Stäng alltid av maskinen, vänta tills alla rörliga delar har stannat och låt den svalna innan du justerar, servar, rengör eller ställer den i förvaring.
När du ska fylla på bränsle för sista gången på året ska du tillsätta en stabiliserare (t.ex. Toro Premium Fuel Treatment) i bränslet.
Kassera oanvänt bränsle på lämpligt sätt. Lämna in bränslespill till återvinning eller använd det i bilen.
Important: Gammalt bränsle i bränsletanken är den vanligaste orsaken till att det är svårt att starta gräsklipparen. Förvara inte bränslet utan en bränslestabiliserare i mer än 30 dagar, och förvara inte stabiliserat bränsle under en längre tid än vad som rekommenderas av bränslestabiliserarens tillverkare.
Kör maskinen tills motorn stängs av på grund av bränslestopp.
Starta motorn igen och kör tills den stängs av. När du inte kan starta motorn längre är den tillräckligt torr.
Lossa tändkabeln från tändstiftet och anslut kabeln till kabelhållaren (i förekommande fall) och ta bort knappen till den elektriska startmotorn (i förekommande fall).
Ta bort tändstiftet, tillsätt 30 ml motorolja genom tändstiftshålet och dra sakta i startsnöret flera gånger för att fördela oljan i cylindern. Detta förhindrar att cylindern rostar när maskinen inte används.
Montera tändstiftet löst.
Dra åt alla muttrar, bultar och skruvar.
Kontrollera och dra åt alla fästelement.
Ta bort tändstiftet och dra runt motorn hastigt genom att dra i startsnörets handtag för att blåsa bort överflödig olja från cylindern.
Montera tändstiftet och dra åt det med en momentnyckel till 20 Nm.
Utför tillämpligt underhåll. Se .
Kontrollera motoroljenivån. Se Kontrollera oljenivån i motorn.
Fyll på färsk bensin i bränsletanken enligt Fylla på bränsletanken.
Anslut tändkabeln till tändstiftet.