| Interval servisa održavanja | Postupak održavanja |
|---|---|
| Prije svake uporabe ili svakodnevno |
|
Ova kosilica s rotacijskim noževima namijenjena je kućevlasnicima. Prvenstveno je namijenjena košenju trave na dobro održavanim travnjacima okućnica. Upotreba ovog proizvoda u bilo koju drugu svrhu osim one za koju je namijenjen može biti opasna za vas i prolaznike.
Pažljivo pročitajte ove informacije kako biste naučili ispravno upravljati uređajem i održavati ga te kako biste izbjegli tjelesne ozljede i oštećenja uređaja. Odgovorni ste za ispravno i sigurno upravljanje uređajem.
Na internetskoj stranici www.Toro.com možete dobiti više informacija, uključujući sigurnosne savjete, materijale za obuku rukovatelja, informacije o dodatnoj opremi, pomoć pri nalaženju distributera ili možete registrirati uređaj.
Ako vam je potreban servis, originalni dijelovi proizvođača Toro ili dodatne informacije, obratite se ovlaštenom serviseru ili službi za korisnike tvrtke Toro i pripremite broj modela i serijski broj svog uređaja. Slika 1 prikazuje lokaciju broja modela i serijskog broja na uređaju. Upišite brojeve na za to predviđeno mjesto.
Important: S pomoću mobilnog uređaja možete skenirati QR kod na naljepnici sa serijskim brojem (ako postoji) kako biste pristupili podacima o jamstvu i dijelovima te ostalim informacijama o proizvodu

U ovom su priručniku navedene moguće opasnosti i sigurnosne poruke označene simbolom sigurnosnog upozorenja (Slika 2), koji upućuje na opasnost od teških ozljeda ili smrti u slučaju nepridržavanja preporučenih mjera opreza.

U priručniku se informacije ističu dvjema riječima. Riječ Važno upućuje na posebne mehaničke informacije, a riječ Napomena na opće informacije na koje treba obratiti posebnu pažnju.
Ovaj je uređaj u skladu sa svim relevantnim direktivama EU-a. Za više detalja pogledajte zasebnu izjavu o sukladnosti (DOC) za ovaj uređaj.
Bruto ili neto zakretni moment: bruto ili neto zakretni moment ovog motora ocijenio je proizvođač motora u laboratoriju u skladu s Društvom automobilskih inženjera (engl. Society of Automotive Engineers, SAE) J1940 ili J2723. Budući da je konfiguriran kako bi ispunio zahtjeve u pogledu sigurnosti, emisija i rada, stvarni zakretni moment motora u ovom razredu kosilice bit će znatno niži. Pogledajte informacije proizvođača motora priložene uređaju.
Nemojte neovlašteno mijenjati ili deaktivirati sigurnosne uređaje kojima je prozračivač opremljen i redovito provjeravajte funkcioniraju li ispravno. Nemojte podešavati ili neovlašteno mijenjati regulator brzine motora jer mogu nastati opasni uvjeti u kojima može doći do tjelesnih ozljeda.
Ovaj uređaj može amputirati ruke i noge i odbacivati predmete. Uvijek se pridržavajte svih sigurnosnih uputa kako biste izbjegli teške tjelesne ozljede ili smrt.
Prije pokretanja motora s razumijevanjem pročitajte i slijedite upute i upozorenja navedena u ovim Uputama za upotrebu te na uređaju i njegovim priključcima.
Ne približavajte ruke ili noge pomičnim dijelovima uređaja i ne stavljajte ih ispod uređaja. Ne približavajte se otvorima izbacivača.
Ne upravljajte uređajem ako na njemu nisu postavljeni svi štitovi i drugi funkcionalni zaštitni uređaji koji ispravno rade.
Osigurajte da prolaznici i djeca budu izvan područja rada uređaja. Ne dopuštajte djeci da upravljaju uređajem. Uređajem smiju upravljati isključivo osobe koje su odgovorne, osposobljene, upoznate s Uputama i koje su fizički za to u stanju.
Prije servisiranja, ulijevanja goriva ili odčepljivanja uređaja zaustavite uređaj, isključite motor i pričekajte da se zaustave svi pomični dijelovi.
Neispravna upotreba ili održavanje ovog uređaja
može dovesti do ozljeda. Kako biste smanjili mogućnost
ozljeda, pridržavajte se ovih sigurnosnih uputa i uvijek obraćajte
pažnju na simbol sigurnosnog upozorenja
, koji označava Oprez,
Upozorenje ili Opasnost – upute za osobnu sigurnost. Nepridržavanje
uputa može dovesti do tjelesnih ozljeda ili smrti.
![]() |
Sigurnosne naljepnice i upute lako su vidljive korisniku i nalaze se blizu svih područja potencijalne opasnosti. Zamijenite sve naljepnice koje su oštećene ili otpale. |




Important: Uklonite i bacite zaštitnu plastičnu foliju kojom je pokriven motor kao i ostalu plastičnu zaštitu i ambalažu koja se nalazi na uređaju.

Important: Kako biste sigurno i lako pokrenuli motor kad god koristite uređaj, postavite uže za ručno pokretanje u vodilicu užeta.

Important: Ako pokrenete motor dok je razina ulja u motoru previsoka ili preniska, može doći do oštećenja motora.



| Model | Težina | Dužina | Širina | Visina |
|---|---|---|---|---|
| 21771 | 35 kg | 151 cm | 59 cm | 109 cm |
Dostupan je niz priključaka i dodatne opreme za poboljšavanje i proširivanje mogućnosti uređaja koje je odobrila tvrtka Toro. Obratite se ovlaštenom serviseru ili distributeru tvrtke Toro ili posjetite stranicu www.Toro.com za popis svih odobrenih priključaka i dodatne opreme.
Kako biste osigurali optimalnu učinkovitost i daljnju primjenjivost certifikata o sigurnosti uređaja, upotrebljavajte samo originalne zamjenske dijelove i dodatnu opremu tvrtke Toro. Zamjenski dijelovi i dodatna oprema drugih proizvođača mogu biti opasni, a njihova upotreba može poništiti jamstvo.
Note: Odredite lijevu i desnu stranu uređaja s uobičajenog vozačevog položaja.
Prije podešavanja, servisiranja, čišćenja ili skladištenja uređaja obavezno isključite uređaj, pričekajte da se svi pomični dijelovi zaustave i pustite da se uređaj ohladi.
Upoznajte se sa sigurnim radom s opremom, komandama i sigurnosnim znakovima.
Provjerite jesu li na uređaju postavljeni svi štitnici i sigurnosni uređaji poput usmjerivača i/ili hvatača trave i jesu li funkcionalni.
Uvijek pregledajte uređaj kako biste osigurali da noževi i vijci noževa nisu istrošeni ili oštećeni.
Pregledajte područje na kojem namjeravate upotrebljavati uređaj i uklonite sve predmete koji bi mogli ometati rad uređaja ili koje bi uređaj mogao odbaciti.
Kontakt s pokretnim noževima uzrokovat će ozbiljne ozljede. Ne posežite prstima ispod kućišta.
Gorivo je izuzetno zapaljivo i vrlo eksplozivno. Požar ili eksplozija uzrokovana gorivom mogu uzrokovati opekline kod vas i drugih ljudi i oštetiti imovinu.
Nemojte puniti spremnik za gorivo unutar vozila ili zatvorenog prostora, nego postavite spremnik i/ili uređaj izravno na tlo kako statički naboj ne bi zapalio gorivo.
Punite spremnik za gorivo na otvorenom kad je motor hladan. Obrišite gorivo ako se prolije.
Nemojte rukovati gorivom dok pušite ili u blizini otvorenog plamena ili iskri.
Ne uklanjajte čep spremnika za gorivo i ne dolijevajte gorivo u spremnik dok je motor upaljen ili vruć.
Ako prolijete gorivo, ne pokrećite motor. Izbjegavajte stvaranje izvora paljenja dok se pare goriva ne rasplinu.
Skladištite gorivo u odobrenom spremniku i držite ga izvan dohvata djece.
Gorivo je štetno ako se proguta i može uzrokovati smrt. Dugotrajna izloženost parama goriva može uzrokovati teške ozljede i bolest.
Izbjegavajte dugotrajno udisanje ispušnih para.
Držite ruke i lice podalje od ubrizgača i otvora spremnika za gorivo.
Pazite da gorivo ne dođe u dodir s očima i kožom.
| Vrsta goriva | Bezolovni benzin |
| Minimalni oktanski broj | 87 (US) ili 91 (RON oktan; izvan SAD-a) |
| Udio etanola | Ne više od 10 % |
| Udio metanola | Nema |
| Udio MTBE-a (metil-tercijarni-butil-eter) | Manje od 15 % |
| Ulje | Ne dodavati gorivu |
Upotrebljavajte isključivo čisto, svježe gorivo (ne starije od 30 dana) iz pouzdanih izvora.
Important: Da biste smanjili probleme s pokretanjem, svježem gorivu dodajte stabilizator/konzervans goriva prema uputama proizvođača stabilizatora/konzervansa.
Za više informacija pročitajte upute za upotrebu motora.
Napunite spremnik za gorivo kako je prikazano na Slika 9.

| Interval servisa održavanja | Postupak održavanja |
|---|---|
| Prije svake uporabe ili svakodnevno |
|
Important: Ako pokrenete motor dok je razina ulja u bloku motoru previsoka ili preniska, može doći do oštećenja motora.


Ručku možete podići ili spustiti u jedan od dvaju položaja koji vam bolje odgovara (Slika 11).

Skinite oba okretna gumba.
Pomaknite ručku u položaj željene visine.
Učvrstite ručku s pomoću prethodno uklonjenih okretnih gumba.
Pri podešavanju poluga za visinu košnje vaše ruke mogu doći u dodir s nožem u pokretu, što može uzrokovati teške ozljede.
Prije podešavanja visine košnje isključite motor i pričekajte da se svi pomični dijelovi zaustave.
Pri podešavanju visine košnje ne posežite prstima ispod kućišta.
Ako je motor radio, prigušivač će biti vruć i može vas opeći.
Ne dirajte vrući prigušivač.
Podesite visinu košnje po želji. Postavite sve kotače na istu visinu košnje (Slika 12).

Nosite prikladnu odjeću, uključujući zaštitu za oči, duge hlače, čvrstu obuću otpornu na proklizavanje i zaštitu za sluh. Zavežite kosu ako je duga i nemojte nositi labavu odjeću ili viseći nakit.
Pozorno upravljajte uređajem. Ne bavite se aktivnostima koje vas ometaju; u suprotnom može doći do ozljeda ili oštećenja imovine.
Ne upravljajte kosilicom ako ste bolesni, umorni ili pod utjecajem alkohola ili droga.
Nož je oštar. Ako ga dotaknete, može doći do teških tjelesnih ozljeda. Isključite motor i pričekajte da se svi pomični dijelovi zaustave prije nego što napustite položaj rukovatelja.
Kad otpustite polugu za upravljanje noževima, motor bi se trebao isključiti i nož bi se trebao prestati kretati u roku od 3 sekunde. U suprotnom smjesta prestanite upravljati uređajem i obratite se ovlaštenom serviseru.
Osigurajte da prolaznici budu izvan područja rada uređaja. Osigurajte da djeca budu izvan područja rada uređaja i da su pod nadzorom odgovorne odrasle osobe koja ne upravlja uređajem. Zaustavite uređaj ako bilo koja osoba uđe u područje rada.
Prije kretanja s uređajem unatrag obavezno pogledajte dolje i iza sebe.
Upravljajte uređajem samo kad je vidljivost dobra i u odgovarajućim vremenskim uvjetima. Ako postoji opasnost od munja, nemojte upravljati uređajem.
Ako se poskliznete na mokroj travi ili lišću možete pasti, doći u dodir s nožem i teško se ozlijediti. Izbjegavajte košnju u mokrim uvjetima.
Budite iznimno oprezni pri približavanju oštrim zavojima, grmlju, stablima ili drugim predmetima koji bi vam mogli zakloniti vidno polje.
Materijal koji se izbacuje nemojte usmjeravati prema drugim osobama. Izbjegavajte izbacivanje materijala prema zidovima ili preprekama. Materijal bi se mogao odbiti prema vama. Zaustavite nož/noževe kad prelazite preko šljunčanih površina.
Pazite na rupe, brazde, neravnine, kamenje i druge skrivene predmete. Na neravnom terenu možete izgubiti ravnotežu ili stabilnost.
Ako uređaj udari o predmet ili počne vibrirati, odmah isključite motor, pričekajte da se svi pomični dijelovi zaustave i odspojite žicu sa svjećice prije nego što provjerite je li došlo do oštećenja. Izvršite sve potrebne popravke prije nastavljanja s radom.
Prije napuštanja položaja rukovatelja isključite motor i pričekajte da se svi pomični dijelovi zaustave.
Ako je motor radio, bit će vruć i može uzrokovati teške opekline. Ne dirajte vrući motor.
Motor smije raditi samo u dobro prozračenim prostorima. Ispušni plinovi sadržavaju ugljični monoksid, smrtonosni plin bez mirisa.
Redovito provjeravajte stanje dijelova hvatača trave i žlijeba za izbacivanje kako biste uočili znakove trošenja ili oštećenja i po potrebi ih zamijenite originalnim dijelovima tvrtke Toro.
Padine kosite poprijeko, nikada gore-dolje. Budite krajnje oprezni pri mijenjanju smjera na padinama.
Ne kosite na suviše strmim padinama. Uslijed nesigurne podloge mogli biste se poskliznuti i pasti.
U blizini padina, jaraka ili nasipa kosite oprezno.
Polugu za upravljanje noževima stisnite uz ručku (Slika 13, A).
Lagano povucite ručicu za ručno pokretanje dok ne osjetite otpor, a zatim je povucite naglo i pustite da se uže polako vrati u vodilicu užeta na ručki (Slika 13, B).

Note: Ako se uređaj ne pokrene nakon nekoliko pokušaja, obratite se ovlaštenom serviseru.
Za upravljanje samohodnim pogonom jednostavno hodajte držeći rukama gornju ručku i s laktovima sa strane, a uređaj će automatski ići u korak s vama (Slika 14).

Note: Ako se uređaj ne kreće slobodno unatrag nakon pokretanja samohodnog pogona, prestanite hodati, držite ruke na mjestu i dopustite uređaju da se kreće nekoliko centimetara prema naprijed kako bi se deaktivirao pogon kotača. Možete pokušati i posegnuti ispod gornje ručke do metalne ručke i gurnuti uređaj nekoliko centimetara prema naprijed. Ako se uređaj i dalje ne kreće slobodno unatrag, obratite se ovlaštenom serviseru.
| Interval servisa održavanja | Postupak održavanja |
|---|---|
| Prije svake uporabe ili svakodnevno |
|
Kako biste isključili motor, otpustite polugu za upravljanje noževima.
Important: Kad otpustite polugu za upravljanje noževima, motor i noževi trebali bi se zaustaviti u roku od 3 sekunde. Ako se ne zaustave, smjesta prestanite upravljati uređajem i obratite se ovlaštenom serviseru.
Uređaj se isporučuje spreman za recikliranje pokošene trave i lišća na travnjaku.
Ako je vreća za travu na uređaju i poluga za opcionalno skupljanje u položaju za skupljanje, pomaknite polugu u položaj za recikliranje; pogledajte Upravljanje polugom za opcionalno skupljanje.
Upotrijebite vreću za travu kada skupljate pokošenu travu i lišće s travnjaka.
Ako je poluga za opcionalno skupljanje u položaju za recikliranje, pomaknite je u položaj za skupljanje; pogledajte Upravljanje polugom za opcionalno skupljanje.
Da biste uklonili vreću, provedite korake iz odjeljka Uklanjanje vreće za travu obrnutim redoslijedom.
Funkcija opcionalnog skupljanja omogućuje vam da ili skupljate ili reciklirate pokošenu travu i lišće dok je vreća za travu postavljena na uređaj.
Kako biste sakupili pokošenu travu i lišće, pritisnite gumb na poluzi za opcionalno skupljanje i pomaknite polugu prema naprijed dok gumb na poluzi ne iskoči (Slika 16).

Kako biste reciklirali pokošenu travu i lišće, pritisnite gumb na poluzi i pomaknite polugu prema natrag dok gumb na poluzi ne iskoči.
Important: Za ispravan rad isključite motor, pričekajte da se svi pomični dijelovi zaustave, a zatim uklonite svu pokošenu travu i krhotine s vrata za opcionalno skupljanje i okolnog otvora (Slika 17) prije pomicanja poluge za opcionalno skupljanje iz jednog položaja u drugi.

Pregledajte područje na kojem namjeravate upotrebljavati uređaj i uklonite sve predmete koje bi uređaj mogao odbaciti.
Izbjegavajte udaranje tvrdih predmeta nožem. Nikad nemojte namjerno kositi preko bilo kojeg predmeta.
Ako uređaj udari o predmet ili počne vibrirati, odmah isključite motor, pričekajte da se svi pomični dijelovi zaustave, odspojite žicu sa svjećice i provjerite je li došlo do oštećenja.
Za najbolje rezultate postavite novi nož tvrtke Toro prije početka sezone košnje ili po potrebi.
Režite samo približno trećinu vlati trave odjednom. Nemojte rezati ispod 51 mm osim ako je trava rijetka ili ako kosite u kasnu jesen kada trava počinje rasti sporije.
Pri košenju trave dulje od 15 cm kosite na najvišoj postavci visine košnje i hodajte sporije; zatim ponovno kosite na nižoj postavci za što bolji izgled travnjaka. Ako je trava preduga, uređaj bi se mogao začepiti i tako uzrokovati zatajenje motora.
Mokra trava i lišće obično se formiraju u nakupine u dvorištu i mogu uzrokovati začepljenje uređaja ili zatajenje motora. Izbjegavajte košnju u mokrim uvjetima.
Obratite pozornost na moguću opasnost od požara u vrlo suhim uvjetima, pratite sva lokalna upozorenja za požare i osigurajte da u stroju nema suhe trave i ostataka lišća.
Mijenjajte smjer košnje. Tako se raspršuje pokošena trava i potiče ravnomjerna gnojidba.
Ako niste zadovoljni konačnim izgledom travnjaka, pratite jednu ili više sljedećih uputa:
Zamijenite nož ili ga dajte naoštriti.
Sporije hodajte tijekom košenja.
Podignite visinu košnje na uređaju.
Češće kosite travu.
Preklapajte područja košnje umjesto da u svakom navratu kosite jedno područje.
Nakon košenja travnjaka, provjerite je li pola travnjaka vidljivo kroz pokrov pokošenog lišća. Možda ćete morati više od jednom prijeći preko lišća.
Ako je na travnjaku više od 13 cm lišća, kosite na višoj postavci visine košnje i potom ponovno na željenoj visini košnje.
Usporite brzinu košnje ako uređaj dovoljno ne usitnjava lišće.
Prije podešavanja, servisiranja, čišćenja ili skladištenja uređaja obavezno isključite uređaj, pričekajte da se svi pomični dijelovi zaustave i pustite da se uređaj ohladi.
Uređaj očistite od trave i prljavštine kako ne bi došlo do požara. Očistite proliveno ulje ili gorivo.
Nikad nemojte skladištiti uređaj ili spremnik za gorivo u blizini otvorenog plamena, iskri ili žižaka poput onih na bojlerima ili drugim uređajima.
Budite oprezni pri utovaru ili istovaru uređaja.
Uređaj osigurajte od kotrljanja.
| Interval servisa održavanja | Postupak održavanja |
|---|---|
| Nakon svake uporabe |
|
Da biste postigli najbolje rezultate, čišćenje donje strane uređaja obavite neposredno nakon košnje.
Spustite uređaj na najnižu visinu košnje.
Premjestite uređaj na betoniranu ravnu površinu.
Dok motor i nož rade, usmjerite mlaz vode ispred desnog stražnjeg kotača (Slika 18).
Note: Voda će dospjeti u putanju noža i otkos će se isprati.

Kad se prestane ispirati otkos, isključite vodu i uređaj premjestite na suhu površinu.
Pokrenite motor i pustite da radi nekoliko minuta kako bi se donja strana uređaja osušila, što sprječava hrđanje.
Isključite motor, uklonite gumb za električno pokretanje (ako postoji) i pustite da se uređaj ohladi prije skladištenja u bilo kojem zatvorenom prostoru.
Uslijed nepravilnog sklapanja i rasklapanja ručke može doći do oštećenja kabela i opasnih radnih uvjeta.
Nemojte oštetiti kabele tijekom sklapanja ili rasklapanja ručke.
Ako se kabel ošteti, obratite se ovlaštenom serviseru.
Skinite i sačuvajte 2 okretna gumba i 2 noseća vijka s nosača ručke (A na Slika 19).
Important: Pri sklapanju ručke postavite kabele s vanjske strane okretnih gumba.
Sklopite ručku tako da je okrenete prema naprijed (B na Slika 19).
Labavo postavite okretne gumbe i noseće vijke na nosače ručke (C na Slika 19).
Kako biste rasklopili ručku, pogledajte Sastavljanje i rasklapanje ručke.

| Interval servisa održavanja | Postupak održavanja |
|---|---|
| Prije svake uporabe ili svakodnevno |
|
| Nakon svake uporabe |
|
| Svakih 25 sati |
|
| Godišnje |
|
| Godišnje ili prije skladištenja |
|
Important: Pročitajte upute za upotrebu motora za detalje o dodatnim postupcima održavanja.
Prije podešavanja, servisiranja, čišćenja ili skladištenja uređaja obavezno isključite uređaj, pričekajte da se svi pomični dijelovi zaustave i pustite da se uređaj ohladi.
Prije bilo kakvih radova na održavanju uređaja odspojite žicu svjećice sa svjećice.
Nosite rukavice i zaštitu za oči tijekom servisiranja uređaja.
Nož je oštar. Ako ga dotaknete, može doći do teških tjelesnih ozljeda. Tijekom servisiranja noža nosite rukavice. Nemojte popravljati ili izmjenjivati nož/noževe.
Nemojte neovlašteno raditi izmjene na sigurnosnim uređajima. Redovito provjeravajte rade li ispravno.
Ako nagnete uređaj, može doći do istjecanja goriva. Gorivo je zapaljivo i eksplozivno i može uzrokovati tjelesne ozljede. Motor upotrebljavajte dok ne potrošite gorivo ili gorivo ispustite s pomoću ručne pumpe. Ni u kom slučaju nemojte upotrebljavati sifonsku pumpu.
Kako biste osigurali optimalnu učinkovitost uređaja, upotrebljavajte samo originalne zamjenske dijelove i dodatni pribor tvrtke Toro. Zamjenski dijelovi i dodatna oprema drugih proizvođača mogu biti opasni, a njihova upotreba može poništiti jamstvo.
Ugasite motor i pričekajte da se svi pomični dijelovi zaustave.
Odspojite žicu svjećice sa svjećice (Slika 20).

Nakon održavanja žicu svjećice ponovno spojite sa svjećicom.
Important: Prije nego što nagnete uređaj kako biste zamijenili ulje ili nož, upotrebljavajte uređaj na uobičajen način dok ne potrošite gorivo. Ako morate nagnuti uređaj prije nego što se potroši gorivo, gorivo ispustite s pomoću ručne pumpe. Uređaj uvijek nagnite bočno tako da mjerna šipka bude usmjerena prema dolje.
| Interval servisa održavanja | Postupak održavanja |
|---|---|
| Svakih 25 sati |
|
| Godišnje |
|
Odspojite vrh poklopca filtra zraka (Slika 21).

Skinite filtar zraka (Slika 21).
Pregledajte filtar zraka.
Note: Ako je filtar zraka suviše prljav, zamijenite ga. U suprotnom lagano njime lupnite o tvrdu površinu kako bi iz njega ispale krhotine.
Postavite filtar zraka.
S pomoću zakačke postavite poklopac filtra zraka.
| Interval servisa održavanja | Postupak održavanja |
|---|---|
| Godišnje |
|
Nije potrebno mijenjanje motornog ulja, ali ako ga želite zamijeniti, pratite sljedeći postupak.
Note: Prije mijenjanja ulja pustite motor da radi nekoliko minuta kako bi se zagrijao. Toplo ulje tečnije je i uklanja više onečišćenja.
| Kapacitet motornog ulja | 0,44 l* |
| Viskoznost ulja | SAE 30 ili SAE 10W-30 deterdžentno ulje |
| Klasifikacija API servisa | SJ ili više |
*Nakon ispuštanja ulja u bloku motora ostaje malo ulja. Nemojte napuniti blok motora do punog kapaciteta. Napunite kućište motora uljem u skladu sa sljedećim uputama.
Premjestite uređaj na ravnu površinu.
Pogledajte Priprema za održavanje.
Mjernu šipku izvadite tako da čep okrenete u smjeru suprotnom od smjera kazaljke na satu i povučete ga (Slika 22).

Nagnite uređaj bočno (tako da filtar zraka bude usmjeren prema gore) kako biste ispustili iskorišteno ulje iz cijevi spremnika za ulje (Slika 23).

Nakon ispuštanja iskorištenog ulja vratite uređaj u radni položaj.
Pažljivo ulijte ¾ kapaciteta motornog ulja u cijev spremnika za ulje.
Pričekajte 3 minute da se ulje slegne u motoru.
Čistom krpom obrišite šipku za mjerenje razine ulja.
Umetnite šipku za mjerenje razine ulja u cijev spremnika za ulje, zavrnite je, a zatim je izvadite.
Očitajte razinu ulja na šipki (Slika 22).
Ako je razina ulja na šipki preniska, pažljivo dolijte malo ulja u cijev spremnika za ulje, pričekajte 3 minute i ponavljajte korake od 8 do 10 sve dok razina ulja koja se očitava na šipki ne bude ispravna.
Ako je razina ulja na šipki previsoka, ispuštajte višak ulja sve dok razina na šipki ne bude ispravna.
Important: Ako pokrenete motor dok je razina ulja u motoru previsoka ili preniska, može doći do oštećenja motora.
Učvrstite šipku za mjerenje razine ulja na cijev spremnika za ulje.
Propisno reciklirajte iskorišteno ulje.
| Interval servisa održavanja | Postupak održavanja |
|---|---|
| Godišnje |
|
Important: Za ispravno postavljanje noža potreban je moment-ključ. Ako nemate moment-ključ ili se ne usudite sami izvršiti postupak, obratite se ovlaštenom serviseru.
Nož pregledajte svaki put kada ostanete bez goriva. Ako je nož oštećen ili napuknut, odmah ga zamijenite. Ako je oštrica noža tupa ili neravna, dajte ga naoštriti i uravnotežiti ili ga zamijenite.
Nož je oštar. Ako ga dotaknete, može doći do teških tjelesnih ozljeda.
Tijekom servisiranja noža nosite rukavice.
Pogledajte Priprema za održavanje.
Uređaj nagnite bočno tako da filtar zraka bude usmjeren prema gore.
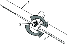
Držite nož stabilnim s pomoću drvenog bloka (Slika 24).

Uklonite nož, osim dijelova za postavljanje (Slika 24).
Postavite nove nož i sve dijelove za postavljanje (Slika 25).

Important: Postavite zaobljene krajeve noža tako da su usmjereni prema kućištu uređaja.
S pomoću moment-ključa pritegnite vijak noža na 82 Nm.
Kad god postavite novi kabel za samohodni pogon ili samohodni pogon nije podešen, podesite samohodni pogon.
Okrenite maticu za podešavanje u smjeru suprotnom od kazaljki na satu kako biste smanjili napetost kabela (Slika 26).


Podesite napetost kabela (Slika 26) tako da ga povučete unatrag ili gurnete prema naprijed i držite u tom položaju.
Note: Gurnite kabel prema motoru kako biste povećali vučni pogon; povucite kabel dalje od motora kako biste smanjili vučni pogon.
Okrenite maticu za podešavanje u smjeru kazaljki na satu kako biste povećali napetost kabela.
Note: Čvrsto pritegnite maticu s pomoću ključa.
Čuvajte uređaj na hladnom, čistom i suhom mjestu.
Prije podešavanja, servisiranja, čišćenja ili skladištenja uređaja obavezno isključite uređaj, pričekajte da se svi pomični dijelovi zaustave i pustite da se uređaj ohladi.
Pri posljednjoj nadopuni goriva u godini u gorivo dodajte stabilizator (kao što je Toro Premium Fuel Treatment) u skladu s uputama na naljepnici.
Pravilno zbrinite neiskorišteno gorivo. Reciklirajte gorivo u skladu s lokalnim propisima ili ga iskoristite za svoj automobil.
Important: Staro gorivo u spremniku za gorivo glavni je razlog za teško pokretanje uređaja. Gorivo u koje nije dodan stabilizator nemojte skladištiti dulje od 30 dana, a gorivo sa stabilizatorom nemojte čuvati dulje od razdoblja koje preporučuje proizvođač stabilizatora.
Pustite uređaj da radi dok se motor ne ugasi zbog nedostatka goriva.
Ponovno pokrenite motor i pustite ga da radi dok se ne ugasi. Motor je dovoljno suh kad ga više ne možete pokrenuti.
Odspojite žicu sa svjećice i spojite je na držač (ako postoji) i uklonite gumb za električno pokretanje (ako postoji).
Izvadite svjećicu, dodajte 30 ml motornog ulja kroz otvor svjećice, polako povucite uže za ručno pokretanje nekoliko puta kako bi se ulje ravnomjerno rasporedilo u cilindru. Time se sprječava korozija cilindra izvan sezone upotrebe.
Labavo ugradite svjećicu.
Zategnite sve matice, vijke i šarafe.
Provjerite i zategnite sve pričvrsne elemente.
Izvadite svjećicu i brzo provrtite motor tako da povučete ručicu za ručno pokretanje. Time se iz cilindra izbacuje višak ulja.
Umetnite svjećicu i zategnite je momentnim ključem na 20 Nm.
Provedite potrebne postupke odražavanja; pogledajte .
Provjerite razinu motornog ulja; pogledajte Provjeravanje razine motornog ulja.
Napunite spremnik za gorivo svježim gorivom; pogledajte Punjenje spremnika za gorivo.
Spojite žicu na svjećicu.