| Huoltoväli | Huoltotoimenpide |
|---|---|
| Aina ennen käyttöä tai päivittäin |
|
Tämä työnnettävä vaakatasoleikkuri on tarkoitettu kotikäyttöön. Se on tarkoitettu pääasiassa asuinkiinteistöjen viheralueiden ruohonleikkuuseen. Tuotteen käyttäminen muuhun kuin sen aiottuun käyttötarkoitukseen voi olla vaarallista käyttäjälle ja sivullisille.
Lue nämä tiedot huolellisesti, jotta opit käyttämään ja huoltamaan laitetta asianmukaisesti sekä välttämään tapaturmia ja tuotevaurioita. Olet itse vastuussa tuotteen asianmukaisesta ja turvallisesta käytöstä.
Osoitteessa www.Toro.com on lisätietoja, jos tarvitset esimerkiksi turvallisuuteen liittyviä vinkkejä, käyttökoulutukseen liittyviä materiaaleja, tietoja lisävarusteista tai lähimmästä jälleenmyyjästä tai jos haluat rekisteröidä tuotteesi.
Aina kun tarvitset huoltoa, alkuperäisiä Toro-varaosia tai lisätietoja, ota yhteys valtuutettuun huoltoliikkeeseen tai Toron asiakaspalveluun. Ota tällöin tuotteesi malli- ja sarjanumerot valmiiksi esiin. Kuva 1 osoittaa laitteen malli- ja sarjanumeron sijainnin. Kirjoita numerot annettuun tilaan.
Important: Skannaa sarjanumerokilvessä (jos varusteena) oleva QR-koodi mobiililaitteella, niin saat tuotetietoja sekä takuu- ja varaosatietoja

Tässä käyttöoppaassa esiintyvä varoitusmerkintä (Kuva 2) ilmaisee vaaratilannetta, josta saattaa olla seurauksena vakava tapaturma tai jopa kuolema, jos suositellut varotoimenpiteet laiminlyödään.

Tässä käyttöoppaassa käytetään kahta termiä tietojen korostamiseksi. Tärkeää kiinnittää huomiota mekaanisiin erikoistietoihin ja Huomautus korostaa erityishuomion ansaitsevia yleistietoja.
Tämä tuote on asiaankuuluvien eurooppalaisten direktiivien mukainen. Lisätietoja on erillisessä tuotekohtaisessa vaatimustenmukaisuusvakuutuksessa.
Brutto- tai nettovääntö: Moottorin valmistaja on mitannut tämän moottorin brutto- tai nettoväännön laboratoriossa SAE J1940:n tai J2723:n mukaisesti. Tämän luokan leikkurin moottorin todellinen vääntö on huomattavasti alhaisempi, koska se on säädetty turvallisuuteen, päästöihin ja käyttöön liittyvien vaatimusten mukaisesti. Tutustu koneen mukana toimitettuihin moottorin valmistajan tietoihin.
Älä kajoa koneen turvalaitteisiin tai poista niitä käytöstä ja tarkista säännöllisesti, että ne toimivat asianmukaisesti. Älä yritä säätää tai muuttaa moottorin kierrosnopeuden säädintä, sillä tämä saattaa heikentää käyttöturvallisuutta ja aiheuttaa henkilövahinkoja.
Tämä tuote voi katkaista jalan tai käden sekä singota esineitä. Noudata aina kaikkia turvallisuusohjeita vakavan loukkaantumisen tai kuoleman välttämiseksi.
Lue ja sisäistä kaikki tämän käyttöoppaan ohjeet ja varoitukset sekä laitteessa ja lisälaitteissa olevat merkinnät ennen moottorin käynnistämistä ja noudata niitä.
Älä laita käsiä tai jalkoja koneen liikkuvien osien lähelle tai koneen alle. Älä mene heittoaukkojen eteen.
Älä käytä konetta ilman paikallaan olevia ja asianmukaisesti toimivia suojuksia ja muita suojalaitteita.
Älä päästä sivullisia ja lapsia käyttöalueelle. Lapset eivät saa käyttää konetta. Anna vain vastuullisten, koulutettujen, ohjeisiin perehtyneiden ja fyysisesti konetta käyttämään kykenevien aikuisten käyttää konetta.
Pysäytä kone, sammuta moottori ja odota, että kaikki liikkuvat osat ovat pysähtyneet, ennen koneen huoltoa, polttoaineen lisäystä tai tukosten poistamista.
Laitteen asiaton käyttö tai huolto voi aiheuttaa tapaturman.
Vähennä loukkaantumisriskiä noudattamalla näitä
turvallisuusohjeita ja huomioimalla aina varoitusmerkki
, joka tarkoittaa varoitusta,
vaaraa tai hengenvaaraa – henkilöturvallisuusohjeet. Ohjeiden
laiminlyönti saattaa johtaa henkilövahinkoon tai kuolemaan.
![]() |
Turva- ja ohjetarrat on sijoitettu hyvin näkyville paikoille mahdollisten vaara-alueiden lähettyville. Korvaa vioittuneet tai kadonneet tarrat uusilla. |




Important: Irrota ja hävitä moottorin muovisuojus ja muut konetta suojaavat muovit ja kääreet.

Important: Asenna narukäynnistin naruohjaimeen, jotta moottori voidaan käynnistää turvallisesti ja helposti aina laitetta käytettäessä.

Important: Jos moottorissa on liikaa tai liian vähän öljyä moottoria käytettäessä, moottori voi vaurioitua.



| Malli | Paino | Pituus | Leveys | Korkeus |
|---|---|---|---|---|
| 21771 | 35 kg | 151 cm | 59 cm | 109 cm |
Koneeseen on saatavana valikoima Toron hyväksymiä lisälaitteita ja -varusteita, joiden avulla voidaan parantaa ja laajentaa sen ominaisuuksia. Ota yhteys valtuutettuun huoltoliikkeeseen tai valtuutettuun Toro-jälleenmyyjään tai siirry osoitteeseen www.Toro.com, jossa on luettelo hyväksytyistä lisälaitteista ja -varusteista.
Käytä vain aitoja Toro-varaosia ja -lisävarusteita, jotta kone toimisi parhaalla mahdollisella tavalla ja sen turvasertifiointi pysyisi voimassa. Muiden valmistajien varaosat ja lisävarusteet voivat osoittautua vaarallisiksi, ja niiden käyttö voi johtaa tuotteen takuun raukeamiseen.
Note: Koneen vasen ja oikea puoli määritellään normaalista käyttöasennosta käsin.
Sammuta kone, odota, kunnes kaikki liikkuvat osat ovat pysähtyneet, ja anna koneen jäähtyä aina ennen sen säätöä, huoltoa, puhdistusta tai varastointia.
Tutustu laitteen turvallisen käytön ohjeisiin, ohjauslaitteisiin ja turvamerkintöihin.
Varmista, että kaikki suojukset ja turvalaitteet, kuten suuntaimet tai ruohonkerääjät, ovat paikoillaan ja että ne toimivat oikein.
Tarkasta aina, että terät ja teräpultit eivät ole kuluneet tai vaurioituneet.
Tarkasta koneen käyttöalue ja poista siltä kaikki esineet, jotka voivat haitata koneen käyttöä tai joita kone voi singota.
Liikkuvan terän koskettamisesta on seurauksena vakava tapaturma. Älä laita sormia kotelon alle.
Polttoaine on hyvin tulenarkaa ja räjähdysherkkää. Polttoaineen aiheuttama tulipalo tai räjähdys voi aiheuttaa palovammoja ja omaisuusvahinkoja.
Aseta säiliö tai laite suoraan maahan ennen polttoaineen lisäystä. Älä aseta niitä ajoneuvoon tai minkään esineen päälle. Muutoin staattinen purkaus voi sytyttää polttoaineen.
Täytä polttoainesäiliö ulkona avoimessa tilassa, kun moottori on jäähtynyt. Pyyhi läikkynyt polttoaine pois.
Älä käsittele polttoainetta tupakoidessasi tai avotulen tai kipinöiden lähellä.
Älä irrota polttoainesäiliön korkkia tai lisää polttoainetta säiliöön moottorin ollessa käynnissä tai kuuma.
Jos polttoainetta läikkyy, älä yritä käynnistä moottoria. Vältä luomasta kipinälähteitä, ennen kuin polttoainehöyryt ovat hälvenneet.
Polttoainetta tulee säilyttää hyväksytyssä polttoaineastiassa, joka tulee pitää poissa lasten ulottuvilta.
Polttoaine on haitallista tai tappavaa nieltynä. Pitkäaikainen altistuminen höyryille voi aiheuttaa vakavan tapaturman ja sairauksia.
Vältä höyryjen hengittämistä.
Pidä kasvot ja kädet etäällä jakelupistoolista ja polttoainesäiliöstä.
Älä päästä polttoainetta silmiin tai iholle.
| Tyyppi | Lyijytön bensiini |
| Vähimmäisoktaaniluku | 87 (USA) tai 91 (tutkimusoktaani [RON]; Yhdysvaltojen ulkopuolella) |
| Etanoli | Enintään 10 % tilavuudesta |
| Metanoli | Ei mitään |
| MTBE (metyylitertiääributyylieetteri) | Alle 15 % tilavuudesta |
| Öljy | Älä lisää polttoaineeseen |
Käytä vain puhdasta ja uutta, korkeintaan 30 päivää vanhaa polttoainetta, joka on peräisin luotettavalta toimittajalta.
Important: Vähennä käynnistysongelmia lisäämällä uuteen polttoaineeseen stabilointi-/lisäainetta stabilointi-/lisäaineen valmistajan ohjeiden mukaisesti.
Lisätietoja on moottorin käyttöoppaassa.
Täytä polttoainesäiliö kuvan mukaisesti (Kuva 9).

| Huoltoväli | Huoltotoimenpide |
|---|---|
| Aina ennen käyttöä tai päivittäin |
|
Important: Jos kampikammiossa on liikaa tai liian vähän öljyä moottoria käytettäessä, moottori voi vaurioitua.


Kahvan voi säätää käyttäjälle sopivaksi kahteen asentoon (Kuva 11).

Irrota molemmat kahvan nupit.
Siirrä kahva haluttuun korkeuteen.
Kiinnitä kahva aiemmin irrotetuilla kahvan nupeilla.
Leikkuukorkeussäätimiä käsiteltäessä kätesi saattaa joutua kosketuksiin liikkuvan terän kanssa, mikä voi aiheuttaa vakavia vammoja.
Sammuta moottori ja odota, että kaikki liikkuvat osat ovat pysähtyneet, ennen kuin säädät leikkuukorkeutta.
Älä laita sormia kotelon alle säätäessäsi leikkuukorkeutta.
Jos moottori on juuri sammutettu, äänenvaimennin on kuuma ja voi aiheuttaa palovammoja.
Pysy etäällä kuumasta äänenvaimentimesta.
Säädä leikkuukorkeus halutuksi. Aseta kaikki pyörät samalle leikkuukorkeudelle (Kuva 12).

Pukeudu asianmukaisesti. Käytä silmäsuojaimia, pitkälahkeisia housuja, tukevia liukastumisen estäviä kenkiä ja kuulosuojaimia. Sido pitkät hiukset. Älä käytä löysiä vaatteita tai riippuvia koruja.
Koneen käyttö vaatii käyttäjän täyden huomion. Jos käyttäjän huomio keskittyy muualle, saattaa seurata henkilö- tai omaisuusvahinko.
Älä käytä konetta sairaana, väsyneenä tai alkoholin tai huumaavien aineiden vaikutuksen alaisena.
Terä on terävä, ja sen koskettaminen voi aiheuttaa vakavia henkilövahinkoja. Sammuta moottori ja odota, että kaikki liikkuvat osat ovat pysähtyneet, ennen kuin poistut käyttäjän paikalta.
Kun vapautat terän ohjaustangon, moottorin täytyy sammua ja terän pysähtyä kolmen sekunnin kuluessa. Jos näin ei tapahdu, lopeta laitteen käyttö välittömästi ja ota yhteys valtuutettuun huoltoliikkeeseen.
Älä päästä sivullisia käyttöalueelle. Pienten lasten on oltava konetta käyttämättömän aikuisen vastuuhenkilön valvonnassa ja pysyteltävä pois käyttöalueelta. Pysäytä kone, jos alueelle tulee ihmisiä.
Katso alas ja taakse aina ennen kuin konetta liikutetaan taaksepäin.
Käytä laitetta vain, kun näkyvyys on hyvä ja kun sääolosuhteet ovat hyvät. Älä käytä konetta ukonilman aikana.
Kostea ruoho tai lehdet voivat aiheuttaa vakavan loukkaantumisen, jos liukastut ja kosketat terää. Vältä leikkaamasta ruohoa märissä olosuhteissa.
Ole erityisen varovainen lähestyessäsi kulmia, joissa on huono näkyvyys, pensaita, puita tai muita esteitä, jotka voivat haitata näkyvyyttä.
Älä suuntaa materiaalin poistoa ihmisiä kohti. Vältä materiaalin poistamista seinää tai muuta estettä kohti. Materiaali voi kimmota takaisin käyttäjää kohti. Kytke terät pois päältä ennen sorapinnan ylittämistä.
Varo kuoppia, uria, töyssyjä, kiviä ja muita piileviä vaaroja. Epätasainen maasto voi aiheuttaa tasapainon tai jalansijan menettämisen.
Jos laite törmää esteeseen tai alkaa täristä, sammuta moottori välittömästi, odota, kunnes kaikki liikkuvat osat ovat pysähtyneet, irrota sytytystulpan johto ja tarkasta laite vaurioiden varalta. Suorita tarvittavat korjaukset ennen koneen käytön jatkamista.
Ennen kuin poistut käyttäjän paikalta, sammuta moottori ja odota, että kaikki liikkuvat osat ovat pysähtyneet.
Jos moottori on juuri sammutettu, se on kuuma ja voi aiheuttaa vakavia palovammoja. Pysy etäällä kuumasta moottorista.
Käytä moottoria ainoastaan tiloissa, joissa on hyvä ilmanvaihto. Pakokaasut sisältävät hiilimonoksidia, joka on hajuton ja tappava myrkky.
Tarkista ruohonkerääjän osat ja heittosuppilo säännöllisesti kulumisen ja vikojen varalta ja vaihda ne tarvittaessa alkuperäisiin Toro-osiin.
Leikkaa rinteet poikittaissuunnassa – ei ylös ja alas. Ole erittäin varovainen vaihtaessasi suuntaa rinteillä.
Älä yritä leikata ruohoa jyrkissä rinteissä. Epävakaalla alustalla on helppo liukastua ja kaatua.
Ole varovainen leikatessasi ruohoa pudotusten, ojien tai vallien lähettyvillä.
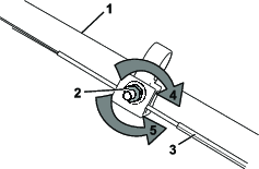
Pidä terän ohjaustankoa kahvaa vasten (ruutu A, Kuva 13).
Vedä narukäynnistimen kahvaa hieman, kunnes tunnet vastuksen. Vetäise sitten voimakkaasti ja anna sen palata hitaasti takaisin kahvassa olevaan naruohjaimeen (ruutu B, Kuva 13).

Note: Jos laite ei käynnisty usean yrityksen jälkeen, ota yhteys valtuutettuun huoltoliikkeeseen.
Itsevetolaitteistoa käytetään kävelemällä ja pitämällä käsiä yläkahvan päällä ja kyynärpäitä sivuilla, jolloin laite liikkuu automaattisesti oikeaa vauhtia (Kuva 14).

Note: Jos kone ei kulje vapaasti taaksepäin itsevetolaitteiston käytön jälkeen, pysähdy, pidä kädet samassa asennossa ja anna koneen siirtyä muutaman sentin eteenpäin, jotta pyöräveto vapautuisi. Voit myös koettaa ulottua yläkahvan alapuolella olevaan metallikahvaan ja työntää konetta muutaman sentin eteenpäin. Jos laite ei vieläkään liiku vapaasti taaksepäin, ota yhteys valtuutettuun huoltoliikkeeseen.
| Huoltoväli | Huoltotoimenpide |
|---|---|
| Aina ennen käyttöä tai päivittäin |
|
Sammuta moottori vapauttamalla terän ohjaustanko.
Important: Kun vapautat terän ohjaustangon, moottorin ja terän pitäisi pysähtyä 3 sekunnin kuluessa. Jos ne eivät pysähdy, lopeta laitteen käyttö välittömästi ja ota yhteys valtuutettuun huoltoliikkeeseen.
Laitteessa on valmiina ominaisuus kierrättää ruoho- ja lehtijäte takaisin nurmelle.
Jos ruohonkeräin on koneessa ja keräimen valitsimen vipu on keruuasennossa, siirrä vipu kierrätysasentoon. Katso kohta Keräimen valitsimen vivun käyttö.
Käytä ruohonkeräintä, jos haluat kerätä ruoho- ja lehtijätteet nurmikolta.
Jos keräimen valitsimen vipu on kierrätysasennossa, siirrä vipu keruuasentoon. Katso kohta Keräimen valitsimen vivun käyttö.
Ruohonkeräin irrotetaan tekemällä kohdan Ruohonkeräimen irrotus vaiheet käänteisessä järjestyksessä.
Keräimen valitsin mahdollistaa ruoho- ja lehtijätteiden keruun tai kierrätyksen valinnan mukaan, kun ruohonkeräin on asennettuna laitteeseen.
Jos haluat kerätä ruoho- ja lehtijätteet, paina keräimen valitsimen vivussa olevaa painiketta ja siirrä vipua eteenpäin, kunnes vivussa oleva painike ponnahtaa ylös (Kuva 16).

Jos haluat kierrättää ruoho- ja lehtijätteet, paina vivussa olevaa painiketta ja siirrä vipua taaksepäin, kunnes vivussa oleva painike ponnahtaa ylös.
Important: Oikean toiminnan varmistamiseksi sammuta moottori, odota kaikkien liikkuvien osien pysähtymistä ja poista sitten ruoho ja muut jätteet keräimen valitsimen luukusta ja ympäröivästä aukosta (Kuva 17), ennen kuin siirrät keräimen valitsimen vivun asennosta toiseen.

Tarkasta laitteen käyttöalue ja poista siltä kaikki esineet, joita kone voi singota.
Älä iske terää kiinteisiin esineisiin. Älä koskaan aja ruohonleikkurilla tahallasi minkään esteen yli.
Jos laite törmää esteeseen tai alkaa täristä, sammuta moottori välittömästi, odota, kunnes kaikki liikkuvat osat ovat pysähtyneet, irrota sytytystulpan johto ja tarkasta laite vaurioiden varalta.
Jotta ruohonleikkuri toimisi parhaalla mahdollisella tavalla, asenna uusi Toro-terä ennen leikkuukauden alkamista tai aina tarvittaessa.
Leikkaa vain noin kolmasosa ruohon pituudesta kerrallaan. Älä leikkaa ruohoa 51 mm:n asetusta lyhyemmäksi, paitsi jos ruoho on harvaa tai on myöhäinen syksy, jolloin ruohon kasvu alkaa hidastua.
Leikattaessa yli 15 cm korkeaa ruohoa leikkaa ensin korkeimmalla leikkuukorkeuden asetuksella ja kävele hitaasti. Leikkaa sen jälkeen matalammalla asetuksella, jotta nurmikosta tulee hyvän näköinen. Jos ruoho on liian pitkää, laite saattaa tukkeutua ja moottori pysähtyä.
Kostea ruoho ja lehdet paakkuuntuvat nurmikolle ja voivat tukkia laitteen tai pysäyttää moottorin. Vältä leikkaamasta ruohoa märissä olosuhteissa.
Huomioi palovaara erittäin kuivissa olosuhteissa, noudata kaikkia paikallisia palovaroituksia ja pidä laite puhtaana kuivasta ruohosta ja lehdistä.
Vaihda leikkuusuuntaa. Tällöin leikkuujätteet hajaantuvat ruohikolle tasaisesti ja lannoittavat hyvin.
Jos leikattu nurmikko ei näytä hyvältä, kokeile yhtä tai useampaa seuraavista toimenpiteistä:
Vaihda terä tai teroita se.
Kävele hitaammin leikatessasi.
Nosta laitteen leikkuukorkeutta.
Leikkaa ruoho useammin.
Kulje aina osaksi edellisen leikkuukaistan päällä; älä leikkaa kokonaan uutta kaistaa.
Kun nurmikko on leikattu, tarkista, että puolet ruohosta näkyy lehtikerroksen läpi. Joudut ehkä leikkaamaan lehdet vielä kerran tai useamminkin.
Jos nurmikolla on lehtiä yli 13 cm:n kerros, leikkaa ensin korkeammalla leikkuukorkeudella ja sitten uudestaan halutulla leikkuukorkeudella.
Hidasta leikkuunopeutta, jos laite ei leikkaa lehtiä tarpeeksi hienoksi.
Sammuta kone, odota, kunnes kaikki liikkuvat osat ovat pysähtyneet, ja anna koneen jäähtyä aina ennen sen säätöä, huoltoa, puhdistusta tai varastointia.
Ehkäise tulipalovaara puhdistamalla kone ruohosta ja leikkuujätteistä. Puhdista öljy- ja polttoaineroiskeet.
Älä säilytä konetta tai polttoainesäiliötä tilassa, jossa on avotuli, kipinöitä tai varmistusliekki (esimerkiksi vedenlämmitin tai muu vastaava laite).
Ole varovainen lastatessasi konetta.
Kiinnitä kone niin, ettei se liiku.
| Huoltoväli | Huoltotoimenpide |
|---|---|
| Jokaisen käytön jälkeen |
|
Parhaat tulokset saadaan puhdistamalla koneen alapuoli pian leikkuun lopettamisen jälkeen.
Laske laite alimpaan leikkuukorkeusasetukseen.
Siirrä laite tasaiselle päällystetylle alustalle.
Käytä moottoria, kytke terä ja ruiskuta vettä oikean takapyörän eteen (Kuva 18).
Note: Vesi roiskuu terän reitille ja poistaa leikkuujätteet.

Kun leikkuujätettä ei enää tule ulos, lopeta ruiskutus ja siirrä laite kuivalle alueelle.
Käynnistä moottori ja anna sen käydä muutaman minuutin ajan, jotta koneen alapuoli kuivuu. Näin se ei pääse ruostumaan.
Sammuta moottori, irrota sähkökäynnistyspainike (jos varusteena) ja anna koneen jäähtyä, ennen kuin varastoit sen suljettuun tilaan.
Jos kahva taitetaan tai suoristetaan väärin, kaapelit saattavat vahingoittua. Tällöin ruohonleikkuria ei ole turvallista käyttää.
Älä vahingoita kaapeleita, kun taitat tai suoristat kahvaa.
Jos kaapeli on vaurioitunut, ota yhteyttä valtuutettuun huoltoliikkeeseen.
Irrota kahvojen tuista kaksi kahvan nuppia ja kaksi lukkopulttia ja säästä ne myöhempää asennusta varten (ruutu A, Kuva 19).
Important: Vie kaapelit kahvan nuppien ulkopuolelle, kun taitat kahvaa.
Taita kahva kääntämällä se eteen (ruutu B, Kuva 19).
Asenna kahvan nupit ja lukkopultit löyhästi kahvan tukiin (ruutu C, Kuva 19).
Suorista kahva kohdan Kahvan kokoaminen ja suoristus mukaisesti.

| Huoltoväli | Huoltotoimenpide |
|---|---|
| Aina ennen käyttöä tai päivittäin |
|
| Jokaisen käytön jälkeen |
|
| 25 käyttötunnin välein |
|
| Vuosittain |
|
| Vuosittain tai ennen varastointia |
|
Important: Lisää huoltotoimenpiteitä on moottorin käyttöoppaassa.
Sammuta kone, odota, kunnes kaikki liikkuvat osat ovat pysähtyneet, ja anna koneen jäähtyä aina ennen sen säätöä, huoltoa, puhdistusta tai varastointia.
Irrota sytytystulpan johto sytytystulpasta ennen huoltotöiden suorittamista.
Käytä käsineitä ja silmäsuojaimia konetta huoltaessasi.
Terä on terävä, ja sen koskettaminen voi aiheuttaa vakavia henkilövahinkoja. Käytä käsineitä, kun huollat terää. Älä korjaa tai muuta teriä.
Älä koskaan peukaloi turvalaitteita. Tarkista säännöllisesti, että ne toimivat asianmukaisesti.
Konetta kallistettaessa saattaa valua polttoainetta. Polttoaine on tulenarkaa ja räjähdysherkkää ja voi aiheuttaa henkilövahingon. Käytä moottoria, kunnes polttoaine loppuu, tai poista polttoaine käsipumpulla, älä koskaan lapolla.
Käytä vain Toro-alkuperäisvaraosia ja -lisävarusteita, jotta kone toimii parhaalla mahdollisella tavalla. Muiden valmistajien varaosat ja lisävarusteet voivat osoittautua vaarallisiksi, ja niiden käyttö voi johtaa tuotteen takuun raukeamiseen.
Sammuta moottori ja odota, kunnes kaikki liikkuvat osat ovat pysähtyneet.
Irrota sytytystulpan johto sytytystulpasta (Kuva 20).

Kytke sytytystulpan johto sytytystulppaan huoltotöiden jälkeen.
Important: Ennen kuin kallistat laitetta öljyn tai terän vaihtoa varten, anna polttoainesäiliön käydä tyhjäksi normaalissa käytössä. Jos laitetta on kallistettava ennen polttoaineen loppumista, poista polttoaine käsipumpulla. Kallista laite kyljelleen aina siten, että mittatikku osoittaa alaspäin.
| Huoltoväli | Huoltotoimenpide |
|---|---|
| 25 käyttötunnin välein |
|
| Vuosittain |
|
Avaa ilmansuodattimen kannen yläosan pidike (Kuva 21).

Irrota ilmansuodatin (Kuva 21).
Tarkista ilmansuodatin.
Note: Jos ilmansuodatin on hyvin likainen, vaihda se uuteen suodattimeen. Muussa tapauksessa irrota lika napauttamalla ilmansuodatinta kovaa pintaa vasten.
Asenna ilmansuodatin.
Kiinnitä ilmansuodattimen kansi pidikkeellä.
| Huoltoväli | Huoltotoimenpide |
|---|---|
| Vuosittain |
|
Moottoriöljyn vaihto ei ole tarpeen, mutta jos öljy halutaan vaihtaa, toimi seuraavasti.
Note: Lämmitä öljy ennen vaihtoa käyttämällä moottoria muutaman minuutin ajan. Lämmin öljy juoksee paremmin ja kuljettaa enemmän epäpuhtauksia.
| Moottorin öljytilavuus | 0,44 l* |
| Öljyn viskositeetti | Puhdistava SAE 30- tai SAE 10W-30 -öljy |
| API-huoltoluokitus | SJ tai korkeampi |
* Kampikammioon on jäänyt öljyä öljyn tyhjennyksen jälkeen. Älä kaada kaikkea öljyä kampikammioon. Täytä kampikammio öljyllä seuraavien ohjeiden mukaisesti.
Siirrä laite tasaiselle alustalle.
Katso kohta Valmistelu huoltoa varten.
Irrota mittatikku pyörittämällä korkkia vastapäivään ja vetämällä mittatikku ulos (Kuva 22).

Valuta käytetty öljy öljyntäyttöputkesta kallistamalla leikkuri kyljelleen siten, että ilmansuodatin osoittaa ylöspäin (Kuva 23).

Kun öljy on tyhjentynyt, palauta laite käyttöasentoon.
Kaada öljyä öljyntäyttöputkeen varovasti noin kolmen neljäsosan verran moottorin tilavuudesta.
Anna öljyn asettua moottorissa kolmen minuutin ajan.
Pyyhi mittatikku puhtaalla rievulla.
Aseta mittatikku öljyntäyttöputkeen, ruuvaa se kiinni ja poista sitten mittatikku.
Katso öljymäärä mittatikusta (Kuva 22).
Jos mittatikku näyttää liian alhaisen öljymäärän, lisää öljyntäyttöputkeen varovasti pieni määrä öljyä, odota kolme minuuttia ja toista sitten vaiheet 8–10, kunnes öljyn määrä on mittatikun mukaan oikea.
Jos öljyä on mittatikun mukaan liikaa, valuta ylimääräistä öljyä, kunnes öljyn määrä on mittatikun mukaan oikea.
Important: Jos moottorissa on liikaa tai liian vähän öljyä moottoria käytettäessä, moottori voi vaurioitua.
Asenna mittatikku öljyntäyttöputkeen tukevasti.
Kierrätä käytetty öljy asianmukaisesti.
| Huoltoväli | Huoltotoimenpide |
|---|---|
| Vuosittain |
|
Important: Terän asentamiseen tarvitaan momenttiavain. Jos sinulla ei ole momenttiavainta tai et halua suorittaa toimenpidettä itse, ota yhteys valtuutettuun huoltoliikkeeseen.
Tarkista terä aina polttoaineen loppuessa. Jos terä vaurioituu tai murtuu, vaihda se heti. Jos terä on tylsä tai uurteinen, teroituta ja tasapainotuta terä tai vaihda se uuteen.
Terä on terävä, ja sen koskettaminen voi aiheuttaa vakavia henkilövahinkoja.
Käytä käsineitä, kun huollat terää.
Katso kohta Valmistelu huoltoa varten.
Kallista laite kyljelleen siten, että ilmansuodatin osoittaa ylöspäin.
Tue terä puun kappaleella (Kuva 24).

Irrota terä ja säästä kaikki kiinnitystarvikkeet (Kuva 24).
Asenna uusi terä ja kaikki kiinnitystarvikkeet (Kuva 25).

Important: Suuntaa terän käyrät päät laitteen koteloa kohti.
Kiristä teräpultti momenttiavaimella 82 N·m:n momenttiin.
Säädä itsevetolaitteisto aina, kun asennat uuden itsevetolaitteiston kaapelin tai jos itsevetolaitteiston säädössä tuntuu olevan vikaa.
Löysää kaapelin säätöä kääntämällä säätömutteria vastapäivään (Kuva 26).


Säädä kaapelin jännitystä (Kuva 26) vetämällä sitä taaksepäin tai työntämällä sitä eteenpäin ja pitämällä kyseisessä asennossa.
Note: Lisää vetoa työntämällä kaapelia moottoria kohti. Pienennä vetoa vetämällä kaapelia poispäin moottorista.
Kiristä kaapelin säätöä kääntämällä säätömutteria myötäpäivään.
Note: Kiristä mutteri tiukkaan hylsyavaimella tai kiintoavaimella.
Varastoi laite viileään, puhtaaseen ja kuivaan paikkaan.
Sammuta kone, odota, kunnes kaikki liikkuvat osat ovat pysähtyneet, ja anna koneen jäähtyä aina ennen sen säätöä, huoltoa, puhdistusta tai varastointia.
Lisää polttoaineeseen stabilointiainetta (esim. Toro Premium Fuel Treatment) vuoden viimeisellä polttoainesäiliön täyttökerralla pakkauksen ohjeiden mukaan.
Hävitä käyttämätön polttoaine asianmukaisesti. Kierrätä se paikallisten säädösten mukaan tai käytä sitä autossasi.
Important: Polttoainesäiliössä oleva vanha polttoaine on suurin syy käynnistysongelmiin. Älä varastoi stabilointiaineetonta polttoainetta yli 30 päivää kauempaa äläkä varastoi lisäaineistettua polttoainetta stabilointiaineen valmistajan suositusta kauempaa.
Käytä laitetta, kunnes moottori sammuu polttoaineen loppumisen vuoksi.
Käynnistä moottori uudelleen ja anna sen käydä, kunnes se sammuu. Kun et enää saa moottoria käyntiin, se on tarpeeksi kuiva.
Irrota johto sytytystulpasta, kiinnitä johto kiinnitystappiin (jos varusteena) ja irrota sähkökäynnistyspainike (jos varusteena).
Irrota sytytystulppa, lisää 30 ml öljyä sytytystulpan aukkoon ja vedä narukäynnistintä hitaasti useita kertoja, jotta öljy leviää kaikkialle sylinteriin ja estää sylinterin ruostumisen varastoinnin aikana.
Aseta sytytystulppa löysästi paikalleen.
Kiristä kaikki mutterit, pultit ja ruuvit.
Tarkista ja kiristä kaikki kiinnikkeet.
Poista ylimääräinen öljy sylinteristä irrottamalla sytytystulppa ja vetämällä narukäynnistimen kahvasta, jolloin moottori pyörii nopeasti.
Asenna sytytystulppa ja väännä se momenttiin 20 N·m.
Tee tarvittavat huoltotoimenpiteet. Katso kohta .
Tarkista moottorin öljymäärä. Katso kohta Moottorin öljymäärän tarkistus.
Täytä polttoainesäiliö uudella polttoaineella. Katso kohta Polttoainesäiliön täyttö.
Kytke johto sytytystulppaan.