| Interval de întreţinere şi service | Procedură de întreţinere |
|---|---|
| Înainte de fiecare folosinţă sau zilnic |
|
Această maşină de tuns iarba cu lamă rotativă este proiectată pentru a fi utilizată de proprietarii de reşedinţe. Mașina a fost proiectată în primul rând pentru tăierea ierbii de pe gazoane bine întreținute ale proprietăților rezidențiale. Utilizarea acestui produs în alte scopuri decât cele intenționate poate fi periculoasă pentru dumneavoastră și pentru alte persoane.
Citiți cu atenție aceste informații pentru a învăța despre modul corespunzător de utilizare și întreținere a produsului și pentru a evita rănirea personală și deteriorarea produsului. Aveţi responsabilitatea de a utiliza produsul în mod corespunzător şi sigur.
Vizitați site-ul www.Toro.com pentru mai multe informații, inclusiv informații privind siguranța produsului și materiale de instruire , informații privind accesoriile, ajutor la căutarea unui distribuitor sau pentru înregistrarea produsului.
De fiecare dată când aveţi nevoie de service, piese originale Toro sau informaţii suplimentare, contactaţi un centru de service autorizat sau departamentul Servicii Clienţi Toro şi pregătiţi numărul de model sau de serie al produsului. Figura 1 indică locația numărului de model sau de serie pe produs. Scrieţi numerele în spaţiul furnizat.
Important: Puteți scana codul QR de pe autocolantul cu numărul de serie (dacă este disponibil) cu ajutorul unui dispozitiv mobil pentru a accesa date despre garanție, piese și alte informații despre produs

Acest manual identifică potențialele pericole și conține mesaje de siguranță identificate prin simbolul de alertă de siguranță (Figura 2), semnalizând un pericol care poate cauza rănirea gravă sau moartea dacă nu respectați următoarele măsuri de precauție recomandate.

Acest manual utilizează 2 cuvinte pentru a evidenţia informaţiile. Important atrage atenţia asupra informaţiilor mecanice speciale şi Notă accentuează informaţiile generale care necesită atenţie specială.
Produsul respectă toate directivele europene relevante; pentru detalii, consultaţi Declaraţia de conformitate (DOC) separată specifică produsului.
Cuplu brut sau net: Cuplul brut sau net al acestui motor a fost evaluat în laborator de către producătorul motorului în conformitate cu SAE (Society of Automotive Engineers - Societatea Inginerilor Auto) J1940 sau J2723. Deoarece sunt configurate pentru a îndeplini cerinţele privind siguranţa, emisiile şi operarea, cuplul real al motoarelor pentru clasa aceasta de maşini de tuns iarba pot fi semnificativ mai redus. Vă rugăm să consultați informațiile producătorului motorului incluse în volumul de livrare al mașinii.
Nu modificați și nu dezactivați dispozitivele de siguranță ale mașinii și verificați periodic funcționarea corectă a acestora. Nu încercați să reglați sau să modificați controlul turației motorului; acest lucru poate cauza o stare de funcționare nesigură, ducând la vătămări corporale.
Acest produs poate provoca răni la nivelul mâinilor sau picioarelor și poate arunca obiecte. Respectați întotdeauna toate instrucțiunile de siguranță pentru a preveni vătămările corporale sau moartea.
Citiți, înțelegeți și urmați instrucțiunile și avertismentele din Manualul utilizatorului și de pe mașină și accesorii înainte de a porni motorul.
Nu țineți mâinile sau picioarele în apropierea pieselor aflate în mișcare sau sub mașină. Staţi la distanţă de orice gură de descărcare.
Nu utilizaţi maşina fără toate protecțiile şi alte dispozitive de siguranță montate şi funcţionând corespunzător pe aceasta.
Țineți trecătorii și copiii departe de zona de utilizare. Nu lăsaţi copii să utilizeze maşina. Utilizarea mașinii va fi efectuată doar de persoane responsabile, instruite, familiarizate cu instrucțiunile și apte din punct de vedere fizic.
Înainte de efectuarea lucrărilor de service, alimentare sau desfundare a mașinii, opriți mașina, opriți motorul și așteptați până când se opresc toate piesele mobile.
Utilizarea sau întreţinerea necorespunzătoare
a acestei maşini poate cauza accidentări. Pentru a reduce
riscul de accidentare, respectaţi aceste instrucţiuni
de siguranţă şi acordaţi întotdeauna
atenţie simbolului de alertă privind siguranţa
, care înseamnă
Atenţie, Avertisment sau Pericol – instrucţiune
privind siguranţa personală. Nerespectarea acestor instrucţiuni
poate cauza vătămări corporale sau moartea.
![]() |
Instrucţiunile şi autocolantele cu informaţii privind siguranţa sunt uşor vizibile pentru operator şi sunt amplasate lângă orice zonă cu potenţial risc. Înlocuiți orice autocolant care este deteriorat sau lipsește. |




Important: Îndepărtați și eliminați folia de protecție din plastic folosită pentru a acoperi motorul, precum și orice alte elemente din plastic sau ambalaje de pe mașină.

Important: Pentru a porni motorul ușor și în siguranță de fiecare dată când utilizați mașina, montaţi cablul demarorului cu recul în ghidajul de cablu.

Important: Dacă nivelul de ulei din motor este prea scăzut sau prea ridicat și porniți motorul, este posibil să defectați mașina.



| Model | Greutate | Lungime | Lățime | Înălțime |
|---|---|---|---|---|
| 21771 | 35 kg | 151 cm | 59 cm | 109 cm |
Pentru extinderea și îmbunătățirea performanțelor mașinii este disponibilă o gamă de dispozitive de atașare și accesorii aprobate de Toro. Pentru lista dispozitivelor de atașare și a accesoriilor aprobate, contactați centrul de service local sau un distribuitor Toro autorizat sau accesați www.Toro.com.
Pentru performanțe optime și utilizarea în siguranță a mașinii, utilizați exclusiv piese de schimb și accesorii originale Toro. Piesele de schimb și accesoriile altor producători pot fi periculoase și pot anula garanția produsului.
Note: Determinaţi partea stângă şi dreaptă a maşinii din poziţia de operare normală.
Opriți mașina, așteptați oprirea tuturor pieselor mobile și lăsați mașina să se răcească înainte de reglarea, efectuarea lucrărilor de service, curățarea sau depozitarea mașinii.
Familiarizați-vă cu utilizarea în siguranță a echipamentului, comenzile de operare și indicatoarele de siguranță.
Verificați dacă toate protecțiile și dispozitivele de siguranță, precum deflectoarele și/sau dispozitivul de adunat iarbă, sunt la locul lor și funcționează corect.
Inspectați întotdeauna mașina pentru a vă asigura că lamele și șuruburile lamei nu sunt uzate sau deteriorate.
Inspectați zona în care veți utiliza mașina și îndepărtați toate obiectele care ar putea obstrucționa utilizarea mașinii sau pe care le-ar putea proiecta mașina.
Contactul cu lama în timp ce aceasta se rotește va duce la vătămarea gravă. Nu puneți degetele sub carcasă.
Combustibilul este extrem de inflamabil şi exploziv. Un incendiu sau o explozie cauzată de combustibil vă poate arde pe dumneavoastră şi pe cei din jur și poate cauza pagube materiale.
Pentru a preveni o încărcare statică din cauza aprinderii combustibilului, plasaţi recipientul şi/sau maşina direct pe sol înainte de umplere, nu pe un vehicul sau obiect.
Umpleți rezervorul de combustibil într-un spațiu deschis, cu motorul rece. Ștergeți orice urmă de combustibil scurs.
Nu manipulaţi combustibilul când fumaţi sau în apropierea unei flăcări deschise sau a scânteilor.
Nu îndepărtați bușonul rezervorului și nu umpleți rezervorul de combustibil în timp ce motorul este pornit sau fierbinte.
Dacă vărsați combustibil, nu încercați să porniți motorul. Evitați crearea unei surse de aprindere până la disiparea vaporilor de combustibil.
Depozitaţi combustibilul într-un rezervor corespunzător şi nu îl lăsaţi la îndemâna copiilor.
Combustibilul este dăunător sau fatal dacă este înghițit. Expunerea pe termen lung la vapori poate provoca răni grave și îmbolnăviri.
Evitați inspirarea pe termen lung a vaporilor.
Țineți mâinile și fața departe de duză și de deschiderea rezervorului de combustibil.
Țineți combustibilul departe de ochi și piele.
| Tip | Benzină fără plumb |
| Cifra octanică minimă | 87 (SUA) sau 91 (cifra octanică research”; în afara SUA) |
| Etanol | Nu mai mult de 10% din volum |
| Metanol | Fără |
| MTBE (metil‐terț‐butil‐eter) | Mai puțin de 15% din volum |
| Ulei | Nu adăugaţi în combustibil |
Utilizați numai combustibil curat, proaspăt (nu mai mult de 30 de zile), de la o sursă de încredere.
Important: Pentru a reduce problemele la pornire, adăugaţi stabilizator/aditiv de combustibil în combustibilul proaspăt, conform instrucţiunilor producătorului stabilizatorului/aditivului de combustibil.
Pentru informații suplimentare, consultaţi manualul utilizatorului motorului.
Umpleți rezervorul de combustibil în modul indicat în Figura 9.

| Interval de întreţinere şi service | Procedură de întreţinere |
|---|---|
| Înainte de fiecare folosinţă sau zilnic |
|
Important: Dacă nivelul de ulei din carter este prea scăzut sau prea ridicat și porniți motorul, este posibil să defectați mașina.


Puteți ridica sau coborî mânerul în 1 din cele 2 poziții disponibile pentru confortul dumneavoastră (Figura 11).

Îndepărtați ambele butoane de pe mâner.
Deplasați mânerul în poziţia de înălțime dorită.
Fixați mânerul folosind butoanele de mâner îndepărtate anterior.
Reglarea manetelor pentru înălțimea de tăiere vă poate aduce mâinilor în contact cu o lamă aflată în mișcare, ceea ce cauza vătămări grave.
Opriți motorul și aşteptaţi oprirea tuturor pieselor mobile înainte de a regla înălțimea de tăiere.
Nu introduceți degetele sub carcasă în timp ce reglați înălțimea de tăiere.
Dacă motorul rulează, toba de eșapament va fi fierbinte și vă poate provoca arsuri.
Păstrați distanța față de toba de eșapament fierbinte.
Reglați înălțimea de tăiere conform preferințelor. Setați toate roțile la aceeași înălțime de tăiere (Figura 12).

Purtați îmbrăcăminte adecvată, inclusiv ochelari de protecție, pantaloni lungi, încălțăminte solidă, antiderapantă și căști pentru protecția auzului. Strângeți la spate părul lung și nu purtați îmbrăcăminte largă sau bijuterii.
Utilizați mașina cu foarte mare atenție. Nu vă angrenați în nicio activitate care vă poate distrage atenția; în caz contrar, se pot înregistra pagube materiale sau vătămări corporale.
Nu utilizaţi maşina dacă sunteți bolnav, obosit sau sub influența alcoolului sau a drogurilor.
Lama este ascuțită; contactul cu lama poate rezulta în vătămări corporale grave. Opriți motorul și aşteptaţi oprirea tuturor pieselor mobile înainte de a părăsi poziţia de operare.
Atunci când eliberați bara de comandă a lamei, motorul ar trebui să se oprească iar lama ar trebui să se oprească în maxim 3 secunde. În caz contrar, încetați imediat utilizarea mașinii și contactați un centru de service autorizat.
Țineți trecătorii departe de zona de utilizare. Nu permiteţi accesul copiilor mici în zona de operare şi lăsaţi-i în permanenţă în grija unui adult responsabil, care nu utilizează mașina. Opriți mașina dacă în zonă pătrunde orice persoană.
Priviți întotdeauna jos și în spate înainte de a deplasa mașina cu spatele.
Operați mașina doar în condiții de vizibilitate bună și în condiții meteo corespunzătoare. Nu utilizați mașina dacă există riscul unor descărcări electrice.
Iarba udă sau frunzele pot provoca vătămări grave dacă alunecați și intrați în contact cu lama. Evitați să tundeți iarba în condiții umede.
Apropiați-vă cu mare atenție de curbele fără vizibilitate, tufișuri, copaci sau alte obiecte care vă pot bloca vizibilitatea.
Nu direcționați materialul evacuat spre nicio persoană. Evitați evacuarea materialul spre un perete sau obstacol; materialul poate ricoșa spre dumneavoastră. Opriți lama (lamele) atunci când vă deplasați pe suprafețe acoperite cu pietriș.
Aveți grijă la gropi, șanțuri, denivelări, pietre sau alte obiecte ascunse. Terenul denivelat vă poate face să vă pierdeți echilibrul sau stabilitatea.
Dacă mașina se lovește de un obiect sau începe să vibreze, opriți motorul imediat, așteptați până când se opresc toate piesele mobile, deconectaţi cablul bujiei înainte de a verifica dacă mașina este deteriorată. Efectuați reparațiile necesare înainte de a o utiliza din nou.
Înainte de a părăsi poziția de operare, opriţi motorul şi aşteptaţi oprirea tuturor pieselor mobile.
Dacă motorul rulează, acesta va fi fierbinte și vă poate provoca arsuri grave. Păstrați distanța față de motorul fierbinte.
Utilizați motorul numai în zone bine ventilate. Gazele de eșapament conțin monoxid de carbon, care este un gaz inodor, otrăvitor, fatal.
Verificați frecvent componentele dispozitivului de adunat iarbă și jgheabul de evacuare pentru a descoperi orice uzură sau deteriorare și înlocuiți-le cu piese Toro originale, atunci când este necesar.
Tundeți iarba de-a lungul pantelor; niciodată în sus sau în jos. Acordaţi foarte mare atenţie la schimbarea direcţiei pe pante.
Nu tundeți iarba pe pantele foarte abrupte. Stabilitatea necorespunzătoare poate provoca un accident prin alunecare și cădere.
Tundeți iarba cu atenție în apropierea pantelor abrupte, șanțurilor sau terasamentelor.
Țineți bara de comandă pentru lamă lângă mâner (A din Figura 13).
Trageți ușor de mânerul demarorului cu recul până când simțiți că opune rezistență, apoi trageți-l brusc și lăsați-l să se întoarcă încet la ghidajul de cablu de pe mâner (B din Figura 13).

Note: Dacă mașina nu pornește după mai multe încercări, contactați un centru de service autorizat.
Pentru a opera propulsia automată, mergeți pur și simplu cu mâinile pe mânerul superior și coatele în lateral, iar aparatul va ține automat pasul cu dumneavoastră (Figura 14).

Note: Dacă mașina nu rulează liber în spate după propulsia automată, opriți deplasarea, țineți-vă mâinile în poziție și permiteți mașinii să ruleze cu câțiva centimetri (inch) în față pentru a decupla tracțiunea. De asemenea, puteți încerca să ajungeți chiar sub mânerul superior la mânerul metalic și să împingeți mașina în față cu câțiva centimetri (inch). Dacă mașina continuă să nu ruleze în spate cu ușurință, contactați un centru de service autorizat.
| Interval de întreţinere şi service | Procedură de întreţinere |
|---|---|
| Înainte de fiecare folosinţă sau zilnic |
|
Pentru a opri motorul, eliberați bara de comandă pentru lamă.
Important: Atunci când eliberați bara de comandă pentru lamă, atât motorul, cât și lama ar trebui să se oprească în maxim 3 secunde. Dacă nu se opresc corespunzător, încetați imediat utilizarea mașinii și contactați un centru de service autorizat.
Mașina dumneavoastră este pregătită din fabrică să recicleze resturile de iarbă și de frunze înapoi în gazon.
Dacă sacul pentru iarbă se află pe mașină și maneta sac colectare la cerere este în poziția de colectare, deplasați maneta în poziția de reciclare; consultați Utilizarea manetei sac colectare la cerere.
Folosiți sacul pentru iarbă atunci când doriți să colectați resturile de iarbă și de frunze de pe gazon.
Dacă maneta sac colectare la cerere este în poziția de reciclare, deplasați-o în poziția de colectare; consultați Utilizarea manetei sac colectare la cerere.
Pentru a îndepărta sacul, inversați pașii de la Îndepărtarea sacului pentru iarbă.
Funcția sac colectare la cerere vă permite să colectați sau să reciclați resturile de iarbă și de frunze în timp ce sacul pentru iarbă este atașat la mașină.
Pentru a colecta resturile de iarbă și de frunze, apăsați butonul de pe maneta sac colectare la cerere și deplasați maneta în față până când se ridică butonul de pe manetă (Figura 16).

Pentru a recicla sau evacua lateral resturile de iarbă și de frunze, apăsați butonul de pe manetă și deplasați maneta în spate până când se ridică butonul de pe manetă.
Important: Pentru o funcționare corectă, opriți motorul, așteptați până când se opresc toate piesele mobile și apoi îndepărtați orice fel de resturi de iarbă și resturi de la nivelul ușii sacului de colectare la cerere și de pe deschiderea din jur (Figura 17) înainte de a muta maneta sacului de colectare la cerere din poziția 1 în alta.

Inspectați zona în care veți utiliza mașina și îndepărtați toate obiectele pe care mașina le-ar putea proiecta.
Evitați lovirea obiectelor solide cu lama. Nu tundeți iarba trecând în mod voluntar peste obiecte.
Dacă mașina se lovește de un obiect sau începe să vibreze, opriți motorul imediat, așteptați până ce toate piesele mobile se opresc, deconectaţi cablul bujiei și verificați dacă mașina este deteriorată.
Pentru cele mai bune performanțe, instalați o lamă Toro nouă înainte de a începe sezonul de tuns iarba sau atunci când este necesar.
Tăiați aproximativ o treime din firul de iarbă. Nu tăiați mai jos de 51 mm, cu excepția cazului în care iarba este mai rară sau este toamnă târzie, când creșterea ierbii începe să încetinească.
Atunci când tăiați iarba cu o înălțime de peste 15 cm, tăiați mai întâi la cea mai ridicată setare a înălțimii de tăiere și la o viteză mai mică; apoi tăiați din nou la o înălțime de tăiere mai mică pentru ca gazonul să aibă cel mai bun aspect. Dacă iarba este prea lungă, mașina se poate bloca, ceea ce poate duce la calarea motorului.
Iarba și frunzele ude au tendința de a se aduna în cadrul curții și pot cauza blocarea mașinii sau calarea motorului. Evitați să tundeți iarba în condiții umede.
Fiți atenți la potențialul risc de incendiu în condiții foarte uscate, respectați toate avertismentele autorităților locale privind incendiile și preveniți pătrunderea ierbii uscate și a resturilor de frunze în mașină.
Alternați direcția de tăiere. Acest lucru ajută la dispersarea resturilor pe gazon, pentru o fertilizare uniformă.
Dacă aspectul final al gazonului este nesatisfăcător, încercați una sau mai multe din următoarele recomandări:
Înlocuiți lama sau ascuțiți-o.
Deplasați-vă mai încet în timp ce tăiați iarba.
Ridicați înălțimea de tăiere a mașinii dumneavoastră.
Tăiați iarba mai frecvent.
Suprapuneți zonele de tăiere în loc să tăiați iarba dintr-o zonă completă cu fiecare trecere.
După tunderea gazonului, asigurați-vă că jumătate din gazon se vede prin stratul de frunze tăiate. Poate fi nevoie să efectuați mai multe treceri peste frunze.
Dacă pe gazon există un strat de frunze mai mare de 13 cm, tăiați iarba la o înălțime de tăiere mai mare și apoi tăiați iarba din nou la înălțimea de tăiere dorită.
Reduceți viteza de tăiere dacă mașina nu taie frunzele suficient de fin.
Opriți mașina, așteptați oprirea tuturor pieselor mobile și lăsați mașina să se răcească înainte de reglarea, efectuarea lucrărilor de service, curățarea sau depozitarea mașinii.
Curățați iarba și resturile din mașină pentru a ajuta la prevenirea incendiilor. Ștergeți uleiul sau combustibilul scurs.
Nu depozitați niciodată mașina sau recipientul cu combustibil într-o zonă cu flăcări deschise, scântei sau lămpi martor, precum cele de pe un boiler sau alte dispozitive electrice.
Încărcați sau descărcați cu grijă mașina.
Fixați mașina pentru a preveni răsturnarea.
| Interval de întreţinere şi service | Procedură de întreţinere |
|---|---|
| După fiecare folosinţă |
|
Pentru rezultate optime, curățați sub mașină la scurt timp după ce ați terminat de tuns iarba.
Alegeți cea mai mică înălțime de tăiere a mașinii.
Deplasați mașina pe o suprafață pavată, uniformă.
Cu motorul pornit și lama cuplată, direcționați un jet de apă în fața roții dreapta, spate (Figura 18).
Note: Apa va fi pulverizată în direcția lamei, îndepărtând resturile.

Când nu mai sunt eliminate resturi, opriți apa și mutați mașina într-o zonă uscată.
Lăsați motorul să funcționeze timp de câteva minute pentru a usca partea inferioară a mașinii, pentru a preveni ruginirea.
Opriți motorul, îndepărtați butonul de pornire electrică (dacă este prezent), și lăsați mașina să se răcească înainte de a o depozita într-o zonă închisă.
Plierea sau desfășurarea incorectă a mânerului poate deteriora cablurile, ducând la condiții de utilizare nesigure.
Nu deteriorați cablurile în timpul plierii sau desfășurării mânerului.
Dacă un cablu este deteriorat, contactaţi un centru de service autorizat.
Îndepărtați și păstrați cele 2 butoane ale mânerului și 2 șuruburi de fixare din suporturile mânerului (A din Figura 19).
Important: Poziționați cablurile în exteriorul butoanelor de mâner pe măsură ce pliați mânerul.
Pliați mânerul prin rotirea acestuia în față (B din Figura 19).
Strângeți ușor butoanele de mâner și șuruburile de fixare pe suporturile mânerului (C din Figura 19).
Pentru a desfășura mânerul, consultați Asamblarea și deplierea mânerului..

| Interval de întreţinere şi service | Procedură de întreţinere |
|---|---|
| Înainte de fiecare folosinţă sau zilnic |
|
| După fiecare folosinţă |
|
| La intervale de 25 de ore |
|
| Anual |
|
| Anual sau înainte de depozitare |
|
Important: Consultaţi manualul utilizatorului motorului pentru proceduri de întreţinere suplimentare.
Opriți mașina, așteptați oprirea tuturor pieselor mobile și lăsați mașina să se răcească înainte de reglarea, efectuarea lucrărilor de service, curățarea sau depozitarea mașinii.
Deconectați cablul de la bujie înainte de a efectua orice proceduri de întreținere.
Purtați mănuși și protecție pentru ochi atunci când efectuați lucrări de service asupra mașinii.
Lama este ascuțită; contactul cu lama poate rezulta în vătămări corporale grave. Purtați mănuși în timpul lucrărilor de service asupra lamei. Nu reparați și nu modificați lama (lamele).
Nu modificați niciodată dispozitivele de siguranță. Verificați periodic funcționarea corectă a acestora.
Înclinarea mașinii poate cauza scurgerea combustibilului. Combustibilul este inflamabil și exploziv și poate cauza vătămări corporale. Rulați motorul fără combustibil sau îndepărtați combustibilul cu o pompă manuală; nu scurgeți niciodată combustibilul.
Pentru performanțe optime ale mașinii, utilizați exclusiv piese de schimb și accesorii originale Toro. Piesele de schimb și accesoriile altor producători pot fi periculoase și pot anula garanția produsului.
Opriți motorul și așteptați până la oprirea tuturor pieselor mobile.
Deconectați cablul de la bujie (Figura 20).

După efectuarea procedurii (procedurilor) de întreținere, conectați cablul la bujie.
Important: Înainte de a înclina mașina pentru a schimba uleiul sau a înlocui lama, lăsați rezervorul de combustibil să se usuce în timpul utilizării normale. Dacă trebuie să înclinați mașina înainte de a rămâne fără combustibil, utilizați o pompă manuală de combustibil pentru a scurge combustibilul. Amplasați întotdeauna mașina pe o parte, cu joja orientată în jos.
| Interval de întreţinere şi service | Procedură de întreţinere |
|---|---|
| La intervale de 25 de ore |
|
| Anual |
|
Desprindeți partea superioară a capacului filtrului de aer (Figura 21).

Îndepărtați fitrul de aer (Figura 21).
Verificați fitrul de aer.
Note: Dacă filtrul de aer este excesiv de murdar, înlocuiți-l cu un filtru nou. În caz contrar, scuturați ușor filtrul de aer pe o suprafață tare pentru a elimina resturile.
Montați filtrul de aer.
Utilizați clema pentru a monta capacul filtrului de aer.
| Interval de întreţinere şi service | Procedură de întreţinere |
|---|---|
| Anual |
|
Schimbarea uleiului de motor nu este necesară, dar dacă doriți să schimbați uleiul, utilizați următoarea procedură.
Note: Turaţi motorul timp de câteva minute înainte de a schimba uleiul, pentru a-l încălzi. Uleiul cald curge mai bine și transportă mai mulți agenți de contaminare.
| Capacitate ulei de motor | 0,44 l* |
| Vâscozitate ulei | Ulei detergent SAE 30 sau SAE 10W-30 |
| Clasificare de service API | SJ sau superioară |
*După ce îndepărtați uleiul din carter, în acesta rămâne ulei rezidual. Nu umpleți carterul cu ulei până la capacitatea maximă. Umpleți carterul cu ulei conform instrucţiunilor din pașii care urmează.
Deplasați mașina pe o suprafață uniformă.
Consultați Pregătirea pentru întreţinere.
Scoateți joja rotind capacul în sens invers acelor de ceasornic și trăgându-l (Figura 22).

Înclinați mașina pe o parte (astfel încât filtrul de aer să fie orientat în sus) pentru a scurge uleiul uzat din tubul de umplere cu ulei (Figura 23).

După scurgerea uleiului uzat, readuceți mașina în poziție de operare.
Turnați cu grijă în tubul de umplere cu ulei o cantitate de aproximativ ¾ din capacitatea motorului.
Așteptați 3 minute ca uleiul să se așeze în motor.
Ștergeți joja cu o lavetă curată.
Introduceți joja în tubul de umplere cu ulei, însurubați-o, apoi îndepărtați joja.
Verificaţi nivelul de ulei indicat pe jojă (Figura 22).
Dacă nivelul de ulei indicat de jojă este prea scăzut, turnați cu grijă o cantitate mică de ulei în tubul de umplere, așteptați 3 minute și repetați pașii de la 8 la 10 până când nivelul de ulei indicat de jojă va fi corect.
Dacă nivelul de ulei indicat de jojă este prea ridicat, îndepărtați excesul de ulei până când nivelul de ulei indicat de jojă va fi corect.
Important: Dacă nivelul de ulei din motor este prea scăzut sau prea ridicat și porniți motorul, este posibil să defectați mașina.
Instalați joja în siguranță în tubul de umplere cu ulei.
Reciclați în mod corespunzător uleiul uzat.
| Interval de întreţinere şi service | Procedură de întreţinere |
|---|---|
| Anual |
|
Important: Pentru a instala lama corect veți avea nevoie de o cheie. Dacă nu dețineți o cheie sau considerați că nu puteți realiza această procedură, contactaţi un centru de service autorizat.
Verificați lama ori de câte ori rămâneți fără combustibil. Dacă lama este deteriorată sau fisurată, înlocuiți-o imediat. Dacă marginea lamei este tocită sau prezintă crestături, ascuțiți-o și echilibrați-o sau înlocuiți-o.
Lama este ascuțită; contactul cu lama poate rezulta în vătămări corporale grave.
Purtați mănuși în timpul lucrărilor de service asupra lamei.
Consultați Pregătirea pentru întreţinere.
Înclinați mașina pe o parte, cu filtrul de aer orientat în sus.
Folosiți o bucată de lemn pentru a menține lama stabilă (Figura 24).

Îndepărtați lama, păstrând toate elementele de montare (Figura 24).
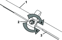
Instalați lama nouă și toate elementele de montare (Figura 25).

Important: Amplasați capetele curbate ale lamei cu fața în sus, spre carcasa mașinii.
Folosiți o cheie pentru a strânge șurubul lamei la un cuplu de 82 N∙m.
Oricând instalați un nou cablu al unității de propulsie automată sau dacă unitatea de propulsie automată nu mai este reglată, reglați cablul unității de propulsie automată.
Rotiți piulița de reglare în sens invers acelor de ceasornic pentru a slăbi cablul (Figura 26).


Ajustați tensionarea cablului (Figura 26) trăgându-l în spate sau în față și menținând poziția.
Note: Împingeți cablul spre motor pentru a mări tracțiunea; trageți cablul de la motor pentru a reduce tracțiunea.
Rotiți piulița de reglare în sensul acelor de ceasornic pentru a strânge.
Note: Strângeți ferm piulița cu o cheie.
Depozitați mașina într-un loc răcoros, curat și uscat.
Opriți mașina, așteptați oprirea tuturor pieselor mobile și lăsați mașina să se răcească înainte de reglarea, efectuarea lucrărilor de service, curățarea sau depozitarea mașinii.
La ultima realimentare din an, adăugați stabilizator în combustibil (cum ar fi Tratamentul pentru combustibil Toro Premium), conform instrucțiunilor de pe etichetă.
Eliminaţi în mod corespunzător combustibilul neutilizat. Reciclați-l în funcție de codurile locale sau utilizați-l în automobil.
Important: Combustibilul vechi din rezervorul de combustibil este principala cauză a pornirii grele. Nu depozitați combustibilul fără stabilizator pentru o perioadă mai lungă de 30 de zile și nu depozitați stabilizatorul de combustibil pentru o perioadă mai lungă decât cea recomandată de producătorul stabilizatorului.
Turaţi maşina până când motorul se opreşte din cauza consumării complete a combustibilului.
Porniți motorul și turați-l până se oprește. Când nu mai puteţi porni motorul, înseamnă că acesta este suficient de uscat.
Deconectați cablul de la bujie și conectați cablul la brațul de fixare (dacă este disponibil) și îndepărtați butonul de pornire electrică (dacă este disponibil).
Scoateţi bujia, adăugaţi 30 ml de ulei de motor prin orificiul bujiei şi trageţi uşor, de câteva ori, cablul demarorului cu recul, pentru a distribui uleiul prin cilindru, în scopul prevenirii corodării cilindrului pe perioada depozitării maşinii.
Montaţi bujia, fără a o strânge.
Strângeți toate piulițele și șuruburile.
Verificați și strângeți toate elementele de fixare.
Scoateţi bujia şi turaţi motorul rapid, utilizând mânerul de pornire cu recul pentru a elimina uleiul în exces din cilindru.
Instalați bujia și strângeți-o cu o cheie dinamometrică la 20 N∙m.
Efectuați orice proceduri de întreținere; consultați .
Verificați nivelul uleiului de motor; consultați Verificarea nivelului uleiului de motor.
Umpleți rezervorul cu combustibil proaspăt; consultați Umplerea rezervorului de combustibil.
Conectaţi cablul la bujie.