| Интервал сервисног одржавања | Поступак одржавања |
|---|---|
| Пре сваке употребе или свакодневно |
|
Ova gurajuća kosilica sa rotacionim sečivom je namenjena vlasnicima kuća u stambenim oblastima. Prevashodno je projektovana za košenje trave na dobro održavanim travnjacima stambenih objekata. Korišćenje ovog proizvoda za namene za koje nije predviđen može da bude opasno po vas i okolne posmatrače.
Pažljivo pročitajte ove informacije da biste naučili kako da pravilno koristite i održavate svoj uređaj i kako da izbegnete povrede i oštećenje proizvoda. Pravilno i bezbedno rukovanje proizvodom je vaša odgovornost.
Posetite www.Toro.com za više informacija, uključujući savete u vezi sa bezbednošću, materijale za obuku, informacije o dodatnoj opremi, pomoć u pronalaženju prodavca ili da biste registrovali svoj proizvod.
Kad god vam je potreban servis, originalni Toro delovi ili dodatne informacije, obratite se ovlašćenom serviseru ili Toro korisničkoj službi i pripremite broj modela i serijski broj vašeg proizvoda. Слика 1 pokazuje lokaciju modela i serijskog broja na proizvodu. Zapišite brojeve u za to predviđenom prostoru.
Important: Možete da mobilnim uređajem skenirate QR kôd na nalepnici sa serijskim brojem (ako je deo opreme) kako biste pristupili informacijama o garanciji, delovima i drugim informacijama o proizvodu

Ovaj priručnik pokazuje potencijalne opasnosti i sadrži bezbednosne poruke označene simbolom za bezbednosno upozorenje (Слика 2), koji signalizira opasnost koja može dovesti do teške povrede ili smrtnog ishoda ako ne pratite preporučene mere opreza.

Ovaj priručnik koristi 2 reči za isticanje informacija. Važno skreće pažnju na posebne mehaničke informacije, a Napomena naglašava opšte informacije koje zaslužuju posebnu pažnju.
Ovaj proizvod zadovoljava sve relevantne evropske direktive; za detalje pogledajte odvojeni list deklaracije o usklađenosti (DOC) za određeni proizvod.
Bruto ili neto obrtni moment: Bruto ili neto obrtni moment ovog motora je ocenio proizvođač motora u laboratoriji u skladu sa Društvom automobilskih inženjera (engl. Society of Automotive Engineers, SAE) J1940 ili J2723. S obzirom da je konfigurisan da zadovolji zahteve u pogledu bezbednosti, emisije i rada, stvarni obrtni moment motora na ovoj klasi kosilice biće značajno manji. Potražite informacije proizvođača motora priložene uz ovu mašinu.
Nemojte vršiti neovlašćene izmene ili onemogućavati sigurnosne uređaje na mašini i redovno proveravajte njihovu ispravnost. Ne pokušavajte da podešavate ili menjate kontrolu brzine motora; time možete dovesti do nebezbednih radnih uslova, a time i do telesne povrede.
Ovaj proizvod je u stanju da amputira šake i stopala i da baca predmete. Uvek poštujte sva bezbednosna uputstva kako biste izbegli tešku telesnu povredu ili smrtni ishod.
Pre pokretanja motora, s razumevanjem pročitajte i pridržavajte se uputstava i upozorenja u ovom priručniku za operatera i na mašini i priključcima.
Nemojte približavati šake ili stopala pokretnim delovima ili ispod mašine. Držite se podalje od svakog otvora za pražnjenje.
Nemojte da rukujete mašinom ako svi štitnici i drugi sigurnosni zaštitni uređaji nisu na mestu i ne funkcionišu pravilno na mašini.
Vodite računa da posmatrači i deca budu van radnog prostora. Ne dozvolite deci da koriste mašinu. Samo osobama koje su odgovorne, obučene, upoznate sa uputstvima i fizički u stanju dozvolite da koriste mašinu.
Pre servisiranja, punjenja goriva ili odčepljivanja mašine, zaustavite mašinu, isključite motor i sačekajte da se svi pokretni delovi zaustave.
Nepravilno korišćenje ili održavanje ove
mašine akumulatora može dovesti do povrede. Da biste
smanjili mogućnost povrede, poštujte ova bezbednosna
uputstva i uvek obratite pažnju na simbol za bezbednosno upozorenje
, koji znači Oprez,
Upozorenje ili Opasnost – uputstvo za ličnu bezbednost.
Nepoštovanje ovih uputstava može dovesti do telesne
povrede ili smrtnog ishoda.
![]() |
Bezbednosne nalepnice i uputstva su lako vidljivi operateru i nalaze se u blizini svake oblasti sa potencijalnom opasnošću. Zamenite svaku nalepnicu koja je oštećena ili nedostaje. |




Important: Uklonite i odložite zaštitnu plastičnu ploču koja pokriva motor i svaku drugu plastiku ili omot na mašini.

Important: Za bezbedno i jednostavno pokretanje motora pri svakom korišćenju mašine, postavite uže za ručno pokretanje u vođicu užeta.

Important: Ako upalite motor dok je nivo ulja u motoru prenizak ili previsok, možete da oštetite motor.



| Model | Težina | Dužina | Širina | Visina |
|---|---|---|---|---|
| 21771 | 35 kg | 151 cm | 59 cm | 109 cm |
Radi poboljšanja i proširenja mogućnosti mašine, za korišćenje sa njom je dostupan izbor dodatne opreme i priključaka koje je odobrila kompanija Toro. Za listu odobrene dodatne opreme i priključaka obratite se ovlašćenom serviseru ili ovlašćenom distributeru kompanije Toro ili posetite www.Toro.com.
Da biste obezbedili optimalne performanse i produžetak bezbednosne sertifikacije mašine, koristite samo originalne zamenske delove i dodatnu opremu kompanije Toro. Zamenski delovi i dodatna oprema drugih proizvođača može biti opasna i njihovo korišćenje može da poništi garanciju za proizvod.
Note: Utvrdite levu i desnu stranu mašine iz uobičajenog položaja operatera.
Pre podešavanja, servisiranja, čišćenja ili odlaganja mašine, uvek isključite mašinu, sačekajte da se svi pokretni delovi zaustave i sačekajte da se ohladi.
Upoznajte se sa bezbednim korišćenjem opreme, komandama operatera i bezbednosnim znacima.
Proverite da li su svi štitnici i sigurnosni uređaji, poput deflektora i/ili sakupljača trave na mestu i funkcionišu pravilno.
Uvek pregledajte mašinu kako biste se uverili da sečiva i zavrtnji sečiva nisu pohabani ili oštećeni.
Pregledajte prostor na kom ćete koristiti mašinu i uklonite sve predmete koji bi mogli ometati rad mašine ili koje bi mašina mogla odbaciti.
Kontakt sa pokretnim sečivom će dovesti do teške povrede. Nemojte stavljati prste ispod mašine.
Gorivo je lako zapaljivo i vrlo eksplozivno. Požar ili eksplozija goriva može da izazove opekotine kod vas i drugih osoba i može oštetiti imovinu.
Da biste sprečili da statički elektricitet zapali gorivo, pre punjenja stavite kanister i/ili mašinu direktno na zemlju, ne u vozilo ili na neki predmet.
Rezervoar za gorivo punite napolju, na otvorenom prostoru, kada je motor hladan. Obrišite gorivo koje se prospe.
Nemojte rukovati gorivom dok pušite ili u blizini otvorenog plamena ili varnica.
Nemojte skidati poklopac za gorivo niti dolivati gorivo u rezervoar dok motor radi ili je vruć.
Ako prospete gorivo, ne pokušavajte da pokrenete motor. Izbegavajte stvaranje izvora paljenja dok se pare goriva ne rasprše.
Gorivo čuvajte u odobrenom kanisteru i držite ga van domašaja dece.
Gorivo je štetno ili smrtonosno ako se proguta. Dugotrajno izlaganje parama može dovesti do teške povrede i bolesti.
Izbegavajte dugotrajno udisanje para.
Držite šake i lice podalje od mlaznice i otvora rezervoara za gorivo.
Gorivo držite podalje od očiju i kože.
| Tip | Bezolovni benzin |
| Minimalni oktanski broj | 87 (SAD) ili 91 (istraživački oktanski broj; izvan SAD) |
| Etanol | Ne više od 10% zapremine |
| Metanol | Nijedan |
| MTBE (metil tercijarni butil etar) | Manje od 15% zapremine |
| Ulje | Ne dodavati u gorivo |
Koristite samo čisto, sveže (ne starije od 30 dana) gorivo od proverenog prodavca.
Important: Da biste smanjili probleme sa pokretanjem, u sveže gorivo dodajte stabilizator/regenerator goriva prema uputstvu proizvođača stabilizatora/regeneratora goriva.
Dodatne informacije potražite u priručniku za vlasnike motora.
Napunite rezervoar za gorivo kao što je prikazano na Слика 9.

| Интервал сервисног одржавања | Поступак одржавања |
|---|---|
| Пре сваке употребе или свакодневно |
|
Important: Ako upalite motor dok je nivo ulja u kućištu motora prenizak ili previsok, možete da oštetite motor.


Ručku možete podići ili spustiti u 1 od 2 položaja koji vam je udobniji (Слика 11).

Uklonite oba zavrtnja ručke.
Pomerite ručku u položaj željene visine.
Pričvrstite ručku sa prethodno uklonjenim zavrtnjima ručke.
Podešavanje ručica za visinu košenja moglo bi dovesti do kontakta vaših šaka sa pokretnim sečivom i time do teške povrede.
Pre podešavanja visine košenja, isključite motor i sačekajte da se svi pokretni delovi zaustave.
Nemojte stavljati prste ispod kućišta kada podešavate visinu košenja.
Ako je motor radio, izduvni lonac će biti vruć i može da vas opeče.
Držite se podalje od vrućeg izduvnog lonca.
Podesite visinu košenja po želji. Postavite sve točkove na istu visinu košenja (Слика 12).

Nosite odgovarajuću odeću, uključujući zaštitu za oči; dugačke pantalone; izdržljivu neklizajuću obuću; i zaštitu za uši. Zavežite pozadi dugu kosu i nemojte nositi široku odeću ili labavi nakit.
Posvetite punu pažnju dok koristite mašinu. Nemojte se baviti aktivnostima koje odvlače pažnju; u suprotnom može doći do povrede ili materijalne štete.
Nemojte da rukujete mašinom kada ste umorni ili pod uticajem alkohola ili lekova.
Sečivo je oštro; dodirivanje sečiva može dovesti do teške telesne povrede. Pre nego što napustite položaj operatera, isključite motor i sačekajte da se svi pokretni delovi zaustave.
Kada otpustite polugu za kontrolu sečiva, motor bi trebalo da se isključi i sečivo bi trebalo da se zaustavi u roku od 3 sekunde. Ako to nije slučaj, odmah prestanite da koristite mašinu i obratite se ovlašćenom serviseru.
Vodite računa da posmatrači budu van radnog prostora. Držite malu decu van radnog prostora i pod brižnim nadzorom odgovorne odrasle osobe koja ne rukuje mašinom. Zaustavite mašinu ako neko uđe u prostor.
Uvek pogledajte nadole i iza sebe pre pomeranja mašine unazad.
Mašinom rukujte samo u uslovima dobre vidljivosti i odgovarajućim vremenskim uslovima. Nemojte koristiti mašinu kada postoji opasnost od grmljavine.
Mokra trava ili lišće mogu dovesti do teške povrede ako se okliznete i dodirnete sečivo. Izbegavajte košenje u vlažnim uslovima.
Budite naročito pažljivi kada prilazite slepim uglovima, žbunju, drveću ili drugim predmetima koji mogu da vam zaklone pogled.
Nemojte usmeravati materijal za pražnjenje ka bilo kome. Izbegavajte pražnjenje materijala uz zid ili prepreku; materijal bi mogao da se odbije ka vama. Zaustavite sečivo(a) kada prelazite šljunkovite površine.
Pazite na rupe, brazde, izbočine, kamenje ili druge skrivene predmete. Neravan teren može da dovede do toga da izgubite ravnotežu ili uporište.
Ako mašina udari u neki predmet ili počne da vibrira, odmah isključite motor, sačekajte da se svi pokretni delovi zaustave i iskopčajte kabl sa svećice pre pregledanja mašine u potrazi za oštećenjem. Obavite sve potrebne popravke pre nego što nastavite sa radom.
Pre nego što napustite položaj operatera, isključite motor i sačekajte da se svi pokretni delovi zaustave.
Ako je motor radio, biće vruć i može da vas ozbiljno opeče. Držite se podalje od vrućeg motora.
Motor pokrećite samo u dobro provetrenom prostoru. Izduvni gasovi sadrže ugljen-monoksid, koji predstavlja smrtonosni otrov bez mirisa.
Često proveravajte delove sakupljača trave i kanal za pražnjenje na znakove istrošenosti ili oštećenja i po potrebi ih zamenite originalnim Toro delovima.
Kosite popreko površine nagibe; nikada uz ili niz. Budite naročito pažljivi pri promeni pravca na nagibima.
Nemojte kositi na preterano strmim nagibima. Loše uporište bi moglo da izazove nezgodu usled klizanja i pada.
Kosite oprezno blizu strmina, rovova ili nasipa.
Držite prečku za kontrolu sečiva uz ručku (A na Слика 13).
Lagano povucite ručku za ručno pokretanje dok ne osetite otpor, zatim je naglo povucite i pustite da se polako vrati u vođicu užeta na ručki (B na Слика 13).

Note: Ako se mašina ne pokrene nakon nekoliko pokušaja, obratite se ovlašćenom serviseru.
Za korišćenje samohodnog pogona, jednostavno hodajte sa rukama na gornjoj ručki i laktovima sa strane i mašina će automatski držati korak sa vama (Слика 14).

Note: Ako se mašina ne okreće slobodno unazad nakon samopokretanja, prestanite hodati, držite ruke na mestu i pustite da se mašina okrene nekoliko centimetara unapred da bi se deaktivirao pogonski točak. Takođe možete pokušati dohvatiti metalnu ručku neposredno ispod gornje ručke i gurnuti mašinu unapred nekoliko centimetara. Ako se mašina i dalje ne okreće lako unazad, obratite se ovlašćenom serviseru.
| Интервал сервисног одржавања | Поступак одржавања |
|---|---|
| Пре сваке употребе или свакодневно |
|
Da biste isključili motor, otpustite prečku za kontrolu sečiva.
Important: Kada otpustite prečku za kontrolu sečiva, i motor i sečivo bi trebalo da se zaustave u roku od 3 sekunde. Ako se ne zaustave pravilno, odmah prestanite da koristite mašinu i obratite se ovlašćenom serviseru.
Vaša mašina se fabrički isporučuje spremna za recikliranje pokošene trave i lišća na travnjaku.
Ako je vreća za travu na mašini i ručica za opciono skupljanje u položaju za skupljanje, pomerite ručicu u položaj za recikliranje; pogledajte Korišćenje ručice za opciono skupljanje.
Koristite vreću za travu kada želite skupljati pokošenu travu i lišće sa travnjaka.
Ako je ručica za opciono skupljanje u položaju za recikliranje, pomerite je u položaj za skupljanje; pogledajte Korišćenje ručice za opciono skupljanje.
Da biste uklonili vreću, sprovedite korake iz odeljka Uklanjanje vreće za travu obrnutim redosledom.
Funkcija opcionog skupljanja vam omogućava da ili skupljate ili reciklirate pokošenu travu i lišće dok je vreća za travu postavljena na mašini.
Za skupljanje pokošene trave i lišća, pritisnite dugme na ručici za opciono skupljanje i pomerajte ručicu unapred dok dugme na ručici ne iskoči (Слика 16).

Za recikliranje pokošene trave i lišća, pritisnite dugme na ručici i pomerajte ručicu unazad dok dugme na ručici ne iskoči.
Important: Za pravilan rad, isključite motor, sačekajte da se svi pokretni delovi zaustave, a zatim uklonite svu pokošenu travu i otpatke sa vrata za opciono skupljanje i okolnog otvora (Слика 17) pre nego što pomerite ručicu za opciono skupljanje iz jednog položaja u drugi.

Pregledajte prostor na kom ćete koristiti mašinu i uklonite sve predmete koje bi mašina mogla odbaciti.
Izbegavajte udaranje tvrdih predmeta sečivom. Nikada nemojte namerno kositi preko bilo kog predmeta.
Ako mašina udari u neki predmet ili počne da vibrira, odmah isključite motor, sačekajte da se svi pokretni delovi zaustave, iskopčajte kabl sa svećice i pregledajte mašinu u potrazi za oštećenjem.
Za najbolje rezultate postavite novo sečivo kompanije Toro pre početka sezone košenja ili kada je to potrebno.
Odsecajte samo trećinu vlati trave odjednom. Ne skraćujete ispod 51 mm osim ako je trava proređena ili ako je kasna jesen kada trava sporije raste.
Prilikom košenja trave više od 15 cm, pokosite na najvećoj postavci visine košenja i hodajte sporije; zatim ponovo pokosite na nižoj postavci za što bolji izgled travnjaka. Ako je trava preduga, mašina može da se začepi i tako izazove zastoj motora.
Mokra trava i lišće obično formiraju grumen u dvorištu i mogu izazvati začepljenje mašine ili zastoj motora. Izbegavajte košenje u vlažnim uslovima.
Imajte u vidu moguću opasnost od požara u vrlo suvim uslovima, pratite sva lokalna upozorenja za požare i održavajte mašinu bez otpadaka suve trave i lišća.
Naizmenično menjajte smer košenja. To pomaže u rasipanju pokošene trave preko travnjaka radi ravnomernog đubrenja.
Ako niste zadovoljni konačnim izgledom travnjaka, pokušajte jedno ili više od sledećih uputstava:
Zamenite sečivo ili ga naoštrite.
Hodajte sporijim tempom tokom košenja.
Podignite visinu košenja na mašini.
Češće kosite travu.
Preklapajte područja otkosa umesto da kosite puni otkos pri svakom prolazu.
Nakon košenja travnjaka, proverite da li je pola travnjaka vidljivo kroz poklopac pokošenog lišća. Možda ćete morati da više od jednom pređete preko lišća.
Ako je na travnjaku više od 13 cm lišća, kosite na većoj postavci visine košenja, a zatim ponovo na željenoj visini košenja.
Usporite brzinu košenja ako mašina dovoljno ne usitnjava lišće.
Pre podešavanja, servisiranja, čišćenja ili odlaganja mašine, uvek isključite mašinu, sačekajte da se svi pokretni delovi zaustave i sačekajte da se ohladi.
Očistite travu i otpatke sa mašine kako biste pomogli u sprečavanju požara. Očistite prosuto ulje ili gorivo.
Mašinu ili kanister sa gorivom nemojte nikada skladištiti na mestu na kom ima otvorenog plamena, varnica ili pomoćni plamenik, kao na kotlu za grejanje vode ili na drugim aparatima.
Budite pažljivi prilikom utovara ili istovara mašine.
Mašinu pričvrstite od kotrljanja.
| Интервал сервисног одржавања | Поступак одржавања |
|---|---|
| Након сваке употребе |
|
Za najbolje rezultate, očistite mašinu neposredno nakon što završite košenje.
Spustite mašinu na najnižu postavku visine košenja.
Premestite mašinu na popločanu ravnu površinu.
Uz uključen motor i aktivirano sečivo, prskajte mlaz vode ispred desnog, zadnjeg točka (Слика 18).
Note: Voda će prskati na put sečiva čisteći ostatke pokošene trave.

Kada ostaci pokošene trave više ne izlaze, zaustavite vodu i premestite mašinu na suvo mesto.
Pokrenite motor i pustite ga da radi nekoliko minuta da osuši donju stranu mašine kako biste sprečili njeno rđanje.
Isključite motor, uklonite dugme za električno pokretanje (ako je deo opreme) i sačekajte da se mašina ohladi pre nego što je skladištite u zatvorenom prostoru.
Nepravilno sklapanje ili rasklapanje ručke može da ošteti kablove i time izazove opasne radne uslove.
Nemojte oštetiti kablove prilikom sklapanja ili rasklapanja ručke.
Ako je kabl oštećen, obratite se ovlašćenom serviseru.
Uklonite i sačuvajte 2 zavrtnja ručke i 2 noseća vijka sa nosača ručke (A na Слика 19).
Important: Provucite kablove ka spoljnoj strani zavrtnjeva ručke dok sklapate ručku.
Sklopite ručku okrećući je unapred (B na Слика 19).
Labavo postavite zavrtnje ručke i noseće vijke sa nosača ručke (C na Слика 19).
Za rasklapanje ručke, pogledajte Montiranje i rasklapanje ručke.

| Интервал сервисног одржавања | Поступак одржавања |
|---|---|
| Пре сваке употребе или свакодневно |
|
| Након сваке употребе |
|
| Сваких 25 сати |
|
| Годишње |
|
| Годишње или пре складиштења |
|
Important: Dodatne postupke održavanja potražite u priručniku za vlasnike motora.
Pre podešavanja, servisiranja, čišćenja ili odlaganja mašine, uvek isključite mašinu, sačekajte da se svi pokretni delovi zaustave i sačekajte da se ohladi.
Pre bilo kakvog postupka održavanja skinite kabl svećice sa svećice.
Nosite rukavice i zaštitu za oči kada servisirate mašinu.
Sečivo je oštro; dodirivanje sečiva može dovesti do teške telesne povrede. Nosite rukavice kada servisirate sečivo. Nemojte vršiti popravke ili prepravke sečiva.
Nemojte nikada vršiti neovlašćene izmene na bezbednosnim uređajima. Redovno proveravajte njihovu ispravnost.
Naginjanje mašine može dovesti do curenja goriva. Gorivo je zapaljivo i eksplozivno i može da izazove telesnu povredu. Motor upotrebljavajte dok ne potrošite gorivo ili gorivo ispustite pomoću ručne pumpe; nikada pomoću sifonske pumpe.
Da biste obezbedili optimalne performanse mašine, koristite samo originalne zamenske delove i dodatnu opremu kompanije Toro. Zamenski delovi i dodatna oprema drugih proizvođača može biti opasna i njihovo korišćenje može da poništi garanciju za proizvod.
Isključite motor i sačekajte da se svi pokretni delovi zaustave.
Skinite kabl svećice sa svećice (Слика 20).

Nakon završenog postupka održavanja kabl svećice ponovno spojite sa svećicom.
Important: Pre nego što nagnete mašinu da biste zamenili ulje ili sečivo, upotrebljavajte mašinu na uobičajen način dok ne potrošite gorivo. Ako morate nagnuti mašinu pre nego što se potroši gorivo, gorivo ispustite pomoću ručne pumpe. Mašinu uvek nagnite bočno tako da merna šipka bude usmerena nadole.
| Интервал сервисног одржавања | Поступак одржавања |
|---|---|
| Сваких 25 сати |
|
| Годишње |
|
Otkačite gornji deo poklopca filtera za vazduh (Слика 21).

Uklonite filter za vazduh (Слика 21).
Pregledajte filter za vazduh.
Note: Ako je filter za vazduh suviše prljav, zamenite ga novim filterom. U suprotnom, filter za vazduh lagano kuckajte o tvrdu površinu kako bi iz njega ispali otpaci.
Postavite filter za vazduh.
Pomoću kopče postavite poklopac filtera za vazduh.
| Интервал сервисног одржавања | Поступак одржавања |
|---|---|
| Годишње |
|
Zamena motornog ulja nije potrebna, ali ako želite da promenite ulje, primenite sledeći postupak.
Note: Pre zamene ulja pustite motor da radi nekoliko minuta kako bi se zagrejao. Toplo ulje je tečnije i sadrži više zagađivača.
| Kapacitet motornog ulja | 0,44 l* |
| Viskoznost ulja | SAE 30 ili SAE 10W-30 deterdžentno ulje |
| Klasifikacija API servisa | SJ ili više |
*Nakon ispuštanja ulja u kućištu motora ostaje malo ulja. Nemojte napuniti kućište motora do punog kapaciteta ulja. Napunite kućište motora uljem prema uputstvu u sledećim koracima.
Premestite mašinu na ravnu površinu.
Pogledajte Priprema za održavanje.
Mernu šipku izvadite tako što ćete čep okrenuti u smeru suprotnom od kretanja kazaljke na satu i izvući ga (Слика 22).

Mašinu nagnite bočno (tako da filter za vazduh bude okrenut nagore) kako biste ispustili iskorišćeno ulje iz cevi za punjenje ulja (Слика 23).

Nakon ispuštanja iskorišćenog ulja vratite mašinu u položaj operatera.
Pažljivo ulijte ¾ kapaciteta motornog ulja u cev za punjenje ulja.
Sačekajte 3 minuta da se ulje slegne u motoru.
Čistom krpom obrišite šipku za merenje nivoa ulja.
Umetnite mernu šipku u cev za punjenje ulja, učvrstite je, a zatim je izvadite.
Očitajte nivo ulja na mernoj šipki (Слика 22).
Ako je nivo ulja na mernoj šipki prenizak, pažljivo dolijte malo ulja u cev za punjenje ulja, sačekajte 3 minuta i ponavljajte korake od 8 do 10 dok nivo ulja na mernoj šipki ne bude odgovarajući.
Ako je nivo ulja na mernoj šipki previsok, ispuštajte višak ulja dok nivo na mernoj šipki ne bude odgovarajući.
Important: Ako upalite motor dok je nivo ulja u motoru prenizak ili previsok, možete da oštetite motor.
Učvrstite mernu šipku u cev za punjenje ulja.
Propisno reciklirajte iskorišćeno ulje.
| Интервал сервисног одржавања | Поступак одржавања |
|---|---|
| Годишње |
|
Important: Za pravilno postavljanje sečiva potreban je moment-ključ. Ako nemate moment-ključ ili se ne usuđujete da sami obavite ovaj postupak, obratite se ovlašćenom serviseru.
Sečivo pregledajte svaki put kada ostanete bez goriva. Ako je sečivo oštećeno ili napuklo, odmah ga zamenite. Ako je oštrica tupa ili zarezana, naoštrite je i izbalansirajte ili je zamenite.
Sečivo je oštro; dodirivanje sečiva može dovesti do teške telesne povrede.
Nosite rukavice kada servisirate sečivo.
Pogledajte Priprema za održavanje.
Mašinu nagnite bočno tako da filter za vazduh bude usmeren nagore.
Upotrebite drveni blok da držite sečivo stabilnim (Слика 24).

Uklonite sečivo uz čuvanje svih delova za postavljanje (Слика 24).
Postavite novo sečivo i sve delove za postavljanje (Слика 25).

Important: Postavite zaobljene krajeve sečiva tako da budu usmereni ka kućištu mašine.
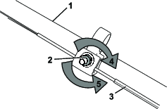
Pomoću moment-ključa zategnite zavrtanj za sečivo na 82 N∙m.
Svaki put kada postavite novi kabl za samohodni pogon ili samohodni pogon nije podešen, podesite samohodni pogon.
Okrenite navrtku za podešavanje u smeru suprotnom od kretanja kazaljke na satu da biste smanjili zategnutost kabla (Слика 26).


Podesite zategnutost kabla (Слика 26) tako što ćete ga povući unazad ili gurnuti unapred i držati u tom položaju.
Note: Gurnite kabl ka motoru kako biste povećali gas; povucite kabl dalje od motora kako biste smanjili gas.
Okrenite navrtku za podešavanje u smeru kretanja kazaljke na satu da biste povećali zategnutost kabla.
Note: Čvrsto zategnite navrtku pomoću nasadnog ključa ili ključa.
Mašinu skladištite na hladnom, čistom i suvom mestu.
Pre podešavanja, servisiranja, čišćenja ili odlaganja mašine, uvek isključite mašinu, sačekajte da se svi pokretni delovi zaustave i sačekajte da se ohladi.
Pri poslednjoj dopuni goriva u godini, u gorivo dodajte stabilizator (kao što je Toro Premium Fuel Treatment) u skladu sa uputstvom na nalepnici.
Pravilno odložite neiskorišćeno gorivo. Reciklirajte gorivo u skladu sa lokalnim propisima ili ga iskoristite za svoj automobil.
Important: Staro gorivo u rezervoaru za gorivo je glavni razlog za teško pokretanje. Nemojte skladištiti gorivo bez stabilizatora goriva duže od 30 dana i nemojte skladištiti gorivo sa stabilizatorom duže od vremena koje preporučuje proizvođač stabilizatora goriva.
Pustite da mašina radi dok se motor ne isključi zbog nedostatka goriva.
Ponovo pokrenite motor i pustite ga da radi dok se ne isključi. Motor je dovoljno suv kada ga više ne možete pokrenuti.
Skinite kabl sa svećice i spojite kabl sa držačem (ako je deo opreme) i uklonite dugme za električno pokretanje (ako je deo opreme).
Izvadite svećicu, dodajte 30 ml motornog ulja kroz otvor svećice, polako povucite uže za ručno pokretanje nekoliko puta kako bi se ulje ravnomerno rasporedilo u cilindru i time sprečila korozija cilindra van sezone upotrebe.
Labavo postavite svećicu.
Zategnite sve navrtke, vijke i zavrtnje.
Proverite i pritegnite sve zavrtnje za pričvršćivanje.
Izvadite svećicu i brzo zavrtite motor tako što ćete povući ručku za ručno pokretanje kako bi se time izbacio višak ulja iz cilindra.
Postavite svećicu i zategnite je moment-ključem na 20 N∙m.
Obavite sve postupke odražavanja; pogledajte .
Proverite nivo motornog ulja; pogledajte Provera nivoa motornog ulja.
Napunite rezervoar za gorivo svežim gorivom; pogledajte Punjenje rezervoara za gorivo.
Spojite kabl na svećicu.