| Hooldusintervallid | Hooldustoimingud |
|---|---|
| Enne iga kasutamist või iga päev |
|
See pöörleva teraga järelkõnnitav niiduk on mõeldud koduomanikele. See on loodud peamiselt hästi hooldatud elamukinnistute muruplatsidel muru niitmiseks. Toote mittesihipärane kasutamine võib olla teile ja kõrvalolijatele ohtlik.
Toote õigeks kasutamiseks ja hooldamiseks ning vigastuste ja toote kahjustamise vältimiseks lugege seda teavet tähelepanelikult. Teie vastutate toote nõuetekohase ja ohutu kasutamise eest.
Lisainformatsiooni, sealhulgas ohutusnõuannete, koolitusmaterjalide, lisaseadmete, edasimüüja leidmise või toote registreerimise kohta leiate veebisaidilt www.toro.com.
Kui vajate hooldust, Toro originaalvaruosi või lisainfot, võtke ühendust volitatud hooldusfirmaga või Toro klienditeenindusega ning vaadake valmis toote mudel ja seerianumber. Joonis 1 näitab tootel mudeli- ja seerianumbri asukohta. Kirjutage numbrid selleks ette nähtud tühjale alale.
Important: Garantiiteabele, varuosadele ja muule tooteteabele juurdepääsuks võite skannida mobiilseadmega seerianumbri sildil oleva QR-koodi (kui olemas).

Selles juhendis on esitatud potentsiaalsed ohud ja hoiatussümboliga (Joonis 2) tähistatud ohutusteated, mis juhivad tähelepanu ohule, mis võib soovitatud ettevaatusabinõude eiramisel tekitada raskeid või eluohtlikke vigastusi.

Selles juhendis kasutatakse kahte sõna teabe esiletõstmiseks. Oluline” juhib tähelepanu erilisele mehaanikateabele ja Märkus” rõhutab üldist teavet, millele tuleks erilist tähelepanu pöörata.
See toode on kooskõlas kõigi asjakohaste Euroopa direktiividega: lisateavet vaadake eraldi tootepõhiselt vastavusdeklaratsiooni lehelt (DOC).
Suurim või kasulik pöördemoment: mootori suurima või kasuliku pöördemomendi arvutas mootori tootja laboris vastavalt Autoinseneride Ühingu (Society of Automotive Engineers ehk SAE) standardile J1940 või J2723. Selle klassi niiduki tegelik mootori pöördemoment on ohutus-, heite- ja käitamisnõuetele vastavaks konfigureeritud kujul oluliselt väiksem. Vaadake masinaga kaasas olevat mootori tootja teavet.
Ärge muutke ega keelake masina turvaseadmeid ning kontrollige regulaarselt nende nõuetekohast toimimist. Ärge püüdke mootori pöörlemiskiiruse regulaatorit reguleerida ega rikkuda – see võib tekitada ohtlikke töötingimusi, mille tulemuseks on kehavigastus.
Toode võib käe või jala amputeerida ja objekte hooga üles paisata. Raskete vigastuste või surma vältimiseks jälgige alati kõiki ohutusjuhiseid.
Enne mootori käivitamist lugege läbi, mõistke ja järgige selles kasutusjuhendis ning masinal ja lisaseadmetel olevaid juhiseid ja hoiatusi.
Ärge pange käsi ega jalgu masina liikuvate osade lähedusse või masina alla. Hoidke tühjendusavad puhtana.
Ärge kasutage masinat, kui mõni selle kaitse ja muu ohutusseade on paigaldamata või need ei tööta korralikult.
Hoidke kõrvalised isikud ja lapsed tööalast eemale. Ärge lubage lastel masinat kasutada. Lubage masinat kasutada vaid vastutustundlikel, koolitatud, juhistega kursis ja füüsiliselt selleks võimelistel inimestel.
Enne masina hooldamist, tankimist või ummistuse eemaldamist peatage masin, seisake mootor ja oodake, kuni kõik liikuvad osad on seiskunud.
Masina valesti kasutamine või hooldamine võib
tekitada kehavigastusi. Kehavigastuste ohu vähendamiseks järgige
neid ohutussuuniseid ja pöörake alati tähelepanu hoiatussümbolile
, mis tähendab ettevaatust,
hoiatus või ohtlik. Nende suuniste eiramine võib tekitada
raskeid või eluohtlikke kehavigastusi.
![]() |
Ohutusmärgid ja juhised on kasutajale lihtsasti nähtavad ning asuvad iga võimaliku ohtliku koha lähedal. Asendage kõik kahjustatud või puuduvad märgised. |




Important: Eemaldage ja visake ära kogu mootorit kattev plastkile või masinal olev pakkematerjal.

Important: Mootori ohutuks ja hõlpsaks käivitamiseks masina kasutamise ajal asetage tagasitõmbevedruga starterinöör nöörijuhikusse.

Important: Võite mootorit kahjustada, kui mootori käitamise ajal on mootori õlitase liiga madal või liiga kõrge.



| Mudel | Kaal | Pikkus | Laius | Kõrgus |
|---|---|---|---|---|
| 21771 | 35 kg | 151 cm | 59 cm | 109 cm |
Masinale on selle võimekuse suurendamiseks saadaval mitmeid Toro heakskiidetud tarvikuid ja lisaseadmeid. Heakskiidetud tarvikute ja lisaseadmete loendit küsige volitatud hooldusfirmast või ametlikult Toro edasimüüjalt või vaadake seda veebisaidil www.Toro.com.
Masina optimaalse jõudluse ja püsiva ohutuse tagamiseks kasutage ainult Toro originaalvaruosi ja lisaseadmeid. Teiste tootjate varuosad ja lisaseadmed võivad olla ohtlikud ning nende kasutamine võib tühistada garantii kehtivuse.
Note: Masina vasaku ja parema poole tuvastamine tavalises tööasendis.
Enne masina reguleerimist, hooldamist, puhastamist või hoiustamist lülitage masin alati välja, laske kõigil liikuvatel osadel seiskuda ja masinal jahtuda.
Tutvuge seadmete ja juhtelementide ohutu kasutamise ning ohutussiltidega.
Kontrollige, et kõik kaitse- ja turvaseadmed, näiteks deflektor ja/või murukoguja, oleks paigas ja töötaksid korralikult.
Kontrollige alati masinat, et terad ja terapoldid poleks kulunud või kahjustatud.
Vaadake üle ala, kus hakkate masinat kasutama, ja eemaldage kõik esemed, mis võivad masina tööd segada või masinalt viskuda.
Kokkupuude liikuva teraga põhjustab tõsiseid vigastusi. Ärge pange sõrmi korpuse alla.
Kütus on äärmiselt kergesti süttiv ja väga plahvatusohtlik. Kütusest põhjustatud tulekahju või plahvatus võib põletada teid ja teisi ning kahjustada vara.
Et vältida kütuse süttimist staatilisest elektrist, asetage kanister ja/või masin enne paagi täitmist otse maapinnale, mitte sõidukisse või esemele.
Täitke kütusepaaki õues, vabas õhus, kui mootor on külm. Pühkige möödavalatud kütus ära.
Ärge käsitsege kütust, kui suitsetate, või lahtise leegi ja sädemete läheduses.
Ärge eemaldage kütusepaagi korki ega lisage kütusepaaki kütust, kui mootor töötab või on kuum.
Kui olete kütust mööda kallanud, ärge proovige mootorit käivitada. Vältige süüteallika tekitamist, kuni kütuseaurud on hajunud.
Hoidke kütust heakskiidetud mahutis ja lastele kättesaamatus kohas.
Kütus on allaneelamisel ohtlik või surmav. Pikaajaline kokkupuude aurudega võib põhjustada raskeid vigastusi ja haigusi.
Vältige aurude pikaajalist sissehingamist.
Hoidke käed ja nägu otsakust ja kütusepaagi avast eemal.
Vältige kütuse sattumist silma ja nahale.
| Tüüp | Pliivaba bensiin |
| Minimaalne oktaanarv | 87 (USA) või 91 (uurimismeetodil määratud oktaanarv; väljaspool USA-d) |
| Etanool | Mitte rohkem kui 10% mahuprotsenti |
| Metanool | Puudub |
| MTBE (metüül-tert-butüüleeter) | Vähem kui 15% mahuprotsenti |
| Õli | Ärge lisage kütusele |
Kasutage ainult puhast, värsket (mitte üle 30 päeva vana), usaldusväärsest allikast pärit kütust.
Important: Käivitumisprobleemide vähendamiseks lisage värskele kütusele stabilisaatorit / omaduste parandajat vastavalt kütuse stabilisaatori / omaduste parandaja tootja juhistele.
Lisateabe saamiseks vaadake mootori kasutusjuhendit.
Täitke kütusepaak nagu on näidatud Joonis 9.

| Hooldusintervallid | Hooldustoimingud |
|---|---|
| Enne iga kasutamist või iga päev |
|
Important: Võite mootorit kahjustada, kui mootori käitamise ajal on karteri õlitase liiga madal või liiga kõrge.


Teil on võimalik enda mugavuse jaoks käepide tõsta või langetada ühte kahest asendist (Joonis 11).

Eemaldage mõlemad käepideme kinnitusnupud.
Liigutage käepide sobivale kõrgusele.
Kinnitage käepide varem eemaldatud kinnitusnuppudega.
Lõikekõrguse hoobade reguleerimisel võivad teie käed liikuvate teradega kokku puutuda ja raskelt viga saada.
Enne lõikekõrguse reguleerimist seisake mootor ja oodake, kuni kõik osad on peatunud.
Ärge pange oma sõrmi lõikekõrguse reguleerimisel korpuse alla.
Kui mootor töötab, on summuti kuum ja võib teid põletada.
Hoidke kuumast summutist eemale.
Reguleerige lõikekõrgust oma soovi järgi. Seadke kõik rattad samale lõikekõrgusele (Joonis 12).

Kandke sobivat riietust, sh kaitseprille, pikki pükse, hea libisemiskindlusega jalatseid ja kuulmiskaitset. Kinnitage pikad juuksed ning ärge kandke lotendavaid riideid või rippuvaid ehteid.
Olge võimalikult tähelepanelik masina töötamise ajal. Ärge tegelege tegevustega, mis juhivad tähelepanu kõrvale; vastasel korral võivad tekkida vigastused või varaline kahju.
Ärge kasutage masinat haigena, väsinuna või alkoholi ja ravimite mõju all.
Tera on terav; kokkupuude teraga võib põhjustada tõsiseid vigastusi. Lülitage mootor välja ja oodake kõigi liikuvate osade peatumist, enne kui töötamiskohast lahkute.
Kui lasete tera juhtimise hoova lahti, peaks mootor seiskuma ning tera 3 sekundi jooksul seisma jääma. Kui see ei ole nii, lõpetage kohe masina kasutamine ning pöörduge volitatud teeninduse poole.
Hoidke kõrvalised isikud tööalast eemale. Hoidke väikesed lapsed tööpiirkonnast eemal vastutustundliku täiskasvanu järelevalve all, kes ei kasuta masinat. Kui keegi siseneb tööalale, peatage masin.
Enne tagurdamist vaadake alati enda taha ja alla.
Kasutage masinat ainult hea nähtavuse ja sobivate ilmastikutingimuste korral. Ärge kasutage masinat, kui esineb äikeseoht.
Märg muru ja märjad lehed võivad põhjustada tõsiseid vigastusi, kui libastute ja tera vastu puutute. Vältige märgades tingimustes niitmist.
Olge nähtavust piiravatele pimenurkadele, põõsastele, puudele või muudele objektidele lähenedes eriti ettevaatlik.
Ärge suunake väljapaisatavat materjali kellegi poole. Vältige materjali väljalaskmist seina või takistuste vastu; materjal võib teie vastu tagasi põrgata. Peatage tera(d) kruusapindade ületamisel.
Olge ettevaatlik aukude, vagude, küngaste, kivide ja muude peidetud objektide suhtes. Ebatasane pinnas võib põhjustada teie tasakaalu või kindla jalgealuse kaotust.
Kui masin läheb mingi eseme vastu või hakkab vibreerima, lülitage mootor kohe välja, oodake, kuni kõik liikuvad osad seiskuvad ja lahutage juhe süüteküünlast, enne kui kontrollite masina võimalikke kahjustusi. Enne tööde jätkamist tehke kõik vajalikud parandustööd.
Enne töötamiskohast lahkumist seisake mootor ja oodake, kuni kõik liikuvad osad on peatunud.
Kui mootor töötab, on see kuum ja võib teid tõsiselt põletada. Hoidke kuumast mootorist eemale.
Käitage mootorit ainult hästiventileeritud kohtades. Heitgaasid sisaldavad süsinikmonooksiidi, mis on lõhnatu, surmav mürk.
Kontrollige murukoguja komponente ja väljutustoru sageli kulumise või kahjustuste suhtes ning vajaduse korral asendage need Toro originaalosadega.
Niitke nõlvadel risti liikudes, mitte kunagi üles- või allamäge. Olge kallakutel suuna muutmisel äärmiselt tähelepanelik.
Ärge niitke liiga järskudel nõlvadel. Ebakindel jalgealune võib põhjustada libisemisest ja kukkumisest tingitud õnnetusi.
Niitke ettevaatlikult järsakute, kraavide või kallaste läheduses.
Hoidke tera juhtimise hooba vastu käepidet (Joonis 13 A).
Tõmmake tagasitõmbevedruga käepidet kergelt, kuni tunnete vastupanu. Seejärel tõmmake seda järsult ja laske sellel aeglaselt käepidemel oleva trossijuhiku juurde naasta (Joonis 13 B).

Note: Kui masin pärast mitut katset ei käivitu, võtke ühendust volitatud hooldusfirmaga.
Edasivedamise ajami kasutamiseks lihtsalt kõndige, käed ülemisel hooval ja küünarnukid külgedel, ning masin peab teiega sammu (Joonis 14).

Note: Kui masin ei veere pärast edasivedamist vabalt tahapoole, lõpetage kõndimine, hoidke käed paigal ja laske masinal veereda paar sentimeetrit ettepoole, et vabastada rattaajam. Võite proovida ka nii, et küünitate ülemise käepideme all oleva metallist käepidemeni ja lükkate masinat paar sentimeetrit edasi. Kui masin endiselt lihtsalt tahapoole ei veere, pöörduge volitatud esindusse.
| Hooldusintervallid | Hooldustoimingud |
|---|---|
| Enne iga kasutamist või iga päev |
|
Mootori väljalülitamiseks vabastage tera juhtimise hoob.
Important: Kui lasete tera juhtimise hoova lahti, peaks nii mootor kui ka tera 3 sekundi jooksul seisma jääma. Kui need ei jää korralikult seisma, lõpetage kohe masina kasutamine ning pöörduge volitatud teeninduse poole.
Teie masin saabub tehasest niidetud muru ja lehtede muruplatsi sisse tagasi juhtimise valmisolekuga.
Kui murukogumiskott on masinal ja bag-on-demandi hoob on kogumisasendis, liigutage hoob multšimisasendisse, vt jaotist Bag-on-demandi hoova kasutamine.
Kasutage murukogumiskotti, kui soovite niidetud muru ja lehed muruplatsilt kokku koguda.
Kui bag-on-demandi hoob on multšimisasendis, liigutage see kogumisasendisse, vt jaotist Bag-on-demandi hoova kasutamine.
Koti eemaldamiseks järgige Murukogumiskoti eemaldamine etappe vastupidises järjekorras.
Paigaldatud murukogumiskoti korral võimaldab bag-on-demandi funktsioon teil niidetud muru ja lehti kas koguda või multšida.
Niidetud muru ja lehtede kogumiseks vajutage bag-on-demandi hoova nuppu ja liigutage hooba edasi, kuni hoova nupp üles tuleb (Joonis 16).

Niidetud muru ja lehtede multšimiseks vajutage hoova nuppu ja liigutage hooba tagasi, kuni hoova nupp üles tuleb.
Important: Nõuetekohaseks kasutamiseks seisake mootor ja oodake, kuni kõik liikuvad osad peatuvad ning seejärel eemaldage kogu niidetud muru ja praht bag-on-demand’i luugist ja ümbritsevast avausest (Joonis 17), enne kui liigutate bag-on-demand’i hooba ühest asendist teise.

Vaadake üle ala, kus hakkate masinat kasutama, ja eemaldage kõik esemed, mis võivad masinalt viskuda.
Vältige tera kokkupuudet kõvade esemetega. Ärge niitke tahtlikult kunagi ühegi eseme kohal.
Kui masin läheb mingi eseme vastu või hakkab vibreerima, lülitage mootor kohe välja, oodake, kuni kõik liikuvad osad seiskuvad, ühendage juhe süüteküünlast lahti ja kontrollige, et masin kahjustunud pole.
Parima töövõime jaoks paigaldage uus Toro tera enne niitmishooaega või kui selleks vajadus tekib.
Lõigake korraga vaid umbes kolmandik rohulible pikkusest. Ärge lõigake madalama kui 51 mm lõikekõrgusega, välja arvatud juhul, kui muru on hõre või käes on hilissügis, mil murukasv hakkab aeglustuma.
Kui niidate muru. mis on kõrgem kui 15 cm, niitke kõrgeima lõikekõrguse seadega ja kõndige aeglasemalt, seejärel niitke uuesti madalamal kõrgusel, et saavutada parim tulemus. Kui muru on liiga kõrge, võib masin ummistuda ja mootor seetõttu seiskuda.
Märg muru ja lehed kipuvad aias klompi tõmbama ning võivad põhjustada masina ummistumist või mootori seiskumist. Vältige märgades tingimustes niitmist.
Arvestage väga kuivades tingimustes võimaliku tuleohuga, järgige kõiki kohalikke tulehoiatusi ning hoidke masin puhas kuivast rohust ja leherisust.
Muutke niidusuunda. See aitab hajutada niidetud rohtu muruplatsil ühtlaseks väetamiseks.
Kui muruplatsi lõplik välimus ei ole rahuldav, proovige mõnda järgnevatest.
Vahetage tera või laske seda teritada.
Kõndige niites aeglasemalt.
Suurendage masina lõikekõrgust.
Niitke muru sagedamini.
Sõitke niidetud alast uuel möödumisel osaliselt uuesti üle, mitte ärge võtke korraga ette tervenisti uut niidurida.
Pärast muru niitmist veenduge, et pool murust paistab läbi niidetud lehtede katte. Üle lehtede niitmisel võib olla vajalik neist mitu korda üle sõita.
Kui muruplatsil on rohkem kui 13 cm lehti, niitke esialgu kõrgema lõikekõrgusega ning seejärel uuesti soovitud lõikekõrgusega.
Aeglustage niitmiskiirust, kui masin ei haki lehti piisavalt peeneks.
Enne masina reguleerimist, hooldamist, puhastamist või hoiustamist lülitage masin alati välja, laske kõigil liikuvatel osadel seiskuda ja masinal jahtuda.
Puhastage masin murust ja prahist, et vältida tulekahjusid. Pühkige ära möödavalatud õli või kütus.
Ärge kunagi hoiustage masinat ega kütuseanumat kohas, kus esineb lahtist leeki, sädemeid või süüteleeki, näiteks veeboileril või muul seadmel.
Olge masina peale- või mahalaadimisel hoolikas.
Tõkestage rattad, et vältida masina veerema hakkamist.
| Hooldusintervallid | Hooldustoimingud |
|---|---|
| Pärast iga kasutamiskorda |
|
Parima lahenduse saavutamiseks puhastage masina põhjaalus kohe, kui olete niitmise lõpetanud.
Langetage masin madalaimale lõikekõrguse seadele.
Viige masin sillutatud tasasele pinnale.
Kui mootor töötab ja tera liigub, pihustage parema tagaratta ette vett (Joonis 18).
Note: Vesi pritsib tera teekonna ette, uhtudes ära niidetud muru.

Kui rohkem muru välja ei tule, pange vesi kinni ja liigutage masin kuiva alasse.
Käivitage mootor ja laske sellel paar minutit töötada, et kuivatada masina põhi, selleks et see roostetama ei hakkaks.
Lülitage mootor välja, eemaldage elektriline käivitusnupp (kui paigaldatud) ja laske masinal enne selle kinnisel alal hoiustamist maha jahtuda.
Käepideme valesti lahti tegemine või kokku voltimine võib kaableid kahjustada ja seeläbi masina kasutamise ohtlikuks muuta.
Ärge kahjustage käepideme lahti tegemisel või kokku voltimisel kaableid.
Kaabli kahjustamise korral pöörduge volitatud teeninduse poole.
Eemaldage käepideme klambritelt kinnitusnupud (2 tk) ja ümarpeapoldid (2 tk) ning hoidke need alles (Joonis 19 A).
Important: Juhtige kaablid käepideme kinnitusnuppudest väljapoole, kui te käepidet kokku voldite.
Voltige käepide kokku seda ettepoole pöörates (Joonis 19 B).
Paigaldage käepideme kinnitusnupud ja ümarpeapoldid lõdvalt käepideme klambritele (Joonis 19 C).
Käepideme kokkuvoltimiseks vt jaotist Käepideme kokkupanemine ja lahtitegemine.

| Hooldusintervallid | Hooldustoimingud |
|---|---|
| Enne iga kasutamist või iga päev |
|
| Pärast iga kasutamiskorda |
|
| Iga 25 tunni järel |
|
| Kord aastas |
|
| Kord aastas või enne hoiulepanemist |
|
Important: Hoolduse kohta teabe saamiseks vt mootori kasutusjuhendit.
Enne masina reguleerimist, hooldamist, puhastamist või hoiustamist lülitage masin alati välja, laske kõigil liikuvatel osadel seiskuda ja masinal jahtuda.
Enne hooldustoimingute tegemist lahutage süüteküünla juhe süüteküünlast.
Masina hooldamisel kandke kindaid ja kaitseprille.
Tera on terav; kokkupuude teraga võib põhjustada tõsiseid vigastusi. Kandke tera käsitsedes kindaid. Ärge remontige ega muutke tera(sid).
Ärge kunagi tehke muudatusi ohutusseadmetele. Kontrollige nende nõuetekohast toimimist regulaarselt.
Masina kallutamine võib põhjustada kütuse lekkimist. Kütus on kergesti süttiv ja plahvatusohtlik ning võib põhjustada vigastusi. Käivitage mootor kuivalt või eemaldage kütus käsipumba abil; ärge kunagi imege kütust.
Masina optimaalse jõudluse tagamiseks kasutage ainult Toro originaalvaruosi ja lisaseadmeid. Teiste tootjate varuosad ja lisaseadmed võivad olla ohtlikud ning nende kasutamine võib tühistada garantii kehtivuse.
Lülitage mootor välja ja oodake kõigi liikuvate osade peatumist.
Lahutage süüteküünla juhe süüteküünla küljest (Joonis 20).

Pärast hooldustoimingu(te) tegemist ühendage süüteküünla juhe süüteküünlaga.
Important: Enne masina kallutamist õli vahetamiseks või tera asendamiseks kasutage niitmisel ära kogu kütusepaagis olev kütus. Juhul kui peate masinat enne kütuse lõppemist kallutama, kasutage kütuse eemaldamiseks käsikütusepumpa. Kallutage masin alati küljele nii, et mõõtevarras on suunatud allapoole.
| Hooldusintervallid | Hooldustoimingud |
|---|---|
| Iga 25 tunni järel |
|
| Kord aastas |
|
Vabastage klambrist õhufiltri katte ülaosa (Joonis 21).

Eemaldage õhufilter (Joonis 21).
Kontrollige õhufiltrit.
Note: Kui õhufilter on liiga määrdunud, asendage see uue filtriga. Muul juhul koputage õhufiltrit prahi eemaldamiseks ettevaatlikult kõval pinnal.
Paigaldage õhufilter.
Kasutage õhufiltri katte paigaldamiseks klambrit.
| Hooldusintervallid | Hooldustoimingud |
|---|---|
| Kord aastas |
|
Mootoriõli vahetamine pole vajalik, kuid kui soovite õli vahetada, tehke järgnevat.
Note: Käivitage mootor mõni minut enne õli vahetamist, et lasta sel soojeneda. Soe õli voolab paremini ja kannab rohkem saasteaineid.
| Mootoriõli paak | 0,44 l* |
| Õli viskoossus | SAE 30 või SAE 10 W-30 korrosioonikaitse õli |
| API kvaliteediklass: | SJ või kõrgem |
*Pärast õli väljalaskmist jääb karterisse jääkõli. Ärge valage karterisse kogu õli. Täitke karter õliga vastavalt järgmistele juhistele.
Liigutage masin tasasele pinnale.
Vt jaotist Hoolduseks ettevalmistamine.
Eemaldage mõõtevarras, keerates korki vastupäeva ja tõmmates seda välja (Joonis 22).

Kallutage masin külili (nii et õhufilter jääb ülespoole), et kasutatud õli täiteavast välja lasta. (Joonis 23).

Pärast kasutatud õli väljutamist pange masin tagasi tööasendisse.
Täitke ettevaatlikult õli täiteava kaudu umbes ¾ mootoriõli paagist.
Oodake 3 minutit, kuni õli mootorisse voolab.
Pühkige mõõtevarras puhta lapiga puhtaks.
Sisestage mõõtevarras õli täiteavasse, keerake sisse ning seejärel eemaldage mõõtevarras.
Kontrollige mõõtevardal õlitaset (Joonis 22).
Kui õlitase mõõtevardal on liiga madal, valage õli täiteavasse ettevaatlikult väike kogus õli, oodake 3 minutit ja 8korrake10 toiminguid, kuni õlitase mõõtevardal on õige.
Kui õlitase mõõtevardal on liiga kõrge, laske üleliigne õli välja, kuni õlitase mõõtevardal on õige.
Important: Võite mootorit kahjustada, kui mootori käitamise ajal on mootori õlitase liiga madal või liiga kõrge.
Sisestage mõõtevarras õli täiteavasse ja keerake korralikult kinni.
Utiliseerige kasutatud õli nõuetekohaselt.
| Hooldusintervallid | Hooldustoimingud |
|---|---|
| Kord aastas |
|
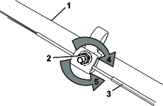
Important: Tera nõuetekohaseks paigalduseks on teil vaja dünamomeetrilist võtit. Kui teil ei ole dünamomeetrilist võtit või te ei soovi seda protseduuri ise teha, pöörduge volitatud teenindusse.
Kontrollige tera iga kord, kui kütus otsa saab. Kui tera on kahjustunud või selles on mõrad, vahetage tera kohe. Kui tera on nüri või sälkudega, laske seda teritada ja tasakaalustada või vahetage see välja.
Tera on terav; kokkupuude teraga võib põhjustada tõsiseid vigastusi.
Kandke tera käsitsedes kindaid.
Vt jaotist Hoolduseks ettevalmistamine.
Kallutage masin küljele nii, et õhufilter on suunatud ülespoole.
Kasutage puutükki, et hoida tera stabiilsena (Joonis 24).

Eemaldage tera, jättes alles kõik paigaldustarvikud (Joonis 24).
Paigaldage uus tera ja kõik paigaldustarvikud (Joonis 25).

Important: Paigutage tera nii, et selle kumerad servad jäävad masina korpuse poole.
Kasutage dünamomeetrilist võtit, et pingutada tera polte pöördemomendini 82 N∙m.
Edasivedamise ajami uue kaabli paigaldamisel või kui edasivedamise ajam ei ole nõuetekohane, reguleerige seda.
Pöörake reguleerimismutrit vastupäeva, et seda lõdvendada (Joonis 26).


Reguleerige kaabli pinget (Joonis 26), tõmmates seda tagasi või lükates seda edasi ning hoides kaablit selles asendis.
Note: Lükake kaablit mootori poole, et veojõudu suurendada, tõmmake kaablit mootorist eemalde, et veojõudu vähendada.
Pöörake reguleerimismutrit päripäeva, et seda pinguldada.
Note: Pinguldage mutrit mutrivõtmega.
Hoiustage masinat jahedas, puhtas ja kuivas kohas.
Enne masina reguleerimist, hooldamist, puhastamist või hoiustamist lülitage masin alati välja, laske kõigil liikuvatel osadel seiskuda ja masinal jahtuda.
Aasta viimasel tankimisel lisage kütusele kütuse stabilisaatorit (nt Toro Premium Fuel Treatment) vastavalt sildil märgitule.
Utiliseerige kasutamata kütus nõuetekohaselt. Kõrvaldage see vastavalt kohalikele seadustele või kasutage seda oma sõidukis.
Important: Kütusepaagis olev vana kütus on raske käivitamise peamine põhjus. Ärge hoiustage kütust ilma kütuse stabilisaatorita kauem kui 30 päeva ja ärge hoiustage stabiliseeritud kütust kauem, kui seda on soovitanud kütuse stabilisaatori tootja.
Laske masinal töötada, kuni mootor kütuse lõppemise tõttu välja lülitub.
Käivitage mootor uuesti ja laske sel töötada, kuni see välja lülitub. Kui mootorit pole enam võimalik käivitada, on kütusesüsteem piisavalt tühi.
Lahutage juhe süüteküünlast ja ühendage see kinnituspoldiga (kui on varustuses) ning eemaldage elektriline käivituslüliti (kui on varustuses).
Eemaldage süüteküünal, lisage süüteküünla ava kaudu 30 ml mootoriõli ning tõmmake mitu korda aeglaselt tagasitõmbevedruga starternööri, et õli jaotuks kogu silindris ja et vältida silindrite korrosiooni hooajavälisel ajal.
Paigaldage süüteküünal lõdvalt.
Pingutage kõiki mutreid, polte ja kruvisid.
Kontrollige ja pingutage kõiki kinnitusi.
Eemaldage süüteküünal ja tõmmake tagasitõmbevedruga starteri käepidet, et lasta mootoril kiiresti pöörelda ja seeläbi silindrist liigne õli välja lasta.
Paigaldage süüteküünal ja pingutage dünamomeetrilise võtmega pöördemomendini 20 N∙m.
Viige läbi kõik hooldustoimingud; vt jaotist .
Kontrollige mootori õlitaset; vt jaotist Mootoriõli taseme kontrollimine.
Täitke kütusepaak värske bensiiniga; vt jaotist Kütusepaagi täitmine.
Ühendage juhe süüteküünlaga.