| Périodicité d'entretien | Procédure d'entretien |
|---|---|
| À chaque utilisation ou une fois par jour |
|
Cette tondeuse autotractée à lame rotative est destinée au grand public. Elle est principalement conçue pour tondre les pelouses entretenues régulièrement dans les terrains privés. L'utilisation de ce produit à d'autres fins que celle prévue peut être dangereuse pour vous-même et toute personne à proximité.
Lisez attentivement cette notice pour apprendre comment utiliser et entretenir correctement votre produit, et éviter ainsi de l'endommager ou de vous blesser. Vous êtes responsable de l'utilisation sûre et correcte du produit.
Pour plus d’informations, y compris des conseils de sécurité, des documents de formation, des renseignements concernant un accessoire, pour obtenir l'adresse d'un concessionnaire ou pour enregistrer votre produit, rendez-vous sur www.Toro.com.
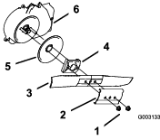
Pour obtenir des prestations de service, des pièces d'origine Toro ou des renseignements complémentaires, munissez-vous des numéros de modèle et de série du produit et contactez un concessionnaire-réparateur agréé ou le service client Toro. La Figure 1 indique l'emplacement des numéros de modèle et de série du produit. Inscrivez les numéros dans l'espace réservé à cet effet.
Important: Avec votre appareil mobile, vous pouvez scanner le QR code sur l'autocollant du numéro de série (le cas échéant) afin d'accéder aux informations sur la garantie, les pièces détachées et autres renseignements sur le produit.

Les mises en garde de ce manuel soulignent des dangers potentiels et sont signalées par le symbole de sécurité (Figure 2), qui indique un danger pouvant entraîner des blessures graves ou mortelles si les précautions recommandées ne sont pas respectées.

Ce manuel utilise deux termes pour faire passer des renseignements essentiels. Important pour attirer l'attention sur des informations d'ordre mécanique spécifiques et Remarque pour souligner des informations d'ordre général méritant une attention particulière.
N'oubliez pas d'enregistrer votre machine sur www.Toro.com/register. L'enregistrement vous permet d'être informé(e) en cas d'un rappel de produit. Vos données d'enregistrement ne seront jamais vendues ou partagées avec des sociétés tierces. Pour éviter le gaspillage et protéger l'environnement, votre produit n'est pas automatiquement fourni avec une goulotte d'éjection (les clients préfèrent généralement recycler ou récupérer les déchets de coupe dans le bac de ramassage). Vous pouvez demander une goulotte d'éjection lorsque vous enregistrez votre produit sur www.Toro.com/register. Cochez simplement la case correspondante sur le formulaire d'enregistrement en ligne et Toro vous enverra une goulotte d'éjection sans frais supplémentaires. Veuillez prévoir un délai de livraison de 1 à 2 semaines.
Ce produit est conforme à toutes les directives européennes pertinentes. Pour plus de renseignements, reportez-vous à la Déclaration de conformité spécifique du produit fournie séparément.
Couple brut ou net : le couple brut ou net de ce moteur a été calculé en laboratoire par le constructeur du moteur selon la norme SAE J1940 ou J2723 de la Society of Automotive Engineers (SAE). Étant configuré pour satisfaire aux normes de sécurité, antipollution et d'exploitation, le moteur monté sur cette classe de tondeuse aura un couple effectif nettement inférieur. Reportez-vous aux informations du constructeur du moteur qui accompagnent la machine.
Ne modifiez pas ou ne désactivez pas les systèmes de sécurité de machine, et vérifiez régulièrement qu'ils fonctionnent correctement. N'essayez pas de régler ou de modifier la commande de régime moteur, au risque de compromettre le fonctionnement sûr de la machine et de causer des blessures.
Ce produit peut sectionner les mains ou les pieds et projeter des objets. Respectez toujours toutes les consignes de sécurité pour éviter des blessures graves ou mortelles.
Avant de démarrer le moteur, vous devez lire, comprendre et respecter toutes les instructions et mises en garde données dans ce Manuel de l'utilisateur ainsi que sur la machine et les accessoires.
Ne placez pas les mains ou les pieds près des pièces mobiles ou sous la machine. Ne vous tenez pas devant l'ouverture d'éjection.
N'utilisez pas la machine s'il manque des capots ou d'autres dispositifs de protection, ou s'ils sont défectueux.
N'admettez personne, notamment les enfants, dans le périmètre de travail. N'autorisez jamais un enfant à utiliser la machine. Seules les personnes responsables, formées à l'utilisation de la machine, ayant lu et compris les instructions et physiquement aptes sont autorisées à utiliser la machine.
Arrêtez la machine, coupez le moteur et attendez l'arrêt complet de toutes les pièces mobiles avant de faire l'entretien, de faire le plein de carburant ou de déboucher la machine.
L'usage ou l'entretien incorrect de cette machine
peut occasionner des accidents. Pour réduire les risques d'accidents
et de blessures, respectez les consignes de sécurité
qui suivent. Tenez toujours compte des mises en garde signalées
par le symbole de sécurité (
) et la mention Prudence,
Attention ou Danger. Le non respect de ces instructions peut entraîner
des blessures graves ou mortelles.
![]() |
Des autocollants de sécurité et des instructions bien visibles par l'utilisateur sont placés près de tous les endroits potentiellement dangereux. Remplacez tout autocollant endommagé ou manquant. |





Important: Retirez et mettez au rebut la pellicule de plastique qui protège le moteur ainsi que tout autre emballage ou élément en plastique utilisé sur la machine.
Note: Vérifiez que les câbles passent bien à l'extérieur du guidon et ne sont pas pincés (D de Figure 3). Le bouton et le boulon de carrosserie peuvent être installés à 2 emplacements. La mauvaise installation du bouton et du boulon de carrosserie peut compromettre la stabilité du guidon (E de Figure 3).


Important: Pour démarrer le moteur facilement et en toute sécurité chaque fois que vous utilisez la machine, placez le câble du lanceur dans le guide.

Important: Si vous faites tourner le moteur alors que le niveau d'huile dans le carter est trop bas ou trop élevé, vous risquez d'endommager le moteur.



| Modèle | Poids | Longueur | Largeur | Hauteur |
|---|---|---|---|---|
| 21772 | 37 kg | 151 cm | 59 cm | 109 cm |
Une sélection d'outils et d'accessoires agréés par Toro est disponible pour augmenter et améliorer les capacités de la machine. Pour obtenir la liste de tous les accessoires et outils agréés, contactez votre concessionnaire-réparateur ou votre distributeur Toro agréé, ou rendez-vous sur www.Toro.com.
Pour garantir un rendement optimal et conserver la certification de sécurité de la machine, utilisez uniquement des pièces de rechange et accessoires d'origine Toro. Les pièces de rechange et accessoires provenant d'autres constructeurs peuvent être dangereux, et leur utilisation risque d'annuler la garantie de la machine.
Note: Les côtés gauche et droit de la machine sont déterminés d'après la position d'utilisation normale.
Vous devez toujours couper le moteur, attendre l'arrêt complet de toutes les pièces mobiles et laisser refroidir la machine, avant de la régler, la nettoyer ou la remiser.
Familiarisez-vous avec le maniement correct du matériel, les commandes et les symboles de sécurité.
Vérifiez toujours que les capots et les dispositifs de sécurité, comme les déflecteurs et/ou les bacs à herbe, sont en place et en bon état.
Vérifiez toujours que les lames et boulons de lames ne sont pas usés ni endommagés.
Inspectez la zone de travail et débarrassez-la de tout objet pouvant gêner le fonctionnement de la machine ou être projeté pendant son utilisation.
Le contact avec la lame en rotation peut causer des blessures graves. Ne mettez pas les doigts sous le carter.
Le carburant est extrêmement inflammable et hautement explosif. Un incendie ou une explosion causé(e) par du carburant peut vous brûler, ainsi que les personnes se tenant à proximité, et causer des dommages matériels.
Pour éviter que l'électricité statique n'enflamme le carburant, posez le récipient et/ou la machine directement sur le sol avant de faire le plein ; ne les laissez pas dans un véhicule ou sur un support quelconque.
Faites le plein du réservoir de carburant à l'extérieur, dans un endroit bien dégagé, lorsque le moteur est froid. Essuyez tout carburant répandu.
Ne fumez jamais quand vous manipulez du carburant et tenez-vous à l'écart des flammes nues ou des sources d'étincelles.
Ne retirez pas le bouchon du réservoir de carburant et n'ajoutez pas de carburant dans le réservoir lorsque le moteur tourne ou est chaud.
Si vous renversez du carburant, ne mettez pas le moteur en marche à cet endroit. Évitez de créer des sources d'inflammation jusqu'à dissipation complète des vapeurs de carburant.
Conservez le carburant dans un récipient homologué et hors de la portée des enfants.
Le carburant est toxique et même mortel en cas d'ingestion. L'exposition prolongée aux vapeurs de carburant peut causer des blessures et des maladies graves.
Évitez de respirer les vapeurs de carburant de façon prolongée.
N'approchez pas les mains ni le visage du pistolet ou de l'ouverture du réservoir de carburant.
N'approchez pas le carburant des yeux et de la peau.
| Type | Essence sans plomb |
| Indice d'octane minimum | 87 (USA) ou 91 (octane recherche ; hors USA) |
| Éthanol | Pas plus de 10 % par volume |
| Méthanol | Aucun |
| MTBE (éther méthyltertiobutylique) | Moins de 15 % par volume |
| Huile | Ne pas ajouter au carburant |
Utilisez uniquement du carburant propre et frais (stocké depuis moins d'un mois) provenant d'une source fiable.
Important: Pour réduire les problèmes de démarrage, ajoutez au carburant frais la quantité de stabilisateur/conditionneur indiquée par le fabricant du stabilisateur/conditionneur.
Reportez-vous au manuel du propriétaire du moteur pour tout renseignement complémentaire.
Remplissez le réservoir de carburant comme montré à la Figure 9.

| Périodicité d'entretien | Procédure d'entretien |
|---|---|
| À chaque utilisation ou une fois par jour |
|
Important: Si vous faites tourner le moteur alors que le niveau d'huile dans le carter est trop bas ou trop élevé, vous risquez d'endommager le moteur.

Vous pouvez élever ou abaisser le guidon à l'une des deux positions proposées, selon celle qui vous convient le mieux (Figure 11).

Retirez les boutons du guidon.
Placez le guidon à la hauteur voulue.
Fixez le guidon à l'aide des boutons retirés précédemment.
Lors du réglage des leviers de hauteur de coupe, vous risquez de vous blesser gravement si vos mains touchent la lame en mouvement.
Avant de régler la hauteur de coupe, coupez le moteur et attendez l'arrêt complet de toutes les pièces mobiles.
Ne mettez pas les doigts sous le carter de la tondeuse quand vous réglez la hauteur de coupe.
Si le moteur vient de tourner, le silencieux est très chaud et risque de vous brûler.
Ne vous approchez pas du silencieux encore chaud.
Choisissez la hauteur de coupe voulue. Réglez toutes les roues à la même hauteur (Figure 12).

Portez une tenue adaptée, y compris une protection oculaire, un pantalon, des chaussures solides à semelle antidérapante et des protecteurs d'oreilles. Si vos cheveux sont longs, attachez-les et ne portez pas de vêtements amples ni de bijoux pendants.
Accordez toute votre attention à l'utilisation de la machine. Ne faites rien d'autre qui puisse vous distraire, au risque de causer des dommages corporels ou matériels.
N'utilisez pas la machine si vous êtes fatigué(e), malade ou sous l'emprise de l'alcool, de médicaments ou de drogues.
La lame est tranchante et vous pouvez vous blesser gravement à son contact. Avant de quitter la position d'utilisation, coupez le moteur, enlevez la clé de contact (selon l'équipement) et attendez l'arrêt complet de toutes les pièces mobiles.
N'admettez jamais personne dans le périmètre de travail. Veillez à ce que les enfants restent hors de la zone de travail, sous la garde d'un adulte responsable autre que l'utilisateur de la machine. Arrêtez la machine si quelqu'un entre dans la zone de travail.
Vérifiez toujours que la voie est libre juste derrière la machine et sur sa trajectoire avant de faire marche arrière.
N'utilisez la machine que si la visibilité est suffisante et les conditions météorologiques favorables. N'utilisez pas la machine s'il y a risque d'orage.
En travaillant sur l'herbe ou les feuilles humides, vous risquez de glisser et de vous blesser gravement si vous touchez la lame en tombant. Évitez de tondre quand l'herbe est humide.
Faites preuve de la plus grande prudence à l'approche de tournants sans visibilité, de buissons, d'arbres ou d'autres objets susceptibles de masquer la vue.
Ne dirigez pas l'éjection vers qui que ce soit. N'éjectez pas l'herbe coupée contre un mur ou un obstacle, car elle pourrait ricocher dans votre direction. Arrêtez la ou les lames quand vous passez sur du gravier.
Méfiez-vous des trous, ornières, bosses, rochers ou autres obstacles cachés. Vous pouvez glisser ou perdre l'équilibre si le terrain est irrégulier.
Si la machine a heurté un obstacle ou commence à vibrer, coupez immédiatement le moteur, retirez la clé de contact (selon l'équipement), attendez l'arrêt complet de toutes les pièces mobiles et débranchez le fil de la bougie avant de vérifier si la machine n'est pas endommagée. Effectuez toutes les réparations nécessaires avant de réutiliser la machine.
Avant de quitter la position d'utilisation, coupez le moteur, enlevez la clé de contact (selon l'équipement) et attendez l'arrêt complet de toutes les pièces mobiles.
Le moteur est très chaud s'il vient de tourner et peut alors vous brûler gravement. Ne vous approchez pas du moteur s'il est encore chaud.
Ne faites tourner le moteur que dans des lieux bien aérés. Les gaz d'échappement contiennent du monoxyde de carbone qui est un gaz inodore mortel.
Vérifiez fréquemment l'état des composants du bac à herbe et de la goulotte d'éjection, et remplacez-les par des pièces Toro d'origine au besoin.
Travaillez transversalement à la pente, jamais en montant ou descendant. Soyez extrêmement prudent lorsque vous changez de direction sur un terrain en pente.
Ne tondez pas de pentes trop raides. Vous pourriez glisser et vous blesser en tombant.
Faites preuve de prudence quand vous tondez à proximité de dénivellations, fossés ou berges.

Note: Si le moteur ne démarre pas après plusieurs tentatives, contactez un concessionnaire-réparateur agréé.
Pour actionner l'autopropulsion, il vous suffit d'avancer, les mains sur la partie supérieure du guidon et les coudes serrés ; la machine avance automatiquement à votre rythme (Figure 14).

Note: Si vous avez des difficultés à faire reculer la machine après avoir utilisé l'autopropulsion, immobilisez-vous, laissez vos mains en place et laissez la machine avancer de quelques centimètres pour désengager la transmission aux roues. Vous pouvez aussi essayer d'atteindre la poignée en métal, située juste sous la partie supérieure du guidon, et de pousser la machine en avant sur quelques centimètres. Si vous avez des difficultés à faire reculer la machine, contactez un concessionnaire-réparateur agréé.
| Périodicité d'entretien | Procédure d'entretien |
|---|---|
| À chaque utilisation ou une fois par jour |
|
Pour couper le moteur, appuyez de manière prolongée sur le bouton d'arrêt du moteur (Figure 16) enfoncé jusqu'à l'arrêt du moteur.

La lame ne tourne pas automatiquement quand le moteur démarre. Il faut engager la lame pour tondre.
Relâchez la barre de commande de la lame (Figure 19).

Important: Lorsque vous relâchez la barre de commande, la lame doit s'arrêter en moins de 3 secondes. Si ce n'est pas le cas, cessez immédiatement d'utiliser la machine et adressez-vous à un concessionnaire-réparateur agréé.
Vérifiez la barre de commande de la lame avant chaque utilisation pour vous assurer du bon fonctionnement du débrayage du frein de lame.
| Périodicité d'entretien | Procédure d'entretien |
|---|---|
| À chaque utilisation ou une fois par jour |
|
Vous pouvez utiliser le bac à herbe pour effectuer un contrôle supplémentaire du système de débrayage du frein de lame.
Placez le bac vide sur la machine.
Démarrez le moteur.
Engagez la lame.
Note: Le bac doit commencer à se gonfler, ce qui indique que la lame est engagée et a commencé à tourner.
Relâchez la barre de commande de la lame.
Note: Si le bac ne se gonfle pas immédiatement, cela signifie que la lame est encore en train de tourner. Le système de débrayage du frein de lame est peut-être défaillant et, si vous n'en tenez pas compte, vous risquez de compromettre le fonctionnement sûr de la machine. Demandez à un concessionnaire-réparateur agréé de contrôler et de réviser la machine.
Coupez le moteur et attendez l'arrêt complet de toutes les pièces mobiles.
Amenez la machine sur une surface revêtue à l'abri du vent.
Réglez les 4 roues à la hauteur de coupe de 83 mm.
Roulez en boule une demi-feuille de papier journal (environ 76 mm de diamètre) et placez-la sous le carter de la machine.
Placez la boule de papier journal à 13 cm devant la machine.
Démarrez le moteur.
Engagez la lame.
Relâchez la barre de commande de la lame.
Poussez immédiatement la machine sur la boule de papier journal.
Coupez le moteur et attendez l'arrêt complet de toutes les pièces mobiles.
Passez devant la machine et examinez la boule de papier journal.
Note: Si elle n'est pas passée sous la machine, répétez les opérations 4 à 10.
Si la boule est déroulée ou déchiquetée, cela signifie que la lame ne s'est pas arrêtée correctement et que la machine n'est pas sûre. Contactez un concessionnaire-réparateur agréé.
À la livraison, votre machine est prête à recycler l'herbe et les feuilles coupées pour nourrir votre pelouse.
Si le bac à herbe est monté sur la machine et si le levier de ramassage sur demande est en position de ramassage, placez le levier en position de recyclage ; voir Utilisation du levier de ramassage sur demande.
Utilisez le bac à herbe pour recueillir les débris d'herbe et de feuilles déposés sur la pelouse.
Si le levier de ramassage sur demande est en position de recyclage, placez-le en position de ramassage ; voir Utilisation du levier de ramassage sur demande.
Pour retirer le bac à herbe, inversez la procédure de montage décrite dans Montage du bac à herbe.
La fonction de ramassage sur demande vous permet de ramasser ou de recycler les déchets d'herbe et de feuilles quand le bac à herbe est monté sur la machine.
Pour ramasser les déchets d'herbe et de feuilles, appuyez sur le bouton du levier de ramassage sur demande et déplacez le levier en avant jusqu'à ce que le bouton ressorte (Figure 21).

Pour recycler les déchets d'herbe et de feuilles, appuyez sur le bouton du levier et déplacez le levier en arrière jusqu'à ce que le bouton ressorte.
Important: Pour que le ramassage s'effectue correctement, coupez le moteur, attendez l'arrêt de toutes les pièces mobiles, puis enlevez les déchets d'herbe et autres qui se trouvent sur le volet de ramassage sur demande et l'ouverture (Figure 22) avant de changer la position du levier de ramassage sur demande.

Inspectez la zone de travail et débarrassez-la de tout objet pouvant être projeté par la machine.
Évitez de heurter des obstacles avec la lame. Ne passez jamais intentionnellement sur un objet quel qu'il soit.
Si la machine heurte un obstacle ou commence à vibrer, coupez immédiatement le moteur, attendez l'arrêt complet de toutes les pièces mobiles et débranchez le fil de la bougie et vérifiez que la machine n'est pas endommagée.
Pour obtenir des résultats optimaux, installez une lame Toro neuve au début de la saison de tonte ou quand cela est nécessaire.
Ne tondez l'herbe que sur un tiers de sa hauteur à chaque fois. N'utilisez pas une hauteur de coupe inférieure à 51 mm, sauf si l'herbe est clairsemée ou à la fin de l'automne quand la pousse commence à ralentir.
Si l'herbe fait plus de 15 cm, effectuez un premier passage à vitesse réduite à la hauteur de coupe la plus haute. Effectuez ensuite un deuxième passage à une hauteur de coupe inférieure pour obtenir une coupe plus esthétique. L'herbe trop haute risque d'obstruer la machine et de faire caler le moteur.
L'herbe et les feuilles humides ont tendance à s'agglomérer sur la pelouse et peuvent obstruer la machine et faire caler le moteur. Évitez de tondre quand l'herbe est humide.
Soyez conscient des risques d'incendie par temps très sec, respectez tous les avertissements locaux relatifs aux incendies, et ne laissez pas l'herbe et les feuilles sèches s'accumuler sur la machine.
Alternez la direction de la tonte. Cela permet de disperser les déchets plus uniformément et d'obtenir une fertilisation plus homogène.
Si l'aspect de la pelouse tondue n'est pas satisfaisant, essayez une ou plusieurs des solutions suivantes :
Remplacez la lame ou faites-la aiguiser.
Tondez en avançant plus lentement.
Augmentez la hauteur de coupe.
Tondez plus souvent.
Empiétez sur les passages précédents pour tondre une largeur de bande réduite.
Après la tonte, 50 % de la pelouse doit être visible sous la couche de feuilles hachées. Vous devrez peut-être repasser plusieurs fois sur les feuilles.
Si la couche de feuilles sur la pelouse fait plus de 13 cm d'épaisseur, utilisez une hauteur de coupe plus élevée, puis faites un second passage à la hauteur de coupe désirée.
Ralentissez la vitesse de tonte si les feuilles ne sont pas hachées assez menues.
Vous devez toujours couper le moteur, attendre l'arrêt complet de toutes les pièces mobiles et laisser refroidir la machine, avant de la régler, la nettoyer ou la remiser.
Pour éviter les risques d'incendie, enlevez les brins d'herbe et autres débris qui sont agglomérés sur la machine. Nettoyez les coulées éventuelles d'huile ou de carburant.
Ne remisez jamais la machine ni les bidons de carburant à proximité d'une flamme nue, d'une source d'étincelles ou d'une veilleuse, telle celle d'un chauffe-eau ou d'autres appareils.
Faites preuve de prudence pour le chargement ou le déchargement de la machine.
Empêchez la machine de rouler.
| Périodicité d'entretien | Procédure d'entretien |
|---|---|
| Après chaque utilisation |
|
Pour obtenir des résultats optimaux, nettoyez rapidement la face inférieure de la machine après la tonte.
Abaissez la machine à la hauteur de coupe la plus basse.
Placez la machine sur une surface plane et revêtue.
Mettez le moteur en marche et engagez la lame, puis dirigez un jet d'eau devant la roue arrière droite (Figure 23).
Note: L'eau éclaboussera en direction de la lame et enlèvera les brins d'herbe agglomérés.

Lorsqu'il ne reste plus d'herbe sur la lame, arrêtez l'eau et amenez la machine à un endroit sec.
Mettez le moteur en marche et laissez-le tourner quelques minutes pour sécher le dessous de la machine et l'empêcher de rouiller.
Coupez le moteur, retirez le bouton de démarrage électrique (selon l'équipement) et laissez refroidir la machine avant de la remiser dans un local fermé.
Vous risquez d'endommager les câbles et de rendre l'utilisation de la machine dangereuse si vous pliez ou dépliez mal le guidon.
Veillez à ne pas endommager les câbles en pliant ou dépliant le guidon.
Si un câble est endommagé, contactez un concessionnaire-réparateur agréé.
Retirez les 2 boutons de guidon et les 2 boulons de carrosserie des supports du guidon (A de Figure 24) et conservez-les.
Important: Faites passer les câbles à l'extérieur des boutons quand vous pliez le guidon.
Repliez le guidon en le faisant pivoter en avant (B de Figure 24).
Vissez légèrement les boutons et les boulons de carrosserie sur les supports du guidon (C de Figure 24).
Pour déplier le guidon, voir Assemblage et dépliage du guidon.

| Périodicité d'entretien | Procédure d'entretien |
|---|---|
| À chaque utilisation ou une fois par jour |
|
| Après chaque utilisation |
|
| Toutes les 25 heures |
|
| Une fois par an |
|
| Une fois par an ou avant le remisage |
|
Important: Reportez-vous au manuel du propriétaire du moteur pour toutes procédures d'entretien supplémentaires.
Vous devez toujours couper le moteur, attendre l'arrêt complet de toutes les pièces mobiles et laisser refroidir la machine, avant de la régler, la nettoyer ou la remiser.
Débranchez le fil de la bougie avant de procéder à un quelconque entretien.
Portez des gants et une protection oculaire pour faire l'entretien de la machine.
La lame est tranchante et vous pouvez vous blesser gravement à son contact. Portez des gants pour effectuer l'entretien de la lame. Ne réparez pas et ne modifiez pas les lames.
N'enlevez pas et ne modifiez pas les dispositifs de sécurité. Vérifiez régulièrement qu'ils fonctionnent correctement.
Du carburant peut s'échapper lorsque la machine est basculée sur le côté. Le carburant est inflammable et explosif, et peut causer des blessures. Laissez tourner le moteur jusqu'à ce qu'il s'arrête faute de carburant ou vidangez le reste du carburant avec une pompe manuelle ; ne siphonnez jamais le carburant.
Pour garantir un rendement optimal de la machine, utilisez uniquement des pièces de rechange et accessoires Toro d'origine. Les pièces de rechange et accessoires provenant d'autres constructeurs peuvent être dangereux, et leur utilisation risque d'annuler la garantie de la machine.
Coupez le moteur et attendez l'arrêt complet de toutes les pièces mobiles.
Débranchez le fil de la bougie (Figure 25).

Rebranchez le fil de la bougie une fois l'entretien terminé.
Important: Avant de basculer la machine pour vidanger l'huile ou remplacer la lame, laissez le moteur en marche jusqu'à ce qu'il s'arrête faute de carburant. Si vous ne pouvez pas attendre que le moteur s'arrête par manque de carburant, utilisez une pompe manuelle pour vider le reste de carburant. Basculez toujours la machine sur le côté (jauge en bas).
| Périodicité d'entretien | Procédure d'entretien |
|---|---|
| Toutes les 25 heures |
|
| Une fois par an |
|
Déclipsez le haut du couvercle du filtre à air (Figure 26).

Retirez le filtre à air (Figure 26).
Examinez le filtre à air.
Note: Si le filtre à air est excessivement encrassé, remplacez-le par un neuf. Sinon, tapotez le filtre sur une surface dure pour déloger les débris.
Posez le filtre à air.
Fixez le couvercle du filtre à air avec le clip.
| Périodicité d'entretien | Procédure d'entretien |
|---|---|
| Une fois par an |
|
Il n'est pas nécessaire de vidanger l'huile moteur, mais si vous souhaitez le faire, procédez comme suit.
Note: Faites tourner le moteur pendant quelques minutes avant la vidange pour réchauffer l'huile. L'huile chaude s'écoule plus facilement et entraîne plus d'impuretés.
| Capacité d'huile moteur | 0,44 l* |
| Viscosité d'huile | Huile détergente SAE 30 ou SAE 10W-30 |
| Classe de service API | SJ ou mieux |
*Il reste de l'huile dans le carter après la vidange d'huile. Ne remplissez pas complètement le carter d'huile. Remplissez le carter d'huile en procédant comme suit :
Amenez la machine sur une surface plane et horizontale.
Tournez le bouchon dans le sens antihoraire et sortez la jauge (Figure 27).

Basculez la machine sur le côté (filtre à air en haut) pour vidanger l'huile usagée par le tube de remplissage (Figure 28).

Redressez la machine après avoir vidangé l'huile usagée.
Versez avec précaution 75 % environ de la capacité d'huile moteur dans le tube de remplissage d'huile.
Attendez 3 minutes pour donner le temps à l'huile de se stabiliser dans le moteur.
Essuyez la jauge sur un chiffon propre.
Insérez et vissez la jauge dans le tube de remplissage d'huile, puis ressortez-la.
Relevez le niveau d'huile indiqué sur la jauge (Figure 27).
Si le niveau n'atteint pas le repère minimum sur la jauge, versez lentement une petite quantité d'huile dans le tube de remplissage, attendez 3 minutes puis répétez les opérations 8 à 10 jusqu'à atteindre un niveau d'huile correct.
Si le niveau d'huile est trop élevé, vidangez l'excédent d'huile jusqu'à ce que la jauge indique le niveau correct.
Important: Si vous faites tourner le moteur alors que le niveau d'huile dans le carter est trop bas ou trop élevé, vous risquez d'endommager le moteur.
Insérez et vissez solidement la jauge dans le tube de remplissage.
Recyclez l'huile usagée conformément à la réglementation locale en matière d'environnement.
| Périodicité d'entretien | Procédure d'entretien |
|---|---|
| Une fois par an |
|
Important: Vous aurez besoin d'une clé dynamométrique pour monter la lame correctement. Si vous n'en possédez pas ou si vous ne vous sentez pas capable d'effectuer cette procédure, adressez-vous à un concessionnaire-réparateur agréé.
Examinez l'état de la lame chaque fois que le réservoir de carburant est vide. Si la lame est endommagée ou fêlée, remplacez-la immédiatement. Si la lame est émoussée ou ébréchée, faites-la aiguiser et équilibrer ou remplacez-la.
La lame est tranchante et vous pouvez vous blesser gravement à son contact.
Portez des gants pour effectuer l'entretien de la lame.
Débranchez le fil de la bougie ; voir Préparation à l'entretien.
Basculez la machine sur le côté (filtre à air en haut).
Retirez les 2 écrous de la lame et le renfort (Figure 29).

Déposez la lame (Figure 29).
Posez la nouvelle lame (Figure 29).
Reposez le renfort déposé précédemment.
Posez les écrous de la lame et serrez-les à un couple de 20 à 37 N·m.
| Périodicité d'entretien | Procédure d'entretien |
|---|---|
| Toutes les 25 heures |
|
Nettoyez la protection du débrayage du frein de lame une fois par an pour empêcher la lame de caler en cours de tonte.
Débranchez le fil de la bougie ; voir Préparation à l'entretien.
Basculez la machine sur le côté, avec la jauge en bas.
Retirez les 2 écrous de la lame et le renfort (Figure 30).

Déposez la lame (Figure 30).
Déposez le dispositif d'entraînement de la lame et le disque (Figure 30).
Déposez la protection du débrayage du frein de lame (Figure 30).
Enlevez les débris qui se trouvent à l'intérieur du déflecteur et sur les pièces qui l'entourent à la brosse ou à l'air comprimé.
Reposez la protection du débrayage du frein de lame déposée précédemment.
Reposez le dispositif d'entraînement de la lame et le disque déposés précédemment.
Reposez la lame et le renfort déposés précédemment (Figure 30).
Posez les écrous de la lame et serrez-les à un couple de 20 à 37 N·m.
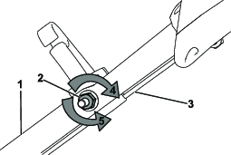
Lorsque vous remplacez un câble de commande d'autopropulsion ou que l'autopropulsion est déréglée, vous devez régler la commande d'autopropulsion.
Tournez l'écrou de réglage dans le sens antihoraire pour desserrer le réglage du câble (Figure 31).

Ajustez la tension du câble (Figure 31) en le tirant en arrière ou en le poussant en avant puis en le maintenant à cette position.
Note: Poussez le câble vers le moteur pour accroître la traction et éloignez-le du moteur pour réduire la traction.
Tournez l'écrou de réglage dans le sens horaire pour serrer le réglage du câble.
Note: Serrez l'écrou solidement avec une clé à douille ou à molette.
Remisez la machine dans un local frais, propre et sec.
Vous devez toujours couper le moteur, attendre l'arrêt complet de toutes les pièces mobiles et laisser refroidir la machine, avant de la régler, la nettoyer ou la remiser.
Lors du dernier plein de l'année, ajoutez du stabilisateur (tel l'additif de traitement Toro Premium) au carburant frais selon les indications de l'étiquette.
Débarrassez-vous correctement du carburant inutilisé. Recyclez-le conformément à la réglementation locale ou utilisez-le dans une voiture.
Important: La présence de carburant trop vieux dans le réservoir est la principale cause des problèmes de démarrage. Ne conservez pas le carburant non additionné de stabilisateur plus de 30 jours. Ne conservez pas le carburant stabilisé au-delà de la durée recommandée par le fabricant du stabilisateur.
Laissez tourner le moteur de la machine jusqu'à ce qu'il s'arrête faute de carburant.
Remettez le moteur en marche et laissez-le tourner jusqu'à ce qu'il s'arrête. Le moteur est suffisamment sec lorsqu'il n'y a plus moyen de le faire démarrer.
Débranchez le fil de la bougie et branchez-le au plot de retenue (selon l'équipement), puis retirez le bouton de démarrage électrique (selon l'équipement).
Retirez la bougie d'allumage et versez 30 ml d'huile moteur dans l'orifice. Tirez ensuite la poignée du lanceur lentement à plusieurs reprises pour bien répartir l'huile à l'intérieur du cylindre et empêcher celui-ci de rouiller pendant le remisage de la machine.
Reposez la bougie sans la serrer.
Serrez tous les écrous, boulons et vis.
Contrôlez et resserrez toutes les fixations.
Déposez la bougie et faites tourner le moteur rapidement en tirant sur la poignée du lanceur pour éliminer l'excédent d'huile dans le cylindre.
Reposez et serrez la bougie à 20 N·m à l'aide d'une clé dynamométrique.
Procédez aux entretiens ; voir .
Contrôlez le niveau d'huile moteur ; voir Contrôle du niveau d'huile moteur.
Remplissez le réservoir de carburant neuf ; voir Remplissage du réservoir de carburant.
Rebranchez le fil de la bougie.