| Karbantartási időköz | Karbantartási intézkedés |
|---|---|
| Minden egyes használat előtt, vagy naponta |
|
Ez a forgókéses, tolókaros fűnyíró lakóingatlanok tulajdonosai számára készült. Elsősorban házikerti füves területek jól karbantartott gyepén végzett fűnyírásra tervezték. A termék nem rendeltetésszerű használata veszélyezteti az Ön és a közelben tartózkodó emberek biztonságát.
Gondosan olvassa el ezt a tájékoztatót, hogy a termék megfelelő üzemeltetését és karbantartását elsajátítva elkerülje a sérüléseket, valamint a termék károsodását. Ön felelős a termék megfelelő és biztonságos üzemeltetéséért.
A www.Toro.com weboldalon további információk is találhatók, például munkavédelmi tippek, oktatóanyagok, tartozékokról szóló információk, segítség márkakereskedés kereséséhez, valamint termékregisztráció is végezhető itt.
Ha szervizre, eredeti Toro-alkatrészekre vagy további információkra van szüksége, forduljon hivatalos márkaszervizhez vagy a Toro ügyfélszolgálatához, és tartsa kéznél terméke típus- és sorozatszámát. A(z) Ábra 1 jelzi a típus- és sorozatszám helyét a terméken. Írja a számokat a megfelelő helyre.
Important: Mobileszköze segítségével a sorozatszámot tartalmazó címkén található QR-kódot (ha van) beolvasva elérheti a garanciális, az alkatrészekre vonatkozó és más termékinformációkat

A kézikönyv feltünteti a lehetséges veszélyeket, és a (Ábra 2) biztonsági figyelmeztető jelzéssel azonosított biztonsági üzeneteket tartalmaz. Ez a jelzés olyan veszélyre hívja fel a figyelmet, amely súlyos sérülést vagy halált okozhat, amennyiben Ön nem követi az ajánlott óvintézkedéseket.

Ez a kézikönyv 2 szót használ az információ kiemelésére. A Fontos speciális műszaki információra hívja fel a figyelmet, a Megjegyzés külön figyelemre érdemes általános információt hangsúlyoz.
Feltétlenül regisztrálja gépét a www.Toro.com/register weboldalon. A regisztráció biztosítja, hogy értesítést kapjon az esetleges termékvisszahívásról. Regisztrációs adatait soha nem adjuk el és nem osztjuk meg más cégekkel. A felesleges hulladék elkerülése és a környezet védelme érdekében nem adjuk tartozékként kidobócsatornát a termék megvásárlásakor (a legtöbb ügyfél mulcsozza vagy összegyűjti a fűnyesedéket). Igényelhet kidobócsatornát, ha regisztrálja termékét a www.Toro.com/register weboldalon. Egyszerűen jelölje be a jelölőnégyzetet az online regisztrációs űrlapon, és a Toro díjmentesen elküldi Önnek a kidobócsatornát. Türelmét kérjük, a kiszállítás 1-2 hetet igénybe vehet.
A termék megfelel minden vonatkozó európai irányelvnek; a részletekért kérjük, olvassa el a különálló termékspecifikus megfelelőségi nyilatkozatot (DOC).
Bruttó vagy nettó nyomaték: A motor bruttó vagy nettó forgatónyomatékát laboratóriumban állapította meg a gyártó az SAE J1940 vagy J2723 szabvány szerint. A biztonsági, károsanyag-kibocsátási és üzemeltetési követelmények teljesítése érdekében a motor tényleges nyomatéka ebben a fűnyíróosztályban jelentősen kisebb. Olvassa el a motorgyártó által a géphez mellékelt információkat.
Ne módosítsa illetéktelenül és ne hatástalanítsa a gép biztonsági berendezéseit, és rendszeresen ellenőrizze a megfelelő működésüket. Ne kísérelje meg beállítani vagy módosítani a motorfordulatszám-vezérlő rendszert; ezzel nem biztonságos üzemállapotot idézhet elő, amely személyi sérülést is okozhat.
A termék végtagvesztést okozhat, továbbá tárgyakat dobhat ki. A súlyos, akár végzetes személyi sérülések elkerülése érdekében mindig kövesse a biztonsági utasításokat.
A motor beindítása előtt olvassa el, értelmezze és kövesse a kezelői kézikönyvben és a gépen látható összes utasítást és figyelmeztetést.
Ne tegye kezét vagy lábát a gép mozgó részeinek közelébe vagy a gép alá. Maradjon távol a kidobónyílásoktól.
Ne használja a gépet, ha a védőburkolatok és egyéb védőelemek nincsenek a helyükön, és nem működnek.
Tartsa távol a közelben tartózkodó embereket és a gyerekeket a működtetési területtől. Ne engedje, hogy a gépet gyerekek üzemeltessék. Csak olyan személyek dolgozhatnak vele, akik felelősek, képzettek, ismerik az utasításokat, és fizikailag is képesek működtetni a gépet.
Álljon meg a géppel, állítsa le a motort, és várja meg, amíg minden mozgó alkatrész leáll, mielőtt megkezdené a gép karbantartását, tankolását, vagy elhárítaná annak eltömődését.
A gép nem megfelelő használata vagy karbantartása
személyi sérüléshez vezethet. A lehetséges
sérülések elkerülése érdekében
kövesse a biztonsági útmutatóban leírtakat,
és mindig ügyeljen a biztonsági figyelmeztető
szimbólumra (
), amelynek jelentése lehet Figyelem, Vigyázat
vagy Veszély – személyes biztonsági utasítások.
Az utasítások be nem tartása súlyos személyi
sérüléshez vagy halálhoz vezethet.
![]() |
A biztonsági címkék és utasítások a gépkezelő számára jól látható helyen, a potenciális veszélyforrás közelében találhatók. Cserélje ki vagy pótolja a megrongálódott vagy hiányzó címkét. |





Important: Távolítson el és dobjon ki a motort burkoló minden műanyag védőlemezt, valamint egyéb műanyag elemet és egyéb csomagolást a gépről.
Note: A kábelek és bovdenek a fogantyú külső oldalán legyenek elvezetve, és ügyeljen rá, nehogy becsípődjenek (Ábra 3, D). A rögzítőgombok és a kapupántcsavarok kétféleképpen szerelhetők fel. A rögzítőgombok és a kapupántcsavarok helytelen felszerelése a tolókar instabilitását okozhatja (Ábra 3, E).


Important: A gép használatakor a motor biztonságos és könnyű beindítása érdekében fűzze be a berántózsinórt a zsinórvezetőbe.

Important: Ha túl alacsony vagy túl magas olajszinttel járatja, a motor károsodhat.



| Modell | Tömeg | Hosszúság | Szélesség | Magasság |
|---|---|---|---|---|
| 21772 | 37 kg | 151 cm | 59 cm | 109 cm |
A Toro által jóváhagyott tartozékok és adapterek széles választéka kapható a géphez, amelyek javítják és bővítik annak képességeit. A jóváhagyott tartozékok és adapterek listájáért forduljon hivatalos márkaszervizhez, hivatalos Toro-forgalmazóhoz, vagy látogasson el a www.Toro.com webhelyre.
Az optimális teljesítmény és a gép folyamatos tanúsított biztonsága érdekében csak eredeti Toro-pótalkatrészeket és -tartozékokat használjon. A más által gyártott pótalkatrészek és tartozékok használata veszélyes lehet, emellett ez a garanciát is érvényteleníti.
Note: A gép jobb és bal oldalát a normál üzemeltetési helyzet alapján határozza meg.
Mindig állítsa le a gépet, és várja meg, amíg minden mozgó alkatrész megáll, majd hagyja lehűlni, mielőtt beállításba, javításba vagy tisztításba kezd, illetve mielőtt elteszi a gépet.
Ismerkedjen meg a berendezés biztonságos üzemeltetésével, a kezelőszervekkel és a biztonsági jelzésekkel.
Győződjön meg arról, hogy a védőburkolatok és az egyéb védőelemek, például a terelőlemezek és/vagy a fűgyűjtő a helyükön vannak és működőképesek.
Mindig ellenőrizze a gépet, hogy a kések és a késcsavarok nem kopottak vagy nem sérültek-e.
Vizsgálja át a területet, ahol a gépet használni fogja, és távolítson el onnan minden olyan tárgyat, amely zavarhatja a munkát vagy amelyet a gép eldobhat.
A mozgó kés érintése súlyos sérülést okozhat. Ne nyúljon a nyíróasztal alá.
Az üzemanyag rendkívül gyúlékony és robbanásveszélyes. Az üzemanyag okozta tűz vagy robbanás megégetheti Önt vagy másokat, és anyagi károkat okozhat.
Annak megakadályozása érdekében, hogy a statikus feltöltődés begyújtsa az üzemanyagot, tankolás előtt a tartályt és/vagy a gépet közvetlenül a földre helyezze, ne járműre vagy tárgyra.
A tankolást kültéren, nyílt területen végezze, amikor a motor hideg. Törölje fel a kiömlött üzemanyagot.
Ne kezeljen üzemanyagot dohányzás közben vagy nyílt láng és szikrák közelében.
Járó vagy meleg motornál ne vegye le a tanksapkát, és ne tankoljon.
Ha az üzemanyag kiömlött, ne kísérelje meg beindítani a motort. Kerülje gyújtóforrás létrehozását, amíg az üzemanyag teljesen el nem párolgott.
Üzemanyagot csak jóváhagyott üzemanyagtartályban tároljon, gyerekek számára nem hozzáférhető helyen.
Az üzemanyag lenyelése sérülést vagy halált okozhat. A gőzök belégzése hosszabb távon súlyos sérülést és megbetegedést okozhat.
Kerülje a gőzök hosszabb távú belégzését.
Tartsa távol arcát és kezeit a fúvókától és az üzemanyag-betöltő nyílástól.
Az üzemanyag szemtől és bőrtől távol tartandó.
| Típus | Ólommentes benzin |
| Minimális oktánszám | 87 (US) vagy 91 (kísérleti oktánszám; nem US) |
| Etanol | Legfeljebb 10 térfogatszázalék |
| Metanol | Nincs |
| MTBE (metil-tercier-butil-éter) | Kevesebb mint 15 térfogatszázalék |
| Olaj | Ne keverjen olajat az üzemanyaghoz. |
Csak tiszta, friss (30 napnál nem régebbi), megbízható forrásból származó üzemanyagot használjon.
Important: Az indítási problémák csökkentése érdekében töltsön a friss üzemanyaghoz stabilizátort/kondicionálót az üzemanyag-stabilizátor/-kondicionáló gyártójának utasításai szerint.
További tudnivalókért lásd a motor kezelői kézikönyvét.
Az üzemanyag-utántöltést a Ábra 9 szerint végezze.

| Karbantartási időköz | Karbantartási intézkedés |
|---|---|
| Minden egyes használat előtt, vagy naponta |
|
Important: Ha túl alacsony vagy túl magas olajszinttel járatja, a motor károsodhat.

A fogantyú egy magasabb és egy alacsonyabb helyzetbe állítható, amelyik kényelmesebb a munkához (Ábra 11).

Távolítsa el mindkét fogantyúgombot.
Állítsa a fogantyút a kívánt magasságba.
Rögzítse a fogantyút a korábban eltávolított fogantyúgombokkal.
A vágásmagasság-állító karok beállítása során a keze a mozgó késhez érhet, ami súlyos személyi sérüléssel járhat.
Állítsa le a motort, és várja meg, míg leállnak a mozgó alkatrészek, mielőtt a vágásmagasság beállításába kezd.
A vágásmagasság állítása közben ne nyúljon a nyíróasztal alá.
Ha járt a motor, a kipufogódob forró, ami égési sérülést okozhat.
Maradjon távol a forró kipufogódobtól.
Állítsa be a kívánt vágási magasságot. Állítsa be az összes kereket azonos vágásmagasságba (Ábra 12).

Viseljen megfelelő öltözéket, beleértve a védőszemüveget, a hosszú szárú nadrágot, a megfelelő, csúszásgátló lábbelit és a hallásvédelmi eszközt is. Hosszú haját kösse hátra, és ne viseljen bő ruházatot vagy ékszert.
A gép használatát teljes odafigyeléssel végezze. Ne bonyolódjon olyan tevékenységbe, amely elvonhatja a figyelmét, különben személyi sérülés vagy anyagi kár lehet a következmény.
Ne üzemeltesse a gépet betegen, fáradtan, illetve alkohol vagy gyógyszer hatása alatt.
A kés éles; ha hozzáér, súlyosan megsérülhet. Állítsa le a motort, vegye ki az indítókulcsot (ha van), és várja meg, amíg az összes mozgó alkatrész leáll, csak ezután hagyja el a kezelőállást.
Tartsa távol a közelben tartózkodó embereket a működtetési területtől. Tartsa a kisgyerekeket a működtetési területen kívül, olyan felelős felnőtt felügyelete alatt, aki nem a gépet kezeli. Ha valaki a területre lép, állítsa le a gépet.
Mindig nézzen lefelé és maga mögé, mielőtt hátrafelé kezdene haladni a géppel.
A gépet csak megfelelő időjárási és jó látási körülmények között használja. Ne használja a gépet, ha villámcsapás lehetősége áll fenn.
A nedves fű vagy levelek súlyos sérülést okozhatnak, ha rajtuk megcsúszva hozzáér a késhez. Kerülje a fűnyírást nedves füvön.
Különösen ügyeljen, amikor be nem látható kanyarokhoz, cserjékhez, fákhoz vagy más olyan tárgyakhoz közelít, melyek eltakarhatják a kilátást.
Ne irányítsa senki felé a kidobott anyagot. Kerülje az anyag falra vagy akadályra való kidobását; az visszaverődhet a kezelő felé. Állítsa le a kés(eke)t, amikor kavicsos felületet keresztez.
Ügyeljen a lyukakra, a keréknyomokra, a zökkenőkre, a kövekre és az egyéb rejtett tárgyakra. Egyenetlen terepen elveszítheti az egyensúlyát.
Ha a gép valamilyen tárgyba ütközik vagy rázkódni kezd, azonnal állítsa le a motort, vegye ki az indítókulcsot (ha van), várja meg, amíg minden mozgó alkatrész megáll, vegye le a gyújtógyertyáról a gyertyapipát, majd vizsgálja át a gépet, hogy nem sérült-e meg. Az üzemeltetés folytatása előtt végezze el a szükséges javításokat.
A kezelőállás elhagyása előtt állítsa le a motort, vegye ki az indítókulcsot (ha van) és várja meg, míg leállnak a mozgó alkatrészek.
Ha járt a motor, forró lehet, és súlyos égési sérülést okozhat. Maradjon távol a forró motortól.
A motort csak jól szellőző helyen járassa. A kipufogógázok szén-monoxidot tartalmaznak, amely szagtalan, halálos méreg.
Ellenőrizze rendszeresen a fűgyűjtő alkatrészeket és a kidobócsatornát kopás és elhasználódás szempontjából, és cserélje ki azokat eredeti Toro-alkatrészekre, ha szükséges.
A lejtőkön mindig keresztirányban dolgozzon, soha ne felfelé és lefelé. Legyen rendkívül óvatos a lejtőkön történő irányváltás közben.
Ne végezzen fűnyírást túl meredek lejtőkön. A bizonytalan egyensúlyi helyzet megcsúszással és eleséssel járó balesetet okozhat.
Fokozott körültekintéssel vágjon füvet átvágások, árkok vagy feltöltések közelében.

Note: Ha a gép néhány próbálkozás után nem indul be, lépjen kapcsolatba egy hivatalos márkaszervizzel.
Az önjáró meghajtás használatához egyszerűen lépkedjen a kezeit a felső fogantyún, a könyökét pedig maga mellett tartva; a gép automatikusan lépést tart Önnel (Ábra 14).

Note: Ha a gép az önjáró meghajtás használata után nem húzható szabadon hátrafelé, álljon meg, és kezeit a helyükön hagyva engedje a gépet néhány centit előre haladni a kerékhajtás leoldásához. Megpróbálhatja azt is, hogy megfogja közvetlenül a felső fogantyú alatti fémfogantyút, majd pár centit előretolja a gépet. Ha a gép továbbra sem húzható könnyen hátrafelé, lépjen kapcsolatba hivatalos márkaszervizzel.
| Karbantartási időköz | Karbantartási intézkedés |
|---|---|
| Minden egyes használat előtt, vagy naponta |
|
A motor leállításához nyomja addig a motorleállító gombot (Ábra 16), amíg a motor le nem áll.

Engedje el a késvezérlő rudat (Ábra 19).

Important: Amikor elengedi a késvezérlő rudat, a késnek 3 másodpercen belül le kell állnia. Ha nem áll le megfelelően, azonnal hagyja abba a gép használatát, és lépjen kapcsolatba hivatalos márkaszervizzel.
Minden használat előtt ellenőrizze a vezérlőrúd működését, hogy meggyőződhessen a késfékkuplung-rendszer megfelelő működéséről.
| Karbantartási időköz | Karbantartási intézkedés |
|---|---|
| Minden egyes használat előtt, vagy naponta |
|
A gyűjtőtartály segítségével további ellenőrzést is végezhet a késfékkuplungon.
Tegye fel az üres gyűjtőtartályt a gépre.
Indítsa be a motort.
Kapcsolja be a kést.
Note: A gyűjtőtartálynak fel kell fúvódnia, ami azt jelzi, hogy a kés bekapcsolt és forog.
Engedje el a késvezérlő rudat.
Note: Ha a gyűjtőtartály nem kezd azonnal összeesni, a kés tovább forog. A késfékkuplung elhasználódhatott, ami nem biztonságos üzemállapotot eredményezhet, ha nem foglalkoznak vele. Vizsgáltassa és javíttassa meg a gépet hivatalos szakszervizben.
Állítsa le a motort, és várja meg, míg leállnak a mozgó alkatrészek.
Vigye a gépet szilárd talajra szélcsendes helyen.
Állítsa be mind a 4 kereket 83 mm vágásmagasságra.
Gyűrjön újságpapírból egy akkora gombócot, ami befér a nyíróasztal alá (kb. 76 mm átmérőjűt).
Helyezze a papírgombócot kb. 13 cm-re a gép elé.
Indítsa be a motort.
Kapcsolja be a kést.
Engedje el a késvezérlő rudat.
Tolja rá azonnal a gépet a papírgombócra.
Állítsa le a motort, és várja meg, míg leállnak a mozgó alkatrészek.
Menjen a gép elé és nézze meg a papírgombócot.
Note: Ha a papírgombóc nem került a gép alá, ismételje meg a 4–10. lépést.
Ha a papírgombóc szétnyílt vagy elszeletelődött, a kés nem állt le megfelelően, ami nem biztonságos üzemállapotot eredményezhet. Vegye fel a kapcsolatot a hivatalos márkakereskedővel.
A gép gyárilag alkalmas mulcsozásra és a levélkaszálék visszadolgozására a gyepbe.
Ha a gyűjtőtartály fel van szerelve a gépre, a fűgyűjtő kar pedig fűgyűjtési helyzetben áll, állítsa a kart mulcsozási helyzetbe; lásd A fűgyűjtő kar használata.
Használja a gyűjtőtartályt, ha össze kívánja gyűjteni a fűkaszálékot és a levélhulladékot a gyepről.
Ha a fűgyűjtő kar mulcsozási helyzetben van, állítsa fűgyűjtési helyzetbe; lásd A fűgyűjtő kar használata.
A gyűjtőtartály eltávolításához végezze el az előző lépéseket fordított sorrendben, lásd A gyűjtőtartály felszerelése.
A kikapcsolható fűgyűjtés lehetővé teszi, hogy a gépre felszerelt gyűjtőtartállyal fűgyűjtő üzemmódban és mulcsozással is lehessen használni a gépet.
A levágott fű- és levélnyesedék gyűjtéséhez nyomja meg a fűgyűjtő kar gombját, majd hajtsa előre a kart annyira, hogy a gombja újra kiugorjon (Ábra 21).

A levágott fű- és levélnyesedék mulcsozásához nyomja meg a fűgyűjtő kar gombját, majd hajtsa hátra a kart annyira, hogy a gombja újra kiugorjon.
Important: A megfelelő használathoz állítsa le a motort, várja meg, amíg minden mozgó alkatrész megáll, majd távolítson el minden fűnyesedéket és hulladékot a fűgyűjtő ajtajáról és a környező nyílásról (Ábra 22), mielőtt a fűgyűjtő kart az egyik helyzetből átállítja a másik helyzetbe.

Vizsgálja meg a területet, ahol a gépet használni fogja, és távolítson el minden olyan tárgyat, amelyet a gép feldobhat.
Kerülje el a kés kemény tárgyakhoz csapódását. Szándékosan soha ne nyírjon tárgyak felett.
Ha a gép valamilyen tárgyba ütközik, vagy rázkódni kezd, azonnal állítsa le a motort, várja meg, amíg minden mozgó alkatrész megáll, kösse le a gyújtógyertyáról a kábelét, majd vizsgálja át a gépet, hogy nem sérült-e meg.
A legjobb teljesítmény eléréséhez szereljen fel új Toro-kést az idény kezdete előtt, vagy amikor szükséges.
Egyszerre a fűszálaknak csak mintegy harmadrészét vágja le. Ne vágjon az 51 mm-es beállítás alatt, hacsak nem gyér a fű, vagy csak késő ősszel, amikor a fű növekedése lelassul.
A gyep legjobb kinézete érdekében 15 cm-nél magasabb fűnél kezdje a legnagyobb vágásmagassággal és haladjon lassabban; ezután menjen át a területen alacsonyabb beállítás mellett. Ha a fű túl hosszú, a gép eltömődhet, és a motor lefulladhat.
A nedves fű és levelek hajlamosak összetapadni az udvaron, és a gép eltömődését vagy a motor leállását okozhatják. Kerülje a fűnyírást nedves füvön.
Vegye figyelembe a rendkívül száraz időjárás esetén fennálló potenciális tűzveszélyt, kövesse a helyi tűzvédelmi figyelmeztetéseket, és tartsa tisztán a gépet a száraz fűtől és a törmeléktől.
Váltogassa a fűnyírás irányát. Ez segít eloszlatni a kaszálékot a pázsiton az egyenletes trágyázás érdekében.
Ha nem kielégítő a kész pázsit megjelenése, próbáljon ki egyet vagy akár többet a következő javaslatok közül:
Cserélje ki vagy éleztesse meg a kést.
Fűnyírás közben haladjon lassabb ütemben.
Növelje gépén a vágási magasságot.
Nyírja gyakrabban a füvet.
Alkalmazzon átfedést a rendek között, ahelyett, hogy külön minden soron teljes szélességű rendet nyírna.
A pázsit nyírását követően győződjön meg arról, hogy a fű fele kilátszik a levágott levéllepel alól. Lehetséges, hogy egynél többször kell áthaladnia egy soron a levelek felett.
Ha több mint 13 cm vastagon áll a levél a gyepen, kezdje a fűnyírást nagyobb vágásmagassággal, majd menjen át újra a gyepen a kívánt beállítással.
Ha a gép nem vágja elég finomra a leveleket, csökkentse a nyírás sebességét.
Mindig állítsa le a gépet, és várja meg, amíg minden mozgó alkatrész megáll, majd hagyja lehűlni, mielőtt beállításba, javításba vagy tisztításba kezd, illetve mielőtt elteszi a gépet.
A tűzesetek megelőzése érdekében tisztítsa meg a gépet a fűtől és a törmeléktől. Törölje fel a kiömlött olajat és az üzemanyagot.
Soha ne tárolja a gépet vagy az üzemanyagtartályt olyan helyen, ahol nyílt láng, szikra vagy őrláng fordul elő, mint például vízmelegítőkön vagy más berendezéseken.
Járjon el fokozott körültekintéssel a gép be- és kirakodásakor.
Biztosítsa a gépet, nehogy elguruljon.
| Karbantartási időköz | Karbantartási intézkedés |
|---|---|
| Minden használat után |
|
A legjobb eredmény érdekében tisztítsa meg a gép alját nem sokkal a munka befejezése után.
Engedje le a gépet a legalacsonyabb vágásmagasságra.
Helyezze a gépet sík, burkolt felületre.
Járó motor és bekapcsolt kések mellett permetezze a vízsugarat a jobb hátsó kerék elé (Ábra 23).
Note: A víz a kés útjába kerülve kimossa a nyesedéket.

Ha már nem jön ki több fűnyesedék, zárja el a vizet és vigye a gépet száraz részre.
Indítsa be a motort, és a rozsdásodás megelőzése érdekében járassa pár percig, hogy kiszáradjon a gép alja.
Állítsa le a motort, vegye ki az indítógombot (ha van), és hagyja lehűlni a gépet, mielőtt eltenné egy zárt helyre.
A fogantyú nem megfelelő be- vagy kihajtása károsíthatja a kábeleket, ami nem biztonságos üzemeltetési körülményeket eredményezhet.
Ügyeljen a kábelek épségére a fogantyú be- vagy kihajtása során.
Ha egy kábel károsodott, lépjen kapcsolatba hivatalos márkaszervizzel.
Távolítsa el a 2 fogantyúgombot és a 2 kapupántcsavart a fogantyútartó konzolokból (Ábra 24, A), és tegye el.
Important: A fogantyú lehajtása során a kábeleket, bovdeneket a fogantyúgombon kívül vezesse el.
A fogantyút a lehajtásához fordítsa előre (Ábra 24, B).
Szerelje be a kapupántcsavarokat a fogantyútartó konzolokba a fogantyúgombokkal együtt, de ne húzza meg a gombokat (Ábra 24, C).
A fogantyú kihajtása, lásd: A fogantyú összeszerelése és kihajtása.

| Karbantartási időköz | Karbantartási intézkedés |
|---|---|
| Minden egyes használat előtt, vagy naponta |
|
| Minden használat után |
|
| Minden 25 órában |
|
| Évente |
|
| Évente, vagy tárolás előtt |
|
Important: A további karbantartási eljárásokra vonatkozóan lásd a motor kezelői kézikönyvét.
Mindig állítsa le a gépet, és várja meg, amíg minden mozgó alkatrész megáll, majd hagyja lehűlni, mielőtt beállításba, javításba vagy tisztításba kezd, illetve mielőtt elteszi a gépet.
Vegye le a gyertyapipát a gyújtógyertyáról, mielőtt bármilyen karbantartási munkába kezdene.
A gép karbantartása során viseljen védőkesztyűt és védőszemüveget.
A kés éles; ha hozzáér, súlyosan megsérülhet. A kés szervizelésekor viseljen védőkesztyűt. Ne végezzen a kése(ke)n javítást vagy átalakítást.
Soha ne változtasson a biztonsági berendezéseken. Rendszeresen ellenőrizze megfelelő működésüket.
A gép felbillentése az üzemanyag szivárgását okozhatja. Az üzemanyag gyúlékony, robbanásveszélyes, és személyi sérülést okozhat. Járassa a gépet az üzemanyag kifogyásáig, vagy távolítsa el az üzemanyagot kézi szivattyúval (soha ne használjon leszívócsövet).
Az optimális teljesítmény érdekében csak eredeti Toro-pótalkatrészeket és -tartozékokat használjon. A más által gyártott pótalkatrészek és tartozékok használata veszélyes lehet, emellett ez a garanciát is érvényteleníti.
Állítsa le a motort, és várja meg, amíg leállnak a mozgó alkatrészek.
Vegye le a gyertyapipát a gyújtógyertyáról (Ábra 25).

A karbantartási munka elvégzését követően tegye vissza a gyertyapipát.
Important: Mielőtt felbillenti a gépet az olajcseréhez vagy a kés cseréjéhez, fogyassza ki az üzemanyagtartályt normál használattal. Ha már az üzemanyag kifogyasztása előtt fel kell billentenie a gépet, ürítse ki a tartályt kézi üzemanyag-szivattyúval. A gép oldalra billentésekor a nívópálca nézzen lefelé.
| Karbantartási időköz | Karbantartási intézkedés |
|---|---|
| Minden 25 órában |
|
| Évente |
|
Oldja ki a légszűrőfedél felső kapcsát (Ábra 26).

Vegye ki a légszűrőt (Ábra 26).
Vizsgálja meg a légszűrőt.
Note: Ha a légszűrőbetét nagyon elkoszolódott, cserélje ki. Egyéb esetben a szennyeződés fellazításához kocogtassa a szűrőbetétet egy kemény felülethez.
Szerelje be a légszűrőbetétet.
Rögzítse a légszűrőfedelet a kapocs segítségével.
| Karbantartási időköz | Karbantartási intézkedés |
|---|---|
| Évente |
|
A motorolaj cseréjére nincs szükség, de ha le szeretné cserélni a motorolajat, végezze az alábbi eljárás szerint.
Note: Néhány percig járassa a motort az olaj cseréje előtt, hogy felmelegedjen. A meleg olaj jobban folyik, és több szennyezőanyagot szállít.
| Motorolaj mennyisége | 0,44 l* |
| Az olaj viszkozitása | SAE 30 vagy SAE 10W-30 detergenstartalmú kenőolaj |
| API-besorolás | SJ vagy magasabb |
* Leengedése után az olaj egy része a forgattyúházban marad. Ne öntse bele a forgattyúházba a teljes olajmennyiséget. Töltse fel olajjal a forgattyúházat az alábbi lépéseket követve.
Helyezze a gépet sík felületre.
Lásd: Felkészülés karbantartásra.
A sapkáját balra elforgatva húzza ki a nívópálcát (Ábra 27).

Az elhasznált olaj olajbetöltő csövön keresztül történő kiürítéséhez billentse az oldalára a gépet (a légszűrő nézzen felfelé) (Ábra 28).

Az elhasznált olaj kiürítése után fordítsa a gépet üzemi helyzetbe.
Töltse be óvatosan az előírt olajmennyiség 3/4-ét az olajbetöltő csőbe.
Várjon 3 percet, hogy az olaj elhelyezkedjen a motorban.
Törölje meg a nívópálcát egy tiszta ronggyal.
Dugja vissza nívópálcát az olajbetöltő csőbe, csavarja be, majd távolítsa el.
Ellenőrizze az olajszintet a nívópálcán (Ábra 27).
Ha a nívópálca alapján az olajszint túl alacsony, töltsön óvatosan némi olajat az olajbetöltő csőbe, várjon 3 percet, majd ismételje addig a 8–10. lépést, amíg a nívópálca alapján az olaj el nem éri a megfelelő szintet.
Ha az olajszint a nívópálca szerint túl magas, engedjen le az olajból annyit, hogy nívópálca alapján elérje a megfelelő szintet.
Important: Ha túl alacsony vagy túl magas olajszinttel járatja, a motor károsodhat.
Szerelje be biztonságosan a nívópálcát az olajbetöltő csőbe.
Hasznosítsa újra az olajat környezetbarát módon.
| Karbantartási időköz | Karbantartási intézkedés |
|---|---|
| Évente |
|
Important: A kés megfelelő felszereléséhez nyomatékkulcs szükséges. Ha nem rendelkezik nyomatékkulccsal, vagy nem szívesen végezné el ezt a műveletet, forduljon márkaszervizhez.
Mielőtt tankol, minden esetben vizsgálja meg a kést. Ha a kés megsérült vagy elrepedt, azonnal cserélje ki. Ha a kés eltompult vagy kicsorbult, éleztesse meg és egyensúlyoztassa ki, vagy cserélje ki.
A kés éles; ha hozzáér, súlyosan megsérülhet.
A kés szervizelésekor viseljen védőkesztyűt.
Vegye le a gyertyapipát a gyújtógyertyáról; lásd: Felkészülés karbantartásra.
Billentse az oldalára a gépet úgy, hogy a légszűrő nézzen felfelé.
Távolítsa el a 2 késrögzítő anyát és a merevítőt (Ábra 29).

Távolítsa el a kést (Ábra 29).
Szerelje fel az új kést (Ábra 29).
Szerelje fel a korábban eltávolított merevítőt.
Szerelje fel, majd húzza meg a késanyákat 20–37 Nm nyomatékkal.
| Karbantartási időköz | Karbantartási intézkedés |
|---|---|
| Minden 25 órában |
|
Tisztítsa meg a késfékkuplung védőburkolatát évente, hogy megelőzhető legyen fűnyírás közben a kés megszorulása.
Vegye le a gyertyapipát a gyújtógyertyáról; lásd: Felkészülés karbantartásra.
Döntse oldalra a gépet, úgy, hogy a nívópálca lefelé nézzen.
Távolítsa el a 2 késrögzítő anyát és a merevítőt (Ábra 30).

Távolítsa el a kést (Ábra 30).
Távolítsa el a késmeghajtót és a tárcsát (Ábra 30).
Távolítsa el a késfékkuplung védőburkolatát (Ábra 30).
Távolítsa el a hulladékot a védőburkolat belsejéből és a környékén minden alkatrészről kefével vagy sűrített levegővel.
Szerelje vissza a késfékkuplung védőburkolatát.
Szerelje vissza a késmeghajtót.
Szerelje vissza a kést és a merevítőt (Ábra 30).
Szerelje fel, majd húzza meg a késanyákat 20–37 Nm nyomatékkal.
Állítsa be az önjáró meghajtást, ha új önjárómeghajtás-bovdent szerel be, vagy az önjáró meghajtás elállítódott.
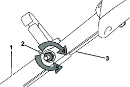
A bovdenrögzítő szerkezet meglazításához forgassa a szorítóanyát az óra járásával ellenkező irányba (Ábra 31).

A feszessége módosításához (Ábra 31) húzza vissza vagy tolja előre a bovdent, és tartsa meg ebben a helyzetben.
Note: A vontatás erejének növeléséhez tolja a bovdent a motor felé; a csökkentéséhez húzza el a motortól.
Forgassa a szorítóanyát az óra járásával megegyező irányba a bovdenrögzítő meghúzásához.
Note: Húzza meg jól az anyát dugókulccsal vagy villáskulccsal.
A gépet hűvös, tiszta, száraz helyen tárolja.
Mindig állítsa le a gépet, és várja meg, amíg minden mozgó alkatrész megáll, majd hagyja lehűlni, mielőtt beállításba, javításba vagy tisztításba kezd, illetve mielőtt elteszi a gépet.
Az év utolsó tankolásakor adjon az üzemanyaghoz stabilizálót (pl. Toro Premium Fuel Treatment adalékot), a címkén olvasható utasításoknak megfelelően.
A nem felhasznált üzemanyagot helyezze el megfelelő módon. Hasznosítsa újra a helyi előírásoknak megfelelően, vagy használja fel gépkocsijában.
Important: Az üzemanyagtartályban maradó régi üzemanyag nehéz indítást okozhat. Ne tárolja az üzemanyagot stabilizáló nélkül 30 napnál tovább, a stabilizált üzemanyagot pedig az üzemanyag-stabilizáló gyártója által megadott időszaknál hosszabban.
Járassa addig a gépet, amíg az üzemanyag elfogyasztása miatt a motor le nem áll.
Indítsa be a motort, és hagyja járni, amíg le nem áll. Ha már nem képes újraindítani a motort, akkor kellően száraz.
Vegye le a gyertyapipát a gyújtógyertyáról, tegye fel a tároló pólusra (ha van), és távolítsa el az elektromos indítógombot (ha van).
Szerelje ki a gyújtógyertyát, töltsön be 30 ml olajat a gyújtógyertya furatán keresztül, és húzza meg a berántózsinórt lassan, több alkalommal, hogy jól eloszlassa az olajat a henger körül, amivel megakadályozható a henger korróziója az üzemen kívüli időszak során.
Szerelje be a gyújtógyertyát, de ne húzza meg.
Húzzon meg minden csavart és anyát.
Ellenőrizze és húzza meg az összes kötőelemet.
Szerelje ki a gyújtógyertyát, és forgassa át a motort intenzíven a berántózsinór segítségével, hogy eltávozzon az olaj a hengerből.
Szerelje be a gyújtógyertyát, és húzza meg nyomatékkulccsal 20 Nm nyomatékkal.
Végezzen el minden előírt karbantartást; lásd: .
Ellenőrizze a motorolaj szintjét; lásd: A motor olajszintjének ellenőrzése.
Töltse fel az üzemanyagtartályt friss üzemanyaggal; lásd: Üzemanyag-utántöltés.
Csatlakoztassa a gyertyapipát a gyújtógyertyára.