| Intervali servisnega vzdrževanja | Postopek vzdrževanja |
|---|---|
| Pred vsako uporabo ali dnevno |
|
Ta stroj je samohodna kosilnica z rotacijskimi rezili, namenjena za domačo uporabo. Stroj je primarno zasnovan za košnjo trave na dobro vzdrževanih tratah v stanovanjskih naseljih. Uporaba izdelka za nepredvidene namene je lahko nevarna za vas in navzoče osebe.
Podrobno preberite te informacije, da se seznanite s pravilnim upravljanjem in vzdrževanjem ter preprečite telesne poškodbe in poškodbe stroja. Za pravilno in varno upravljanje izdelka ste odgovorni sami.
Če potrebujete več informacij, vključno z nasveti glede varnosti, gradivom za usposabljanje za uporabo, podatki o dodatni opremi in pomočjo pri iskanju prodajalca oziroma želite registrirati izdelek, obiščite spletno mesto www.Toro.com.
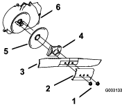
Če potrebujete servisne storitve, originalne dele Toro ali dodatne informacije, se obrnite na pooblaščenega prodajalca oziroma službo za pomoč strankam družbe Toro, pri čemer predhodno pripravite številko modela in serijsko številko izdelka. Diagram 1 označuje mesto številke modela in serijske številke na izdelku. Številke vpišite v ustrezna polja.
Important: Do podatkov o garanciji, delih in drugih informacij o izdelku lahko dostopate tako, da z mobilno napravo odčitate QR-kodo na nalepki s serijsko številko (če je nameščena).

V tem priročniku so opredeljene morebitne nevarnosti, pri čemer varnostna opozorila označuje poseben opozorilni znak za nevarnost (Diagram 2), ki lahko povzroči hude telesne poškodbe ali smrt, če ne upoštevate priporočenih previdnostnih ukrepov.

Za poudarjanje informacij sta v tem priročniku uporabljeni 2 besedi. Pomembno opozarja na posebne tehnične informacije, medtem ko Opomba označuje informacije, ki jih morate posebej pozorno prebrati.
Stroja ne pozabite registrirati na spletni strani www.Toro.com/register. Z registracijo si zagotovite, da vas bomo obvestili o morebitnem odpoklicu izdelka. Vaših podatkov za registracijo ne bomo v nobenem primeru prodali ali posredovali tretjim podjetjem. Da bi omejili količino odpadkov in prispevali k varovanju okolja, izmetna cev ni priložena ob nakupu stroja (večina kupcev raje uporablja recikliranje ali vrečke za pokošeno travo). Izmetno cev lahko zahtevate ob registraciji izdelka na spletni strani www.Toro.com/register. Preprosto označite polje na spletnem prijavnem obrazcu in družba Toro vam bo brez dodatnih stroškov poslala izmetno cev. Dostavili jo bomo v 1 do 2 tednih.
Ta izdelek je skladen z vsemi ustreznimi evropskimi direktivami. Podrobnosti so na voljo v ločeni izjavi o skladnosti (DOC) za ta izdelek.
Bruto ali neto navor: bruto ali neto navor motorja je laboratorijsko ocenil proizvajalec motorja skladno s standardom J1940 ali J2723 združenja avtomobilskih inženirjev (Society of Automotive Engineers, SAE). Zaradi skladnosti z varnostnimi, emisijskimi in delovnimi zahtevami je dejanska moč motorja tega razreda kosilnice bistveno manjša. Glejte dokumentacijo proizvajalca motorja, ki je priložena stroju.
Ne posegajte v varnostne naprave stroja in jih ne onemogočajte. Redno preverjajte njihovo pravilno delovanje. Ne posegajte v krmiljenje hitrosti motorja in ga ne poskušajte prilagajati. To lahko povzroči nevarno delovanje, ki lahko privede do telesnih poškodb.
Ta izdelek lahko amputira roke in noge oziroma izvrže predmete z veliko hitrostjo. Za preprečevanje hudih telesnih poškodb ali smrti vedno upoštevajte varnostna navodila.
Pred prvim zagonom motorja obvezno preberite ter poskrbite, da boste razumeli in upoštevali vse napotke in opozorila v tem uporabniškem priročniku, na stroju in priključkih.
Rok in nog ne približujte gibljivim delom stroja in z njimi ne segajte pod stroj. Ne približujte se izmetnim odprtinam.
Stroja ne smete uporabljati, če vse varnostne zaščitne naprave in ščitniki niso nameščeni in ne delujejo pravilno.
Drugim navzočim osebam in otrokom preprečite vstop v območje delovanja stroja. Otrokom nikoli ne dovolite upravljati stroja. Stroj sme upravljati samo odgovorna, usposobljena in fizično zmožna oseba, ki je seznanjena z navodili za upravljanje stroja.
Pred servisiranjem, dolivanjem goriva ali odmaševanjem ustavite stroj, ugasnite motor in počakajte, da se vsi gibljivi deli ustavijo.
Nepravilna uporaba ali vzdrževanje stroja lahko privedeta
do poškodb. Upoštevajte ta varnostna navodila in vedno
upoštevajte varnostni simbol
, ki lahko pomeni svarilo, opozorilo ali nevarnost
– navodila za osebno varnost, da preprečite nevarnosti
poškodb. Neupoštevanje teh navodil lahko privede do
telesnih poškodb ali smrti.
![]() |
Varnostne nalepke in nalepke z navodili so nameščene v bližini vseh nevarnih predelov in dobro vidne upravljavcu. Poškodovane in manjkajoče varnostne nalepke nadomestite z novimi. |





Important: Odstranite in zavrzite zaščitno plastično folijo, s katero je prekrit motor, in vso drugo morebitno plastično embalažo stroja.

Important: Za varen in preprost zagon motorja ob vsaki uporabi namestite zagonsko vrv v vodilo za vrv.

Important: Če motor zaženete, ko je raven olja v motorju prenizka ali previsoka, lahko poškodujete motor.



| Model | Masa | Dolžina | Širina | Višina |
|---|---|---|---|---|
| 21772 | 37 kg | 151 cm | 59 cm | 109 cm |
Toro ponuja širok nabor odobrenih delovnih priključkov in dodatne opreme, s katerimi lahko povečate in razširite zmogljivosti stroja. Za seznam odobrenih priključkov in dodatne opreme se obrnite na pooblaščenega serviserja ali pooblaščenega distributerja strojev Toro oziroma obiščite www.Toro.com.
Če želite zagotoviti optimalno delovanje in ohraniti veljavnost varnostnega certifikata stroja, uporabljajte izključno originalne nadomestne dele in dodatno opremo Toro. Uporaba nadomestnih delov in dodatne opreme drugih proizvajalcev je lahko nevarna in lahko privede do razveljavitve garancije.
Note: Ugotovite, katera stran stroja je leva in katera desna, gledano z običajnega položaja za upravljanje stroja.
Pred nastavljanjem, servisiranjem, čiščenjem in skladiščenjem stroja vedno ugasnite motor ter počakajte, da se vsi gibljivi deli ustavijo in da se stroj ohladi.
Seznanite se s postopki za varno upravljanje opreme, krmilniki za upravljavca in varnostnimi oznakami.
Preverite, ali so vsi ščitniki in varovala, kot so usmerjevalniki in zbiralnik trave, nameščeni in pravilno delujoči.
Vedno preglejte stroj, da se prepričate, da rezila in vijaki rezil niso obrabljeni ali poškodovani.
Preverite območje, kjer boste uporabljali stroj, in odstranite vse predmete, ki bi lahko ovirali delovanje stroja ali ki jih lahko stroj izvrže.
Stik s premikajočim se rezilom lahko povzroči resne poškodbe. S prsti ne segajte pod ohišje.
Gorivo je zelo vnetljivo in eksplozivno. Požar ali eksplozija zaradi goriva ima lahko hude posledice za vas in druge osebe v bližini, kot so opekline in premoženjska škoda.
Da bi preprečili vžig goriva zaradi statične razelektritve, pred polnjenjem postavite posodo in/ali stroj na tla, ne na vozilo ali na predmet.
Polnjenje goriva v rezervoar za gorivo opravite na prostem ter ko je motor ohlajen. Pobrišite razlito gorivo.
Ne rokujte z gorivom, kadar kadite oziroma v bližini odprtega ognja ali isker.
Ne odstranjujte pokrovčka za gorivo oziroma ne dolivajte goriva v rezervoar za gorivo, ko motor teče ali ko je vroč.
Če polijete gorivo, ne poskušajte zagnati motorja. Pazite, da ne bi kako povzročili vžiga, dokler se hlapi goriva ne razkadijo.
Gorivo hranite v odobrenih posodah in izven dosega otrok.
Gorivo je škodljivo ali celo smrtno nevarno, če ga zaužijete. Dolgotrajna izpostavljenost hlapom lahko povzroči hude telesne poškodbe in bolezni.
Izogibajte se daljšemu vdihavanju hlapov.
Z rokami in obrazu se ne približujte pištoli in odprtini za dolivanje goriva.
Preprečite stik goriva z očmi in kožo.
| Tip | Neosvinčen bencin |
| Najnižje oktansko število | 87 (ZDA) oziroma 91 (oktan za raziskave, zunaj ZDA) |
| Etanol | Največ 10 volumskih odstotkov |
| Metanol | Nič |
| MTBE (terciarni butil metil eter) | Manj kot 15 volumskih odstotkov |
| Olje | Ne dodajte olja |
Uporabljajte samo čisto in sveže (staro največ 30 dni) gorivo iz kakovostnega vira.
Important: Da bi preprečiti težave pri zagonu, svežemu gorivu dodajte ustrezno količino stabilizatorja/dodatka za obstojnost goriva po priporočilih proizvajalca stabilizatorja za gorivo.
Za dodatne informacije glejte priročnik za lastnike motorja.
Napolnite rezervoar za gorivo, kot je prikazano na Diagram 9.

| Intervali servisnega vzdrževanja | Postopek vzdrževanja |
|---|---|
| Pred vsako uporabo ali dnevno |
|
Important: Če motor zaženete, ko je raven olja v zobniškem okrovu prenizka ali previsoka, lahko poškodujete motor.

Ročaj lahko namestite v enega od 2 položajev, ki vam najbolj ustreza (Diagram 11).

Odstranite oba ročna vijaka ročaja.
Ročaj nastavite na želeni položaj.
Znova ga pritrdite s predhodno odstranjenima ročnima vijakoma ročaja.
Pri nastavljanju višine košnje bi lahko vaše dlani prišle v stik z vrtečimi se rezili, kar bi lahko privedlo do hudih poškodb.
Zaustavite motor in počakajte, da se vsi premikajoči se deli ustavijo, preden začnete nastavljati višino košnje.
Pri nastavljanju višine košnje ne segajte s prsti pod ohišje.
Če je motor tekel, je glušnik vroč in se lahko opečete.
Ne približujte se vročemu glušniku.
Nastavite višino košnje po želji. Vsa kolesa nastavite na isto višino košnje (Diagram 12).

Nosite primerna oblačila, vključno z zaščitnimi očali, dolgimi hlačami, delovnimi čevlji z nedrsečim podplatom in zaščito za sluh. Spnite dolge lase in ne nosite ohlapnih oblek ali ohlapnega nakita.
Med upravljanjem stroja bodite popolnoma zbrani. Ne delajte ničesar, kar bi lahko odvrnilo vašo pozornost, saj to lahko privede do telesnih poškodb ali materialne škode.
Stroja ne upravljajte, če ste bolni, utrujeni ali pod vplivom alkohola oziroma drog.
Rezilo kosilnice je ostro; če se ga dotaknete se lahko hudo poškodujete. Ugasnite motor, izvlecite kontaktni ključ (če je vgrajen) in počakajte, da se vsi premikajoči se deli ustavijo, preden zapustite upravljavčev položaj.
Drugim navzočim preprečite vstop v območje delovanja stroja. Majhnimi otrokom ne pustite v delovno območje stroja; ves čas jih mora nadzirati druga odrasla oseba in ne uporabnik stroja. Če na območje vstopi druga oseba, zaustavite stroj.
Vedno poglejte nazaj, preden začnete kositi vzvratno.
Stroj uporabljajte samo pri dobri vidljivosti in ustreznih vremenskih pogojih. Ne upravljajte stroja, če obstaja nevarnost za udar strele.
Mokra trava in listje lahko povzročita zdrs, ki lahko privede do hude poškodbe, če se pri padcu dotaknete rezila. Ne kosite mokre trave.
Bodite izredno previdni pri približevanju nepreglednim ovinkom, grmom, drevesom ali drugim predmetom, ki lahko ovirajo vaš pregled.
Izvrženega materiala ne usmerjajte proti ljudem. Pazite, da izmet ne bo usmerjen v zid ali oviro, saj bi se lahko trdi predmeti odbili nazaj proti vam. Pri prečkanju makadamskih površin zaustavite vrtenje rezil.
Bodite pozorni na luknje, kolesnice, grbine, skale ali druge skrite ovire. Na neravnem terenu lahko izgubite ravnotežje ali pa vam zdrsne in padete.
Če stroj zadene ob predmet ali se začne tresti, nemudoma zaustavite motor, izvlecite kontaktni ključ (če je vgrajen), počakajte, da se vsi gibljivi deli ustavijo in odklopite kabel iz vžigalne svečke. Šele nato preglejte, ali je stroj poškodovan. Pred nadaljevanjem uporabe opravite vsa potrebna popravila.
Preden zapustite delovni položaj, ugasnite motor, izvlecite kontaktni ključ (če je vgrajen) in počakajte, da se vsi gibljivi deli ustavijo.
Če je motor tekel, je vroč in se lahko hudo opečete. Ne približujte se vročemu motorju.
Motor sme teči samo v dobro prezračevanem prostoru. Izpušni plini vsebujejo tudi ogljikov monoksid, strupen plin brez vonja, ki lahko povzroči smrt.
Redno pregledujte zbiralnik trave in izmetno cev za obrabo ali poškodbe ter ju po potrebi zamenjajte z originalnimi nadomestnimi deli Toro.
Po pobočjih kosite prečno, nikoli navzgor ali navzdol po pobočju. Pri spremembi smeri na pobočju bodite posebej previdni.
Ne kosite na preveč strmih pobočjih. Na strmem pobočju vam lahko zdrsne in pri padcu se lahko poškodujete.
V bližini prepadov, jarkov ali strmih nabrežij kosite zelo previdno.

Note: Če vam v več poskusih ne uspe zagnati motorja, se obrnite na pooblaščenega serviserja.
Če želite uporabljati samohodni pogon, preprosto z rokama držite zgornji ročaj tako, da imate komolca ob telesu, in stroj se bo samodejno premikal skupaj z vami (Diagram 14).

Note: Če pri uporabi samohodnega pogona stroja ni mogoče neovirano premikati nazaj, se ustavite, roke držite pri miru in počakajte, da se stroj zapelje nekaj centimetrov naprej, da se samohodni pogon izklopi. Lahko primete tudi za kovinski ročaj, ki je neposredno pod zgornjim ročajem, in stroj potisnete za nekaj centimetrov naprej. Če stroja ni mogoče neovirano premikati nazaj, se obrnite na pooblaščenega serviserja.
| Intervali servisnega vzdrževanja | Postopek vzdrževanja |
|---|---|
| Pred vsako uporabo ali dnevno |
|
Če želite ugasniti motor, pritisnite gumb za zaustavitev motorja (Diagram 16) in ga držite, dokler se motor ne ustavi.

Sprostite krmilni vzvod rezila kosilnice (Diagram 19).

Important: Ko spustite krmilni vzvod rezila kosilnice, se mora rezilo kosilnice ustaviti v 3 sekundah. Če se ne ustavi, kot bi se moralo, takoj prenehajte uporabljati stroj in se obrnite na pooblaščenega serviserja.
Pred vsako uporabo preverite krmilni vzvod, da se prepričate, da sklop zavorne sklopke za rezila pravilno deluje.
| Intervali servisnega vzdrževanja | Postopek vzdrževanja |
|---|---|
| Pred vsako uporabo ali dnevno |
|
Delovanje sistema zavorne sklopke rezil lahko preverite z vrečo za travo.
Prazno vrečo za travo namestite na stroj.
Zaženite motor.
Vklopite rezilo.
Note: Vreča se mora začeti napihovati, kar je znak, da je rezilo vklopljeno in se vrti.
Sprostite krmilni vzvod rezila.
Note: Če vreča za travo ne uplahne nemudoma, se rezilo še vedno vrti. To lahko pomeni, da je zavorna sklopka rezila izrabljena. Če tega ne popravite, lahko povzročite nevarnost pri delu. Stroj odpeljite na pregled in popravilo k pooblaščenemu serviserju.
Zaustavite motor in počakajte, da se vsi premikajoči se deli ustavijo.
Premaknite stroj na tlakovano ravno površino, kjer ni vetra.
Vsa 4 kolesa nastavite na višino košnje 83 mm.
Vzemite pol časopisne pole in jo zmečkajte v dovolj majhno kepo, da jo lahko potisnete pod ohišje stroja (s premerom približno 76 mm).
Časopisno kepo postavite približno 13 cm pred stroj.
Zaženite motor.
Vklopite rezilo.
Sprostite krmilni vzvod rezila.
Hitro potisnite stroj čez časopisno kepo.
Zaustavite motor in počakajte, da se vsi premikajoči se deli ustavijo.
Stopite k sprednjemu delu stroja in poiščite časopisno kepo.
Note: Če s strojem niste zapeljali čez kepo, ponovite korake od 4 do 10.
Če je časopisna kepa razvita ali raztrgana, se rezilo ni pravilno ustavilo, kar lahko povzroči nevarnost pri delu. Obrnite se na pooblaščenega serviserja.
Stroj je tovarniško opremljen za recikliranje trave in razrezanega listja na travnato površino.
Če je vreča za travo nameščena na stroju in vzvod za vklop zbiralnega sistema vklopljen, premaknite vzvod v položaj za recikliranje; glejte Uporaba vzvoda za vklop zbiralnega sistema.
Če želite zbrati pokošeno travo in razrezano listje, uporabite vrečo za travo.
Če je vzvod za vklop zbiralnega sistema v položaju za recikliranje, ga premaknite v položaj za zbiranje; glejte Uporaba vzvoda za vklop zbiralnega sistema.
Če želite odstraniti vrečo za travo, v obratnem vrstnem redu izvedite postopek Nameščanje vreče za travo.
Funkcija vklopa zbiralnega sistema omogoča preklapljanje med zbiranjem in recikliranjem trave in razrezanega listja, ko je na stroju nameščena vreča za travo.
Če želite travo in listje zbirati v vreči, pritisnite gumb na vzvodu za vklop zbiralnega in vzvod premaknite naprej do točke, ko gumb na vzvodu izskoči (Diagram 21).

Če želite travo in listje reciklirati, pritisnite gumb na vzvodu za vklop zbiralnega in vzvod premaknite nazaj do točke, ko gumb na vzvodu izskoči.
Important: Za zagotavljanje pravilnega delovanja ugasnite motor, počakajte, da se vsi gibljivi deli ustavijo, nato pa odstranite ostanke trave in smeti z rešetke sistema za zbiranje trave in njene okolice (Diagram 22), preden vzvod premaknete iz enega položaja v drugega.

Preverite območje, kjer boste uporabljali stroj, in odstranite vse predmete, ki jih lahko stroj izvrže.
Pazite, da rezilo ne bo udarjalo v trde predmete. Nikoli ne kosite tako, da bi kosilnico zapeljali čez kakršen koli predmet.
Če stroj zadene ob predmet ali se začne tresti, nemudoma zaustavite motor, počakajte, da se vsi premikajoči se deli ustavijo; odklopite kabel z vžigalne svečke; nato preglejte, ali je stroj poškodovan.
Za najboljše delovanje pred začetkom nove kosilne sezone oziroma po potrebi namestite novo rezilo Toro.
V enem prehodu pokosite največ ⅓ višine trave. No kosite nižje od 51 mm, razen če je trava zelo redka oziroma če kosite jeseni, ko trava ne raste več tako hitro.
Če kosite travo, ki je višja od 15 cm, kosite z najvišjo nastavitvijo višine in hodite počasi; nato travo pokosite še pri nižji nastavitvi, da dosežete želeni videz trate. Če je trava previsoka, se lahko stroj zamaši in povzroči zaustavitev motorja.
Mokra trava in listje lahko povzročita zamašitev stroja oziroma zaustavitev motorja. Ne kosite mokre trave.
V zelo suhih razmerah bodite posebej previdni zaradi nevarnosti požara. Upoštevajte lokalne protipožarne ukrepe in stroja ne približujte suhim ostankov trave in listja.
Spreminjajte smer košnje. Tako lahko enakomerneje razpršite pokošeno travo in zagotovite boljšo pognojitev.
Če videz pokošene trate ni po pričakovanjih, poskusite nekaj od naslednjega:
Zamenjajte rezilo ali ga dajte nabrusiti.
Med košnjo hodite počasneje.
Nastavite višjo višino košnje.
Kosite bolj pogosto.
Kosite tako, da se bodo prehodi delno prekrivali, namesto da ob vsakem prehodu s celim strojem zajemate travo.
Po košnji mora biti vsaj pol trave vidne nad plastjo odpadlega listja. Morda boste morali narediti več kot en prehod čez odpadlo listje.
Če je plast listja na zelenici debelejša od 13 cm, najprej nastavite višjo višino košnje, nato pa jo ponovite še z želeno višino.
Če stroj listja ne razreže, kot bi ga moral, se premikajte počasneje.
Pred nastavljanjem, servisiranjem, čiščenjem in skladiščenjem stroja vedno ugasnite motor ter počakajte, da se vsi gibljivi deli ustavijo in da se stroj ohladi.
Zaradi preprečevanja požara redno odstranjujte travo in smeti iz stroja. Počistite razlito olje ali gorivo.
Stroja ali rezervoarja za gorivo ne smete shranjevati, kjer so lahko prisotni odprti plamen, iskra ali pilotni plamen iz naprav, kot so na primer grelec za vodo ali drugi podobni gospodinjski aparati.
Pri raztovarjanju ali natovarjanju stroja bodite zelo pazljivi.
Privežite stroj, da se ne bo mogel premikati.
| Intervali servisnega vzdrževanja | Postopek vzdrževanja |
|---|---|
| Po vsaki uporabi |
|
Čiščenje bo najbolj učinkovito, če spodnjo stran stroja operete takoj, ko končate košnjo.
Stroj nastavite na najnižjo višino košnje.
Premaknite stroj na tlakovano ravno površino.
Pri delujočem motorju in vklopljenem rezilu vodni curek usmerite v del pred desnim zadnjim kolesom (Diagram 23).
Note: Voda bo brizgala v območje rezila in sprala ostanke trave.

Ko vodi, ki priteče iz stroja, ni več ostankov trave, zaprite vodo in stroj prestavite na suho mesto.
Zaženite motor in ga pustite teči nekaj časa, da se spodnja stran stroja osuši. tako preprečite rjavenje.
Ugasnite motor, odstranite gumb za električni zagon (če je vgrajen) in počakajte, da se stroj ohladi, preden ga pospravite v zaprt prostor.
Če nepravilno sklopite ali razklopite ročaj, lahko poškodujete kable in povzročite nevarno delovanje.
Pri sklapljanju in razklapljanju ročaja pazite, da ne poškodujete kablov.
Če poškodujete kabel, se obrnite na pooblaščeni servis.
Odstranite in shranite 2 ročna vijaka ročaja in 2 nosilna vijaka z nosilcev ročaja (A na Diagram 24).
Important: Med sklapljanjem ročaja speljite kable po zunanji strani ročnih vijakov ročaja.
Sklopite ročaj, tako da ga zasučete naprej (B na Diagram 24).
Namestite ročna vijaka ročaja in nosilna vijaka nosilcev ročaja (C na Diagram 24).
Za razklopljenje ročaja glejte Sestavljanje in razklapljanje ročaja.

| Intervali servisnega vzdrževanja | Postopek vzdrževanja |
|---|---|
| Pred vsako uporabo ali dnevno |
|
| Po vsaki uporabi |
|
| Vsakih 25 ur |
|
| Letno |
|
| Letno ali pred shranitvijo |
|
Important: Za dodatne postopke vzdrževanja glejte priročnik za lastnike motorja.
Pred nastavljanjem, servisiranjem, čiščenjem in skladiščenjem stroja vedno ugasnite motor ter počakajte, da se vsi gibljivi deli ustavijo in da se stroj ohladi.
Pred izvajanjem kakršnih koli vzdrževalnih del, odklopite kabel vžigalne svečke s svečke.
Pri servisiranju stroja nosite rokavice in zaščitna očala.
Rezilo kosilnice je ostro; če se ga dotaknete se lahko hudo poškodujete. Med servisiranjem rezila nosite rokavice. Popravilo ali spreminjanje rezila ni dovoljeno.
Ne posegajte v varovala. Redno preverjajte njihovo pravilno delovanje.
Ob nagibanju stroja lahko pride do razlitja goriva. Gorivo je zelo vnetljivo in eksplozivno ter lahko povzroči telesne poškodbe. Goriva nikoli ne poskušajte iztočiti z izsesavanjem. Uporabite ročno črpalko ali pa pustite motor teči, dokler se rezervoar ne izprazni.
Če želite zagotoviti optimalno delovanje, uporabljajte izključno originalne nadomestne dele in dodatno opremo Toro. Uporaba nadomestnih delov in dodatne opreme drugih proizvajalcev je lahko nevarna in lahko privede do razveljavitve garancije.
Zaustavite motor in počakajte, da se vsi premikajoči se deli ustavijo.
Odklopite kabel vžigalne svečke s svečke (Diagram 25).

Ko opravite vzdrževalna dela, znova priključite kabel vžigalne svečke na svečko.
Important: Preden stroj nagnete, da bi zamenjali olje ali rezilo, z normalno uporabo stroja izpraznite rezervoar za gorivo. Če morate stroj nagniti, preden porabite vso gorivo, ga izčrpajte z ročno črpalko. Stroj vedno nagnite na bok, tako da bo čep z merilno palico na spodnji strani.
| Intervali servisnega vzdrževanja | Postopek vzdrževanja |
|---|---|
| Vsakih 25 ur |
|
| Letno |
|
Odpnite zgornji del pokrova zračnega filtra (Diagram 26).

Odstranite zračni filter (Diagram 26).
Preglejte zračni filter.
Note: Če je zračni filter močno umazan, ga zamenjajte z novim. Če ni, z njim potrkajte po trdni površini, da otresete smeti.
Namestite zračni filter.
Zračni filter pripnite z zaponko.
| Intervali servisnega vzdrževanja | Postopek vzdrževanja |
|---|---|
| Letno |
|
Motornega olja ni treba menjati, a če ga želite vseeno zamenjati, uporabite spodnji postopek.
Note: Pred menjavo olja, pustite motor teči nekaj minut, da se segreje. Toplo olje lažje teče in prenaša več smeti.
| Prostornina motornega olja | 0,44 l |
| Viskoznost olja | Detergentno olje SAE 30 ali SAE 10W-30 |
| Servisna klasifikacija API | SJ ali boljše |
*Po izpustu olja ostane preostanek olja v ohišju ročične gredi. Ne vlijte celotne količine olja v ohišje ročične gredi. Napolnite ohišje ročične gredi z oljem v skladu z navodili v naslednjih korakih.
Premaknite stroj na ravno površino.
Glejte Priprava za vzdrževanje.
Odstranite merilno palico, tako da čep odvijete v levo in ga izvlečete (Diagram 27).

Stroj nagnite na bok (tako da bo zračni filter na zgornji strani), da iztočite olje prek cevi za dolivanje olja (Diagram 28).

Ko iztočite vse olje, stroj postavite nazaj v delovni položaj.
V cev za dolivanje olja previdno vlijte približno ¾ prostornine olja motorja.
Počakajte 3 minute, da se olje v motorju usede.
S čisto krpo obrišite merilno palico.
Merilno palico vstavite v cev za dolivanje olja in jo privijte, nato odstranite merilno palico.
Odčitajte nivo olja na merilni palici (Diagram 27).
Če je nivo olja na merilni palici prenizek, previdno vlijte majhno količino olja v cev za polnjenje olja, počakajte 3 minute in ponovite korake od 8 do 10, dokler ne bo izmerjena raven olja na merilni palici pravilna.
Če je nivo olja na merilni palici previsok, iztočite odvečno olje, da bo izmerjena raven olja na merilni palici pravilna.
Important: Če motor zaženete, ko je raven olja v motorju prenizka ali previsoka, lahko poškodujete motor.
Varno namestite merilno palico v cev za dolivanje olja.
Olje ustrezno reciklirajte.
| Intervali servisnega vzdrževanja | Postopek vzdrževanja |
|---|---|
| Letno |
|
Important: Za pravilno namestitev rezila potrebujete momentni ključ. Če nimate momentnega ključa ali ne želite sami izvesti tega postopka, se obrnite na pooblaščenega serviserja.
Vedno ko zmanjka goriva, preverite stanje rezila. Če je rezilo poškodovano ali razpokano, ga nemudoma zamenjajte. Če je rezilo topo ali skrhano, ga dajte nabrusiti in uravnovesiti ali pa ga zamenjajte.
Rezilo kosilnice je ostro; če se ga dotaknete se lahko hudo poškodujete.
Med servisiranjem rezila nosite rokavice.
Odklopite kabel vžigalne svečke s svečke; glejte Priprava za vzdrževanje.
Stroj nagnite na bok, tako da bo zračni filter zgornji strani.
Odstranite 2 matici rezila in držalo (Diagram 29).

Odstranite rezilo (Diagram 29).
Namestite novo rezilo (Diagram 29).
Namestite prej odstranjeno držalo.
Namestite matici rezila in ju zategnite z 20 do 37 Nm.
| Intervali servisnega vzdrževanja | Postopek vzdrževanja |
|---|---|
| Vsakih 25 ur |
|
Enkrat letno očistite varovalo sklopa zavorne sklopke za rezila, da preprečite zagozditev rezila med košnjo.
Odklopite kabel vžigalne svečke s svečke; glejte Priprava za vzdrževanje.
Stroj nagnite na bok, tako da bo čep z merilno palico na spodnji strani.
Odstranite 2 matici rezila in držalo (Diagram 30).

Odstranite rezilo (Diagram 30).
Odstranite gonilo rezila in kolut (Diagram 30).
Odstranite sklop zavorne sklopke za rezila (Diagram 30).
S ščetko ali puhalnikom zraka odstranite smeti z notranje strani pokrova in vseh delov.
Namestite varovalo sklopa zavorne sklopke za rezila, ki ste ga prej odstranili.
Znova namestite gonilo rezila in kolut, ki ste ju prej odstranili.
Namestite rezilo in držalo rezila, ki ste ju prej odstranili (Diagram 30).
Namestite matici rezila in ju zategnite z 20 do 37 Nm.
Samohodni pogon je treba nastaviti vedno po zamenjavi kabla samohodnega pogona oziroma če je samohodni pogon nepravilno nastavljen.
Nastavitveno matico obrnite v levo, da sprostite kabel (Diagram 31).

Preverite napetost kabla (Diagram 31), tako da ga povlečete nazaj ali potisnete naprej in zadržite v tem položaju.
Note: Če želite povečati moč pogona koles, kabel potisnite proti motorju, če želite zmanjšati moč, kabel povlecite stran od motorja.
Nastavitveno matico zavrtite v desno, da jo privijete in pritrdite kabel.
Note: Matico čvrsto privijte s ključem.
Stroj hranite v hladnem, čistem in suhem prostoru.
Pred nastavljanjem, servisiranjem, čiščenjem in skladiščenjem stroja vedno ugasnite motor ter počakajte, da se vsi gibljivi deli ustavijo in da se stroj ohladi.
Ko zadnjič v sezoni dolivate gorivo, mu dodajte stabilizator za gorivo (npr. Toro Premium Fuel Treatment), kot je navedeno na etiketi.
Pravilno zavrzite gorivo, ki ga morda niste porabili. Reciklirajte ga po lokalnih predpisih ali ga uporabite v avtomobilu.
Important: Glavni razlog za težek zagon motorja je staro gorivo v rezervoarju za gorivo. Goriva brez stabilizatorja ne hranite več kot 30 dni, goriva s stabilizatorjem pa ne dlje od najdaljšega roka, ki ga priporoča proizvajalec stabilizatorja goriva.
Stroj pustite delovati, dokler ne zmanjka goriva.
Znova zaženite motor in ga pustite teči, dokler se znova ne ustavi. Motor je dovolj suh, ko ga ne morete več zagnati.
Odklopite kabel z vžigalne svečke in kabel priključite na priklop za shranjevanje (če je nameščen), nato pa odstranite gumb za električni zagon (če je vgrajen).
Odstranite vžigalno svečko, skozi odprtino za vžigalno svečko dolijte približno 30 ml motornega olja in nekajkrat povlecite zagonsko vrv, da se olje razporedi po valju. Tako preprečite korozijo v času zunaj sezone košnje.
Znova rahlo privijte vžigalno svečko.
Privijte vse matice in vijake.
Preverite vse pritrdilne elemente in jih po potrebi privijte.
Odstranite vžigalno svečko in hitro zavrtite motor tako, da povlečete zagonsko vrv. S tem presežno olje iztisnete iz valja.
Namestite vžigalno svečko in jo z momentnim ključem privijte do 20 N∙m.
Opravite vse potrebne vzdrževalne postopke; glejte .
Preverite nivo motornega olja; glejte Preverjanje nivoja motornega olja.
Napolnite rezervoar za gorivo s svežim gorivom; glejte Polnjenje rezervoarja za gorivo.
Priključite kabel vžigalne svečke.