| Intervalo de mantenimiento y servicio | Procedimiento de mantenimiento |
|---|---|
| Cada vez que se utilice o diariamente |
|
Este cortacésped manual de cuchillas rotativas está destinado a usuarios domésticos. Está diseñada principalmente para segar césped bien mantenido en zonas verdes residenciales. El uso de este producto para otros fines distintos a los previstos podría ser peligroso para usted y para otras personas.
Lea este manual detenidamente para aprender a utilizar y mantener correctamente su producto, así como para evitar lesiones y daños al producto. Usted es el responsable de operar el producto de forma correcta y segura.
Visite www.Toro.com para obtener más información, incluidos consejos de seguridad, materiales de formación, información sobre accesorios, ayuda para encontrar a un distribuidor o para registrar su producto.
Cuando necesite asistencia técnica, piezas genuinas Toro o información adicional, póngase en contacto con un Servicio Técnico Autorizado o con Asistencia al Cliente de Toro, y tenga a mano los números de modelo y serie de su producto. Figura 1 identifica la ubicación en el producto de los números de modelo y de serie. Escriba los números en el espacio provisto.
Important: Con su dispositivo móvil, puede escanear el código QR de la pegatina del número de serie (en su caso) para acceder a información sobre la garantía, las piezas, y otra información sobre el producto

Este manual identifica peligros potenciales y contiene mensajes de seguridad identificados por el símbolo de alerta de seguridad (Figura 2), que señala un peligro que puede causar lesiones graves o la muerte si usted no sigue las precauciones recomendadas.

Este manual utiliza 2 palabras para resaltar información. Importante llama la atención sobre información mecánica especial, y Nota resalta información general que merece una atención especial.
No olvide registrar su máquina en www.Toro.com/register. Al registrarla, se asegurará que de recibe notificaciones en caso de retiradas de productos. La información del registro nunca se vende ni comparte con otras empresas. Para evitar residuos y proteger el medio ambiente, no se incluye un conducto de descarga al adquirir la máquina, ya que la mayoría de clientes prefieren reciclar o embolsar los recortes de hierba. Puede solicitar un conducto de descarga al registrar su producto en www.Toro.com/register. Simplemente marque la casilla de verificación en el formulario de registro online y Toro le enviará un conducto de descarga sin coste adicional. La entrega se realizará en un plazo de 1 a 2 semanas..
Este producto cumple todas las directivas europeas aplicables; si desea más detalles, consulte la Declaración de Conformidad (Declaration of Conformity – DOC) de cada producto.
Par Bruto o Neto: el par bruto o neto de este motor fue calculada por el fabricante del motor con arreglo a lo estipulado en el documento J1940 o J2723 de la Society of Automotive Engineers (Sociedad de Ingenieros del Automóvil – SAE). Debido a que el motor está configurado para cumplir los requisitos de seguridad, emisiones y operación, su potencia real en este tipo de cortacésped será significativamente menor. Consulte la información del fabricante del motor incluida con la máquina.
No manipule ni desactive los dispositivos de seguridad de la máquina, y compruebe su funcionamiento regularmente. No intente ajustar ni manipular el control de velocidad del motor; si lo hace, puede crear condiciones inseguras que pueden provocar lesiones personales.
Este producto es capaz de amputar manos y pies y de lanzar objetos al aire. Siga siempre todas las instrucciones de seguridad con el fin de evitar lesiones personales graves o la muerte.
Antes de arrancar el motor, lea, comprenda y siga las instrucciones y advertencias de este Manual del operador y las que están colocadas en la máquina y en los accesorios.
No coloque las manos o los pies cerca de piezas móviles o debajo de la máquina. No se acerque a los orificios de descarga.
No utilice la máquina si no están colocados y si no funcionan correctamente todos los protectores y dispositivos de seguridad.
Mantenga a otras personas, especialmente a los niños, alejadas del área de operación. No permita que este vehículo sea utilizado por niños. Sólo permita que manejen la máquina personas responsables, formadas, familiarizadas con las instrucciones y físicamente capaces de utilizar la máquina.
Pare la máquina, apague el motor y espere a que se detengan todas las piezas en movimiento antes de realizar tareas de mantenimiento, repostar o eliminar obstrucciones en la máquina.
El uso o mantenimiento incorrecto de esta máquina puede
causar lesiones. Para reducir el peligro de lesiones, siga estas instrucciones
de seguridad y preste atención siempre al símbolo de
alerta de seguridad
, que significa: Cuidado, Advertencia o Peligro
– instrucción relativa a la seguridad personal. El incumplimiento
de estas instrucciones puede dar lugar a lesiones personales o la
muerte.
![]() |
Las calcomanías e instrucciones de seguridad están a la vista del operador y están ubicadas cerca de cualquier zona de peligro potencial. Sustituya cualquier pegatina que esté dañada o que falte. |





Important: Retire y deseche la hoja protectora de plástico que cubre el motor y cualquier otro plástico o envoltorio en la máquina.
Note: Asegúrese de que los cables quedan por fuera del manillar y que no están aprisionados (Figura 3, D). El pomo y el perno de cuello cuadrado tienen 2 posiciones de instalación. La instalación incorrecta del pomo y del perno de cuello cuadrado puede causar inestabilidad en el manillar (Figura 3, E).


Important: Para arrancar el motor de forma segura y fácil cada vez que utilice la máquina, instale la cuerda de arranque en la guía de la cuerda.

Important: Si el nivel de aceite del motor es demasiado bajo o demasiado alto y usted arranca el motor, puede dañar el motor.



| Modelo | Peso | Longitud | Anchura | Altura |
|---|---|---|---|---|
| 21772 | 37 kg | 151 cm | 59 cm | 109 cm |
Está disponible una selección de aperos y accesorios homologados por Toro que se pueden utilizar con la máquina a fin de potenciar y aumentar sus prestaciones. Póngase en contacto con su Servicio Técnico Autorizado o con su distribuidor autorizado Toro, o visite www.Toro.com para obtener una lista de todos los aperos y accesorios homologados.
Para asegurar un rendimiento óptimo y mantener la certificación de seguridad de la máquina, utilice solamente piezas y accesorios genuinos Toro. Las piezas de repuesto y accesorios de otros fabricantes podrían ser peligrosos, y su uso podría invalidar la garantía del producto.
Note: Los lados derecho e izquierdo de la máquina se determinan desde la posición normal del operador.
Apague siempre la máquina, espere a que se detengan todas las piezas en movimiento y deje que la máquina se enfríe antes de ajustarla, repararla, limpiarla o guardarla.
Familiarícese con la operación segura del equipo, los controles del operador y las señales de seguridad.
Compruebe que todos los protectores y dispositivos de seguridad, como por ejemplo deflectores y/o recogedores, están colocados y que funcionan correctamente.
Inspeccione siempre la máquina para asegurarse de que las cuchillas y los pernos de las cuchillas no están desgastados o dañados.
Inspeccione el área donde se va a utilizar la máquina, y retire cualquier objeto que pudiera interferir con el funcionamiento de la máquina o que pudiera ser arrojado por la máquina.
El contacto con la cuchilla en movimiento causará lesiones graves. No ponga los dedos debajo de la carcasa al ajustar la altura de corte.
El combustible es extremadamente inflamable y altamente explosivo. Un incendio o una explosión provocados por el combustible puede causarle quemaduras a usted y a otras personas así como daños materiales.
Para evitar que una carga estática incendie el combustible, coloque el recipiente y/o la máquina directamente sobre el suelo antes de repostar, no en un vehículo o sobre otro objeto.
Llene el depósito de combustible en el exterior, en una zona abierta y con el motor frío. Limpie cualquier combustible derramado.
No maneje combustible si está fumando, ni cerca de una llama desnuda o chispas.
No retire el tapón de combustible ni añada combustible al depósito si el motor está caliente o en marcha.
Si se derrama combustible, no intente arrancar el motor. Evite crear una fuente de ignición hasta que los vapores del combustible se hayan disipado.
Almacene el combustible en un recipiente homologado y manténgalo fuera del alcance de los niños.
El combustible es dañino o mortal si es ingerido. La exposición a largo plazo a los vapores puede causar lesiones y enfermedades graves.
Evite la respiración prolongada de los vapores.
Mantenga las manos y la cara alejadas de la boquilla y de la abertura del depósito de combustible.
Mantenga alejado el combustible de los ojos y la piel.
| Tipo | Gasolina sin plomo |
| Octanaje mínimo | 87 (US) o 91 (RON; fuera de los Estados Unidos) |
| Etanol | No más del 10 % por volumen |
| Metanol | Ninguno |
| MTBE (éter metil tert-butílico) | Menos del 15 % por volumen |
| Aceite | No añadir al combustible |
Utilice solamente combustible limpio y fresco (no más de 30 días de antigüedad) de origen acreditado.
Important: Para reducir los problemas de arranque, añada estabilizador/acondicionador al combustible fresco, siguiendo las indicaciones del fabricante del estabilizador/acondicionador de combustible.
Consulte el manual del propietario del motor si desea más información.
Llene el depósito de combustible como se muestra en la Figura 9.

| Intervalo de mantenimiento y servicio | Procedimiento de mantenimiento |
|---|---|
| Cada vez que se utilice o diariamente |
|
Important: Si el nivel de aceite del motor es demasiado bajo o demasiado alto y usted arranca el motor, puede dañar el motor.

Usted puede elevar o bajar el manillar a una de las dos posiciones que sea más cómoda (Figura 11).

Retire los dos pomos del manillar.
Mueva el manillar a la altura deseada.
Sujete el manillar con los pomos del manillar que retiró anteriormente.
Al ajustar las palancas de altura de corte, podría tocar una cuchilla en movimiento con las manos, lo que podría causarle graves lesiones.
Apague el motor y espere que se detengan todas las piezas en movimiento antes de ajustar la altura de corte.
No ponga los dedos debajo de la carcasa al ajustar la altura de corte.
Si el motor ha estado en marcha, el silenciador estará muy caliente y puede causarle quemaduras.
Manténgase alejado del silenciador si éste está caliente.
Ajuste la altura de corte según desee. Ajuste todas las ruedas a la misma altura de corte (Figura 12).

Lleve ropa adecuada, incluida protección ocular, pantalón largo, calzado resistente y antideslizante y protección auditiva. Si tiene el pelo largo, recójaselo, y no lleve prendas o joyas sueltas.
Preste toda su atención al utilizar la máquina. No realice ninguna actividad que cause distracciones; de lo contrario, podrían producirse lesiones o daños materiales.
No utilice la máquina si está enfermo, cansado, o bajo la influencia de alcohol o drogas.
La cuchilla está muy afilada; cualquier contacto con la cuchilla puede causar lesiones personales graves. Pare el motor, retire la llave de contacto, (en su caso) y espere a que se detengan todas las piezas en movimiento antes de abandonar el puesto del operador.
Mantenga a otras personas alejadas de la zona de trabajo. Mantenga a los niños pequeños alejados de la zona de trabajo y bajo la supervisión de un adulto responsable que no esté utilizando la máquina. Pare la máquina si alguien entra en la zona.
Mire siempre hacia abajo y detrás de usted antes de conducir la máquina en marcha atrás.
Utilice la máquina únicamente con buena visibilidad y en condiciones meteorológicas apropiadas. No use la máquina si hay riesgo de rayos.
La hierba mojada o las hojas mojadas pueden causarle graves lesiones si usted resbala y toca la cuchilla. Evite segar en condiciones húmedas.
Extreme la precaución al acercarse a esquinas ciegas, arbustos, árboles u otros objetos que puedan taparle la vista.
No dirija el material de descarga hacia una persona. Evite la descarga de material contra una pared u obstrucción, ya que el material podría rebotar hacia usted. Pare la cuchilla o las cuchillas al cruzar superficies de grava.
Esté alerta a agujeros, surcos, montículos, rocas u otros objetos ocultos. El terreno irregular podría hacer que pierda el equilibrio.
Si la máquina golpea un objeto o empieza a vibrar, apague inmediatamente el motor, retire la llave (si dispone de ella), espere a que se detengan todas las piezas en movimiento y desconecte el cable de la bujía antes de inspeccionar la máquina en busca de daños. Haga todas las reparaciones necesarias antes de volver a utilizar la máquina.
Antes de abandonar el puesto del operador, apague el motor, retire la llave de encendido (en su caso) y espere a que se detengan todas las piezas en movimiento.
Si el motor ha estado en marcha, estará caliente y puede causarle quemaduras graves. Manténgase alejado del motor caliente.
Accione el motor únicamente en áreas bien ventiladas. Los gases de escape contienen monóxido de carbono, que es un veneno inodoro y mortal.
Inspeccione frecuentemente los componentes del recogedor y del conducto de descarga para comprobar que no estén desgastados o deteriorados y sustitúyalos por piezas genuinas Toro cuando sea necesario.
Siegue de través las cuestas y pendientes, nunca hacia arriba o hacia abajo. Extreme las precauciones al cambiar de dirección en cuestas o pendientes.
No siegue pendientes y cuestas excesivamente empinadas. Si no pisa firme, puede resbalar y caerse.
Extreme las precauciones al segar cerca de terraplenes, fosas o taludes.

Note: Si la máquina no arranca después de varios intentos, póngase en contacto con el Servicio Técnico Autorizado.
Para activar el sistema de autopropulsión, simplemente camine con las manos sobre el manillar superior y los codos junto al cuerpo, y la máquina mantendrá automáticamente su misma velocidad (Figura 14).

Note: Si la máquina no rueda libremente hacia atrás después de usar la autopropulsión, deténgase, deje las manos en su sitio, y deje que la máquina ruede unos centímetros hacia adelante para desengranar la transmisión de las ruedas. También puede intentar poner la mano sobre el manillar metálico situado justo debajo del manillar superior y empujar la máquina hacia adelante unos centímetros/pulgadas. Si la máquina no rueda fácilmente hacia atrás, póngase en contacto con el Servicio Técnico Autorizado.
| Intervalo de mantenimiento y servicio | Procedimiento de mantenimiento |
|---|---|
| Cada vez que se utilice o diariamente |
|
Para apagar el motor, mantenga pulsado el botón de parada del motor (Figura 16) hasta que el motor se apague.

Cuando usted arranca el motor, la cuchilla no gira. Es necesario engranar la cuchilla para segar.
Suelte la barra de control de las cuchillas (Figura 19).

Important: Cuando usted suelta la barra de control de la cuchilla, las cuchillas deben detenerse en 3 segundos o menos. Si no se detiene correctamente, deje de usar la máquina inmediatamente y póngase en contacto con el Servicio Técnico Autorizado.
Compruebe la barra de control antes de cada uso para asegurarse de que el sistema de embrague del freno de la cuchilla funciona correctamente.
| Intervalo de mantenimiento y servicio | Procedimiento de mantenimiento |
|---|---|
| Cada vez que se utilice o diariamente |
|
Puede utilizar el recogedor para realizar una prueba adicional del funcionamiento del embrague del freno de la cuchilla.
Instale el recogedor vacío en la máquina.
Arranque el motor.
Engrane la cuchilla.
Note: La bolsa debe empezar a inflarse, lo que indica que la cuchilla está engranada y girando.
Suelte la barra de control de las cuchillas.
Note: Si la bolsa no se desinfla inmediatamente, es que la cuchilla sigue girando. El embrague de freno de cuchilla puede estar deteriorándose, y si esto no se remedia, podría dar lugar a un estado de operación inseguro. Haga revisar y reparar la máquina por un Servicio Técnico Autorizado.
Pare el motor y espere a que se detengan todas las piezas en movimiento.
Lleve la máquina a una superficie pavimentada en una zona que esté al abrigo del viento.
Ajuste las 4 ruedas a la altura de corte de 83 mm.
Tome media página de periódico y haga una bola con ella que sea lo suficientemente pequeña como para pasar por debajo de la carcasa de la máquina (unas 76 mm de diámetro).
Coloque la bola de papel de periódico a unos 13 cm por delante de la máquina.
Arranque el motor.
Engrane la cuchilla.
Suelte la barra de control de las cuchillas.
Empuje inmediatamente la máquina por encima de la bola de papel de periódico.
Pare el motor y espere a que se detengan todas las piezas en movimiento.
Vaya a la parte delantera de la máquina y compruebe la bola de papel de periódico.
Note: Si la bola de papel de periódico no pasó por debajo de la máquina, repita los pasos 4 a 10.
Si la bola de papel de periódico está deshecha o deshilachada, la cuchilla no se detuvo correctamente, lo cual implica un estado de operación inseguro. Póngase en contacto con el Servicio Técnico Autorizado.
Su máquina viene preparada de fábrica para reciclar, es decir, para picar los recortes de hierba y hojas y devolverlos al césped.
Si el recogedor está instalado en la máquina, y la palanca de ensacado a demanda está en la posición de ensacado, mueva la palanca a la posición de reciclado; consulte Funcionamiento de la palanca de ensacado a demanda .
Utilice el recogedor si desea recoger los recortes de hierba y las hojas del césped.
Si la palanca de ensacado a demanda está en la posición de reciclado, muévala a la posición de ensacado; consulte Funcionamiento de la palanca de ensacado a demanda .
Para retirar la bolsa, siga los pasos de Instalación del recogedor en sentido inverso.
La función de ensacado a demanda le permite recoger o reciclar los recortes de hierba y hojas con la bolsa de recortes instalada en la máquina.
Para ensacar los recortes de hierba y hojas, presione el botón de la palanca de ensacado a demanda y mueva la palanca hacia delante hasta que salte el botón de la palanca (Figura 21).

Para reciclar los recortes de hierba y hojas, presione el botón de la palanca y mueva la palanca hacia atrás hasta que salte el botón de la palanca.
Important: Para asegurar un funcionamiento correcto, apague el motor, espere a que se detengan todas las piezas en movimiento, y luego retire los recortes de hierba y otros residuos de la tapa de ensacado bajo demanda y del hueco adyacente (Figura 22) antes de mover la palanca de ensacado bajo demanda de una posición a la otra.

Inspeccione la zona en la que va a utilizar la máquina y retire cualquier objeto que pudiera ser arrojado por la máquina.
Evite golpear objetos sólidos con la cuchilla. No siegue nunca por encima de objeto alguno.
Si la máquina golpea un objeto o empieza a vibrar, apague inmediatamente el motor, espere a que se detengan todas las piezas en movimiento, desconecte el cable de la bujía e inspeccione la máquina en busca de daños.
Para obtener el mejor rendimiento, instale una cuchilla nueva Toro antes de que empiece la temporada de siega, o cuando sea necesario.
Corte solamente un tercio de la hoja de hierba cada vez. No corte con un ajuste inferior a 51 mm a menos que la hierba sea escasa, o a finales del otoño cuando el ritmo de crecimiento de la hierba empieza a decaer.
Cuando corte hierba de más de 15 cm de alto, siegue primero usando la altura de corte más alta y camine despacio, luego siegue de nuevo a una altura menor para obtener el mejor aspecto del césped. Si la hierba es demasiado larga, puede atascar la máquina y hacer que se cale el motor.
La hierba mojada y las hojas mojadas tienden a pegarse al suelo, y pueden atascar la máquina o hacer que se cale el motor. Evite segar en condiciones húmedas.
Esté atento al posible riesgo de incendio en condiciones muy secas, siga todas las advertencias locales para casos de incendio y mantenga la máquina libre de hierba seca y residuos de hojas.
Alterne la dirección de corte. Esto ayuda a dispersar los recortes en todo el césped, dando una fertilización más homogénea.
Si el aspecto final del césped no es satisfactorio, pruebe con una o más de las técnicas siguientes:
Cambiar la cuchilla o mandarla a afilar.
Caminar más despacio mientras siega.
Elevar la altura de corte de la máquina.
Cortar el césped con más frecuencia.
Solapar los pasillos de corte en lugar de cortar un pasillo completo en cada pasada.
Después de segar el césped, asegúrese de que la mitad del césped se ve a través de la cobertura de hojas cortadas. Es posible que tenga que hacer más de una pasada por encima de las hojas.
Si hay más de 13 cm de hojas en el césped, siegue a una altura de corte más alta y después vuelva a segar a la altura de corte que desee.
Siegue más despacio si la máquina no corta las hojas suficientemente finas.
Apague siempre la máquina, espere a que se detengan todas las piezas en movimiento y deje que la máquina se enfríe antes de ajustarla, repararla, limpiarla o guardarla.
Limpie los recortes de hierba y los residuos de la máquina para ayudar a prevenir incendios. Limpie cualquier aceite o combustible derramado.
No guarde nunca la máquina o un recipiente de combustible cerca de una llama desnuda, chispa o llama piloto, por ejemplo en un calentador de agua u otro electrodoméstico.
Tenga cuidado al cargar o descargar la máquina.
Sujete la máquina para evitar que se desplace.
| Intervalo de mantenimiento y servicio | Procedimiento de mantenimiento |
|---|---|
| Después de cada uso |
|
Para obtener resultados óptimos, limpie debajo de la máquina poco después de haber terminado la siega.
Baje la máquina a la altura de corte más baja.
Lleve la máquina a una superficie plana pavimentada.
Con el motor en marcha y la cuchilla engranada, dirija un chorro de agua por delante de la rueda trasera derecha (Figura 23).
Note: El agua rebotará hacia la zona de la cuchilla, arrastrando los recortes.

Cuando ya no salgan más recortes, cierre el grifo del agua y mueva la máquina a una zona seca.
Arranque el motor y déjelo en marcha durante unos minutos para que se seque la parte inferior de la máquina y evitar que se oxide.
Apague el motor, retire el botón de arranque eléctrico (si dispone de él) y deje que la máquina se enfríe antes de almacenarla en un lugar cerrado.
Si pliega o despliega el manillar de forma incorrecta, pueden dañarse los cables, creando unas condiciones de operación inseguras.
No dañe los cables al plegar o desplegar el manillar.
Si un cable está dañado, póngase en contacto con el Servicio Técnico Autorizado.
Retire y guarde los 2 pomos del manillar y los 2 pernos de cuello cuadrado de los soportes del manillar (Figura 24, A).
Important: Asegúrese de que los cables quedan por fuera de los pomos del manillar al plegar el manillar.
Pliegue el manillar girándolo hacia adelante (Figura 24, B).
Sin apretarlos, instale los pomos del manillar y los pernos de cuello cuadrado en los soportes del manillar (Figura 24, C).
Para desplegar el manillar, consulte Cómo ensamblar y desplegar el manillar.

| Intervalo de mantenimiento y servicio | Procedimiento de mantenimiento |
|---|---|
| Cada vez que se utilice o diariamente |
|
| Después de cada uso |
|
| Cada 25 horas |
|
| Cada año |
|
| Cada año o antes del almacenamiento |
|
Important: El manual del operador del motor contiene procedimientos adicionales de mantenimiento que debe consultar.
Apague siempre la máquina, espere a que se detengan todas las piezas en movimiento y deje que la máquina se enfríe antes de ajustarla, repararla, limpiarla o guardarla.
Desconecte el cable de la bujía antes de realizar cualquier procedimiento de mantenimiento.
Lleve guantes y protección ocular al realizar el mantenimiento de la máquina.
La cuchilla está muy afilada; cualquier contacto con la cuchilla puede causar lesiones personales graves. Lleve guantes al realizar el mantenimiento de la cuchilla. No repare ni cambie la(s) cuchilla(s).
No manipule nunca los dispositivos de seguridad. Compruebe regularmente que funcionan correctamente.
Al inclinar la máquina, puede haber fugas de combustible. El combustible es inflamable y explosivo, y puede causar lesiones personales. Deje funcionar el motor hasta que no quede combustible, o retire la gasolina con una bomba de mano; nunca utilice un sifón.
Para garantizar un rendimiento óptimo de la máquina, utilice únicamente piezas de repuesto y accesorios genuinos de Toro. Las piezas de repuesto y accesorios de otros fabricantes podrían ser peligrosos, y su uso podría invalidar la garantía del producto.
Pare el motor y espere a que se detengan todas las piezas en movimiento.
Desconecte el cable de la bujía (Figura 25).

Después de realizar el/los procedimiento(s) de mantenimiento, conecte el cable de la bujía a la bujía.
Important: Antes de inclinar la máquina para cambiar el aceite o sustituir la cuchilla, deje que se vacíe el depósito de combustible con el uso normal. Si es imprescindible inclinar la máquina antes de que se acabe el combustible, utilice una bomba manual para retirar el combustible. Siempre coloque la máquina de lado (con la varilla de aceite hacia abajo).
| Intervalo de mantenimiento y servicio | Procedimiento de mantenimiento |
|---|---|
| Cada 25 horas |
|
| Cada año |
|
Abra los cierres de la parte superior de la tapa del filtro de aire (Figura 26).

Retire el filtro de aire (Figura 26).
Inspeccione el filtro de aire.
Note: Si el filtro de aire está excesivamente sucio, cámbielo por un filtro nuevo. Si no, golpee suavemente el filtro de aire en una superficie dura para aflojar los residuos.
Instale el filtro de aire.
Utilice el clip para instalar la tapa del filtro de aire.
| Intervalo de mantenimiento y servicio | Procedimiento de mantenimiento |
|---|---|
| Cada año |
|
No es necesario cambiar el aceite del motor, pero si desea cambiarlo, siga este procedimiento.
Note: Haga funcionar el motor durante unos minutos antes de cambiar el aceite para calentar el aceite. El aceite caliente fluye mejor y transporta más contaminantes.
| Capacidad de aceite del motor | 0,44 l* |
| Viscosidad del aceite | Aceite detergente SAE 30 o SAE 10W-30 |
| Clasificación API | SJ o superior |
*Hay aceite residual en el cárter después de drenar el aceite. No llene el cárter de aceite hasta la capacidad máxima. Llene el cárter con aceite tal y como se indica en los siguientes pasos.
Lleve la máquina a una superficie nivelada.
Consulte Preparación para el mantenimiento.
Retire la varilla girando el tapón en el sentido contrario a las agujas del reloj y tirando del mismo (Figura 27).

Ponga la máquina de lado (de modo que el filtro de aire quede hacia arriba) para drenar el aceite usado a través del tubo de llenado de aceite (Figura 28).

Después de drenar el aceite usado, ponga la máquina en su posición normal.
Con cuidado, vierta tres cuartas partes aproximadamente de la capacidad total de aceite del motor en el tubo de llenado.
Espere 3 minutos para que el aceite se asiente en el motor.
Limpie la varilla con un paño limpio.
Introduzca la varilla en el tubo de llenado de aceite, enrósquela y, luego, retírela.
Observe en la varilla el nivel de aceite (Figura 27).
Si el nivel de aceite de la varilla es demasiado bajo, vierta con cuidado una pequeña cantidad de aceite en el tubo de llenado, espere 3 minutos, y repita los pasos 8 a 10 hasta que el nivel de aceite en la varilla sea correcto.
Si el nivel de aceite de la varilla es demasiado alto, drene el exceso de aceite hasta que el nivel de aceite en la varilla sea correcto.
Important: Si el nivel de aceite del motor es demasiado bajo o demasiado alto y usted arranca el motor, puede dañar el motor.
Instale la varilla firmemente en el tubo de llenado de aceite.
Recicle correctamente el aceite usado.
| Intervalo de mantenimiento y servicio | Procedimiento de mantenimiento |
|---|---|
| Cada año |
|
Important: Usted necesitará una llave dinamométrica para instalar la cuchilla correctamente. Si no dispone de una llave dinamométrica o prefiere no realizar este procedimiento, póngase en contacto con el Servicio Técnico Autorizado.
Examine la cuchilla cada vez que se acabe el combustible. Si la cuchilla está dañada o agrietada, sustitúyala inmediatamente. Si el filo de la cuchilla está romo o mellado, mande a afilar la cuchilla o cámbiela.
La cuchilla está muy afilada; cualquier contacto con la cuchilla puede causar lesiones personales graves.
Lleve guantes al realizar el mantenimiento de la cuchilla.
Desconecte el cable de la bujía; consulte Preparación para el mantenimiento.
Coloque la máquina de lado con el filtro de aire hacia arriba.
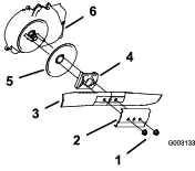
Retire las 2 tuercas de la cuchilla y el refuerzo (Figura 29).

Retire la cuchilla (Figura 29).
Instale la cuchilla nueva (Figura 29).
Instale el refuerzo que retiró anteriormente.
Instale las tuercas de la cuchilla y apriételas a 20–37 N·m.
| Intervalo de mantenimiento y servicio | Procedimiento de mantenimiento |
|---|---|
| Cada 25 horas |
|
Limpie el protector del embrague de freno de cuchilla cada año para evitar que la cuchilla se cale mientras siega.
Desconecte el cable de la bujía; consulte Preparación para el mantenimiento.
Coloque la máquina de lado con la varilla de aceite hacia abajo.
Retire las 2 tuercas de la cuchilla y el refuerzo (Figura 30).

Retire la cuchilla (Figura 30).
Retire el impulsor de la cuchilla y el disco (Figura 30).
Retire el protector del embrague del freno de la cuchilla (Figura 30).
Limpie los residuos del interior del protector y alrededor de todas las piezas usando un cepillo o aire a presión.
Instale el protector del embrague del freno de la cuchilla que retiró anteriormente.
Instale el impulsor de la cuchilla y el disco que retiró anteriormente.
Instale la cuchilla y el refuerzo que retiró anteriormente (Figura 30).
Instale las tuercas de la cuchilla y apriételas a 20-37 N·m.
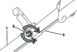
Cada vez que instale un cable de la transmisión autopropulsada nuevo, o si la transmisión autopropulsada está mal ajustada, ajuste la transmisión autopropulsada.
Gire la tuerca de ajuste en sentido antihorario para aflojar el cable (Figura 31).

Ajuste la tensión del cable (Figura 31) tirando del mismo hacia atrás o empujándolo hacia adelante, y manténgalo en esa posición.
Note: Empuje el cable hacia el motor para aumentar la tracción; tire del cable para reducir la tracción.
Gire la tuerca de ajuste en sentido horario para apretar el ajuste de los cables.
Note: Apriete con firmeza la tuerca con un conector hembra o una llave.
Almacene la máquina en un lugar fresco, limpio y seco.
Apague siempre la máquina, espere a que se detengan todas las piezas en movimiento y deje que la máquina se enfríe antes de ajustarla, repararla, limpiarla o guardarla.
En el último repostaje del año, añada estabilizador de combustible (por ejemplo, el Tratamiento de Combustible Premium de Toro) al combustible, siguiendo las instrucciones de la etiqueta.
Deseche adecuadamente cualquier combustible sobrante. Recíclelo según la normativa local, o utilícelo en su automóvil.
Important: La presencia de combustible viejo en el depósito de combustible es la principal causa de dificultades en el arranque. No guarde el combustible sin estabilizador durante más de 30 días, y no guarde combustible estabilizado durante más tiempo del recomendado por el fabricante del estabilizador de combustible.
Haga funcionar la máquina hasta que el motor se apague por haberse quedado sin gasolina.
Arranque el motor de nuevo y deje que funcione hasta que se apague. Cuando ya no se puede arrancar el motor, está suficientemente seco.
Desconecte el cable de la bujía y enganche el cable en el poste de retención (en su caso) y retire el botón de arranque eléctrico (en su caso).
Retire la bujía, añada 30 ml de aceite de motor a través del orificio de la bujía, y tire lentamente de la cuerda de arranque varias veces para que se distribuya el aceite por el cilindro, con el fin de evitar la corrosión durante el periodo de inactividad.
Instale la bujía sin apretarla.
Apriete todos los pernos, tuercas y tornillos.
Compruebe y apriete todos los cierres.
Retire la bujía y haga girar el motor rápidamente usando el arrancador de retroceso para eliminar el exceso de aceite del cilindro.
Instale la bujía y apriétela con una llave dinamométrica a 20 N·m.
Lleve a cabo cualquier procedimiento de mantenimiento; consulte .
Compruebe el nivel de aceite del motor; consulte Comprobación del nivel de aceite del motor.
Llene el depósito de combustible con combustible fresco; consulte Llenado del depósito de combustible.
Conecte el cable de la bujía.