Note: 41712 모델 또는 41713 모델과 함께 이 키트를 설치하십시오.
GeoLink 스프레이 시스템은 Toro Multi Pro 잔디 살포용 차량 전용 부착 장치이며 전문 작업자가 상업용으로 사용해야 합니다. 주로 공원, 골프 코스, 경기장, 상업지 등의 관리가 잘 된 잔디에서 살포 작업을 하도록 설계되었습니다. 이 제품을 지정되지 않은 용도로 사용하면 작업자나 주변 사람들이 위험해질 수 있습니다.
이 정보를 주의 깊게 읽고 제품을 제대로 조작 및 유지관리하는 방법과 부상 및 제품 손상을 방지하는 방법에 대해 익히십시오. 사용자는 제품을 제대로 안전하게 조작해야 할 책임이 있습니다.
제품 안전성과 사용법 교육 자료, 액세서리 관련 정보 등이 필요하거나 판매점 연락처 정보를 얻거나 제품을 등록하려면 www.Toro.com을 방문하십시오.
서비스, Toro 순정 부품 또는 추가 정보가 필요하면 지정 서비스점 또는 Toro 고객 서비스에 연락하여 제품의 모델 번호와 일련 번호를 알려 주십시오. 그림 1은 제품의 모델 번호와 일련번호의 위치를 보여 줍니다. 마련된 빈칸에 이 번호를 적어 두십시오.
Important: 모바일 기기에서는 일련번호판의 QR 코드(장착한 경우)를 스캔하여 보증, 부품 및 기타 제품 정보를 액세스할 수 있습니다.

본 설명서는 잠재적인 위험에 대해 설명하고 있으며, 권장 예방 조치를 따르지 않을 경우 심각한 부상이나 사망을 초래할 수 있는 위험에 대해서는 안전 경고 기호(그림 2)로 표시합니다.

본 설명서에서는 2가지 단어를 사용하여 정보를 강조합니다. 중요는 특별한 기계적 정보에 대한 주의를 환기시키며 참고는 특별한 주의를 기울일 필요가 있는 일반 정보를 강조합니다.
스프레이 시스템에 사용되는 화학물질은 운전자, 주변 사람, 동물, 식물, 토양 등에 유해하거나 유독할 수 있습니다.
사용하는 모든 화학물질의 화학물질 경고 라벨 및 안전보건자료(SDS)를 주의하여 읽고 화학물질 제조사의 권고 사항에 따라 자신을 보호하십시오. 예를 들어, 안면보호대, 보안경, 장갑 등의 적절한 개인보호장비(PPE)를 사용하여 화학물질과 접촉하지 않도록 하십시오.
1개 이상의 화학물질을 사용할 수 있으며 각 화학물질에 대한 정보를 참조하여 평가하십시오.
이 정보가 없으면 스프레이어 작동 또는 작업을 수행하지 마십시오.
스프레이 시스템을 사용하기 전에 화학물질 제조사의 권고 사항에 따라 시스템을 삼중으로 세척 및 중화하고 모든 밸브를 3번 순환시켰는지 확인하십시오.
주변에 깨끗한 물과 비누를 준비하고 화학물질과 접촉하면 즉시 씻어 내십시오.
![]() |
안전 문구 데칼과 지침은 작업자의 눈에 쉽게 보이며 잠재적인 위험이 있는 모든 부분에 부착되어 있습니다. 손상되거나 유실된 데칼은 교체하십시오. |



장비에 대한 사용 설명서를 참조하십시오.
장비를 평지에 주차하고 주차 브레이크를 체결합니다.
좌측 및 우측 붐 섹션을 수평 위치로 확장합니다.
엔진을 끄고, 키를 제거한 후 배터리를 분리합니다.
스프레이어를 청소합니다.
Important: GeoLink 스프레이 시스템 마감 키트를 설치하기 전에 스프레이 탱크를 완전히 비워야 합니다.
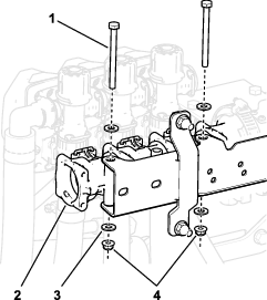
언더캐리지 슈라우드를 장비 섀시에 고정하는 다음 하드웨어를 제거한 다음 보관하십시오.
2016년식 장비 - 7개의 플랜지 헤드 볼트(5/16 x 7/8 인치) 및 7개의 와셔(5/16 인치)
2017년식 이후 장비 - 5개의 플랜지 헤드 볼트(5/16 x 7/8 인치) 및 5개의 와셔(5/16 인치)


언더캐리지 슈라우드의 지지 스트랩을 장비의 엔진 마운트 브래킷에 고정하는 볼트 및 캐리지 볼트에서 4개의 플랜지 록너트(5/16 인치)를 제거한 후 보관합니다.
Note: 장비에서 볼트를 제거하지 마십시오.

언더캐리지 슈라우드를 엔진 마운트 브래킷에 고정하는 볼트 위로 지지 스트랩을 들어 올립니다.
장비에서 언더캐리지 슈라우드를 분리합니다.
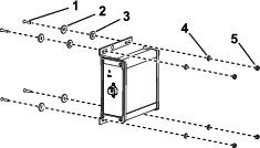
엔진의 지지 브래킷과 엔진의 액세서리 케이스를 엔진 제어 모듈용 마운트 브래킷을 고정하는 플랜지 헤드 볼트 3개와 플랜지 너트 1개를 제거한 후 보관합니다.


장비에 대한 전방 및 후방 와이어 하니스의 커넥터에 접근하기 위해 엔진 제어 모듈과 마운트 브래킷을 하단 뒤쪽으로 이동합니다.
Note: 엔진에서 엔진 제어 모듈을 제거하거나 분리하지 마십시오.
우측 붐 섹션 밸브 말단에서 압력 센스 튜브 연결부를 찾습니다.

튜브 커플러의 칼라를 누른 다음 대시 압력 게이지용 압력 센스 튜브를 밖으로 당깁니다.
장비 뒤쪽에서(우측 프레임 튜브 및 우측 펜더 사이) 후방 메인 하니스의 3-소켓 커넥터에서 우측 유압 트랙션 모터에 있는 속도 센서 하니스의 3-핀 커넥터를 분리합니다.

매니폴드 마운트의 후면에 있는 교반 밸브에서 3-소켓 커넥터를 분리하고 3개의 붐 섹션 밸브에서 3-소켓 커넥터를 분리합니다.

매니폴드 마운트의 전방 측면과 하단 플레이트에 있는 구멍에 후방 와이어 하니스를 고정하는 푸시인 패스너를 분리합니다.

압력 변환기의 3-핀 커넥터에서 후방 와이어 하니스의 3-소켓 커넥터를 분리합니다.

장비 후면에서 다음과 같은 리프트 실린더 매니폴더용 2-소켓 커넥터를 분리합니다.
우측 - 상승 솔레노이드
좌측 - 상승 솔레노이드
솔레노이드 활성화
우측 - 하강 솔레노이드
좌측 - 하강 솔레노이드

장비 후면에서 스프레이 펌프 안쪽에 있는 펌프용 릴레이의 2-핀 커넥터에서 후방 메인 하니스의 2-소켓 커넥터를 분리합니다.

후방 크로스 튜브(유압 트랙션 모터의 후방)의 구멍에 후방 와이어 하니스를 고정하는 푸시인 패스너를 분리합니다.

장비의 후방 와이어 하니스에서 대시 게이지용 압력 센스 튜브를 분리합니다.

장비에서 후방 와이어 하니스를 분리합니다.
Note: 장비에서 분리한 후방 메인 하니스를 더 이상 필요하지 않습니다.
이 절차를 수행하는 데 필요한 부품:
| 케이블 타이 | 1 |
| 스위치 플러그 | 1 |
장비의 대시 패널 하부에서 속도 제어 스위치의 잠금 탭을 함께 쥐고 속도 제어 스위치를 대시 패널에서 밀어 올립니다.

스위치의 8-핀 커넥터에서 장비의 전방 하니스 8-소켓 커넥터(Rate Switch(속도 스위치)라는 라벨이 부착됨)를 분리합니다.
Note: 장비에서 분리한 속도 스위치는 더 이상 필요하지 않습니다.
대시의 개구를 통해 속도 스위치용 전방 하니스의 분기선을 배선한 다음 케이블 타이로 전방 하니스에 대해 와이어 분기선을 고정합니다.
플러그가 패널에 단단하게 끼워지도록 대시 패널에 스위치 플러그를 끼워 넣습니다.
Note: 나중에 설치하거나 교체 부품에 사용하기 위하여 모든 부품을 보관하십시오.
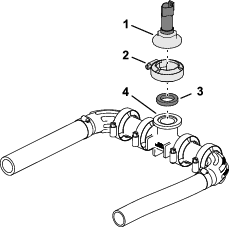
붐 섹션 밸브 말단에 피팅 캡, T형 피팅, 압력 변환기를 고정하는 리테이너를 제거합니다.

캡, 변환기, T형 피팅을 분리합니다.
Note: 달리 명시되지 않는 한, 나중에 설치하거나 교체 부품에 사용하기 위하여 모든 부품을 보관하십시오.
매니폴드 마운트에 밸브 마운트를 고정하는 볼트 2개, 와셔, 록너트를 제거합니다.

마운팅 브래킷에 3개의 붐 섹션 밸브를 고정하는 플랜지 헤드 볼트(1/4 x 3 인치) 2개, 플랜지 록너트(1/4 인치) 2개를 풉니다. 하지만 제거하지는 마십시오.

붐 섹션 밸브 2개를 유량계에 고정하는 플랜지 클램프와 개스킷을 제거합니다.
Note: 유량계를 제거하지는 마십시오.

외부 붐 섹션에서, 붐 섹션용 공급 호스를 유자 T형 피팅에 고정하는 호스 클램프를 제거합니다.

T형 피팅에서 호스를 제거합니다.
R-클램프에서 고정되지 않은 호스의 단부를 제거합니다.
다른 외부 붐 섹션의 공급 호스에 대해 1~3 단계를 반복합니다.
중앙 붐 섹션 아래에서, 붐 섹션용 공급 호스를 유자 T형 피팅에 고정하는 호스 클램프를 제거합니다.

붐 섹션 밸브의 급속 분리 피팅에 직선형 피팅을 고정하는 리테이너를 분리합니다.

붐 섹션 밸브에서 분리된 호스를 제거합니다.
상부 바이패스 호스의 하단에서 장비의 후방 새들 플레이트에 상부 바이패스 호스를 고정하는 플랜지 헤드 볼트(5/16 x 3/4 인치), 와셔(5/16 인치), R-클램프를 제거하십시오.


상부 바이패스 호스와 하부 바이패스 호스를 90° 유자 피팅에 고정하는 호스 클램프 2개를 제거한 다음 보관하십시오.
호스에서 90° 유자 피팅을 제거한 다음 보관합니다.
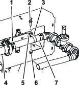
드레인 밸브 호스와 후방 탱크 드레인 밸브를 유자 T형 피팅에 고정하는 호스 클램프를 제거합니다.


후방 탱크 드레인 호스에서 드레인 밸브 호스의 T형 피팅을 제거합니다.
우측 붐 섹션 밸브에서 바이패스 호스의 90° 급속 분리 피팅에 바이패스 호스의 유자 피팅을 고정하는 리테이너를 제거한 다음 호스와 밸브 피팅을 분리합니다.

장비에서 상부 및 하부 바이패스 호스를 제거합니다.
Note: 차단 밸브, T형 피팅, 상부 바이패스 호스, 하부 바이패스 호스는 더 이상 필요하지 않습니다.

앞의3 단계에서 제거한 90° 유자 피팅을 드레인 밸브 호스와 후방 탱크 드레인 호스에 삽입합니다.


앞의2 단계에서 제거한 호스 클램프 2개로 90° 유자 피팅을 고정합니다.
섹션 밸브 어셈블리의 매니폴드 밸브에 액추에이터를 고정하는 리테이너를 제거한 다음 보관합니다.
Note: 2개의 리테이너 레그를 꽉 쥐고 아래로 당기십시오.

매니폴드 밸브에서 액추에이터를 제거한 다음 보관합니다.
다른 2개의 밸브 액추에이터에 대해 이 단계를 반복합니다.
매니폴드 마운트(그림 26)에 붐 섹션 밸브를 고정하는 볼트(1/4 x 3 인치) 2개, 와셔 4개, 록너트(1/4 인치) 2개를 제거합니다.
매니폴드 마운트에서 붐 섹션 밸브를 분리한 다음 밸브를 별도 보관합니다.
Note: 붐 섹션 밸브를 따로 보관합니다. 볼트, 와셔, 록너트는 폐기할 수 있습니다.
이 절차를 수행하는 데 필요한 부품:
| 밸브 마운트 및 밸브 어셈블리 | 1 |
| 속도/섹션 컨트롤러 | 1 |
| 자석 | 4 |
| 볼트(#8) | 4 |
| 와셔(8) | 4 |
| 록너트(#8) | 4 |
| 플랫 와셔(1/4 인치) | 2 |
| 플랜지 헤드 볼트(5/16 x ¾ 인치) | 8 |
| 플랜지 록너트(5/16 인치) | 8 |
| 플랜지 헤드 볼트(¼ x ¾ 인치) | 2 |
| 플랜지 록너트(¼ 인치) | 2 |
리프팅 장비 용량: 23 kg
지정된 용량을 가진 리프팅 장비를 사용하여 밸브 마운트를 들어 올린 다음 중앙 붐 섹션에 정렬합니다.

중앙 붐 섹션의 트러스 프레임 구멍과 밸브 마운트의 마운팅 브래킷 구멍을 정렬합니다.

볼트(5/16 x 3/4 인치) 4개와 플랜지 록너트(5/16 인치) 4개로 트러스 프레임에 밸브 마운트를 조립합니다.

다른 트러스 프레임에서 밸브 마운트의 다른 마운팅 브래킷에 대해 상기 단계를 반복합니다.
19.78~25.42 N∙m 토크로 플랜지 헤드 볼트 및 플랜지 록너트를 조입니다.
매니폴드 어셈블리의 캡을 고정하는 리테이너를 제거한 다음 밸브 상단에 대해 바이패스 브래킷을 정렬합니다.

바이패스 브래킷을 매니폴드 어셈블리에 고정하는 캡과 리테이너를 설치합니다.

그림 45와 같이 볼트(1/4 x 3 인치) 4개, 와셔(5/8 인치) 8개, 록너트(1/4 인치) 4개를 사용하여 밸브 마운트에 바이패스 브래킷과 매니폴드 어셈블리를 조립합니다.

볼트(#8) 4개와 록너트(#8) 4개를 사용하여 속도/섹션 컨트롤러에 자석과 와셔(1/4 인치)를 설치합니다.
Note: 손으로 조인 다음 1/4 바퀴 더 돌려서 어셈블리를 고정합니다. 너무 꽉 조이면 자석이 손상될 수 있습니다.

컨트롤러 어셈블리를 밸브 마운트에 배치합니다.

이 절차를 수행하는 데 필요한 부품:
| 유자 플랜지 피팅(1 인치) | 1 |
| 볼트(1 x 7-1/4 인치) | 1 |
| 호스 클램프 | 4 |
| 압력 변환기 | 1 |
| 매니폴드 | 1 |
| 볼트(1 x 8-1/2 인치) | 1 |
| R-클램프 | 1 |
압력 변환기와 개스킷과 이식된 피팅 캡을 매니폴드의 T형 피팅에 정렬합니다.

플랜지 클램프로 T형 피팅에 피팅 캡과 개스킷을 고정합니다.
압력 변환기와 매니폴드의 유자 엘보우 피팅에 호스(1 x 7-1/4 인치)를 조립합니다.

호스 클램프를 사용하여 호스와 유자 피팅을 고정합니다..
압력 변환기와 매니폴드의 다른 유자 엘보우 피팅에 호스(1 x 8-1/2 인치)를 조립합니다.
호스 클램프로 호스와 유자 피팅을 고정합니다.
유량계의 유자 플랜지 피팅에 압력 변환기와 매니폴드에 부착된 호스(1 x 7-1/4 인치)를 조립합니다.

호스 클램프로 호스를 느슨하게 고정합니다.
R-클램프와 포함된 플랜지 헤드 볼트(1/4 x 3/4 인치), 플랜지 록너트(1/4 인치)로 압력 변환기와 매니폴드를 매니폴드 마운트에 고정합니다.
90° 플랜지 피팅(1 인치) 위에 호스(1 x 8-1/2 인치)를 조립합니다.

호스 클램프로 플랜지 피팅에 호스를 고정합니다.
압력 변환기 매니폴드 설치에서 조립된 유자 플랜지 피팅(1 인치)에 호스(1 x 7-1/4 인치)를 고정하는 호스 클램프를 조입니다. 그림 51을 참조하십시오.
터렛 사이의 호스를 자릅니다.


터렛을 지지대에 고정하는 플랜지 록너트(5/16 인치)를 제거합니다.
Note: 클램프를 열면 상부 클램프 절반부에서 육각 헤드 볼트(5/16 x 3/4 인치 - 스테인리스강)가 분리됩니다. 향후 설치를 위해 볼트를 보관하십시오.플랜지 록너트와 터렛을 따로 보관하십시오.호스 바브와 호스의 잘린 부위를 폐기합니다.

스테인리스강 나사(#12 x 1-1/4 인치)를 제거한 다음 유자 호스 생크를 제거합니다.
Note: 클램프를 열면 상부 클램프 절반부에서 육각 헤드 볼트(5/16 x 3/4 인치 - 스테인리스강)가 분리됩니다. 향후 설치를 위해 볼트를 보관하십시오.

이 절차를 수행하는 데 필요한 부품:
| 공급 호스 279 cm | 2 |
| 공급 호스 234 cm | 2 |
| 공급 호스 188 cm | 4 |
| 공급 호스 81 cm | 2 |
| R-클램프 | 2 |
| 이중 R-클램프 | 2 |
| 단일 R-클램프 | 2 |
Note: 유자 피팅이 커플러에 완전히 안착되었는지 확인합니다.
리테이너로 커플러에 유자 피팅을 고정합니다.

Note: 공급 호스 어셈블리 81 cm에는 분기선 호스 2개와 단일 유자 호스 생크 2개와 T형 피팅이 있습니다.
| 붐 섹션 | 섹션 밸브 | 노즐 | 공급 호스 |
|---|---|---|---|
| 좌측 | 1 | 1 | 279 cm |
| 2 | 2 | 234 cm | |
| 3 | 3 | 188 cm | |
| 4 | 4 | 188 cm | |
| 중앙 | 5 | 5 및 6 | 81 cm |
| 6 | 7 및 8 | 81 cm | |
| 우측 | 7 | 9 | 188 cm |
| 8 | 10 | 188 cm | |
| 9 | 11 | 234 cm | |
| 10 | 12 | 279 cm |

터렛의 새들에 있는 이송 튜브를 단일 유자 호스 생크(1/2 인치) 측면에 있는 구멍과 정렬합니다.

유자 호스 생크 주변의 상부 클램프 절반부를 닫은 다음 스테인리스강 나사(#12 x 1-1/4 인치)로 클램프 절반부와 터렛 본체를 고정합니다. 스테인리스강 나사를 14~18 N∙m 토크로 조입니다.
Note: 클램프를 닫을 때 육각 헤드 볼트(5/16 x 3/4 인치)가 상부 클램프 절반부의 홈에 안착하도록 하십시오.
이전에 제거한 플랜지 록너트(5/16 인치)로 마운트에 터렛을 고정합니다.

플랜지 록너트를 1978~2542 N∙cm 토크로 조입니다.
호스와 유자 커플러 13 x 810 mm가 중앙 섹션에 대해 좌우 지지 브래킷 사이의 중앙 붐 섹션 전방에 정렬되도록 하십시오.
외부 트러스의 트러스 브레이스 사이에 호스 13 mm와 유자 호스 생크를 배선합니다.


트러스 브레이스 위와 외부 노즐 마운트 바깥쪽으로 호스와 유자 호스 생크를 배선합니다.
내부 트러스의 트러스 브레이스 사이에 다른 호스 13 mm와 유자 호스 생크를 배선합니다.
트러스 브레이스 위와 내부 노즐 마운트 안쪽으로 호스와 유자 호스 생크를 배선합니다.
다른 외부 트러스에서 다른 호스와 노즐 어셈블리에 대해 2~7 단계를 반복하십시오.
호스와 유자 커플러 13 x 810 mm가 중앙 섹션에 대해 좌우 지지 브래킷과 중앙 붐 섹션 측면이 정렬되도록 하십시오.
상부 클램프 절반부를 새들에 고정하는 스테인리스강 나사를 제거합니다.

중앙 붐 섹션에 대해 호스 어셈블리(스프레이 밸브 5 또는 6)의 호스 25 cm 단부에서 단일 유자 호스 생크의 측면에 있는 구멍을 찾습니다

터렛의 새들에 있는 이송 튜브를 단일 유자 호스 생크(1/2 인치) 측면에 있는 구멍과 정렬합니다.
유자 호스 생크 주변의 상부 클램프 절반부를 닫은 다음 스테인리스강 나사(#12 x 1-1/4 인치)로 클램프 절반부와 스프레이 노즐 본체를 고정합니다. 스테인리스강 나사를 226~282 N∙cm 토크로 조입니다.
Important: 스테인리스강 나사를 과도하게 조이지 마십시오.
Note: 클램프를 닫을 때 육각 헤드 볼트(5/16 x 3/4 인치)가 상부 클램프 절반부의 홈에 안착하도록 하십시오.
중앙 붐 섹션에서 다른 호스 어셈블리(스프레이 밸브 5 또는 6)의 단일 유자 호스 생크에 대해 2~4 단계를 반복합니다.
마운트 구멍을 통해 이전에 제거한 터렛의 육각 헤드 볼트(5/16 x 3/4 인치)를 정렬하고 플랜지 록너트(5/16 인치)로 마운트에 터렛을 느슨하게 고정합니다.

중앙 붐 섹션에서 3개의 다른 터렛에 대해 상기 단계를 반복합니다.
플랜지 록너트를 1978~2542 N∙cm 토크로 조입니다.
이 절차를 수행하는 데 필요한 부품:
| 후방 와이어 하니스 | 1 |
| 케이블 타이 | 3 |
새로운 전기 하니스의 165 cm 분기선과 203 cm 분기선을 찾습니다.

10개의 스프레이 밸브에 대한 밸브 마운트와 매니폴드 마운트에 대한 우측 지지대 사이에서 새로운 전기 하니스 165 cm 분기선과 203 cm 분기선을 배선합니다.

우측 프레임 튜브를 따라 앞쪽으로 전기 하니스의 165 cm 분기선과 203 cm 분기선을 배선합니다.

후방 와이어 하니스에 있는 203 cm 분기선의 푸시인 패스너를 기존의 후방 와이어 하니스의 푸시인 패스너가 제거된 곳인 우측 프레임 튜브의 구멍에 끼웁니다. 전방 및 후방 와이어 하니스 분리의 3 단계를 참조하시기 바랍니다.
Note: 전방 및 후방 와이어 하니스를 연결할 때 장비 호이스트를 사용하십시오.
우츨 프레임 튜브를 따라 장비 하부에서 장비의 전방 및 후방 와이어 하니스용 전기 커넥터를 찾습니다.

스프레이 하니스 상호 접속부에 대한 전방 하니스의 10-소켓 커넥터를 스프레이 하니스 상호 접속부에 대한 후방 하니스의 10-핀 커넥터를 연결합니다(그림 73).

스프레이 하니스 상호 접속부에 대한 전방 하니스의 8-핀 커넥터를 속도 스위치에 대한 후방 하니스의 8-소켓 커넥터를 연결합니다.

헹굼 펌프에 대한 전방 하니스의 2-핀 커넥터를 헹굼 펌프에 대한 후방 하니스의 2-소켓 커넥터를 연결합니다.

호스-릴 전력용 전방 하니스의 2-핀 커넥터를 호스-릴 전력용 후방 하니스의 2-소켓 커넥터를 연결합니다.

스프레이 하니스 상호 접속부에 대한 전방 하니스의 10-핀 커넥터를 스프레이 하니스 상호 접속부에 대한 후방 하니스의 10-소켓 커넥터를 연결합니다.

내비게이션-전기 및 데이터 하니스를 쉽게 연결하려면 후방 와이어 하니스의 1-소켓 커넥터와 후방 와이어 하니스의 4-소켓 커넥터를 하니스 상부에 정렬해야 합니다.

좌석 지지 앵글을 위한 우측 지지대에 후방 와이어 하니스의 펌프 차단 릴레이를 고정합니다.


장비의 후방 와이어 하니스를 따라 대시 게이지용 압력 센스 튜브를 배선합니다.

후방 와이어 하니스용 섀시 앵커 지점에서 3개의 푸시인 패스너 근방에서 3개의 케이블 타이로 후방 와이어 하니스에 압력 센스 튜브를 고정합니다.
Important: 압력 센스 튜브를 조이거나 접지마십시오. 튜브를 지탱하기에 충분한 정보도만 케이블 타이를 조이십시오.
엔진의 지지 브래킷 및 엔진의 액세서리 케이스 구멍과 엔진 제어 모듈용 마운트 브래킷 구멍을 정렬하십시오.


엔진 제어 모듈과 마운트 브래킷 분리의 1 단계에서 제거한 플랜지 헤드 볼트 3개와 플랜지 너트 1개로 엔진에 마운트 브래킷을 조립합니다.
언더캐리지 슈라우드를 장비의 바닥 섀시에 정렬합니다.


장비의 엔진 마운트 브래킷에 있는 볼트 및 캐리지 볼트 위로 언더캐리지 슈라우드의 장착 플랜지를 앞으로 밀어 넣습니다.
언더캐리지 슈라우드 분리의 2단계에서 제거한 4개의 플랜지 록너트(5/16 인치)로 언더캐리지 슈라우드를 엔진 마운트 브래킷 및 볼트를 조립합니다.
언더캐리지 슈라우드 후방에 있는 구멍을 섀시 구멍과 정렬합니다.

다음과 같이 언더캐리지 슈라우드 분리의 1 단계에서 제거한 하드웨어로 섀시에 언더캐리지 슈라우드의 후방부를 조립합니다.
2016년식 장비 - 7개의 플랜지 헤드 볼트(5/16 x 7/8 인치) 및 7개의 와셔(5/16 인치)
2017년식 이후 장비 - 5개의 플랜지 헤드 볼트(5/16 x 7/8 인치) 및 5개의 와셔(5/16 인치)
1129~1582 N∙cm 토크로 너트 및 볼트를 조입니다.
이 절차를 수행하는 데 필요한 부품:
| 케이블 타이 | 3 |
10-밸브 마운트 뒤쪽을 향해 밸브 마운트용 지지 스트럿 내부에 와이어 하니스의 203 cm 분기선을 배선합니다.

매니폴드 마운트 전방에 걸쳐 유량계와 교반 밸브용 81 cm 와이어 하니스 분기선을 배선합니다.
매니폴드 마운트의 하단 플랜지 구멍에 81 cm 와이어 하니스 분기선의 푸시인 패스너를 삽입합니다.
밸브 후방과 하단에서 섹션 밸브용 커넥터 10개로 10-밸브 마운트의 후방에 걸쳐 203 cm 와이어 하니스 분기선을 배선합니다.

10-밸브 마운트의 하단 플랜지 구멍에 와이어 하니스 분기선 203 cm의 푸시인 패스너를 삽입합니다.
스프레이 프레임 채널 상단에 걸쳐, 스프레이 펌프 솔레노이드 하단을 향하여 스프레이 펌프 솔레노이드용 86 cm 와이어 하니스 분기선을 배선합니다.

스프레이어 프레임 채널 구멍에 86 cm 와이어 하니스 분기선의 푸시인 패스너를 삽입합니다.
Flow Meter(유량계) 및 Pressure Transducer(압력 변환기)라고 표시된 203 cm 와이어 하니스의 커넥터를 매니폴드 마운트의 후방을 향해 배선합니다.

유량계용 203 cm 와이어 하니스 분기선의 3-소켓 커넥터(표시되지 않음)를 유량계 하니스의 3-핀 커넥터에 연결합니다.
Pressure Transducer(압력 변환기)라고 표시된 203 cm 와이어 하니스 분기선의 3-소켓 커넥터를 압력 변환기의 3-핀 커넥터에 연결합니다.
유량계 및 압력 변환기의 자석 하니스 앵커가 매니폴드 마운트 표면에 부착되도록 합니다.
매니폴드 마운트 앞쪽으로 교반 밸브 하니스용 3-핀 커넥터를 배선합니다.

Agitation Valve(교반 밸브)라고 표시된 203 cm 와이어 하니스 분기선의 3-소켓 커넥터에 교반 밸브 하니스용 3-핀 커넥터에 연결합니다.

리프트 실린더 매니폴드 바닥에서 솔레노이드 활성화를 위한 2-핀 커넥터에 Enable Solenoid(솔레노이드 활성화)라고 표시된 후방 와이어 하니스의 2-소켓 커넥터를 연결합니다.


우측 하단 솔레노이드에서 우측 하강 솔레노이드를 위한 2-핀 커넥터에 Right Down(우측 하강)이라고 표시된 후방 와이어 하니스의 2-소켓 커넥터를 연결합니다.
우측 상단 솔레노이드에서 우측 상승 솔레노이드를 위한 2-핀 커넥터에 Right Up(우측 상승)이라고 표시된 후방 와이어 하니스의 2-소켓 커넥터를 연결합니다.
좌측 하단 솔레노이드에서 좌측 하강 솔레노이드를 위한 2-핀 커넥터에 Left Down(좌측 하강)이라고 표시된 후방 와이어 하니스의 2-소켓 커넥터를 연결합니다.
좌측 상단 솔레노이드에서 좌측 상승 솔레노이드를 위한 2-핀 커넥터에 Left Up(좌측 상승)이라고 표시된 후방 와이어 하니스의 2-소켓 커넥터를 연결합니다.
10-밸브 마운트 후방과 노즐 밸브 1~5 아래에서 Nozzle Valve 1(노즐 밸브 1) ~ Nozzle Valve 5(노즐 밸브 5)까지 표시된 203 cm 와이어 하니스 분기선의 3-소켓 커넥터를 배선합니다.

10-밸브 마운트 후방과 노즐 밸브 6~10 아래에서 Nozzle Valve 6(노즐 밸브 6) ~ Nozzle Valve 10(노즐 밸브 10)까지 표시된 203 cm 와이어 하니스 분기선의 3-소켓 커넥터를 배선합니다.
노즐 밸브 1용 하니스의 3-핀 커넥터에 Nozzle 1(노즐 1)이라고 표시된 후방 와이어 하니스의 3-핀 소켓 커넥터를 연결합니다.
Important: 각 노즐 밸브 위치에서 올바른 3-핀 커넥터에 각각 라벨링된 후방 와이어 하니스의 3-핀 소켓 커넥터를 연결하는 것이 중요합니다.
노즐 밸브 위치 2~10까지 3 단계를 반복합니다.
장비 후면에서 스프레이 펌프 안쪽에 있는 펌프용 릴레이의 2-핀 커넥터에 86 cm 와이어 하니스의 Spray Pump Solenoid(스프레이 펌프 솔레노이드)라고 표시된 2-소켓 커넥터를 연결합니다.

장비 뒤쪽에서(우측 프레임 튜브 및 우측 펜더 사이) 후방 메인 하니스의 3-소켓 커넥터(미표시)에 우측 유압 트랙션 모터에 있는 속도 센서 하니스의 3-핀 커넥터를 연결합니다.

에어 필터와 엔진을 연결하는 덕트 앞쪽으로 엔진 슈라우드에 대한 우측 지지대를 따라 엔진실의 후방부 상부와 안쪽에 와이어 하니스의 165 cm 분기선을 배선합니다.
Note: 내비게이션 데이터 및 전기 하니스를 배터리에 배선 단계에서 후방 와이어 하니스의 165 cm 분기선을 고정할 것입니다.

좌석 박스 앵글에 걸쳐, 그리고 엔진 슈라우드용 좌측 지지대를 따라 아래쪽으로 와이어 하니스의 165 cm 분기선을 배선합니다.
Note: 내비게이션 데이터 및 전기 하니스를 배터리에 배선 단계에서 후방 와이어 하니스의 165 cm 분기선을 고정할 것입니다.

엔진 슈라우드의 좌측 지지대를 따라 아래쪽으로, 그리고 좌측 프레임 튜브 하부에서 와이어 하니스의 165 cm 분기선을 배선합니다.

배터리 상부에 와이어 하니스의 165 cm 분기선 양극 및 음극 링 단자와 50 A 퓨즈를 배선합니다.
Note: 다음 단계에서 링 단자의 설치를 마무리할 것입니다.
운전석을 앞쪽으로 돌린 다음 콘솔 채널의 디텐트에 좌석용 받침대를 놓습니다.
중앙 콘솔의 좌측에 커버를 고정하는 플랜지 헤드 볼트(1/4 x 3/4 인치) 5개를 제거합니다.

중앙 콘솔에서 커버를 분리합니다.
Note: 필요 시, 중앙 콘솔에서 커버를 분리할 때 운전석을 아래쪽으로 돌립니다.

전방 와이어 하니스를 따라서, 그리고 콘솔 채널의 그로밋을 통과하여 위쪽으로 후방 와이어 하니스의 81 cm 분기선을 배선합니다.

전방 와이어 하니스를 따라서 앞쪽으로, 그리고 콘솔 채널 후방의 그로밋을 통과하도록 후방 와이어 하니스의 81 cm 분기선을 배선합니다.
스프레이 펌프 스위치에서 8-소켓 커넥터용 래치를 누른 다음 스위치에서 커넥터를 분리합니다.

커넥터 후면을 바라보고 래치가 상승하도록 8-소켓 커넥터를 배치합니다.


8-소켓 커넥터의 단자 위치 #4으로 후방 와이어 하니스의 81 cm 분기선 말단 단자를 끼웁니다.
Note: 단자 래치가 8-소켓 커넥터에 잘 끼워지도록 하십시오.
스프레이 펌프 스위치의 8-핀 커넥터와 와이어 하니스의 8-소켓 커넥터를 연결합니다.

장비의 전방 와이어 하니스에 후방 와이어 하니스의 81 cm 분기선을 고정합니다.

중앙 콘솔의 좌측에 앞(그림 99)에서 제거한 커버를 정렬합니다.

이전에 제거한 5개의 플랜지 헤드 볼트(1/4 x 3/4 인치)로 중앙 콘솔에 커버를 조립하고 볼트를 520~678 N∙m로 조입니다(그림 98).
대시의 압력 게이지에서 압력 센스 튜브의 말단을 밸브 섹션의 말단에 있는 커플러와 정렬합니다.

튜브가 완전히 안착할 때까지 센스 튜브를 커플러에 끼웁니다.
이 절차를 수행하는 데 필요한 부품:
| 내비게이션 리시버 | 1 |
| 리시버 마운트 | 1 |
| 볼트(M5) | 4 |
| 와셔 | 4 |
| U-볼트 | 4 |
| 플랜지 록너트(⅜ 인치) | 4 |
볼트(M5) 4개와 와셔 4개를 사용하여 리시버 마운트에 리시버를 고정합니다.
Note: 두 개의 화살이 모두 장비의 전면을 보도록 하십시오.

롤바의 중간과 리시버 마운트의 화살표를 일렬로 만들고 U-볼트 4개와 록너트(3/8 인치) 4개를 사용하여 ROPS에 어셈블리를 고정합니다.

이 절차를 수행하는 데 필요한 부품:
| 안테나 마운트 | 1 |
| 리벳 | 2 |
| 자석 | 2 |
| 모뎀 안테나 | 1 |
| 높은 게인의 안테나(별도 판매) | 1 |
| 케이블 타이 | 7 |
롤바에 모뎀 안테나 브래킷을 설치합니다.

안테나 마운트 표면에 있는 그리스나 오일을 청소합니다.
양면 접작 라이너의 커버를 벗긴 다음 안테나를 마운트에 부착합니다.

케이블 타이 3개로 마운트에 안테나와 와이어 하니스를 고정합니다.

롤바 상단에 높은 게인의 안테나(별도 판매)를 설치합니다.

롤바를 따라서 모뎀 안테나 하니스를 우측에 배선합니다.

하니스를 아래쪽과 앞쪽으로 배선합니다.
이 절차를 수행하는 데 필요한 부품:
| 디스플레이 | 1 |
| 볼 마운트 | 1 |
| 모니터 암 | 1 |
| 보강재 브래킷 | 1 |
| 플랜지 헤드 볼트(¼ x 1-½ 인치) | 4 |
| 와셔(¼ 인치) | 4 |
| 플랜지 록너트(¼ 인치) | 4 |
난간 좌측에 있는 대시 패널의 구멍 펀치아웃(1/4 인치) 4개를 찾습니다.

대시 패널에서 구멍 펀치아웃 4개를 제거합니다.
후드 브래킷을 대시에 고정하는 십자형 팬헤드 나사(1/4 x 1 인치) 2개와 록너트(1/4 인치)를 제거합니다.

후드 브래킷에서 클릭 너트(1/4 인치) 2개를 제거합니다.
Note: 십자형 팬헤드 나사, 플랜지 록너트, 클립 너트를 따로 보관하고 후드 브래킷을 폐기합니다.
보강재 브래킷에 이전에 제거한 클립 너트를 조립합니다.

플랜지 헤드 볼트(1/4 x 1-1/2 인치) 4개, 와셔 4개로 대시에 브래킷을 조립한 다음 플랜지 록너트(1/4 인치) 4개로 보강재 플레이트에 고정합니다.

이전에 제거한 십자형 팬헤드 나사(1/4 x 1 인치) 2개와 플랜지 록너트(1/4 인치)로 보강재 플레이트를 느슨하게 조립합니다.
1163~1435 N∙cm 토크로 플랜지 헤드 볼트, 십자형 팬헤드 나사 및 플랜지 록너트를 조입니다.
볼트(5/16 인치) 4개와 너트(5/16 인치) 4개를 사용하여 브래킷에 디스플레이 어셈블리를 고정합니다.

원하는 위치에 디스플레이 암 노브를 조입니다.
이 절차를 수행하는 데 필요한 부품:
| 하니스 어댑터 | 1 |
| 데이터와 전기 하니스 | 1 |
| 케이블 타이 | 8 |

12-소켓 커넥터(녹색) 및 12-소켓 커넥터(검정색)로 ROPS 튜브 우측을 따라 내비게이션 리시버 위쪽을 향하여 내비게이션-데이터와 전기 하니스의 302 cm 분기선을 배선합니다.
Important: 와이어 하니스를 ROPS 튜브에 고정할 때 하니스가 커넥터를 당기지 않도록 약간 느슨하게 하십시오.
라고 표시된 데이터 하니스 12-소켓 커넥터의 긴 면에 있는 커넥터 2개를 커넥터 슬롯 2개와 연결하고 어댑터 하니스에 끼웁니다.

어댑터 하니스를 리시버에 연결합니다.
라고 표시된 4-핀 커넥터를 포함한 전기 하니스의 302 cm 데이터 하니스 분기선을 장비용 전방 및 후방 와이어 하니스가 연결되는 영역으로 배선합니다. 전방 및 후방 와이어 하니스 연결의 그림 78을 참조하십시오.

라고 표시된 4-핀 커넥터를 포함한 34 cm 데이터 하니스 분기선을 장비용 전방 및 후방 와이어 하니스가 연결되는 영역으로 배선합니다. 전방 및 후방 와이어 하니스 연결의 그림 78을 참조하십시오.
라고 표시된 데이터 하니스 분기선의 4-핀 커넥터를 CAN 2/스프레이어 컨트롤러 회로용 후면 GeoLink 하니스의 4-소켓 커넥터에 연결합니다.

데이터 케이블의 6-소켓 커넥터에서 종단 저항기를 분리한 다음 폐기합니다.

좌석 박스 앵글에 걸쳐, 그리고 엔진 슈라우드용 좌측 지지대를 따라 아래쪽으로 내비게이션 데이터 및 전기 하니스의 270.5 cm 전원 분기선을 배선합니다.

케이블 타이로 하니스를 엔진 슈라우드 지지대에 고정합니다.
엔진 슈라우드의 좌측 지지대를 따라, 그리고 좌측 프레임 튜브 하부에서 270.5 cm 전원 분기선을 배선합니다.

케이블 타이 3개로 좌석 박스 앵글의 구멍과 엔진 슈라우드 지지대에 하니스를 고정합니다.

내비게이션 시스템용 전기 하니스 220 cm 분기선의 10A 퓨즈와 양극 및 음극 링 단자를 배터리 상단에 배선합니다.
Note: 다음 단계에서 링 단자의 설치를 마무리할 것입니다.
엔진실 우측에서 모니터용 226 cm 데이터 하니스 분기선을 엔진 에어 필터 앞쪽으로, 그리고 라디에이터의 우측 하단 모서리를 향해 아래로 배선합니다.

장비 바닥에 잇는 2개의 R-클램프를 통해 앞으로, 그리고 바닥판의 구멍을 둘러싸고 잇는 그로밋을 통과하여 위로 향하도록 하니스를 배선합니다.

케이블 타이 3개를 사용하여 장비의 전방 와이어 하니스에 하니스를 고정합니다.
계속해서 장비의 전방 와이어 하니스를 따라 위로, 그리고 대시 패널의 구멍을 둘러싸고 있는 그로밋을 통과하여 위로 향하도록 하니스 분기선을 배선합니다.
케이블을 모니터 뒷면에 연결합니다.

이 절차를 수행하는 데 필요한 부품:
| 모뎀 전원 하니스 - 1850 mm - GeoLink 정밀 스프레이 시스템 키트(41712 모델 또는 41713 모델) | 1 |
| 케이블 타이 - GeoLink 정밀 스프레이 시스템 키트(41712 모델 또는 41713 모델) | 5 |
연료 탱크 브래킷과 우측 전방 펜더 사이를 따라 모뎀 전원 하니스의 탭 단자((개폐)로 표시됨)와 2개의 링 단자((배터리) 및 (접지)로 표시됨)를 장비 프레임 아래로 배선합니다.

우측 좌석 박스 안쪽에서 장비 와이어 하니스를 따라 모뎀 전원 하니스 전면과 RS232라고 표시된 전원 하니스 커넥터를 배선합니다.
Note: RS232라고 표시된 커넥터는 사용되지 않습니다.


장비 와이어 하니스를 따라 라디에이터 상단을 가로질러 모뎀 전원 하니스를 배선합니다.


(개폐)라고 표시된 모뎀 전원 하니스의 단자를 퓨즈 블록의 옵션 전원에 대한 소켓 커넥터에 꽂으십시오.
Note: 장비의 퓨즈 블록에 사용 가능한 옵션 전원 회로가 없는 경우, 추가 옵션 퓨즈 블록을 설치합니다. Toro 공인 판매대리점에 문의하십시오.

1 단계에서 사용된 옵션 전원 회로에 대한 퓨즈 블록 소켓에 퓨즈(10A)를 끼웁니다.

케이블 타이 5개로 장비 와이어 하니스에 스위치 모든 전원 및 접진 브랜치를 고정합니다.
(배터리) 및 (접지)라고 표시된 하니스의 링 단자를 뒤쪽으로, 그리고 좌석 지지대 위로 배선합니다.

링 단자를 좌측 프레임 튜브 아래와 배터리 상단을 가로질러 배선합니다.
Note: 다음 단계에서 링 단자를 배터리 케이블에 조립할 것입니다.
이 절차를 수행하는 데 필요한 부품:
| 모뎀 데이터 하니스 - 300 cm | 1 |
| 케이블 타이 | 8 |
디스플레이에 모뎀 하니스 커넥터를 나사로 고정합니다.

모뎀 데이터 케이블을 보관함을 통과하도록 배선합니다.
모뎀 데이터 케이블을 장비의 와이어 하니스를 따라 바닥의 그로밋을 통과하도록 배선합니다.

케이블 타이 4개를 사용하여 모뎀 데이터 케이블을 장비 와이어 하니스에 고정합니다.
장비 하단에서 모뎀 데이터 케이블을 장비의 와이어 하니스를 따라 뒤쪽으로 배선합니다.

라디에이터 후면에서 모뎀 데이터 케이블을 위쪽으로 배선합니다.

케이블 타이 4개를 사용하여 모뎀 데이터 케이블을 장비 와이어 하니스에 고정합니다.
모뎀 데이터 케이블을 모뎀 전원 하니스를 따라 장비의 우측으로, 그리고 연료 탱크 브래킷과 우측 전방 펜더 사이로 배선합니다.


이 절차를 수행하는 데 필요한 부품:
| CL-55 모뎀 | 1 |
| 모뎀 브래킷 | 1 |
| 볼트(#10 x 1-3/4 인치) | 2 |
| 스페이서 | 2 |
| 록너트(#10) | 2 |
라고 표시된 모뎀 안테나 하니스의 동축 커넥터를 WIFI/BT 라고 표시된 CL-55 모뎀의 동축 포트에 꽂고 동축 커넥터를 조입니다.

라고 표시된 모뎀 안테나 하니스의 파란색 동축 푸시인 커넥터를 라고 표시된 CL-55 모뎀 커넥터에 연결한 다음 커넥터를 단단히 고정합니다.
라고 표시된 모뎀 안테나 하니스의 보라색 동축 푸시인 커넥터를 라고 표시된 CL-55 모뎀 커넥터에 연결한 다음 커넥터를 단단히 고정합니다.
CDMA 모뎀 전용: LTE-2라고 표시된 모뎀 안테나 하니스의 빨간색 동축 푸시인 커넥터를 4G DIV라고 표시된 CL-55 모뎀 커넥터에 연결하여 커넥터를 단단히 고정합니다.
Note: GSM 모뎀에는 LTE-2 커넥터가 없습니다.
라고 표시된 모뎀 데이터 하니스의 4-핀 커넥터를 CL-55 모뎀의 4-소켓 커넥터(표시가 없음)에 꽂고 4-핀 커넥터의 널링 너트를 조입니다.

라고 표시된 모뎀 전원 하니스의 18-소켓 커넥터를 CL-55 모뎀의 18-핀 커넥터에 꽂으십시오.
볼트 2개(#10 x 1-3/4 인치), 스페이서 2개 및 록너트 2개(#10)를 사용하여 모뎀을 브래킷에 고정합니다.

볼트 헤드 위의 우측 좌석 박스 패널에 모뎀 브래킷을 놓습니다.
Important: 와이어 하니스가 모뎀 브래킷 안에 배선되었는지 확인합니다.

이 절차를 수행하는 데 필요한 부품:
| ISO-CAN Bus 하니스 - 302 cm | 1 |
| 케이블 타이 | 12 |
장비 전면에서 TO ISOBUS(ISOBUS에 연결)라고 표시된 302 cm ISO-CAN Bus 하니스의 4-핀 커넥터를 대시 패널 쪽으로 정렬합니다.

CAN 1 ISOBUS TERMINATOR(CAN 1 ISOBUS 종단 장치)라고 표시된 GeoLink 하니스의 4-소켓 커넥터에서 ISO Bus 종단 장치를 제거합니다.
Note: 캡은 더 이상 필요하지 않습니다.

ISO-CAN Bus 하니스의 TO ISOBUS(ISOBUS에 연결) 커넥터를 GeoLink 하니스의 CAN 1 ISOBUS TERMINATOR(CAN 1 ISOBUS 종단 장치) 커넥터에 꽂습니다.
ISO-CAN Bus 하니스의 다른 쪽 끝을 바닥의 그로밋을 통과하도록 배선합니다.

2개의 케이블 타이로 ISO-CAN Bus 하니스를 장비 와이어 하니스에 고정합니다.
장비 하단에서 장비의 와이어 하니스를 따라 ISO-CAN Bus 하니스를 배선합니다.

3개의 케이블 타이로 ISO-CAN Bus 하니스를 장비 와이어 하니스에 고정합니다.
조수석 좌석을 앞쪽으로 돌리고 받침대로 지지합니다.
라디에이터 우측에서 ISO-CAN Bus 하니스를 장비 와이어 하니스를 따라 센터 콘솔 쪽으로 배선합니다.

ISO-CAN Bus 하니스를 콘솔 베이스 아래와 장비 와이어 하니스를 따라 배선합니다.

콘솔 베이스의 구멍을 통해 ISO-CAN Bus 하니스의 3-핀 커넥터(TO TORO CANBUS(TORO CANBUS에 연결)라고 표시됨)와 3-소켓 커넥터(CAN PORT A(CAN 포트 A)라고 표시됨)를 배선합니다.
6개의 케이블 타이로 ISO-CAN Bus 하니스를 장비 와이어 하니스에 고정합니다.
장비 와이어 하니스의 3소켓 커넥터(CAN DIAGNOSTICS INTERCONNECT(CAN 진단 상호 접속부)라고 표시됨)에서 캡을 제거합니다.

ISO-CAN Bus 하니스의 3-핀 커넥터(TO TORO CANBUS(TORO CANBUS에 연결)이라고 표시됨)를 장비 와이어 하니스의 3-소켓 커넥터(CAN DIAGNOSTICS INTERCONNECT(CAN 진단 상호 접속부)라고 표시됨)에 꽂습니다.
조수석을 내립니다.
중앙 콘솔의 측면 패널을 고정하는 플랜지 헤드 캡나사(1/4 x 3/4 인치)를 제거합니다.

조수석을 앞으로 기울인 다음 후방 하단 플랜지 헤드 캡나사를 제거합니다.
중앙 콘솔에서 측면 패널을 분리합니다.
TEC 컨트롤러 전방에서 장비 와이어 하니스의 3-소켓 커넥터(표식이 없음)에서 75옴 저항기를 제거하여 보관합니다.
Note: GeoLink가 장착된 Multi Pro 5800 잔디 스프레이어 AutoSteer 키트를 설치할 때 측면 패널을 중앙 콘솔에 설치합니다. AutoSteer 키트 설치 지침에서 설치 지침을 참조하십시오.

플랜지 헤드 캡나사(1/4 x 3/4 인치) 4개를 사용하여 콘솔 프레임에 측면 패널을 조립합니다.

좌석을 앞으로 기울인 다음 후방 하단 플랜지 헤드 캡나사를 설치합니다.
이 절차를 수행하는 데 필요한 부품:
| 어댑터 하니스 - 13 cm | 1 |
| 케이블 타이 | 1 |
위성 수신기와 안테나에서 6-소켓 커넥터용 ISO Bus 종단 장치를 제거한 후 폐기하십시오.

13 cm 어댑터 하니스의 6-핀 커넥터를 GeoLink 하니스의 6-소켓 커넥터에 끼웁니다.
케이블 타이로 어댑터 하니스를 GeoLink 하니스에 고정합니다.
후방 와이어 하니스의 양극 단자(빨간색 와이어), 음극 단자(검정색 와이어) 및 퓨즈 블록(50A)을 배터리 박스와 장비의 섀시 사이로 배선합니다.

내비게이션-전기 하니스의 양극 단자(빨간색 와이어), 음극 단자(검정색 와이어) 및 10A 퓨즈 블록을 배터리 박스와 장비의 섀시 사이로 배선합니다.
모뎀 전원 하니스에서 (배터리) 및 (접지)라고 표시된 링 단자를 배터리 박스와 장비의 섀시 사이로 위쪽으로 배선합니다.
양극 및 음극 배터리 케이블의 단자에서 T-볼트 및 육각 너트를 제거합니다(그림 156).
후방 와이어 하니스의 양극 단자(빨간색 와이어), 내비게이션-전기 하니스의 양극 단자, 모뎀 전원 하니스, 양극 배터리 케이블의 단자를 통해 T-볼트를 조립하십시오.
육각 너트로 단자와 T-볼트를 느슨하게 고정합니다.
후방 와이어 하니스의 음극 단자(검정색 와이어), 내비게이션-전기 하니스의 음극 단자, 모뎀 전원 하니스, 음극 배터리 케이블의 단자를 통해 T-볼트를 조립하십시오.
육각 너트로 단자와 T-볼트를 느슨하게 고정합니다.
배터리를 연결합니다. 사용 설명서를 참조하십시오.
키를 키 스위치에 꽂고 ON(켜짐) 위치로 돌립니다.
Note: 엔진을 시동하지 마십시오.
InfoCenter의 홈 화면에서 버튼 5(우측 끝)를 눌러 Main Menu(메인 메뉴) 화면으로 들어갈 수 있습니다.


Main Menu(메인 메뉴)에서 Settings(설정) 옵션이 강조 표시될 때까지 버튼 1 또는 버튼 2를 누른 다음 버튼 4를 눌러 설정 메뉴로 이동합니다.

Settings Menu(설정 메뉴)에서 GeoLink 옵션이 강조 표시될 때까지 버튼 1 또는 버튼 2를 누른 다음 버튼 4를 눌러 GeoLink 메뉴로 이동합니다.

GeoLink 메뉴에서 버튼 4를 눌러 Yes(예) 옵션을 선택한 다음 버튼 5를 눌러 설정을 저장하고 메뉴를 종료합니다.

키 스위치를 OFF(꺼짐) 위치로 돌립니다.

키 스위치를 ON(켜짐) 위치로 돌립니다.
Note: GeoLink 시스템의 시작 화면이 InfoCenter에 표시됩니다.

키 스위치를 OFF(꺼짐) 위치로 돌립니다.
점화 키를 ON(켜짐) 위치로 돌립니다.
다음 구성 요소에서 전원이 공급되고 있음을 나타내는지 확인합니다.
제어 콘솔 - 그래픽 및 텍스트 표시

위성 수신기 - PWR 표시등이 켜짐

모뎀 - LED 표시등이켜집니다.

자동 섹션 컨트롤러 - STATUS(상태) 표시등이 켜짐

점화 키를 OFF(꺼짐) 위치로 돌립니다.
다음 구성 요소에서 전원이 차단되었는지 확인합니다.
제어 콘솔
위성 수신기
자동 섹션 컨트롤러
GeoLink 시스템의 소프트웨어 가이드를 참조하십시오.
다음 절차를 완료합니다.
소프트웨어 버전을 확인합니다.
측정 단위를 선택합니다.
필드를 만듭니다.
새로운 제품 및 시용량을 생성합니다.
스프레이 작업을 생성합니다.
스프레이 시스템을 점검합니다.
교반 바이패스 밸브의 균형을 맞춥니다.
유량계를 보정합니다.
셀룰러 상태를 확인합니다.
판매대리점 위치에서 나침반을 보정합니다.
고객 위치에서 NVRAM을 삭제합니다.
고객 위치에서 나침반을 보정합니다.