| Maintenance Service Interval | Maintenance Procedure |
|---|---|
| Before each use or daily |
|
This machine is a compact tool carrier intended for use in various earth and materials moving activities for landscaping and construction work. It is designed to operate a wide variety of attachments, each of which perform a specialized function. Using this product for purposes other than its intended use could prove dangerous to you and bystanders. Do not modify the machine or attachments.
This machine should be operated, serviced, and repaired only by professionals familiar with its characteristics and acquainted with the relevant safety procedures.
Operate this machine in ambient temperatures from -18 to 38°C (0 to 100 °F). Contact your Authorized Service Dealer for provisions required for operating in extreme temperatures.
Read this information carefully to learn how to operate and maintain your product properly and to avoid injury and product damage. You are responsible for operating the product properly and safely.
Visit www.Toro.com for product safety and operation training materials, accessory information, help finding a dealer, or to register your product.
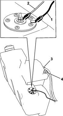
Whenever you need service, genuine Toro parts, or additional information, contact an Authorized Service Dealer or Toro Customer Service and have the model and serial numbers of your product ready. Figure 1 identifies the location of the model and serial numbers on the product. Write the numbers in the space provided.
Important: With your mobile device, you can scan the QR code on the serial number decal (if equipped) to access warranty, parts, and other product information.

This manual identifies potential hazards and has safety messages identified by the safety-alert symbol (Figure 2), which signals a hazard that may cause serious injury or death if you do not follow the recommended precautions.

The safety-alert symbol appears above information that alerts you to unsafe actions or situations and is followed by the word DANGER, WARNING, or CAUTION.
DANGER indicates an imminently hazardous situation which, if not avoided, will result in death or serious injury.
WARNING indicates a potentially hazardous situation which, if not avoided, could result in death or serious injury.
CAUTION indicates a potentially hazardous situation which, if not avoided, may result in minor or moderate injury.
This manual uses two other words to highlight information. Important calls attention to special mechanical information and Note emphasizes general information worthy of special attention.
This product complies with all relevant European directives; for details, please see the separate product specific Declaration of Conformity (DOC) sheet.
It is a violation of California Public Resource Code Section 4442 or 4443 to use or operate the engine on any forest-covered, brush-covered, or grass-covered land unless the engine is equipped with a spark arrester, as defined in Section 4442, maintained in effective working order or the engine is constructed, equipped, and maintained for the prevention of fire.
The enclosed engine owner's manual is supplied for information regarding the US Environmental Protection Agency (EPA) and the California Emission Control Regulation of emission systems, maintenance, and warranty. Replacements may be ordered through the engine manufacturer.
CALIFORNIA
Proposition 65 Warning
Diesel engine exhaust and some of its constituents are known to the State of California to cause cancer, birth defects, and other reproductive harm.
Battery posts, terminals, and related accessories contain lead and lead compounds, chemicals known to the State of California to cause cancer and reproductive harm. Wash hands after handling.
Use of this product may cause exposure to chemicals known to the State of California to cause cancer, birth defects, or other reproductive harm.
There may be buried utility lines in the work area. Digging into them may cause a shock or an explosion.
Have the property or work area marked for buried lines and do not dig in marked areas. Contact your local marking service or utility company to have the property marked (for example, in the US, call 811 or in Australia, call 1100 for the nationwide marking service).
Always follow all safety instructions to avoid serious injury or death.
Do not exceed the rated operating capacity, as the machine may become unstable, which may result in loss of control.
Do not carry a load with the arms raised; always carry loads close to the ground.
Slopes are a major factor related to loss-of-control and tip-over accidents, which can result in severe injury or death. Operating the machine on any slope or uneven terrain requires extra caution.
Operate the machine up and down slopes with the heavy end of the machine uphill and the load close to the ground. Weight distribution changes with attachments. An empty bucket makes the rear of the machine the heavy end, and a full bucket makes the front of the machine the heavy end. Most other attachments make the front of the machine the heavy end.
Have the property or work area marked for buried lines and other objects, and do not dig in marked areas.
Read and understand the content of this Operator’s Manual before starting the engine.
Use your full attention while operating the machine. Do not engage in any activity that causes distractions; otherwise, injury or property damage may occur.
Never allow children or untrained people to operate the machine.
Keep your hands and feet away from the moving components and attachments.
Do not operate the machine without the guards and other safety protective devices in place and working on the machine.
Keep bystanders and children out of the operating area.
Stop the machine, shut off the engine, and remove the key before servicing, fueling, or unclogging the machine.
Improperly using or maintaining this machine can result in injury.
To reduce the potential for injury, comply with these safety instructions
and always pay attention to the safety-alert symbol
, which means Caution, Warning,
or Danger—personal safety instruction. Failure to comply with
these instructions may result in personal injury or death.
![]() |
Safety decals and instructions are easily visible to the operator and are located near any area of potential danger. Replace any decal that is damaged or missing. |
























Become familiar with all the controls before you start the engine and operate the traction unit.

The key switch, used to start and shut off the engine, has 3 positions: OFF, RUN, and START.
Move the control forward to increase the engine speed and rearward to decrease speed.
When driving the traction unit, use the reference bar as a handle and a leverage point for controlling the traction control and the auxiliary-hydraulics lever. To ensure smooth, controlled operation, do not take both hands off the reference bar while operating the machine.
Use the traction control to move the machine. The farther you move the traction control in any direction, the faster the machine moves in that direction. Release the traction control to stop the machine.

To move forward, move the traction control forward.

To move rearward, move the traction control rearward.
Important: When reversing, look behind you for obstructions and keep your hands on the reference bar.

To turn right, rotate the traction control clockwise.

To turn left, rotate the traction control counterclockwise.

To stop the machine, release the traction control.
Slowly move the lever to operate the loader arms and tilt the attachment.
Note: The detent (float) position allows attachments such as the leveler and the hydraulic blade to follow the contours of the ground (i.e., float) when grading.

By moving the lever to an intermediate position (e.g., forward and left), you can move the loader arms and tilt the attachment at the same time.
The loader-valve lock secures the loader arm/attachment-tilt lever so that you cannot push it forward. This helps to ensure that no one accidentally lowers the loader arms during maintenance. Secure the loader valve with the lock, in addition to the cylinder locks, any time you need to shut off the machine with the loader arms raised. Refer to Removing and Storing the Cylinder Lock.
To set the lock, lift it so that it clears the hole in the control panel and swing in front of the loader-arm lever. Push it down into the locked position.

The loader-control-reference bar helps stabilize your hand while operating the loader arm/attachment-tilt lever.
To operate a hydraulic attachment in the forward direction, rotate the auxiliary-hydraulics lever rearward and pull it down to the reference bar.
To operate a hydraulic attachment in the reverse direction, rotate the auxiliary-hydraulics lever rearward, then move it left into the upper slot.
Note: If you release the lever while in the FORWARD position, the lever automatically returns to the NEUTRAL position. If it is in the REVERSE position, it remains there until you pull it out of the slot.

The hour meter displays the number of hours of operation that have been logged on the machine.
To engage the parking brake, push the lever forward and to the left and then pull it rearward.
Note: The traction unit may roll slightly before the brakes engage in the drive sprocket.
To release the brake, push the lever forward and then right, into the notch.

This gauge measures the amount of fuel in the fuel tank(s).
If the engine-oil pressure gets too low, this light illuminates and an audible alarm sounds. If this happens, shut off the engine immediately and check the oil level. If it is low, add oil and look for possible leaks.

If the battery charge becomes too low, this light illuminates and an audible alarm sounds. If this happens, shut off the engine and charge or replace the battery. Check the tension of the alternator belt; refer to your engine owner’s manual.
If the engine coolant gets too hot, this light illuminates and an audible alarm sounds. If this happens, shut off the engine and allow the traction unit to cool. Check the coolant level when the engine has fully cooled.
This light illuminates while the glow plugs are charged and warming the engine.
Press and hold this switch for 10 seconds to activate the glow plugs before starting the engine.
Note: Specifications and design are subject to change without notice.
| Width | 86 cm (34 inches) |
| Length | 180 cm (71 inches) |
| Height | 117 cm (46 inches) |
| Weight | 864 kg (1,904 lb) |
| Operating capacity (with standard bucket) | 251 kg (553 lb) |
| Tipping capacity (with standard bucket) | 717 kg (1,580 lb) |
| Wheelbase | 79 cm (31 inches) |
| Dump height (with narrow bucket) | 119 cm (47 inches) |
| Reach—fully raised (with narrow bucket) | 55 cm (22 inches) |
| Height to hinge pin (narrow bucket in highest position) | 168 cm (66 inches) |
| Width | 104 cm (41 inches) |
| Length | 180 cm (71 inches) |
| Height | 109 cm (43 inches) |
| Weight | 913 kg (2,013 lb) |
| Operating capacity (with standard bucket) | 251 kg (553 lb) |
| Tipping capacity (with standard bucket) | 717 kg (1,580 lb) |
| Wheelbase | 79 cm (31 inches) |
| Dump height (with narrow bucket) | 119 cm (47 inches) |
| Reach—fully raised (with narrow bucket) | 55 cm (22 inches) |
| Height to hinge pin (narrow bucket in highest position) | 168 cm (66 inches) |
A selection of Toro approved attachments and accessories is available for use with the machine to enhance and expand its capabilities. Contact your Authorized Service Dealer or authorized Toro distributor or go to www.Toro.com for a list of all approved attachments and accessories.
To ensure optimum performance and continued safety certification of the machine, use only genuine Toro replacement parts and accessories. Replacement parts and accessories made by other manufacturers could be dangerous, and such use could void the product warranty.
Note: Determine the left and right sides of the machine from the normal operating position.
Never allow children or untrained people to operate or service the machine. Local regulations may restrict the age or require certified training of the operator. The owner is responsible for training all operators and mechanics.
Become familiar with the safe operation of the equipment, operator controls, and safety decals.
Always engage the parking brake (if equipped), shut off the engine, remove the key, wait for all moving parts to stop, and allow the machine to cool before adjusting, servicing, cleaning, or storing the machine.
Know how to stop the machine and shut off the engine quickly.
Check that the operator's presence controls, safety switches, and shields are attached and functioning properly. Do not operate the machine unless they are functioning properly.
Locate the pinch-point areas marked on the machine and attachments; keep your hands and feet away from these areas.
Before operating the machine with an attachment, ensure that the attachment is properly installed and that it is a genuine Toro attachment. Read all the attachment manuals.
Evaluate the terrain to determine what accessories and attachments you need to properly and safely perform the job.
Have the property or work area marked for buried lines and other objects, and do not dig in marked areas; note the location of unmarked objects and structures, such as underground storage tanks, wells, and septic systems.
Inspect the area where you will use the equipment for uneven surfaces or hidden hazards.
Ensure that the area is clear of bystanders before operating the machine. Stop the machine if anyone enters the area.
Use extreme care when handling fuel. It is flammable and its vapors are explosive.
Extinguish all cigarettes, cigars, pipes, and other sources of ignition.
Use only an approved fuel container.
Do not remove the fuel cap or fill the fuel tank while the engine is running or hot.
Do not add or drain fuel in an enclosed space.
Do not store the machine or fuel container where there is an open flame, spark, or pilot light, such as on a water heater or other appliance.
If you spill fuel, do not attempt to start the engine; avoid creating any source of ignition until the fuel vapors have dissipated.
To prevent a static charge from igniting the fuel, remove the machine from the truck or trailer and refuel it on the ground, away from all vehicles. If this is not possible, place a portable fuel container on the ground, away from all vehicles, and fill it; then refuel the machine from the fuel container rather than from a fuel-dispenser nozzle.
Keep the fuel-dispenser nozzle in contact with the rim of the fuel tank or container opening at all times until fueling is complete. Do not use a nozzle lock-open device.
Use only clean, fresh diesel fuel or biodiesel fuels with low (<500 ppm) or ultra low (<15 ppm) sulfur content. The minimum cetane rating should be 40. Purchase fuel in quantities that you can use within 180 days to ensure fuel freshness.
Use summer-grade diesel fuel (No. 2-D) at temperatures above -7°C (20°F) and winter grade (No. 1-D or No. 1-D/2-D blend) below that temperature. Using winter-grade fuel at lower temperatures provides lower flash point and cold flow characteristics, which eases starting and reduces fuel filter plugging.
Using summer-grade fuel above -7°C (20°F) contributes toward longer fuel pump life and increased power compared to winter-grade fuel.
Important: Do not use kerosene or gasoline instead of diesel fuel. Failure to observe this caution will damage the engine.
This machine can also use a biodiesel blended fuel of up to B20 (20% biodiesel, 80% petrodiesel). The petrodiesel portion should be low or ultra low sulfur. Observe the following precautions:
The biodiesel portion of the fuel must meet specification ASTM D6751 or EN14214.
The blended fuel composition should meet ASTM D975 or EN590.
Painted surfaces may be damaged by biodiesel blends.
Use B5 (biodiesel content of 5%) or lesser blends in cold weather.
Monitor seals, hoses, gaskets in contact with fuel as they may degrade over time.
Fuel filter plugging may occur for a time after converting to biodiesel blends.
Contact your distributor for more information on biodiesel.
Fuel tank capacity: 23 L (6 US gallons)
Park the machine on a level surface, engage the parking brake (if equipped), and lower the loader arms.
Shut off the engine, remove the key, and allow the engine to cool.
Clean around the fuel-tank cap and remove it.

Fill the tank to about 2.5 cm (1 inch) below the top of the tank, not the filler neck, with fuel.
Important: This space in the tank allows fuel to expand. Do not fill the fuel tank completely full.
Install the fuel-tank cap securely, turning it until it clicks.
Wipe up any spilled fuel.
Before starting the machine each day, perform the Each Use/Daily procedures listed in .
Important: Check the hydraulic-fluid level and bleed the fuel system before starting the engine for the first time; refer to Checking the Hydraulic-Fluid Level and Bleeding the Fuel System.
Do not exceed the rated operating capacity, as the machine may become unstable, which may result in loss of control.
Do not carry a load with the arms raised. Always carry loads close to the ground.
Use only Toro-approved attachments and accessories. Attachments can change the stability and the operating characteristics of the machine.
For machines with a platform:
Lower the loader arms before stepping off the platform.
Do not try to stabilize the machine by putting your foot on the ground. If you lose control of the machine, step off the platform and away from the machine.
Do not place your feet under the platform.
Do not move the machine unless you are standing with both feet on the platform and your hands are holding onto the reference bars.
Use your full attention while operating the machine. Do not engage in any activity that causes distractions; otherwise, injury or property damage may occur.
Look behind and down before backing up to ensure that the path is clear.
Never jerk the controls; use a steady motion.
The owner/user can prevent and is responsible for accidents that may cause personal injury or property damage.
Wear appropriate clothing including gloves, eye protection, long pants, substantial slip-resistant footwear, and hearing protection. Tie back long hair and do not wear loose clothing or loose jewelry.
Do not operate the machine when you are tired, ill, or under the influence of alcohol or drugs.
Never carry passengers and keep pets and bystanders away from the machine.
Operate the machine only in good light, keeping away from holes and hidden hazards.
Ensure that all the drives are in neutral and engage the parking brake (if equipped) before starting the engine. Start the engine only from the operator's position.
Use care when approaching blind corners, shrubs, trees, or other objects that may obscure vision.
Slow down and use caution when making turns and crossing roads and sidewalks. Watch for traffic.
Stop the attachment when you are not working.
Stop the machine, shut off the engine, remove the key, and inspect the machine if you strike an object. Make any necessary repairs before resuming operation.
Never run an engine in an enclosed area.
Never leave a running machine unattended.
Before leaving the operating position, do the following:
Park the machine on a level surface.
Lower the loader arms and disengage the auxiliary hydraulics.
Engage the parking brake (if equipped).
Shut off the engine and remove the key.
Do not operate the machine when there is the risk of lightning.
Operate the machine only in areas where there is sufficient clearance for you to safely maneuver. Be aware of obstacles in close proximity to you. Failure to maintain adequate distance from trees, walls, and other barriers may result in injury as the machine backs up during operation if you are not attentive to the surroundings.
Check for overhead clearance (i.e., electrical wires, branches, and doorways) before driving under any objects and do not contact them.
Do not overfill the attachment and always keep the load level when raising the loader arms. Items in the attachment could fall and cause injury.
Operate the machine up and down slopes with the heavy end of the machine uphill. Weight distribution changes with attachments. An empty bucket makes the rear of the machine the heavy end, and a full bucket makes the front of the machine the heavy end. Most other attachments make the front of machine the heavy end.
Raising the loader arms on a slope affects the stability of the machine. Keep the loader arms in the lowered position when on slopes.
Slopes are a major factor related to loss of control and tip-over accidents, which can result in severe injury or death. Operating the machine on any slope or uneven terrain requires extra caution.
Establish your own procedures and rules for operating on slopes. These procedures must include surveying the site to determine which slopes are safe for machine operation. Always use common sense and good judgment when performing this survey.
Slow down and use extra care on hillsides. Ground conditions can affect the stability of the machine.
Avoid starting or stopping on a slope. If the machine loses traction, proceed slowly, straight down the slope.
Avoid turning on slopes. If you must turn, turn slowly and keep the heavy end of the machine uphill.
Keep all movements on slopes slow and gradual. Do not make sudden changes in speed or direction.
If you feel uneasy operating the machine on a slope, do not do it.
Watch for holes, ruts, or bumps, as uneven terrain could overturn the machine. Tall grass can hide obstacles.
Use caution when operating on wet surfaces. Reduced traction could cause sliding.
Evaluate the area to ensure that the ground is stable enough to support the machine.
Use caution when operating the machine near the following:
Drop-offs
Ditches
Embankments
Bodies of water
The machine could suddenly roll over if a track goes over the edge or the edge caves in. Maintain a safe distance between the machine and any hazard.
Do not remove or add attachments on a slope.
Do not park the machine on a hillside or slope.
If you strike a utility line, do the following:
Shut off the machine and remove the key.
Remove all individuals from the work area.
Immediately contact the proper emergency and utility authorities to secure the area.
If you damage a fiber-optic cable, do not look into the exposed light.
Do not leave the operator’s platform if the machine is charged with electricity. You will be safe as long as you do not leave the platform.
Touching any part of the machine may ground you.
Do not allow another individual to touch or approach the machine when charged.
Always assume the machine is charged if you strike an electrical or communication line. Do not attempt to leave the machine.
Leaking gas is both flammable and explosive and may cause serious injury or death. Do not smoke while operating the machine.
Ensure that the auxiliary hydraulics lever is in the NEUTRAL position.
Move the throttle lever midway between SLOW and FAST positions.
Insert the key into the key switch and turn it to the RUN position.
Press the glow-plug switch and hold it for 10 seconds.
Turn the key to the START position. When the engines starts, release the key.
Important: Do not engage the starter for more than 10 seconds at a time. If the engine fails to start, wait 30 seconds for the starter to cool down between attempts. Failure to follow these instructions could burn out the starter motor.
Move the throttle lever to the FAST position.
Important: Running the engine at high speeds when the hydraulic system is cold (i.e., when the air temperature is at or below freezing) could damage the hydraulic system. When starting the engine in cold conditions, allow it to run in the middle throttle position for 2 to 5 minutes before moving the throttle to the FAST position.
Note: If outdoor temperature is below freezing, store the traction unit in a garage to keep it warmer and to aid in starting.
Use the traction control to move the machine. The farther you move the traction control in any direction, the faster the machine moves in that direction. Release the traction control to stop the machine.
The throttle control regulates the engine speed as measured in rpm (revolutions per minute). Place the throttle lever in the FAST position for best performance. You can, however, use the throttle position to operate at slower speeds.
Park the machine on a level surface, engage the parking brake (if equipped), and lower the loader arms.
Ensure that the auxiliary hydraulics lever is in the NEUTRAL position.
Move the throttle lever to the SLOW position.
If the engine has been working hard or is hot, let it idle for a minute before turning the key switch to the OFF position.
Note: This helps to cool the engine before you shut it off. In an emergency, you can shut off the engine immediately.
Turn the key switch to the OFF position and remove the key.
A child or untrained bystander could attempt to operate the traction unit and be injured.
Remove the key from the key switch when leaving the traction unit, even if just for a few seconds.
Important: Use only Toro-approved attachments. Attachments can change the stability and the operating characteristics of the machine. The warranty of the machine may be voided if you use the machine with unapproved attachments.
Important: Before installing the attachment, ensure that the mount plates are free of any dirt or debris and that the pins move freely. If the pins do not move freely, grease them.
Position the attachment on a level surface with enough space behind it to accommodate the machine.
Start the engine.
Tilt the attachment mount plate forward.
Position the mount plate into the upper lip of the attachment receiver plate.

Raise the loader arms while tilting back the mount plate at the same time.
Important: Raise the attachment enough to clear the ground and tilt the mount plate all the way back.
Shut off the engine and remove the key.
Engage the quick-attach pins, ensuring that they are fully seated in the mount plate.
Important: If the pins do not rotate to the engaged position, the mount plate is not fully aligned with the holes in the attachment receiver plate. Check the receiver plate and clean it if necessary.
If you do not fully seat the quick-attach pins through the attachment mount plate, the attachment could fall off the machine, crushing you or bystanders.
Ensure that the quick-attach pins are fully seated in the attachment mount plate.

Hydraulic fluid escaping under pressure can penetrate skin and cause injury. Fluid injected into the skin must be surgically removed within a few hours by a doctor familiar with this form of injury; otherwise, gangrene may result.
Ensure that all hydraulic-fluid hoses and lines are in good condition and all hydraulic connections and fittings are tight before applying pressure to the hydraulic system.
Keep your body and hands away from pinhole leaks or nozzles that eject high-pressure hydraulic fluid.
Use cardboard or paper to find hydraulic leaks; never use your hands.
Hydraulic couplers, hydraulic lines/valves, and hydraulic fluid may be hot. If you contact hot components, you may be burned.
Wear gloves when operating the hydraulic couplers.
Allow the machine to cool before touching hydraulic components.
Do not touch hydraulic fluid spills.
If the attachment requires hydraulics for operation, connect the hydraulic hoses as follows:
Shut off the engine and remove the key.
Move the auxiliary-hydraulics lever forward, backward, and back to the NEUTRAL position to relieve pressure at the hydraulic couplers.
Remove the protective covers from the hydraulic connectors on the machine.
Ensure that all foreign matter is cleaned from the hydraulic connectors.
Push the attachment male connector into the female connector on the machine.
Note: When you connect the attachment male connector first, you relieve any pressure built up in the attachment.
Push the attachment female connector onto the male connector on the machine.
Confirm that the connection is secure by pulling on the hoses.
Park the machine on a level surface.
Lower the attachment to the ground.
Shut off the engine and remove the key.
Disengage the quick-attach pins by turning them to the outside.
If the attachment uses hydraulics, move the auxiliary-hydraulics lever forward, backward, and back to the NEUTRAL position to relieve pressure at the hydraulic couplers.
If the attachment uses hydraulics, slide the collars back on the hydraulic couplers and disconnect them.
Important: Connect the attachment hoses together to prevent hydraulic system contamination during storage.
Install the protective covers onto the hydraulic couplers on the machine.
Start the engine, tilt the mount plate forward, and back the machine away from the attachment.
Engage the parking brake (if equipped), lower the loader arms, shut off the engine, remove the key, wait for all movement to stop, and allow the machine to cool before adjusting, cleaning, storing, or servicing it.
Clean debris from the attachments, drives, mufflers, and engine to help prevent fires. Clean up oil or fuel spills.
Keep all parts in good working condition and all hardware tightened.
Do not touch parts that may be hot from operation. Allow them to cool before attempting to maintain, adjust, or service the machine.
Use care when loading or unloading the machine into a trailer or truck.
If the machine becomes stuck (e.g., in muddy conditions), pull the machine back into a stable position using either both front tie-down/lift points or both rear tie-down points simultaneously.

Important: Do not tow or pull the machine without first opening the tow valves, or you will damage the hydraulic system.
Shut off the engine and remove the key.
Open the rear-access cover.
Using a wrench, turn the tow valves on the hydraulic pumps twice counter-clockwise.

Tow the machine as required.
After repairing the machine, close the tow valves before operating it.
Use a heavy-duty trailer or truck to haul the machine. Use a full-width ramp. Ensure that the trailer or truck has all the necessary brakes, lighting, and marking as required by law. Please carefully read all the safety instructions. Knowing this information could help you or bystanders avoid injury. Refer to your local ordinances for trailer and tie-down requirements.
Driving on the street or roadway without turn signals, lights, reflective markings, or a slow-moving-vehicle emblem is dangerous and can lead to accidents causing personal injury.
Do not drive the machine on a public street or roadway.
Loading or unloading a machine onto a trailer or truck increases the possibility of tip-over and could cause serious injury or death (Figure 21).
Use only full-width ramps.
Ensure that the length of ramp is at least 4 times as long as the height of the trailer or truck bed to the ground. This ensures that ramp angle does not exceed 15 degrees on flat ground.

Loading or unloading a machine onto a trailer or truck increases the possibility of tip-over and could cause serious injury or death.
Use extreme caution when operating a machine on a ramp.
Load and unload the machine with the heavy end up the ramp.
Avoid sudden acceleration or deceleration while driving the machine on a ramp as this could cause a loss of control or a tip-over situation.
If using a trailer, connect it to the towing vehicle and connect the safety chains.
If applicable, connect the trailer brakes.
Lower the ramp(s).
Lower the loader arms.
Load the machine onto the trailer with the heavy end up the ramp, carrying loads low, as shown.
If the machine has a full load-bearing attachment (e.g., bucket) or a non-load-bearing attachment (e.g., trencher), drive the machine forward up the ramp.
If the machine has an empty load-bearing attachment or no attachment, back the machine up the ramp.

Lower the loader arms all the way down.
Engage the parking brake, shut off the engine, and remove the key.
Use the metal tie-down loops on the machine to securely fasten the machine to the trailer or truck with straps, chains, cable, or ropes. Refer to local regulations for tie-down requirements.

Lower the ramp(s).
Unload the machine from the trailer with the heavy end up the ramp, carrying loads low.
If the machine has a full load-bearing attachment (e.g., bucket) or a non-load-bearing attachment (e.g., trencher), back it down the ramp.
If the machine has an empty load-bearing attachment or no attachment, drive it forward down the ramp.

| Maintenance Service Interval | Maintenance Procedure |
|---|---|
| Before each use or daily |
|
Remove any attachments and lift the machine using the tie-down/lift points.

Note: Determine the left and right sides of the machine from the normal operating position.
If you leave the key in the switch, someone could accidently start the engine and seriously injure you or other bystanders.
Remove the key from the switch before you perform any maintenance.
Park the machine on a level surface, disengage the auxiliary hydraulics, lower the attachment, engage the parking brake (if equipped), shut off the engine, and remove the key. Wait for all movement to stop and allow the machine to cool before adjusting, cleaning, storing, or repairing it.
Clean up oil or fuel spills.
Do not allow untrained personnel to service the machine.
Use jack stands to support the components when required.
Carefully release pressure from components with stored energy; refer to Relieving Hydraulic Pressure.
Disconnect the battery before making any repairs; refer to Removing the Battery.
Keep your hands and feet away from the moving parts. If possible, do not make adjustments with the engine running.
Keep all parts in good working condition and all hardware tightened. Replace all worn or damaged decals.
Do not tamper with the safety devices.
Use only Toro-approved attachments. Attachments can change the stability and the operating characteristics of the machine. You may void the warranty if you use the machine with unapproved attachments.
Use only genuine Toro replacement parts.
If any maintenance or repair requires the loader arms to be in the raised position, secure the arms in the raised position with the hydraulic-cylinder lock(s).
Refer to local regulations for safely maintaining the machine and attach a warning tag to the control panel to inform others of ongoing maintenance.
| Maintenance Service Interval | Maintenance Procedure |
|---|---|
| After the first 8 hours |
|
| After the first 50 hours |
|
| Before each use or daily |
|
| Every 25 hours |
|
| Every 100 hours |
|
| Every 200 hours |
|
| Every 250 hours |
|
| Every 400 hours |
|
| Every 500 hours |
|
| Every 1,500 hours |
|
| Yearly |
|
| Yearly or before storage |
|
| Every 2 years |
|
Important: Refer to your engine owner’s manual for additional maintenance procedures.
The loader arms may lower when in the raised position, crushing anyone under them.
Install the cylinder lock(s) before performing maintenance that requires raised loader arms.
Remove the attachment.
Raise the loader arms to the fully raised position.
Shut off the engine and remove the key.
Remove the lynch pin securing the cylinder lock to the loader arm.

Lower the cylinder lock over the cylinder rod and secure it with the lynch pin.
Slowly lower the loader arms until the cylinder lock contacts the cylinder body and rod end.
Secure the loader-valve lock; refer to Loader-Valve Lock.
Important: Remove the cylinder lock from the rod and fully secure it in the storage position before operating the machine.
Start the engine.
Raise the loader arms to the fully raised position.
Shut off the engine and remove the key.
Remove the lynch pin securing the cylinder lock.
Rotate the cylinder lock up to the loader arm and secure it with the lynch pin.
Lower the loader arms.
Opening or removing covers, hoods, and screens while the engine is running could allow you to contact moving parts, seriously injuring you.
Before opening any of the covers, hoods, and screens, shut off the engine, remove the key from the key switch, and allow the engine to cool.
Park the machine on a level surface, engage the parking brake, and lower the loader arms.
Shut off the engine, remove the key, and allow the engine to cool.
Unlock the hood using the latch key and press the button to release the latch.

Lift open the hood.
Lift up on the tab securing the prop rod.

Lower the hood and press down the latch to secure the hood.
Park the machine on a level surface, engage the parking brake, and lower the loader arms.
Shut off the engine, remove the key, and allow the engine to cool.
Unscrew the 2 hand knobs securing the rear-access cover to the machine.

Tilt the rear-access cover down and remove it to access the internal components.
Move the rear-access cover in place over the back of the machine; ensure that the tabs line up in the slots.
Push the access cover forward, lining up the hand-knob screws with the threaded holes in the machine.
Screw the hand knobs tight to secure the rear-access cover in place.
Park the machine on a level surface, engage the parking brake, and lower the loader arms.
Shut off the engine, remove the key, and allow the engine to cool.
Open the hood.
Slide the side screens up and out of the slots in the front screen and frame.

Slide the side screens into place in the slots in the front screen and frame.
| Maintenance Service Interval | Maintenance Procedure |
|---|---|
| Before each use or daily |
|
Grease Type: General-purpose grease.
Park the machine on a level surface, engage the parking brake, and lower the loader arms.
Shut off the engine and remove the key.
Clean the grease fittings with a rag.

Connect a grease gun to each fitting.
Pump grease into the fittings until grease begins to ooze out of the bearings (approximately 3 pumps).
Wipe up any excess grease.
Shut off the engine before checking the oil or adding oil to the crankcase.
Do not change the engine governor setting or overspeed the engine.
Keep your hands, feet, face, other body parts, and clothing away from the muffler and other hot surfaces.
| Maintenance Service Interval | Maintenance Procedure |
|---|---|
| Before each use or daily |
|
| Every 25 hours |
|
| Every 200 hours |
|
Important: To prevent engine damage, always operate the engine with the air filter and cover installed.
Important: Replace the primary air-cleaner filter only when the service indicator shows red. Changing the air filter before it is necessary only increases the chance of dirt entering the engine when you remove the filter.
Park the machine on a level surface, engage the parking brake, and lower the loader arms.
Shut off the engine and remove the key.
Open the hood.
Check the air-cleaner body for damage that could cause an air leak. Check the whole intake system for leaks, damage, or loose hose clamps. Replace or repair any damaged components.
Release the latches on the air cleaner and pull the air-cleaner cover off the air-cleaner body.
Important: Do not remove the air filter.

Squeeze the dust cap sides to open it and knock the dust out.
Clean the inside of the cover with compressed air that is under 205 kPa (30 psi).
Important: Do not use compressed air on the air-cleaner body.
Check the service indicator.
If the service indicator is clear, install the cover with the dust cap oriented downward and secure the latches.
If the service indicator is red, replace the air filter.

Install the air-cleaner cover with the dust cap oriented downward and secure the latches.
Close the hood.
Gently slide the filter out of the air-cleaner body.
Note: Avoid knocking the filter into the side of the body.
Important: Do not attempt to clean the filter.

Inspect the new filter for tears, an oily film, or damage to the rubber seal. Look into the filter while shining a bright light on the outside of the filter; holes in the filter appear as bright spots.
If the filter is damaged, do not use it.
Carefully install the filter.
Note: Ensure that each filter is fully seated by pushing on the outer rim of the filter while installing it.
Important: Do not press on the soft inside area of the filter.
Install the air-cleaner cover with the dust cap oriented downward and secure the latches.
Close the hood.
| Maintenance Service Interval | Maintenance Procedure |
|---|---|
| After the first 50 hours |
|
| Before each use or daily |
|
| Every 100 hours |
|
| Every 200 hours |
|
Oil Type: Detergent diesel engine oil (API service CH-4 or higher)
Crankcase Capacity: with filter, 3.6 L (3.84 US qt)
Viscosity: See table below

Park the machine on a level surface, engage the parking brake, and lower the loader arms.
Shut off the engine, remove the key, and allow the engine to cool.
Open the hood.
Clean the area around the oil dipstick and oil-fill cap.

Check the oil and add additional oil as needed.
Important: Do not overfill the crankcase with oil; if the oil in the crankcase is too high and you run the engine, you may damage the engine.

Close the hood.
Start the engine and let it run for 5 minutes.
Note: This warms the oil so that it drains better.
Park the machine so that the drain side is slightly lower than the opposite side to ensure that the oil drains completely.
Lower the loader arms, engage the parking brake, shut off the engine, and remove the key.
Drain the oil beneath the machine.
Components will be hot if the machine has been running. Contact with hot parts could result in minor or moderate injury.
Use care to avoid touching hot components while changing the oil and/or filter.


Torque the drain plug to 46 to 56 N∙m (34 to 42 ft-lb).
Open the hood.
Remove the fill cap and slowly pour approximately 80% of the specified amount of oil in through the valve cover.
Check the oil level.
Slowly add additional oil to bring the level to the upper hole on the dipstick.
Replace the fill cap.
Close the hood.
Note: Dispose of the used oil at a certified recycling center.
Drain the oil from the engine; refer to Changing the Engine Oil.
When the oil has drained completely, install the drain plug and torque it to 46 to 56 N∙m (34 to 42 ft-lb).
Note: Dispose of the used oil at a certified recycling center.
Remove the left side screen.
Place a shallow pan or rag under the filter to catch oil.
Change the oil filter.

Remove the fill cap and slowly pour approximately 80% of the specified amount of oil in through the valve cover.
Check the oil level.
Slowly add additional oil to bring the level to the upper hole on the dipstick.
Replace the fill cap.
In certain conditions, fuel is extremely flammable and highly explosive. A fire or explosion from fuel can burn you and others and can damage property.
Refer to Fuel Safety for a complete list of fuel related precautions.
| Maintenance Service Interval | Maintenance Procedure |
|---|---|
| Before each use or daily |
|
Park the machine on a level surface, engage the parking brake, and lower the loader arms.
Shut off the engine and remove the key.
Open the hood and remove the right side screen.
Place a container under the water separator.

Loosen the drain valve on the bottom of the filter canister and allow the water to drain.
Tighten the drain valve.
Install the right side screen and close the hood.
| Maintenance Service Interval | Maintenance Procedure |
|---|---|
| Every 400 hours |
|
Park the machine on a level surface, engage the parking brake, and lower the loader arms.
Shut off the engine and remove the key.
Open the hood and remove the right side screen.
Place a clean container under the fuel filter canister.

Remove the filter canister and clean the mounting surface.
Lubricate the gasket on the new filter canister with clean oil.
Fill the canister with fuel.
Install the filter canister by hand until the gasket contacts the mounting surface, then rotate it an additional 1/2 turn.
Install the right side screen and close the hood.
| Maintenance Service Interval | Maintenance Procedure |
|---|---|
| Every 400 hours |
|
Inspect the fuel lines and connections for deterioration, damage, or loose connections. Tighten any loose connections and contact your Authorized Service Dealer for assistance in fixing damaged fuel lines.
| Maintenance Service Interval | Maintenance Procedure |
|---|---|
| Every 400 hours |
|
Park the machine on a level surface, engage the parking brake, and lower the loader arms.
Shut off the engine and remove the key.
Open the hood and remove the right side screen.
Replace the filter as shown.
Note: Ensure that the markings on the filter follow the fuel flow direction.

Install the right side screen and close the hood.
You must bleed the fuel system before starting the engine if any of the following situations have occurred:
Initial startup of a new machine.
The engine has ceased running due to a lack of fuel.
Maintenance has been performed on fuel system components (e.g., filter replaced).
Park the machine on a level surface, lower the loader arms, and shut off the engine.
Ensure that the fuel tank is at least half full.
Open the hood.
Open the air-bleed screw on the fuel-injection pump.

Turn the key in the key switch to the ON position to begin operating the electric fuel pump, forcing air out around the air-bleed screw. Leave the key in the ON position until a solid stream of fuel flows out around the screw.
Tighten the screw and turn the key to the OFF position.
Note: The engine should start after you follow the above bleeding procedure. However, if engine does not start, air may be trapped between injection pump and injectors; contact your Authorized Service Dealer.
| Maintenance Service Interval | Maintenance Procedure |
|---|---|
| Every 2 years |
|
Have an Authorized Service Dealer drain and clean the fuel tank(s).
Park the machine on a level surface, engage the parking brake, and lower the loader arms.
Shut off the engine and remove the key.
Remove the rear-access cover; refer to Opening the Rear-Access Cover
Remove the left support panel.

Remove the fuel-tank bracket.

Remove the rear panel.

Mark the suction and return fuel lines and corresponding tank fittings to identify the correct hose locations when you later install the fuel tank.

Place clamps on the fuel lines, 2 inches from where they comes out of the fuel tank.
Disconnect the fuel lines from the fittings on the fuel tank.
Plug the fittings so that no fuel can leak out.
Disconnect the 2 wires leading to the right side of the tank.
Carefully remove the tank and set it upright to keep from spilling the fuel.
Important: Keep the fuel lines and wires away from the engine pulleys and the frame.
Important: Keep the fuel lines and wires away from the engine pulleys and the frame.
Slide the fuel tank partway into the chassis.
Remove the plugs from the tank fittings and connect the return and suction lines to the corresponding fittings. Remove the clamps

Connect the orange wire to the center post and the black wire to the outside post.
Slide the tank all the way into the machine.
Install the rear panel.

Install the fuel-tank bracket.

Install the left support panel.

Install the rear-access cover.
Disconnect the cable from the negative terminal of the battery before repairing the machine.
Charge the battery in an open, well-ventilated area, away from sparks and flames. Unplug the charger before connecting or disconnecting the battery. Wear protective clothing and use insulated tools.
Battery acid is poisonous and can cause burns. Avoid contact with skin, eyes, and clothing. Protect your face, eyes, and clothing when working with a battery.
Battery gases can explode. Keep cigarettes, sparks, and flames away from the battery.
Specifications: 12 V, 585 A (cold cranking)
Battery terminals or metal tools could short against metal machine components, causing sparks. Sparks can cause the battery gasses to explode, resulting in personal injury.
When removing or installing the battery, do not allow the battery terminals to touch any metal parts of the machine.
Do not allow metal tools to short between the battery terminals and metal parts of the machine.
Incorrect battery cable routing could damage the machine and cables, causing sparks. Sparks can cause the battery gasses to explode, resulting in personal injury.
Always disconnect the negative (black) battery cable before disconnecting the positive (red) cable.
Park the machine on a level surface, engage the parking brake, and lower the loader arms.
Shut off the engine and remove the key.
Open the rear-access cover.
Remove the battery-access panel.

Remove the bolt, washer, and bar securing the battery.

Disconnect the negative (black) ground cable from the battery post. Retain the fasteners.
Slide the rubber cover off the positive (red) cable.
Disconnect the positive (red) cable from the battery post. Retain the fasteners.
Lift the battery out of the chassis.
Charging the battery produces gasses that could explode, resulting in death or serious injury.
Never smoke near the battery and keep sparks and flames away from battery.
Important: Always keep the battery fully charged (1.265 specific gravity). This is especially important to prevent battery damage when the temperature is below 0°C (32°F).
Remove the battery from the machine; refer to Removing the Battery.
Charge the battery for 10 to 15 minutes at 25 to 30 A or 30 minutes at 4 to 6 A. Do not overcharge the battery.

When the battery is fully charged, unplug the charger from the electrical outlet, then disconnect the charger leads from the battery posts.
Note: Keep the terminals and the entire battery case clean to help extend battery life.
Park the machine on a level surface, engage the parking brake (if equipped), and lower the loader arms.
Shut off the engine and remove the key.
Remove the battery from the machine; Removing the Battery.
Wash the entire case with a solution of baking soda and water.
Rinse the battery with clear water.
Coat the battery posts and cable connectors with Grafo 112X (skin-over) grease or petroleum jelly to prevent corrosion.
Install the battery; refer to Installing the Battery.
Incorrect battery cable routing could damage the machine and cables, causing sparks. Sparks can cause the battery gasses to explode, resulting in personal injury.
Always connect the positive (red) battery cable before connecting the negative (black) cable.
Using the fasteners previously removed, install the positive (red) battery cable to the positive (+) battery terminal.

Slide the red terminal boot onto the positive battery post.
Using the fasteners previously removed, install the negative (black) battery cable to the negative (-) battery terminal.
Secure the battery using the bar, bolt, and washer.
Important: Ensure that the battery cables do not contact any sharp edges or each other.
Install the battery-access panel.

Close the rear-access cover; refer to Closing the Rear-Access Cover.
The original battery is maintenance-free and does not require service. For servicing a replacement battery, refer to the battery manufacturer’s instructions.
The electrical system is protected by fuses. It requires no maintenance; however, if a fuse blows, check the component/circuit for a malfunction or a short.

Note: If the machine does not start, either the main circuit or control panel/relay fuse could be blown.
Park the machine on a level surface, engage the parking brake, and lower the loader arms.
Shut off the engine and remove the key.
Open the hood.
Remove the prop rod.

Remove the fuse panel.

Check the fuses.
Install the fuse panel.
Install the prop rod.
Close the hood.
| Maintenance Service Interval | Maintenance Procedure |
|---|---|
| After the first 50 hours |
|
| Before each use or daily |
|
| Every 100 hours |
|
| Every 250 hours |
|
Park the machine on a level surface and engage the parking brake.
With the bucket installed and pointing down, lower it into the ground so that the front of the traction unit lifts off the ground a few centimeters (inches).

Shut off the engine and remove the key.
Using a water hose or pressure washer, remove dirt from each track system.
Important: Ensure that you use high-pressure water to wash only the track area. Do not use a high-pressure washer to clean the rest of the machine. Do not use high-pressure water between the drive sprocket and the machine or you may damage the motor seals. High-pressure washing can damage the electrical system and hydraulic valves or deplete grease.
Important: Ensure that you fully clean the road wheels, the tension wheel, and the drive sprocket. The road wheels should rotate freely when clean.
Park the machine on a level surface, engage the parking brake, and lower the loader arms.
Shut off the engine and remove the key.
Remove the cover.

Verify that the distance between the tension nut and the back of the tension tube is 7 cm (2-3/4 inches).
If the distance is incorrect, continue this procedure.
If the distance is correct, proceed to step 10.

Lift/support the side of the unit to be worked on so that the track is off the ground.
Remove the locking bolt, spacer, and nut.

Using a 1/2-inch drive ratchet, turn the tensioning screw counterclockwise until the distance between the tension nut and the back of the tension tube is 7 cm (2-3/4 inches).

Align the closest notch in the tension screw to the locking bolt hole and secure the screw with the locking bolt, spacer, and nut.
Lower the traction unit to the ground.
Install the cover.
When the tracks are badly worn, replace them.
Park the machine on a level surface, engage the parking brake, and lower the loader arms.
Shut off the engine and remove the key.
Lift/support the side of the unit to be worked on so that the track is 8 to 10 cm (3 to 4 inches) off the ground.
Remove the locking bolt, spacer, and nut.

Using a 1/2-inch drive ratchet, release the drive tension by turning the tensioning screw clockwise.

Push the tension wheel toward the rear of the unit to move the tension tube against the frame.
Note: If it does not touch the frame, continue turning the tensioning screw until it does.

Begin removing the track at the top of the tension wheel, peeling it off the wheel while rotating the track forward.
When the track is off the tension wheel, remove it from the drive sprocket and road wheels.
Beginning at the drive sprocket, coil the new track around the sprocket, ensuring that the lugs on the track fit between the cogs on the sprocket.
Push the track under and between the road wheels.
Starting at the bottom of the tension wheel, install the track around the wheel by rotating the track rearward while pushing the lugs into the wheel.
Turn the tensioning screw counterclockwise until the distance between the tension nut and the back of the tension tube is 7 cm (2-3/4 inches).

Align the closest notch in the tension screw to the locking bolt hole and secure the screw with the locking bolt and nut.
Lower the traction unit to the ground.
Repeat steps 3 through 14 to replace the other track.
Remove the tracks; refer to Replacing the Tracks.
Remove the 4 bolts securing each lower track guide and remove the track guide.

Remove the snap ring and cap from a road wheel.

Check the grease under the cap and around the gasket. If it is dirty, gritty, or depleted, clean out all of the grease, replace the gasket, and add new grease.
Ensure that the road wheel turns smoothly on the bearing. If it does not, replace the road wheel; refer to the Installation Instructions for a road wheel kit or contact your Authorized Service Dealer for repair.
Install the greased cap and secure it with the snap ring.
Repeat steps 3 through 6 for the other road wheels.
Install the track guides to the machine. Torque the bolts to 91 to 112 N∙m (67 to 83 ft-lb).
Install the tracks; refer to Replacing the Tracks.
Swallowing engine coolant can cause poisoning; keep out of reach from children and pets.
Discharge of hot, pressurized coolant or touching a hot radiator and surrounding parts can cause severe burns.
Always allow the engine to cool at least 15 minutes before removing the radiator cap.
Use a rag when opening the radiator cap, and open the cap slowly to allow steam to escape.
| Maintenance Service Interval | Maintenance Procedure |
|---|---|
| Before each use or daily |
|
| Every 100 hours |
|
The rotating shaft and fan can cause personal injury.
Do not operate the machine without the covers in place.
Keep your fingers, hands, and clothing clear of the rotating fan and drive shaft.
Park the machine on a level surface, lower the loader arms, engage the parking brake, shut off the engine, and remove the key from the key switch before performing maintenance.
| Maintenance Service Interval | Maintenance Procedure |
|---|---|
| Before each use or daily |
|
Remove any buildup of grass, dirt or other debris from the radiator screen with compressed air.
Capacity: 3.8 L (4 US quarts)
Type: 50/50 solution of water and permanent ethylene-glycol antifreeze.
Park the machine on a level surface, lower the loader arms, engage the parking brake, and shut off the engine.
Remove the key from the key switch and allow the engine to cool.
Check the coolant level of coolant in the expansion tank.
The coolant level should be at or above the mark on the side of the tank.

If the coolant level is low, complete the following procedure:
Remove the coolant-fill cap.

Open the front and top coolant-bleed valves.
Pour coolant into the coolant-filler neck until the coolant begins to come out of the front coolant-bleed valve.
Close the front coolant-bleed valve.
Pour coolant into the coolant-filler neck until the coolant begins to come out of the top coolant-bleed valve.
Close the top coolant-bleed valve.
Pour coolant into the coolant-filler neck until the coolant level comes into the filler neck.
Install the coolant-fill cap.
Add coolant into the expansion tank until it reaches the Full mark on the side of the tank.
Install the expansion tank cap.
| Maintenance Service Interval | Maintenance Procedure |
|---|---|
| Every 1,500 hours |
|
Have an Authorized Service Dealer change the engine coolant yearly.
If you need to add engine coolant, refer to Checking the Engine-Coolant Level.
| Maintenance Service Interval | Maintenance Procedure |
|---|---|
| Before each use or daily |
|
Engage the parking-brake; refer to Parking-Brake Lever.
Start the engine.
Slowly attempt to drive the machine forward or rearward.
Note: The machine may roll slightly before the brakes engage in the drive sprocket.
If the brakes do not hold the machine after the initial slight movement, contact your Authorized Service Dealer for service.
| Maintenance Service Interval | Maintenance Procedure |
|---|---|
| Yearly |
|
Check the condition of the hydraulic pump belt yearly. Have an Authorized Service Dealer replace it if it becomes damaged or worn.

The factory adjusts the controls before shipping the machine. However, after many hours of use, you may need to adjust the traction control alignment, the NEUTRAL position of the traction control, and the tracking of the traction control in the full forward position.
Important: To adjust the controls properly, complete each procedure in the order listed.
If the traction control bar does not rest flush and square with the reference bar when in the full backward position, immediately complete the following procedure:
Park the machine on a level surface, engage the parking brake, and lower the loader arms.
Shut off the engine and remove the key.
Pull straight back on the traction control so the front of the control contacts the reference bar.

If the front of the traction control does not rest square and flush with the reference bar, loosen the flange nut and bolt in the stem of the traction control.

Adjust the traction control so that it rests flush against the reference bar when you pull it straight back.

Tighten the flange nut and bolt in the traction control stem.
If the machine creeps forward or backward when the traction control is in the NEUTRAL position and the unit is warm, immediately complete the following procedure:
Lift/support the machine so that both tracks are off the ground.
Open the rear-access cover.
Loosen the jam nuts on the traction rods, under the control panel.

Start the traction unit and set the throttle to about 1/3 open position.
When the machine is running, you could be caught and injured in moving parts or burned on hot surfaces.
Stay away from pinch points, moving parts, and hot surfaces when adjusting the running machine.
If the left track moves, lengthen or shorten the right traction rod until the track stops moving.
If the right track moves, lengthen or shorten the left traction rod until the track stops moving.
Tighten the jam nuts.
Close the rear-access cover.
Shut off the engine and lower the machine to the ground.
Drive the machine in full reverse, checking to see if the unit tracks straight. If it does not, note the direction it veers. Repeat the adjustment previously described so that it tracks straight in reverse.
If the machine does not drive straight when you hold the traction control against the reference bar, complete the following procedure:
Drive the machine with the traction control against the reference bar, noting which direction the traction unit veers.
Release the traction control.
If the traction unit veers to the left, loosen the right jam nut and adjust the tracking set screw on the front of the traction control.
If the traction unit veers to the right, loosen the left jam nut and adjust the tracking set screw on the front of the traction control.

Repeat the procedure until the machine drives straight in the full forward position.
Important: Ensure that the tracking set screws touch the stops in the full forward position to avoid over stroking the hydraulic pumps.
Seek immediate medical attention if fluid is injected into skin. Injected fluid must be surgically removed within a few hours by a doctor.
Ensure that all hydraulic-fluid hoses and lines are in good condition and all hydraulic connections and fittings are tight before applying pressure to the hydraulic system.
Keep your body and hands away from pinhole leaks or nozzles that eject high-pressure hydraulic fluid.
Use cardboard or paper to find hydraulic leaks.
Safely relieve all pressure in the hydraulic system before performing any work on the hydraulic system.
To relieve hydraulic pressure while the engine is on, disengage the auxiliary hydraulics and fully lower the loader arms.
To relieve the pressure while the engine is off, move the auxiliary-hydraulics lever between the forward and reverse flow positions to relieve auxiliary hydraulic pressure, and cycle the loader-arm/attachment-tilt lever between the forward positions to lower the loader arms.

| Maintenance Service Interval | Maintenance Procedure |
|---|---|
| Every 100 hours |
|
Hydraulic-Tank Capacity: 45 L (12 US gallons)
Use only 1 of the following fluids in the hydraulic system:
Toro Premium Transmission/Hydraulic Tractor Fluid (refer to your Authorized Toro Dealer for more information)
Toro PX Extended Life Hydraulic Fluid (refer to your Authorized Toro Dealer for more information)
If either of the above Toro fluids are not available, you may use another Universal Tractor Hydraulic Fluid (UTHF), but they must be only conventional, petroleum-based products. The specifications must fall within the listed range for all the following material properties and the fluid should meet the listed industry standards. Check with your hydraulic fluid supplier to determine if the fluid meets these specifications.
Note: Toro will not assume responsibility for damage caused by improper substitutions, so use only products from reputable manufacturers who will stand behind their recommendations.
| Material Properties | |
| Viscosity, ASTM D445 | cSt at 40°C: 55 to 62 |
| cSt at 100°C: 9.1 to 9.8 | |
| Viscosity index, ASTM D2270 | 140 to 152 |
| Pour Point, ASTM D97 | -37 to -43°C (-35 to -46°F) |
| Industry Standards | |
| API GL-4, AGCO Powerfluid 821 XL, Ford New Holland FNHA-2-C-201.00, Kubota UDT, John Deere J20C, Vickers 35VQ25 and Volvo WB-101/BM | |
Note: Many hydraulic fluids are almost colorless, making it difficult to spot leaks. A red dye additive for the hydraulic system fluid is available in 20 ml (2/3 fl oz) bottles. One bottle is sufficient for 15 to 22 L (4 to 6 US gallons) of hydraulic fluid. Order Part No. 44-2500 from your Authorized Service Dealer.
| Maintenance Service Interval | Maintenance Procedure |
|---|---|
| Every 25 hours |
|
Important: Always use the correct hydraulic fluid. Unspecified fluids will damage the hydraulic system. Refer to Hydraulic Fluid Specifications.
Remove any attachments.
Park the machine on a level surface, lower the loader arms, and fully retract the tilt cylinder.
Shut off the engine, remove the key, and allow the engine to cool.
Open the hood.
Clean the area around the filler neck of the hydraulic tank.

Remove the filler-neck cap and check the fluid level on the dipstick.
Note: The fluid level should be between the marks on the dipstick.

If the level is low, add enough fluid to raise it to the proper level.
Install the filler-neck cap.
Close the hood.
| Maintenance Service Interval | Maintenance Procedure |
|---|---|
| After the first 8 hours |
|
| Every 200 hours |
|
Important: Do not substitute an automotive oil filter; otherwise, severe hydraulic system damage may result.
Park the machine on a level surface, engage the parking brake, and lower the loader arms.
Shut off the engine and remove the key.
Open the rear-access cover.
Place a drain pan under the filter and replace the filter.

Clean up any spilled fluid.
Start the engine and let it run for about 2 minutes to purge air from the system.
Shut off the engine, remove the key, and check for leaks.
Check the fluid level in the hydraulic tank and add fluid to raise the level to the mark on the dipstick; refer toHydraulic Fluid Specifications.
Important: Do not overfill the tank.
Close the rear-access cover.
| Maintenance Service Interval | Maintenance Procedure |
|---|---|
| Every 400 hours |
|
Park the machine on a level surface.
Raise the loader arms and install the cylinder lock.
Shut off the engine, remove the key, and allow the engine to cool.
Open the hood.
Remove the hydraulic-tank cap and dipstick.
Note: The filler cap is behind the front screen. If you want to improve your access to it, remove the screen.

Place a large drain pain capable of holding 57 L (15 US gallons) under the drain plug on the front of the machine.

Remove the drain plug and allow the oil to drain into the pan.
When finished, install and tighten the drain plug.
Note: Dispose of the used oil at a certified recycling center.
Fill the hydraulic tank with hydraulic fluid as specified in Hydraulic Fluid Specifications.
Start the engine and let it run for a few minutes.
Shut off the engine.
Check the hydraulic-fluid level and add fluid to fill the tank if necessary; refer to Checking the Hydraulic-Fluid Level.
Close the hood.
| Maintenance Service Interval | Maintenance Procedure |
|---|---|
| Before each use or daily |
|
Important: Operating the engine with blocked screens and/or cooling shrouds removed will result in engine damage from overheating.
Park the machine on a level surface and lower the loader arms.
Shut off the engine, remove the key, and allow the engine to cool.
Open the hood and secure the prop rod.
Clean any debris from the front and side screens.
Wipe away debris from the air cleaner.
Clean any debris buildup on the engine and in the oil cooler fins with a brush or blower.
Important: Operating the engine with blocked screens and/or cooling shrouds removed will result in engine damage due to overheating.
Clean debris from the hood opening, muffler, heat shields, and radiator screen (if applicable).
Close the hood.
When pressure washing the machine, do the following:
Wear appropriate personal protective equipment for the pressure washer.
Keep all guards in place on the machine.
Avoid spraying at electronic components.
Avoid spraying at edges of decals.
Spray the exterior of the machine only. Do not spray directly into openings in the machine.
Spray only the dirty parts of the machine.
Use a 40-degree or larger spray nozzle. 40-degree nozzles are usually white.
Keep the tip of the pressure washer at least 61 cm (2 ft) away from the surface being washed.
Use only pressure washers with pressure below 13790 kpa (2000 psi) and flow below 7.6 L (2 US gallons) per minute.
Replace damaged or peeling decals.
Grease all grease points after washing; refer to Greasing the Machine.
| Maintenance Service Interval | Maintenance Procedure |
|---|---|
| Every 100 hours |
|
Over time, the chassis under the engine collects dirt and debris that must be removed. Using a flashlight, open the hood and inspect the area under the engine regularly. When the debris is 2.5 to 5 cm (1 to 2 inches) deep, clean the chassis.
Remove any attachments.
Park the machine on a level surface, engage the parking brake, and lower the loader arms.
Shut off the engine and remove the key.
Lift and support the front of the machine.
Mechanical or hydraulic jacks could fail to support the machine, which could result in death or serious injury.
Use jack stands when supporting the machine.
Open the rear-access cover.
Remove the fuel tank; refer to Removing the Fuel Tank.
Remove any large deposits of debris.
Wash out the chassis with water until the water running out the back of the unit is clear.
Important: Ensure that water does not get into the engine or electrical components.
Install the fuel tank; refer to Installing the Fuel Tank.
Close the rear-access panel.
Lower the machine to the ground.
Shut off the engine, remove the key, wait for all moving parts to stop, and allow the machine to cool before storing it.
Do not store the machine or fuel near flames.
Park the machine on a level surface, engage the parking brake, and lower the loader arms.
Shut off the engine and remove the key.
Remove dirt and grime from the entire machine.
Important: You can wash the machine with mild detergent and water. Do not pressure wash the machine. Avoid excessive use of water, especially near the control panel, engine, hydraulic pumps, and motors.
Service the air cleaner; refer to Servicing the Air Cleaner.
Grease the machine; refer to Greasing the Machine.
Change the engine oil; refer to Changing the Engine Oil.
Charge the battery; refer to Charging the Battery.
Check and adjust the track tension; refer to Checking and Adjusting the Track Tension.
Check and tighten all bolts, nuts, and screws. Repair or replace any part that is damaged.
Paint all scratched or bare metal surfaces. Paint is available from your Authorized Service Dealer.
Store the machine in a clean, dry garage or storage area. Remove the key from the ignition switch and keep it in a memorable place.
Cover the machine to protect it and keep it clean.
Before decommissioning the machine, follow local regulations for disposing of hazardous substances. For more information on draining fluids, see the Maintenance chapter or contact your Authorized Service Dealer.
| Problem | Possible Cause | Corrective Action |
|---|---|---|
| The starter does not crank. |
|
|
| The engine cranks but does not start. |
|
|
| The engine starts but does not keep running. |
|
|
| The engine runs but knocks or misses. |
|
|
| The engine does not idle. |
|
|
| The engine overheats. |
|
|
| The engine loses power. |
|
|
| Exhaust produces excessive black smoke. |
|
|
| Exhaust produces excessive white smoke. |
|
|
| The machine does not drive. |
|
|