Note: É necessário o kit de marcador de espuma para a instalação deste produto. Contacte o distribuidor autorizado Toro para obter mais informação.
Note: Determine os lados direito e esquerdo da máquina a partir da posição normal de utilização.
![]() |
Os autocolantes de segurança e de instruções são facilmente visíveis e situam-se próximo das zonas de potencial perigo. Substitua todos os autocolantes danificados ou em falta. |

Estacione a máquina numa superfície plana, engate o travão de estacionamento, desligue o motor e retire a chave da ignição.
Desligue a bateria; consulte o Manual do utilizador da máquina.
Peças necessárias para este passo:
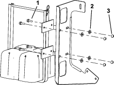
| Suporte | 1 |
| Parafuso (5/16" x 1") | 4 |
| Anilha (⅜ pol.) | 4 |
| Porca (5/16 pol.) | 4 |
| Marcador de espuma (vendido em separado) | 1 |
Instale o compressor do marcador de espuma no suporte como se mostra na Figura 1.

Peças necessárias para este passo:
| Parafuso de carroçaria | 1 |
| Cavilha em U | 1 |
| Porcas flangeadas (3/8 pol.) | 3 |
| Espaçador | 1 |
| Grampo em R | 1 |
Desaperte o parafuso na parte superior da cinta e coloque o parafuso de carroçaria através da cinta da correia do depósito do pulverizador (Figura 2).

Deslize o espaçador para o parafuso e coloque o suporte no parafuso como se mostra na Figura 2.
Coloque o tubo de sucção da bomba através do grampo em R (Figura 3).
Prenda o grampo em R ao parafuso com uma porca (Figura 3).

Coloque a cavilha em U na máquina como se mostra na Figura 4.

Coloque o suporte na cavilha em U e prenda com duas porcas flangeadas (3/8 pol.).
Peças necessárias para este passo:
| Cablagem | 1 |
| Suporte dos interruptores | 1 |
| Interruptor oscilador | 1 |
| Interruptor da pá | 1 |
| Parafusos (M6) | 2 |
| Fusível, 15 amps | 1 |
Note: Eleve o banco para encaminhar a cablagem.
Encaminhe a cablagem do compressor do marcador de espuma por trás do ROPS e sob a placa de proteção (Figura 5).

Ligue o fio de terra e interruptor do relé e insira o fusível de 15 amp no bloco de fusíveis (Figura 6).

Ligue o conector da lâmina no conector da tomada do bloco de fusíveis para obter energia.

Encaminhe a cablagem ao longo da cablagem da máquina até ao painel de controlo (Figura 8).

Ligue o interruptor oscilador à cablagem (Figura 8).
Encaminhe a cablagem sob o painel na placa do piso e para cima até à coluna da direção (Figura 9).

Fixe o suporte do interruptor da pá à coluna da direção com os 2 parafusos (M6)

Monte o interruptor no suporte e pressione-o até ficar bem preso na abertura.

Note: Certifique-se de que a pá do interruptor de pá de três posições (interruptor do controlo de espuma) está alinhado para fora.
Interruptor da pá de espuma – ativa o compressor, gerando um fluxo de espuma e ar para a secção da rampa direita ou esquerda (Figura 11).
Interruptor Ligar/Desligar espuma – ativa o compressor, gerando um fluxo de espuma para ambas as secções da rampa em simultâneo (Figura 8).
Marcas de indicação – localizadas na parte lateral do depósito, indicam o nível da solução no depósito.
Válvula de ajuste do regulador de espuma – controla a consistência da solução de espuma. Ajustando a válvula, controla a quantidade de solução de detergente fornecida aos bicos de espuma. Aumentando o fluxo provoca gotas maiores e mais frequentes; diminuindo o fluxo provoca gotas mais pequenas e menos frequentes (Figura 12).
Note: Uma consistência aguada do marcador pode ajudar em dias de vento.
Válvula de descarga de pressão – puxe a patilha vermelha no tampão do depósito para fora para descarregar a pressão no depósito (Figura 12).
Important: Enxagúe o sistema com água limpa depois de cada utilização, especialmente depois de utilizar água dura. Não aplique óleos de lubrificação, lubrificante ou outros produtos á base de petróleo no motor do compressor.
Certifique-se de que os interruptores esquerdo e direito localizados na consola estão na posição Desligar.
Puxe a patilha vermelha de descarga de pressão e retire a tampa preta do depósito.
Despeje a quantidade adequada de água no depósito e, em seguida, adicione concentrado de espuma através da abertura na parte superior do depósito, de acordo com as instruções do fabricante.
Important: Níveis extremos de pH (ácido ou alcalino) da água afeta a quantidade de concentrado de espuma necessário.
Instale a tampa no depósito e aperte manualmente.
Para o funcionamento inicial, abra a válvula de ajuste de densidade da espuma de 1/8 a 1/4 de volta (Figura 12).

Comece o funcionamento do sistema de marcação e faça um teste de padrão no solo.
Note: Quando iniciar o sistema de marcação, aguarde 1 ou 2 minutos até que a espuma flua através da tubagem.
Ajuste a válvula de ajuste de densidade da espuma para obter a consistência desejada e pulverize como normalmente.
Note: Se deixar a espuma na tubagem mais de 2 horas, pode ficar aguada. Antes de funcionar após uma pausa de 2 ou mais horas, deixe a máquina funcionar durante 1 ou 2 minutos para remover a água em excesso.
Se a espuma na máquina estiver demasiado aguada, realize o seguinte:
Feche completamente a válvula de ajuste da densidade da espuma.
Deixe funcionar durante 2 minutos.
Aguarde 1 minuto e, em seguida, verifique a consistência da espuma.
Ajuste a espuma para obter a consistência desejada.