Note: 此产品的安装需要泡沫标记组件。请联系 Toro 授权代理商,了解更多信息。
Note: 请根据正常操作位置来判定机器的左侧和右侧。
![]() |
任何潜在危险区附近均贴有操作员清晰可见的安全标贴和说明。更换受损或丢失的标贴。 |

将机器停放到水平地面上,接合手刹,关闭发动机,然后从点火钥匙开关上拔下钥匙。
断开电池连接;请参阅操作员手册。
此程序中需要的物件:
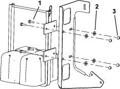
| 线束 | 1 |
| 开关支架 | 1 |
| 摇臂开关 | 1 |
| 宽柄开关 | 1 |
| 螺栓(M6) | 2 |
| 15 安保险丝 | 1 |
Note: 提起座椅以布置线束。
Important: 每次使用后,使用清水冲洗该系统,特别是在使用硬质水之后。切勿对压缩机马达组件使用润滑油、润滑脂或其他石油产品。
确保控制台上的左右喷洒臂开关均处于“关闭”位置。
拉起红色压力释放拉环,从水箱上拆下黑色盖。
在水箱中倒入适量的水,然后按照制造商的说明通过水箱顶部的开口添加泡沫原液。
Important: 水的极端酸碱值(硬质或柔软)将影响所需的泡沫原液量。
将盖装到水箱上,用手压紧。
初次操作时,将泡沫浓稠度调整阀打开 ⅛ 至 ¼ 圈(图 12)。

开始操作标记系统,在地面滴出测试图案。
Note: 当您首次启动标记系统时,需要 1 至 2 分钟的时间让泡沫流出管线。
调节泡沫浓稠度调整阀,获得所需的稠度,然后正常喷洒。
Note: 如果泡沫在管线中停留超过 2 小时,则会变得稀薄。休息 2 个小时或更长时间之后,如果需要继续操作,则应让机器先运行 1 至 2 分钟,以便去除过剩水分。
如果机器中的泡沫非常稀薄,请执行以下操作:
完全关闭泡沫浓稠度调整阀。
操作 2 分钟。
等待 1 分钟,然后检查泡沫的稠度。
调节泡沫,使其达到所需的稠度。