Note: Для установки данного изделия требуется установить комплект пенного маркера. Для получения дополнительной информации свяжитесь с официальным дилером компании Toro.
Note: Определите левую и правую стороны машины (с рабочего места оператора).
![]() |
Предупреждающие наклейки и инструкции по технике безопасности должны быть хорошо видны оператору и установлены во всех местах потенциальной опасности. При отсутствии или повреждении наклейки следует установить новую наклейку. |

Установите машину на ровной горизонтальной поверхности, включите стояночный тормоз, заглушите двигатель и извлеките ключ из замка зажигания.
Отсоедините аккумулятор; см. Руководство оператора.
Детали, требуемые для этой процедуры:
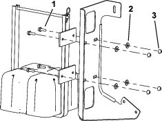
| Кронштейн | 1 |
| Болт (5/16 x 1 дюйм) | 4 |
| Шайба (⅜ дюйма) | 4 |
| Гайка (5/16 дюйма) | 4 |
| Пенный маркер (продается отдельно) | 1 |
Установите компрессор пенного маркера на кронштейн, как показано на Рисунок 1.

Детали, требуемые для этой процедуры:
| Каретные болты | 1 |
| П-образный болт | 1 |
| Фланцевые гайки (⅜ дюйма) | 3 |
| Проставка | 1 |
| R-образный хомут | 1 |
Ослабьте болт в верхней части хомута и вставьте каретный болт через петлю ремня бака опрыскивателя (Рисунок 2).

Наденьте проставку на болт и установите кронштейн на болт, как показано на Рисунок 2.
Проведите шланг всасывания насоса через R-образный хомут (Рисунок 3).
Закрепите R-образный хомут на болту с помощью гайки (Рисунок 3).

Установите U-образный болт на машину, как показано на Рисунок 4.

Установите кронштейн на U-образный болт и прикрепите его с помощью 2 фланцевых гаек (⅜ дюйма).
Детали, требуемые для этой процедуры:
| Жгут проводов | 1 |
| Кронштейн переключателя | 1 |
| Клавишный переключатель | 1 |
| Переключатель с ручкой | 1 |
| Болты (M6) | 2 |
| Предохранитель на 15 А | 1 |
Note: Поднимите сиденье, чтобы проложить жгут проводки.
Проложите жгут проводки от компрессора пенного маркера позади конструкции защиты оператора при опрокидывании машины (ROPS) и под защитной пластиной (Рисунок 5).

Присоедините провод заземления и релейный переключатель и вставьте предохранитель на 15 А в блок предохранителей (Рисунок 6).

Подсоедините разъем с плоским контактом к гнездовому разъему блока предохранителей для подачи питания.

Проложите жгут проводки вдоль жгута проводки машины и вверх к панели управления (Рисунок 8).

Подсоедините кулисный переключатель к жгуту проводки (Рисунок 8).
Проложите жгут проводки под панелью на панели пола и вверх к рулевой колонке (Рисунок 9).

Подсоедините кронштейн лопаточного переключателя к рулевой колонке с помощью 2 болтов (М6)

Вставьте переключатель в кронштейн и нажмите на него так, чтобы он надежно зафиксировался в отверстии до щелчка.

Note: Убедитесь, что ручка 3-позиционного переключателя (переключателя управления пенообразованием) направлена наружу.
Лопаточный переключатель пенообразования– приводит в действие компрессор, создающий поток пены и воздуха, подаваемого в правую или левую секцию стрелы (Рисунок 11).
Переключатель включения/выключения пенообразования – приводит в действие компрессор, создающий поток пены одновременно в обе секции стрелы (Рисунок 8).
Индикаторные метки расположены на боковой части бака и указывают уровень раствора в баке.
Клапан контроля пенообразования контролирует плотность пенного раствора. Регулируя этот клапан, можно настроить количество мыльного раствора, подаваемого к пенообразующим насадкам. Увеличение подачи приводит к более крупным и частым каплям пены; уменьшение – к более мелким и редким (Рисунок 12).
Note: Водянистая консистенция маркера может быть полезна в ветреные дни.
Предохранительный клапан – вытяните красную лапку, чтобы сбросить давление в баке (Рисунок 12).
Important: Промывайте систему чистой водой после каждого применения, особенно после использования жесткой воды. Не применяйте для электродвигателя компрессора масло, смазку или другие нефтепродукты.
Убедитесь, что выключатели обеих (левой и правой) стрел, расположенные на консоли, находятся в положении «Выкл.».
Вытяните красную лапку предохранительного клапана и снимите черную крышку с бака.
Залейте необходимое количество воды в бак и затем добавьте пенный концентрат через отверстие в верхней части бака в соответствии с инструкциями изготовителя.
Important: Слишком высокий или низкий уровень pH (жесткость или мягкость) воды влияет на количество необходимого пенного концентрата.
Установите и затяните вручную крышку бака.
При первом использовании откройте клапан контроля пенообразования на ⅛–¼ оборота (Рисунок 12).

Запустите систему маркировки и выполните пробную разметку на земле.
Note: При первом запуске системы маркера подождите 1–2 минуты пока начнется подача пены через трубопровод.
Отрегулируйте регулировочный клапан плотности пенообразования для получения желаемой консистенции и производите опрыскивание в обычном режиме.
Note: Если оставить пену в трубопроводе более чем на 2 часа, она может стать водянистой. Перед началом эксплуатации после перерыва на 2 часа и более дайте машине поработать 1–2 минуты, чтобы удалить лишнюю воду.
Если пена в машине слишком водянистая, выполните следующее:
Полностью закройте регулировочный клапан плотности пенообразования.
Дайте машине поработать 2 минуты.
Подождите еще одну минуту и проверьте консистенцию пены.
Отрегулируйте необходимую консистенцию пены.