Note: Do montażu tego zestawu wymagany jest zestaw znacznika pianowego. Aby uzyskać więcej informacji, należy skontaktować się z autoryzowanym punkcie serwisowym firmy Toro.
Note: Należy ustalić lewą i prawą stronę maszyny ze standardowego stanowiska operatora.
![]() |
Etykiety dotyczące bezpieczeństwa oraz instrukcje są wyraźnie widoczne dla operatora i znajdują się w pobliżu wszystkich miejsc potencjalnego zagrożenia. Uszkodzone i brakujące etykiety należy wymienić. |

Ustaw maszynę na równej nawierzchni, włącz hamulec postojowy, wyłącz silnik i wyjmij kluczyk z wyłącznika zapłonu.
Odłącz akumulator; patrz odpowiedni rozdział w podręczniku użytkownika.
Części potrzebne do tej procedury:
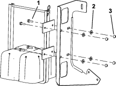
| Wspornik | 1 |
| Śruba (5/16 x 1 cal) | 4 |
| Podkładka (⅜ cala) | 4 |
| Nakrętka, 5/16 cala | 4 |
| Znacznik pianowy (sprzedawany oddzielnie) | 1 |
Zamontuj sprężarkę znacznika pianowego do wspornika w sposób pokazany na Rysunek 1.

Części potrzebne do tej procedury:
| Śruba podsadzana | 1 |
| Śruba kabłąkowa | 1 |
| Nakrętki kołnierzowe (⅜ cala) | 3 |
| Rozpórka | 1 |
| Zacisk R | 1 |
Poluzuj śrubę u góry paska i przełóż śrubę zamkową przez pasek taśmy na zbiorniku zraszacza (Rysunek 2).

Nasuń podkładkę dystansową na śrubę i umieść na śrubie wspornik w sposób pokazany na Rysunek 2.
Przełóż przewód ssawny pompy przez zacisk R (Rysunek 3).
Za pomocą nakrętki zamocuj zacisk R do śruby (Rysunek 3).

Zamontuj śrubę kabłąkową w maszynie w sposób pokazany na Rysunek 4.

Nałóż wspornik na śrubę kabłąkową i zamocuj ją za pomocą 2 nakrętek kołnierzowych (⅜ cala).
Części potrzebne do tej procedury:
| Wiązka przewodów | 1 |
| Wspornik przełącznika | 1 |
| Przełącznik kołyskowy | 1 |
| Przełącznik łopatkowy | 1 |
| Śruby (M6) | 2 |
| Bezpiecznik 15 A | 1 |
Note: Unieś fotel, aby przeprowadzić wiązkę przewodów.
Poprowadź wiązkę przewodów od sprężarki znacznika pianowego za konstrukcją ROPS i pod płytą ochronną (Rysunek 5).

Podłącz przewód uziemiający i przełącznik z przekaźnikiem oraz włóż bezpiecznik 15 A w blok bezpieczników (Rysunek 6).

Podłącz wtyk do gniazda w bloku bezpieczników, aby uzyskać zasilanie.

Poprowadź wiązkę wzdłuż wiązki maszyny aż do tablicy rozdzielczej (Rysunek 8).

Podłącz przełącznik kołyskowy do wiązki przewodów (Rysunek 8).
Poprowadź wiązkę przewodów pod panelem na płycie podłogowej i w górę wzdłuż kolumny kierownicy (Rysunek 9).

Zamocuj wspornik przełącznika łopatkowego do kolumny kierownicy za pomocą 2 śrub (M6)

Zamontuj przełącznik do wspornika i dociśnij przełącznik, aż osadzi się pewnie w otworze.

Note: Upewnij się, że łopatka 3-pozycyjnego przełącznika łopatkowego (przełącznik sterowania pianą) jest ustawiona na zewnątrz.
Przełącznik łopatkowy piany – służy do włączania sprężarki, generowania przepływu piany i powietrza do prawej lub lewej sekcji wysięgnikowej (Rysunek 11).
Włącznik piany – służy do włączania sprężarki, generowania przepływu piany i powietrza jednocześnie do prawej i lewej sekcji wysięgnikowej (Rysunek 8).
Oznaczenia wskaźnikowe, umieszczone na zbiorniku, wskazują poziom roztworu w zbiorniku.
Zawór regulacji gęstości piany służy do sterowania jednorodnością roztworu piany. Regulacja zaworu umożliwia zmianę ilości roztworu mydła podawanej do dysz piany. Zwiększenie przepływu powoduje powstawanie większych i częściej spadających porcji piany, natomiast zmniejszenie przepływu powoduje otrzymywanie mniejszych i rzadziej spadających porcji piany (Rysunek 12).
Note: Bardziej wodnista konsystencja znacznika może być przydatna w wietrzne dni.
Zawór nadmiarowy ciśnienia – pociągnij czerwony grzybek na korku zbiornika, aby uwolnić ciśnienie w zbiorniku (Rysunek 12).
Important: Po każdym użyciu przepłucz system czystą wodą, w szczególności jeśli używasz wody o wysokiej twardości. Do zespołu silnika sprężarki nie używaj olejów smarowych, smarów ani jakichkolwiek produktów pochodzenia naftowego.
Upewnij się, że zarówno lewy, jak i prawy przełącznik wysięgnika znajdujące się na konsoli są w pozycji wyłączonej.
Pociągnij w górę czerwony grzybek uwalniania ciśnienia, a następnie odkręć czarny korek od zbiornika.
Wlej do zbiornika – przez otwór znajdujący się na jego górze – odpowiednią ilość wody, a następnie dodaj koncentrat piany zgodnie z instrukcjami producenta.
Important: Skrajne wartości pH (twardość lub miękkość) wody wpływają na ilość wymaganego koncentratu piany.
Załóż korek na zbiornik i dokręć ręcznie.
Na początku pracy otwórz zawór regulacji gęstości piany o ⅛ do ¼ obrotu (Rysunek 12).

Uruchom system znakowania i wykonaj próbny wzór na podłożu.
Note: Po uruchomieniu systemu znakowania włącz (na 1–2 minuty) przepływ piany przez przewody.
Ustaw zawór regulacji gęstości piany tak, aby uzyskać pianę o pożądanej konsystencji, przy której zraszanie działa w normalny sposób.
Note: Piana pozostawiona w przewodach na ponad 2 godziny stanie się wodnista. Przed kontynuowaniem pracy po przerwie trwającej więcej niż 2 godziny uruchom maszynę na 1–2 minuty, aby usunąć nadmiar wody.
Jeżeli piana generowana przez maszynę jest zbyt wodnista, wykonaj następujące czynności:
Całkowicie zamknij zawór regulacji gęstości piany.
Uruchom system na 2 minuty.
Odczekaj 1 minutę i sprawdź konsystencję piany.
Wyreguluj zawór, aby uzyskać pianę o pożądanej konsystencji.