Note: Se necesita el Kit de marcador de espuma para la instalación de este producto. Para obtener más información, póngase en contacto con su Distribuidor Toro Autorizado.
Note: Los lados derecho e izquierdo de la máquina se determinan desde la posición normal del operador.
![]() |
Las calcomanías de seguridad e instrucciones están a la vista del operador y están ubicadas cerca de cualquier zona de peligro potencial. Sustituya cualquier calcomanía que esté dañada o que falte. |

Aparque la máquina en una superficie nivelada, ponga el freno de estacionamiento, apague el motor y retire la llave del interruptor.
Desconecte la batería; consulte el Manual del operador.
Piezas necesarias en este paso:
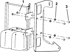
| Soporte | 1 |
| Perno (5/16" x 1") | 4 |
| Arandela (⅜") | 4 |
| Tuerca (5/16") | 4 |
| Marcador de espuma (se vende por separado) | 1 |
Instale el compresor del marcador de espuma en el soporte según se muestra en Figura 1.

Piezas necesarias en este paso:
| Perno de cuello cuadrado | 1 |
| Perno en U | 1 |
| Tuercas con arandela prensada (3/8 pulgada) | 3 |
| Separador | 1 |
| Abrazadera en R | 1 |
Afloje el perno de la parte superior del fleje, e introduzca el perno de cuello cuadrado a través del fleje del depósito de fumigación (Figura 2).

Coloque el espaciador en el perno, y luego coloque el soporte de montaje en el perno, según se muestra en Figura 2.
Pase la manguera de aspiración de la bomba por la abrazadera en R (Figura 3).
Sujete la abrazadera en R al perno con una tuerca (Figura 3).

Coloque la abrazadera en la máquina según se muestra en Figura 4.

Coloque el soporte sobre el perno en U y sujételo con las 2 tuercas con arandela prensada (3/8").
Piezas necesarias en este paso:
| Arnés de cables | 1 |
| Soporte del interruptor | 1 |
| Interruptor basculante | 1 |
| Interruptor de paleta | 1 |
| Pernos(M6) | 2 |
| Fusible, 15 amperios | 1 |
Note: Levante el asiento para enrutar el arnés de cables.
Enrute el arnés de cables del compresor del marcador de espuma por detrás del ROPS y por debajo de la placa de protección (Figura 5).

Conecte el cable de tierra y el relé e inserte el fusible de 15 amperios en el bloque de fusibles (Figura 6).

Conecte el conector plano al conector hembra del bloque de fusibles de potencia.

Enrute el arnés junto al arnés de la máquina y hasta el panel de control (Figura 8).

Conecte el interruptor basculante al arnés (Figura 8).
Enrute el arnés por debajo del panel de la chapa de suelo y hacia arriba hasta la columna de dirección (Figura 9).

Sujete el soporte del interruptor de paleta a la columna de dirección con los 2 pernos (M6)

Monte el interruptor en el soporte y presiónelo hasta que se ajuste firmemente en la abertura.

Note: Asegúrese de que el interruptor de parada de 3 posiciones (interruptor de control de espuma) está alineado hacia fuera.
Interruptor de paleta de la espuma – activa el compresor, generando un flujo de espuma y aire al tramo de brazo izquierdo o derecho (Figura 11).
Interruptor de Encendido/Apagado de la espuma – activa el compresor, generando un flujo de espuma a ambos tramos de brazo simultáneamente (Figura 8).
Marcas de nivel – estas marcas, situadas en el lateral del depósito, indican el nivel de solución que queda en el depósito.
Válvula reguladora de espuma – controla la consistencia de la solución de espuma. Ajuste la válvula para controlar la cantidad de solución jabonosa enviada a las boquillas de espuma. Un flujo mayor producirá gotas de espuma más grandes, y con mayor frecuencia; un flujo reducido producirá gotas de espuma más pequeñas y con menos frecuencia (Figura 12).
Note: Una consistencia más aguada puede ser más útil en días de mucho viento.
Válvula de alivio de la presión – tire hacia fuera de la pestaña roja del tapón del depósito para aliviar la presión del depósito (Figura 12).
Important: Enjuague el sistema con agua limpia después de cada uso, sobre todo si se ha utilizado agua dura. No aplique aceites lubricantes, grasa u otros productos a base de petróleo al conjunto del motor del compresor.
Asegúrese de que los interruptores de los brazos derecho e izquierdo de la consola están en la posición de Desconectado.
Tire hacia fuera de la pestaña roja de alivio de presión, y retire el tapón negro del depósito.
Vierta la cantidad correcta de agua en el depósito, y luego añada concentrado de espuma por el orificio de la parte superior del depósito, siguiendo las instrucciones del fabricante.
Important: El nivel de pH (dureza) del agua afectará la cantidad de concentrado de espuma necesario.
Coloque el tapón en el depósito y apriételo a mano.
La primera vez que utilice el sistema, abra la válvula de ajuste de densidad de la espuma entre 1/8 y 1/4 vuelta (Figura 12).

Empiece a usar el marcador de espuma y haga una prueba en el suelo.
Note: Cuando active el sistema de marcado, espere 1–2 minutos para que la espuma fluya a través de los tubos.
Ajuste la válvula de ajuste de densidad de la espuma para obtener la consistencia deseada, y pulverice normalmente.
Note: Si deja la espuma en los tubos durante más de 2 horas, puede volverse demasiado líquida. Antes de utilizar el sistema después de un descanso de 2 horas o más, deje funcionar la máquina durante 1–2 minutos para eliminar el exceso de agua.
Si la espuma producida por la máquina está muy líquida:
Cierre completamente la válvula de ajuste de densidad de la espuma.
Deje funcionar el sistema durante 2 minutos.
Espere 1 minuto y luego compruebe la densidad de la espuma.
Ajuste la espuma para obtener la consistencia deseada.