Note: È necessario il Tracciafile schiumogeno per l'installazione di questo prodotto. Per maggiori informazioni rivolgetevi al Distributore Toro autorizzato di zona.
Note: Stabilite i lati sinistro e destro della macchina dalla normale posizione di guida.
![]() |
Gli adesivi di sicurezza e di istruzione sono chiaramente visibili e sono affissi accanto a zone particolarmente pericolose. Sostituite eventuali adesivi danneggiati o mancanti. |

Parcheggiate la macchina su una superficie pianeggiante, innestate il freno di stazionamento, spegnete il motore e togliete la chiave dal relativo interruttore.
Scollegate la batteria; fate riferimento al Manuale dell'operatore.
Parti necessarie per questa operazione:
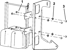
| Staffa | 1 |
| Bullone (5/16" x 1") | 4 |
| Rondella (⅜") | 4 |
| Dado (5/16") | 4 |
| Tracciafile schiumogeno (venduto separatamente) | 1 |
Montate il compressore del tracciafile schiumogeno sulla staffa, come illustrato nella Figura 1.

Parti necessarie per questa operazione:
| Bullone a testa tonda | 1 |
| Bullone a U | 1 |
| Dadi flangiati (3/8") | 3 |
| Distanziale | 1 |
| Serratubi a R | 1 |
Allentate il bullone sulla parte superiore della fascetta e posizionate il bullone a testa tonda attraverso la fascetta della cinghia del serbatoio dell'irroratrice (Figura 2).

Inserite il distanziale sul bullone e posizionate la staffa sul bullone come illustrato in Figura 2.
Posizionate il flessibile di aspirazione della pompa attraverso il serratubi a R (Figura 3).
Fissate il serratubi a R al bullone con un dado (Figura 3).

Posizionate il bullone a U sulla macchina come illustrato in Figura 4.

Posizionate la staffa sul bullone a U e fissatela con i 2 dadi flangiati (3/8").
Parti necessarie per questa operazione:
| Cablaggio preassemblato | 1 |
| Staffa dell’interruttore | 1 |
| Interruttore a bilanciere | 1 |
| Interruttore a paletta | 1 |
| Bulloni (M6) | 2 |
| Fusibile, 15 A | 1 |
Note: Sollevate il sedile per disporre il cablaggio preassemblato.
Disponete il cablaggio preassemblato dal compressore del tracciafile schiumogeno dietro il ROPS e sotto la piastra di protezione (Figura 5).

Collegate il filo di terra e l'interruttore del relè e inserite il fusibile da 15 A nel portafusibili (Figura 6).

Per l’alimentazione, collegate il connettore a lamelle al connettore a prese del portafusibili.

Disponete il cablaggio lungo il cablaggio della macchina, verso l'alto al pannello di controllo (Figura 8).

Collegate l'interruttore a bilanciere al cablaggio preassemblato (Figura 8).
Disponete il cablaggio sotto il pannello sulla pedana e verso l'alto al piantone dello sterzo (Figura 9).

Collegate la staffa dell'interruttore a rotella alla colonna dello sterzo con i 2 bulloni (M6)

Montate l'interruttore nella staffa e premete l'interruttore fino a quando non scatta in posizione nell'apertura.

Note: Assicuratevi che la paletta dell'interruttore a paletta a 3 posizioni (interruttore del comando della schiuma) sia allineato verso l'esterno.
Interruttore a paletta della schiuma: attiva il compressore che genera un flusso di schiuma e aria verso la sezione della barra destra o sinistra (Figura 11).
Interruttore attivazione/disattivazione schiuma : attiva il compressore che genera un flusso di schiuma diretto simultaneamente ad entrambe le sezioni della barra (Figura 8).
Indicatori di livello: posti sul lato del serbatoio, indicano il livello della soluzione nel serbatoio.
Valvola del regolatore della schiuma: regola la consistenza della soluzione schiumosa. La regolazione della valvola consente di regolare la quantità di soluzione saponata inviata agli ugelli della schiuma. Aumentando il flusso si ottengono erogazioni di schiuma più copiose e frequenti; diminuendo il flusso si ottengono erogazioni di schiuma più esigue e meno frequenti (Figura 12).
Note: Nei giorni ventosi può risultare utile che la soluzione abbia una consistenza acquosa.
Valvola di sfiato della pressione: tirate verso l'esterno la linguetta rossa sul tappo del serbatoio per sfiatare la pressione nel serbatoio (Figura 12).
Important: Dopo ogni utilizzo sciacquate il sistema con acqua pulita, in particolare dopo avere usato acqua dura. Non applicate oli lubrificanti, grasso o altri prodotti a base di petrolio sul gruppo motocompressore.
Accertatevi che entrambi gli interruttori delle barre sinistra e destra posti sulla consolle siano in posizione di spegnimento.
Tirate verso l'esterno la linguetta rossa di sfiato della pressione e rimuovete il tappo nero dal serbatoio.
Versate nel serbatoio la corretta quantità di acqua, quindi aggiungete il concentrato di schiuma attraverso l'apertura sulla parte superiore del serbatoio, in base alle istruzioni del fabbricante.
Important: Livelli di pH estremi (di durezza o di dolcezza) dell'acqua influiscono sulla quantità di concentrato di schiuma necessario.
Montate il tappo sul serbatoio e serratelo a mano.
Per l'operazione iniziale, aprite la valvola di regolazione della densità della schiuma da 1/8 a 1/4 di giro (Figura 12).

Iniziate a utilizzare il sistema di tracciatura ed eseguite un tracciato di prova sul suolo.
Note: Non appena avviate il sistema di tracciatura, attendete da 1 a 2 minuti per consentire che la schiuma fluisca attraverso la linea.
Regolate la valvola di regolazione della densità della schiuma per ottenere la densità desiderata e irrorate normalmente.
Note: Se lasciata nella linea per più di 2 ore, la schiuma potrebbe diventare acquosa. Prima di riprendere il lavoro dopo una pausa di 2 o più ore, lasciate la macchina avviata da 1 a 2 minuti per eliminare l'acqua in eccesso.
Se la schiuma nella macchina è molto acquosa, fate quanto segue:
Chiudete completamente la valvola di regolazione della densità della schiuma.
Mettete in funzione la macchina per 2 minuti.
Attendete 1 minuto poi controllate la densità della schiuma.
Regolate la schiuma per ottenere la densità desiderata.