Note: Le kit traceur à mousse est nécessaire pour installer ce produit. Pour plus de renseignements, contactez votre concessionnaire Toro agréé.
Note: Les côtés gauche et droit de la machine sont déterminés d'après la position d'utilisation normale.
![]() |
Des autocollants de sécurité et des instructions bien visibles par l'utilisateur sont placés près de tous les endroits potentiellement dangereux. Remplacez tout autocollant endommagé ou manquant. |

Garez la machine sur une surface plane et horizontale, serrez le frein de stationnement, coupez le contact et enlevez la clé du commutateur d'allumage.
Débranchez la batterie ; voir le Manuel de l'utilisateur.
Pièces nécessaires pour cette opération:
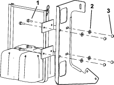
| Support | 1 |
| Boulon (5/16" x 1") | 4 |
| Rondelle (⅜") | 4 |
| Écrou (5/16") | 4 |
| Traceur à mousse (vendu séparément) | 1 |
Montez le compresseur du traceur à mousse sur le support, comme montré à la Figure 1.

Pièces nécessaires pour cette opération:
| Boulon de carrosserie | 1 |
| Étrier fileté | 1 |
| Écrous à embase (⅜") | 3 |
| Entretoise | 1 |
| Collier en R | 1 |
Desserrez le boulon au sommet de la sangle et insérez le boulon de carrosserie dans la sangle de la cuve du pulvérisateur (Figure 2).

Glissez l'entretoise sur le boulon et placez le support sur le boulon, comme montré à la Figure 2.
Passez le flexible d'aspiration de la pompe dans le collier en R (Figure 3).
Fixez le collier en R sur le boulon avec un écrou (Figure 3).

Placez l'étrier fileté sur la machine, comme montré à la Figure 4.

Placez le support sur l'étrier fileté et fixez-la avec les 2 écrous à embase (⅜").
Pièces nécessaires pour cette opération:
| Faisceau de câblage | 1 |
| Support d'interrupteur | 1 |
| Interrupteur à bascule | 1 |
| Interrupteur à palette | 1 |
| Boulons (M6) | 2 |
| Fusible 15 A | 1 |
Note: Soulevez le siège pour acheminer le faisceau de câblage.
Faites passer le faisceau de câblage du compresseur du traceur à mousse derrière le système ROPS et sous la plaque de protection (Figure 5).

Branchez le fil de masse et le contacteur de relais, et insérez le fusible de 15 A dans le porte-fusibles (Figure 6).

Branchez le connecteur à lame au connecteur à douille du porte-fusibles pour l'alimentation.

Faites passer le faisceau de câblage le long du faisceau de la machine et faites-le remonter jusqu'au panneau de commande (Figure 8).

Branchez l'interrupteur à bascule au faisceau de câblage (Figure 8).
Acheminez le faisceau sous le panneau sur le plancher et faites-le remonter jusqu'à la colonne de direction (Figure 9).

Fixez le support de l'interrupteur à palette sur la colonne de direction au moyen de 2 boulons (M6)

Montez l'interrupteur sur le support et poussez-le jusqu'à ce qu'il s'enclenche fermement dans l'ouverture.

Note: Vérifiez que la palette de l'interrupteur 3 positions (interrupteur de commande de mousse) est orientée vers l'extérieur.
Interrupteur à palette du traceur – active le compresseur, ce qui génère un flux de mousse et d'air vers le segment de rampe gauche ou droit (Figure 11).
Interrupteur marche/arrêt du traceur – active le compresseur, ce qui génère un flux de mousse vers les deux segments de rampe simultanément Figure 8).
Repères de niveau – sur le côté du réservoir; ils indiquent le niveau de solution dans le réservoir.
Régulateur de mousse – contrôle la consistance de la solution moussante. Le réglage du régulateur permet de contrôler la quantité de solution moussante envoyée aux buses. Plus le débit augmente, plus l'application de mousse sera fréquente, et plus le débit diminue, moins l'application de mousse sera fréquente (Figure 12).
Note: Une consistance plus liquide peut être utile par grand vent.
Clapet de décharge – tirez la languette rouge sur le bouchon du réservoir pour évacuer la pression du réservoir (Figure 12).
Important: Rincez le système à l'eau propre après chaque utilisation, en particulier si l'eau est dure. N'appliquez pas d'huile de graissage, de graisse ou autres produits dérivés du pétrole sur le moteur du compresseur.
Assurez-vous que les interrupteurs des rampes gauche et droite, situés sur la console, sont en position Arrêt.
Tirez sur la languette de décharge de pression rouge et déposez le bouchon noir du réservoir.
Versez la quantité d'eau correcte dans le réservoir, puis ajoutez le concentré moussant par l'ouverture au sommet du réservoir, conformément aux instructions du fabricant.
Important: Un pH excessif (dureté ou douceur) de l'eau affectera la quantité de concentré nécessaire.
Posez le bouchon sur le réservoir et serrez-le à la main.
Pour l'utilisation initiale, ouvrez la valve de réglage de densité de la mousse de 1/8 à 1/4 de tour (Figure 12).

Commencez de faire fonctionner le système de traçage et faites un essai d'application sur le sol.
Note: Lorsque vous démarrez le système de traçage pour la première fois, attendez 1 à 2 minutes que la mousse circule dans le circuit.
Ajustez la vanne de réglage de densité de sorte à obtenir la consistance voulue puis pulvériser de la manière habituelle.
Note: La mousse qui reste plus de 2 heures dans le circuit peut devenir liquide. Avant de réutiliser la machine après une pause de 2 heures ou plus, faites-la fonctionner pendant 1 à 2 minutes pour éliminer l'excédent d'eau.
Si la mousse est très liquide, procédez comme suit :
Fermez complètement la vanne de réglage de densité de la mousse.
Faites fonctionner 2 minutes.
Patientez 1 minute, puis vérifiez la consistance de la mousse.
Continuez le réglage jusqu'à obtention de la consistance correcte.